CN112139677A - Pipe laser cutting machine - Google Patents
Pipe laser cutting machine Download PDFInfo
- Publication number
- CN112139677A CN112139677A CN202011074701.1A CN202011074701A CN112139677A CN 112139677 A CN112139677 A CN 112139677A CN 202011074701 A CN202011074701 A CN 202011074701A CN 112139677 A CN112139677 A CN 112139677A
- Authority
- CN
- China
- Prior art keywords
- fixed
- face
- plate
- rear end
- cylinder
- Prior art date
- Legal status (The legal status is an assumption and is not a legal conclusion. Google has not performed a legal analysis and makes no representation as to the accuracy of the status listed.)
- Granted
Links
- 238000003698 laser cutting Methods 0.000 title claims abstract description 24
- 230000007246 mechanism Effects 0.000 claims abstract description 19
- 230000000694 effects Effects 0.000 claims description 14
- 230000005540 biological transmission Effects 0.000 claims description 7
- 230000005012 migration Effects 0.000 claims description 3
- 238000013508 migration Methods 0.000 claims description 3
- 230000002153 concerted effect Effects 0.000 claims 1
- XLYOFNOQVPJJNP-UHFFFAOYSA-N water Substances O XLYOFNOQVPJJNP-UHFFFAOYSA-N 0.000 claims 1
- 235000017166 Bambusa arundinacea Nutrition 0.000 description 12
- 235000017491 Bambusa tulda Nutrition 0.000 description 12
- 241001330002 Bambuseae Species 0.000 description 12
- 235000015334 Phyllostachys viridis Nutrition 0.000 description 12
- 239000011425 bamboo Substances 0.000 description 12
- 230000008901 benefit Effects 0.000 description 3
- 230000009286 beneficial effect Effects 0.000 description 2
- 238000010586 diagram Methods 0.000 description 2
- 230000006872 improvement Effects 0.000 description 2
- 230000009916 joint effect Effects 0.000 description 2
- 238000003754 machining Methods 0.000 description 2
- 239000007787 solid Substances 0.000 description 2
- 239000002699 waste material Substances 0.000 description 2
- 230000009471 action Effects 0.000 description 1
- 230000006978 adaptation Effects 0.000 description 1
- 238000009835 boiling Methods 0.000 description 1
- 230000007547 defect Effects 0.000 description 1
- 239000000463 material Substances 0.000 description 1
- 238000002844 melting Methods 0.000 description 1
- 230000008018 melting Effects 0.000 description 1
- 239000002184 metal Substances 0.000 description 1
- 238000000034 method Methods 0.000 description 1
- 238000012986 modification Methods 0.000 description 1
- 230000004048 modification Effects 0.000 description 1
- 230000003287 optical effect Effects 0.000 description 1
- 230000008569 process Effects 0.000 description 1
- 238000012545 processing Methods 0.000 description 1
- 238000012546 transfer Methods 0.000 description 1
Images
Classifications
-
- B—PERFORMING OPERATIONS; TRANSPORTING
- B23—MACHINE TOOLS; METAL-WORKING NOT OTHERWISE PROVIDED FOR
- B23K—SOLDERING OR UNSOLDERING; WELDING; CLADDING OR PLATING BY SOLDERING OR WELDING; CUTTING BY APPLYING HEAT LOCALLY, e.g. FLAME CUTTING; WORKING BY LASER BEAM
- B23K26/00—Working by laser beam, e.g. welding, cutting or boring
- B23K26/36—Removing material
- B23K26/38—Removing material by boring or cutting
-
- B—PERFORMING OPERATIONS; TRANSPORTING
- B23—MACHINE TOOLS; METAL-WORKING NOT OTHERWISE PROVIDED FOR
- B23K—SOLDERING OR UNSOLDERING; WELDING; CLADDING OR PLATING BY SOLDERING OR WELDING; CUTTING BY APPLYING HEAT LOCALLY, e.g. FLAME CUTTING; WORKING BY LASER BEAM
- B23K26/00—Working by laser beam, e.g. welding, cutting or boring
- B23K26/70—Auxiliary operations or equipment
- B23K26/702—Auxiliary equipment
-
- B—PERFORMING OPERATIONS; TRANSPORTING
- B23—MACHINE TOOLS; METAL-WORKING NOT OTHERWISE PROVIDED FOR
- B23K—SOLDERING OR UNSOLDERING; WELDING; CLADDING OR PLATING BY SOLDERING OR WELDING; CUTTING BY APPLYING HEAT LOCALLY, e.g. FLAME CUTTING; WORKING BY LASER BEAM
- B23K37/00—Auxiliary devices or processes, not specially adapted for a procedure covered by only one of the other main groups of this subclass
- B23K37/04—Auxiliary devices or processes, not specially adapted for a procedure covered by only one of the other main groups of this subclass for holding or positioning work
- B23K37/053—Auxiliary devices or processes, not specially adapted for a procedure covered by only one of the other main groups of this subclass for holding or positioning work aligning cylindrical work; Clamping devices therefor
- B23K37/0533—External pipe alignment clamps
-
- B—PERFORMING OPERATIONS; TRANSPORTING
- B23—MACHINE TOOLS; METAL-WORKING NOT OTHERWISE PROVIDED FOR
- B23K—SOLDERING OR UNSOLDERING; WELDING; CLADDING OR PLATING BY SOLDERING OR WELDING; CUTTING BY APPLYING HEAT LOCALLY, e.g. FLAME CUTTING; WORKING BY LASER BEAM
- B23K2101/00—Articles made by soldering, welding or cutting
- B23K2101/04—Tubular or hollow articles
- B23K2101/06—Tubes
-
- Y—GENERAL TAGGING OF NEW TECHNOLOGICAL DEVELOPMENTS; GENERAL TAGGING OF CROSS-SECTIONAL TECHNOLOGIES SPANNING OVER SEVERAL SECTIONS OF THE IPC; TECHNICAL SUBJECTS COVERED BY FORMER USPC CROSS-REFERENCE ART COLLECTIONS [XRACs] AND DIGESTS
- Y02—TECHNOLOGIES OR APPLICATIONS FOR MITIGATION OR ADAPTATION AGAINST CLIMATE CHANGE
- Y02P—CLIMATE CHANGE MITIGATION TECHNOLOGIES IN THE PRODUCTION OR PROCESSING OF GOODS
- Y02P70/00—Climate change mitigation technologies in the production process for final industrial or consumer products
- Y02P70/10—Greenhouse gas [GHG] capture, material saving, heat recovery or other energy efficient measures, e.g. motor control, characterised by manufacturing processes, e.g. for rolling metal or metal working
Landscapes
- Engineering & Computer Science (AREA)
- Physics & Mathematics (AREA)
- Optics & Photonics (AREA)
- Mechanical Engineering (AREA)
- Plasma & Fusion (AREA)
- Laser Beam Processing (AREA)
Abstract
The invention relates to the technical field of inclined pipe cutting, in particular to a pipe laser cutting machine which comprises a main body frame, wherein a supporting arm is fixedly arranged at one corner of the upper end surface of the main body frame, which is close to the rear end, a fixing column extending towards the vertical direction is fixedly arranged on the front end surface of the supporting arm, a rotating plate is rotatably arranged on the outer surface of the fixing column, a sliding rod horizontally extending towards the direction far away from one side of the rotating plate is fixedly arranged on the front end surface of the rotating plate, a connecting plate is fixedly connected to the end part of the sliding rod, a sliding table is slidably arranged on the outer surface of the sliding rod, and a driving mechanism for driving the sliding table to horizontally move is arranged between the front end surface of the connecting plate and the front end surface of the rotating plate.
Description
Technical Field
The invention relates to the technical field of inclined tube cutting, in particular to a tube laser cutting machine.
Background
The laser cutting machine focuses laser emitted from a laser into a laser beam with high power density through an optical path system. The laser beam irradiates the surface of a workpiece, so that the workpiece reaches a melting point or a boiling point, and simultaneously, the melted or gasified metal is blown away by high-pressure gas coaxial with the laser beam, the existing laser pipe cutting machine cannot perform beveling on a pipe fitting, the pipe fitting can only be artificially beveled on the laser cutting machine for cutting, the cutting angle is difficult to control, batch cutting cannot be performed, and the efficiency is low.
Disclosure of Invention
The invention aims to solve the defects in the background art and provides a pipe laser cutting machine.
In order to achieve the above purposes, the technical scheme adopted by the invention is as follows: a pipe laser cutting machine comprises a main body frame, wherein a supporting arm is fixedly mounted at one side corner, close to the rear end, of the upper end face of the main body frame, a fixing column extending towards the vertical direction is fixedly mounted on the front end face of the supporting arm, a rotating plate is rotatably mounted on the outer surface of the fixing column, a sliding rod horizontally extending towards one side far away from the rotating plate is fixedly mounted on the front end face of the rotating plate, a connecting plate is fixedly connected to the end portion of the sliding rod, a sliding table is slidably mounted on the outer surface of the sliding rod, a driving mechanism used for driving the sliding table to horizontally move is arranged between the front end face of the connecting plate and the front end face of the rotating plate, a laser head pointing downwards is mounted on the front end face of the sliding table, a first rotating shaft vertically extends from the front part, far away from, the upper end face of the baffle is far away from one side of the first rotating shaft, a second rotating shaft vertically extends, the second rotating shaft is movably connected with a third rotating shaft of the rear end face of the connecting plate through a transmission rod, the third rotating shaft is located right behind the second rotating shaft, the fixed columns are located right behind the first rotating shaft, a driving mechanism which orders about the connecting plate to rotate by taking the fixed columns as shafts is arranged at the upper end of the supporting arm, a plurality of fixed cylinders which extend towards the rear are fixedly mounted on the inner wall in front of the main body frame, a parallel movable cylinder is arranged on one side of each fixed cylinder, and an adjusting mechanism which orders about the movable cylinders to move towards the horizontal direction is jointly arranged at the front ends of the movable cylinders.
Preferably, the rear end face of the rotating plate is fixedly provided with a rotating seat, the rotating seat is rotatably arranged on the outer surface of the fixed column, the upper end and the lower end of the fixed column are fixedly connected with the connecting seat, and the rear end of the connecting seat is fixedly connected with the front end face of the supporting arm.
Preferably, actuating mechanism includes the motor of fixed mounting at rotor plate rear end face, the preceding terminal surface of rotor plate is passed in the drive end activity of motor, the drive shaft of motor and the preceding terminal surface joint activity cover of connecting plate are equipped with the drive belt, the rear end face of slip table extends the clamp plate of fixed clamp at the drive belt surface.
Preferably, the support arm includes an arcuate portion provided on an outer surface, and a rear of the rotating plate corresponds to an inner side of the arcuate portion.
Preferably, the drive mechanism includes the tie-beam of fixed connection on the support arm, fixed mounting at the tie-beam under the link of terminal surface, fixed connection at the telescoping cylinder of tie-beam lower extreme, the rear end face fixed mounting of connecting plate has the guide rod that extends towards both sides direction, the flexible end of telescoping cylinder passes through moving part and guide rod swing joint.
Preferably, the moving part comprises a sliding seat which is sleeved on the outer surface of the guide rod in a sliding manner, the front end face of the sliding seat is movably attached to the rear end face of the connecting plate, and the rear end face of the sliding seat is rotatably connected with the telescopic end of the telescopic cylinder.
Preferably, the rear end face of the sliding table is fixedly provided with a sleeve seat, the sleeve seat is slidably sleeved on the outer surface of the sliding rod, and the sliding table is slidably connected with the sliding rod through the sleeve seat.
Preferably, adjustment mechanism includes the fixed riser of fixed mounting terminal surface before the main body frame, from the fixed diaphragm that fixed riser lower extreme extends perpendicularly, fixed mounting at the electronic jar of fixed diaphragm up end, fixed connection at the fly leaf of the flexible end of electronic jar, the front end of fixed riser runs through in the place ahead department that corresponds the activity section of thick bamboo and has seted up the sliding opening, the activity of the front end extension department of activity section of thick bamboo passes the inboard card of sliding opening and goes into the piece, the front end fixed connection of the piece of sticking in the rear end face of fly leaf.
Preferably, a gap is reserved between the rear ends of the fixed cylinder and the movable cylinder and the inner wall of the main body frame, a receiving box is arranged below the main body frame at a position corresponding to the gap, the rear end of the receiving box is opened to the outside, a flow guide slope for guiding the pipe fitting to move backwards is arranged on the bottom surface of the inner side of the receiving box, and supporting legs extend out of the lower end surfaces of the main body frame and the receiving box respectively.
Compared with the prior art, the invention has the following beneficial effects:
1. the main beneficial effects are as follows: place the pipe fitting in batches side by side between a fixed section of thick bamboo and a movable section of thick bamboo, the front end is to neatly pasting the baffle, use the fixed column as the axle anticlockwise rotation at the rotor plate, because the effect of first pivot, the second pivot, third pivot and transfer line, the baffle pushes away the pipe tubular product rear end to the rear, the rear end of a plurality of tubular products is the echelonment and distributes, borrow by the drive belt and drive the slip table and remove, and then make the laser head cut a plurality of tubular products in proper order, do benefit to the batch cutting of tubular product bevel connection and handle, the efficiency is improved.
2. Place the pipe fitting of batch side by side between a fixed cylinder and a movable cylinder, the rotor plate uses the fixed column to be the mouth of pipe incision angle of cutting tubular product promptly as the anticlockwise pivoted angle of axle, and the angular adjustment of cutting is nimble accurate, improves tubular product machining precision.
3. In the further improvement scheme with activity section of thick bamboo horizontal migration adjustment, electronic jar is flexible to be driven fly leaf, card and is gone into the piece and remove jointly with a activity section of thick bamboo, and then changes the interval between activity section of thick bamboo and the solid fixed cylinder, and when placing tubular product, tubular product is arranged in between solid fixed cylinder and the activity section of thick bamboo, and the tubular product of different radial sizes of adaptation can be nimble through the adjustment of interval is placed.
4. In the further improvement scheme, during the telescoping cylinder shrink, will make the sliding seat slide to the one side of keeping away from the support arm along the surface of guide bar, the junction of sliding seat and telescoping cylinder takes place to rotate simultaneously, in order to ensure that the sliding seat can slide along guide bar surface, and then drive connecting plate and rotor plate and use the fixed column to carry out anticlockwise rotation as the axle, otherwise, will make the rotor plate rotate clockwise during the telescoping cylinder extension, and then reach nimble adjustment rotor plate and baffle turned angle's effect, do benefit to the nimble adjustment of tubular product incision gradient.
Drawings
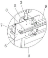
FIG. 1 is a schematic structural diagram of a laser cutting machine for pipes according to the present invention;
FIG. 2 is a schematic view of a partial structure of a laser cutting machine for pipe materials according to the present invention;
FIG. 3 is an enlarged view of the laser cutting machine for pipes at A in FIG. 2;
FIG. 4 is an enlarged view of the laser cutting machine for pipes at B in FIG. 2;
FIG. 5 is a schematic view of a rear view at a sliding table of a laser cutting machine for pipes according to the present invention;
FIG. 6 is a schematic diagram of a laser cutting machine for cutting pipes according to the present invention after the connection plate is partially cut.
In the figure: 1. a main body frame; 2. a support arm; 3. fixing a column; 4. a connecting seat; 5. a rotating seat; 6. a rotating plate; 7. a motor; 8. a transmission belt; 9. a slide bar; 10. a sliding table; 11. a clamping plate; 12. a sleeve seat; 13. a laser head; 14. a connecting plate; 15. a connecting beam; 16. a connecting frame; 17. a telescopic cylinder; 18. a guide rod; 19. a sliding seat; 20. a baffle plate; 21. a first rotating shaft; 22. a second rotating shaft; 23. a transmission rod; 24. a third rotating shaft; 25. fixing the transverse plate; 26. fixing a vertical plate; 27. an electric cylinder; 28. a sliding port; 29. a movable barrel; 30. clamping the block; 31. a movable plate; 32. a fixed cylinder; 33. a receiving box; 34. a diversion slope; 35. support the feet.
Detailed Description
The following description is presented to disclose the invention so as to enable any person skilled in the art to practice the invention. The preferred embodiments in the following description are given by way of example only, and other obvious variations will occur to those skilled in the art.
As shown in fig. 1-6, a pipe laser cutting machine comprises a main body frame 1, a supporting arm 2 is fixedly installed at a corner of one side of an upper end surface of the main body frame 1 close to a rear end, a fixing column 3 extending in a vertical direction is fixedly installed on a front end surface of the supporting arm 2, a rotating plate 6 is rotatably installed on an outer surface of the fixing column 3, a sliding rod 9 horizontally extending in a direction away from one side of the rotating plate 6 is fixedly installed on the front end surface of the rotating plate 6, a connecting plate 14 is fixedly connected to an end portion of the sliding rod 9, a sliding table 10 is slidably installed on an outer surface of the sliding rod 9, a driving mechanism for driving the sliding table 10 to horizontally move is arranged between the front end surface of the connecting plate 14 and the front end surface of the rotating plate 6, a laser head 13 pointing to the lower side is installed on the front end surface, the outer surface of the first rotating shaft 21 is rotatably provided with a baffle 20, one side, far away from the first rotating shaft 21, of the upper end face of the baffle 20 vertically extends out of a second rotating shaft 22, the second rotating shaft 22 is movably connected with a third rotating shaft 24 of the rear end face of the connecting plate 14 through a transmission rod 23, the third rotating shaft 24 is located right behind the second rotating shaft 22, the fixed column 3 is located right behind the first rotating shaft 21, the upper end of the supporting arm 2 is provided with a driving mechanism for driving the connecting plate 14 to rotate by taking the fixed column 3 as an axis, a plurality of fixed cylinders 32 extending towards the rear are fixedly installed on the inner wall in front of the main body frame 1, one side of each fixed cylinder 32 is provided with a parallel movable cylinder 29, and the front ends of the plurality of movable cylinders 29 are jointly provided with an adjusting mechanism for driving.
The rear end face fixed mounting of rotor plate 6 rotates seat 5, rotates seat 5 and rotates the surface of installing at fixed column 3, and the upper and lower end fixedly connected with connecting seat 4 of fixed column 3, and the preceding terminal surface fixed connection of the rear end of connecting seat 4 and support arm 2 to ensure the firm degree of structure of fixed column 3, rotate seat 5 and can use fixed column 3 to rotate as the axle.
Actuating mechanism includes motor 7 of fixed mounting at the 6 rear end faces of rotor plate, and the preceding terminal surface of rotor plate 6 is passed in the drive end activity of motor 7, and the drive shaft of motor 7 is overlapped with the preceding terminal surface joint activity of connecting plate 14 and is equipped with drive belt 8, and the rear end face of slip table 10 extends the mounting clip and at the clamp plate 11 of 8 surfaces of drive belt, and motor 7 drives drive belt 8 and rotates, and then drives slip table 10 horizontal migration.
The support arm 2 includes a bow portion provided on the outer surface, and the rear of the rotating plate 6 corresponds to the inside of the bow portion, which prevents the motor 7 and the like from being stopped by the support arm 2 when the rotating plate 6 rotates.
The driving mechanism comprises a connecting beam 15 fixedly connected to the upper end of the supporting arm 2, a connecting frame 16 fixedly installed on the lower end face of the connecting beam 15, and a telescopic cylinder 17 fixedly connected to the lower end of the connecting frame 16, wherein a guide rod 18 extending towards the two sides is fixedly installed on the rear end face of the connecting plate 14, and the telescopic end of the telescopic cylinder 17 is movably connected with the guide rod 18 through a moving part and is used for driving the connecting plate 14 and the rotating plate 6 to rotate by taking the fixed column 3 as an axis.
The movable part comprises a sliding seat 19 which is sleeved on the outer surface of the guide rod 18 in a sliding mode, the front end face of the sliding seat 19 is movably attached to the rear end face of the connecting plate 14, and the rear end face of the sliding seat 19 is rotatably connected with the telescopic end of the telescopic cylinder 17 to ensure that the telescopic cylinder 17 is not obstructed.
A sleeve seat 12 is fixedly arranged on the rear end face of the sliding table 10, the sleeve seat 12 is slidably sleeved on the outer surface of the sliding rod 9, and the sliding table 10 is slidably connected with the sliding rod 9 through the sleeve seat 12 so as to ensure that the sliding table 10 can stably slide along the horizontal direction.
The adjustment mechanism includes fixed riser 26 of fixed mounting at main body frame 1 preceding terminal surface, the fixed diaphragm 25 that extends perpendicularly from fixed riser 26 lower extreme, fixed mounting is at the electronic jar 27 of fixed diaphragm 25 up end, fixed connection is at the fly leaf 31 of electronic jar 27 flexible end, the front end of fixed riser 26 runs through in the place ahead that corresponds a movable section of thick bamboo 29 and has seted up sliding opening 28, the activity of the front end extension department of a movable section of thick bamboo 29 passes the inboard card of sliding opening 28 and goes into piece 30, the front end fixed connection of card piece 30 is at the rear end face of fly leaf 31, electronic jar 27 is flexible to order about a movable section of thick bamboo 29 and removes, and then adjust the interval between its and the fixed section of thick bamboo 32, in order to adapt to the placing of the tubular.
An interval is reserved between the rear end of the fixed cylinder 32 and the movable cylinder 29 and the inner wall of the main body frame 1, a receiving box 33 is arranged below the main body frame 1 corresponding to the interval position, the rear end of the receiving box 33 is opened outside, a flow guiding slope 34 for guiding the pipe fitting to move backwards is arranged on the bottom surface of the inner side of the receiving box 33, the cut waste material falls to the inner side of the receiving box 33 and flows away towards the rear along the flow guiding slope 34, therefore, the waste material can be collected in a centralized manner at the rear part, convenience is brought, supporting legs 35 extend out of the lower end surfaces of the main body frame 1 and the receiving box 33 respectively, and stable placement is ensured.
A user places a batch of pipe fittings between the fixed cylinder 32 and the movable cylinder 29 side by side, the front ends of the pipe fittings are aligned and attached to the baffle plate 20, when the rotating plate 6 rotates anticlockwise by taking the fixed cylinder 3 as an axis, the baffle plate 20 pushes the rear ends of the pipe fittings to the rear due to the action of the first rotating shaft 21, the second rotating shaft 22, the third rotating shaft 24 and the transmission rod 23, the rear ends of a plurality of pipe fittings are distributed in a step shape, the sliding table 10 is driven by the transmission belt 8 to move, and then the laser head 13 sequentially cuts the plurality of pipe fittings, so that the batch cutting processing of pipe bevel openings is facilitated, and the efficiency is improved; in the process, a batch of pipe fittings are placed between the fixed cylinder 32 and the movable cylinder 29 side by side, the anticlockwise rotation angle of the rotating plate 6 by taking the fixed cylinder 3 as an axis is the pipe orifice notch angle for cutting the pipe, the cutting angle is flexibly and accurately adjusted, and the pipe machining precision is improved; the electric cylinder 27 stretches and retracts to drive the movable plate 31, the clamping block 30 and the movable cylinder 29 to move together, so that the distance between the movable cylinder 29 and the fixed cylinder 32 is changed, when a pipe is placed, the pipe is placed between the fixed cylinder 32 and the movable cylinder 29, and the pipe with different radial sizes can be flexibly placed by adjusting the distance; when the telescopic cylinder 17 contracts, the sliding seat 19 can slide along the surface of the guide rod 18 to one side far away from the support arm 2, and meanwhile, the connecting part of the sliding seat 19 and the telescopic cylinder 17 rotates to ensure that the sliding seat 19 can slide along the surface of the guide rod 18, so that the connecting plate 14 and the rotating plate 6 are driven to rotate anticlockwise by taking the fixed column 3 as an axis, otherwise, the telescopic cylinder 17 extends to ensure that the rotating plate 6 rotates clockwise, so that the effect of flexibly adjusting the rotating angle of the rotating plate 6 and the baffle plate 20 is achieved, and the flexible adjustment of the cut inclination of the pipe is facilitated.
The foregoing shows and describes the general principles, essential features, and advantages of the invention. It will be understood by those skilled in the art that the present invention is not limited to the embodiments described above, which are merely illustrative of the principles of the invention, but that various changes and modifications may be made without departing from the spirit and scope of the invention, which fall within the scope of the invention as claimed. The scope of the invention is defined by the appended claims and equivalents thereof.
Claims (9)
1. The utility model provides a tubular product laser cutting machine, includes main body frame (1), its characterized in that: the utility model discloses a support arm for the automobile seat, including main body frame (1), support arm (2), fixed column (3) that extend towards vertical direction are installed to the up end of support arm (2), the surface rotation of fixed column (3) installs rotor plate (6), the preceding terminal surface fixed mounting of rotor plate (6) has towards slide bar (9) of keeping away from rotor plate (6) one side direction level extension, just the tip fixedly connected with connecting plate (14) of slide bar (9), the surface slidable mounting of slide bar (9) has slip table (10), be provided with between the preceding terminal surface of connecting plate (14) and rotor plate (6) and be used for driving slip table (10) horizontal migration's actuating mechanism, directional below laser head (13) are installed to the preceding terminal surface of slip table (10), the place ahead department that fixed column (3) was kept away from to the up end of main body frame (1) extends first pivot (21) perpendicularly A baffle (20) is rotatably arranged on the outer surface of the first rotating shaft (21), a second rotating shaft (22) vertically extends from one side of the upper end surface of the baffle (20) far away from the first rotating shaft (21), the second rotating shaft (22) is movably connected with a third rotating shaft (24) on the rear end surface of the connecting plate (14) through a transmission rod (23), the third rotating shaft (24) is positioned right behind the second rotating shaft (22), the fixed column (3) is positioned right behind the first rotating shaft (21), the upper end of the supporting arm (2) is provided with a driving mechanism which drives the connecting plate (14) to rotate by taking the fixed column (3) as an axis, the front inner wall of the main body frame (1) is fixedly provided with a plurality of fixed cylinders (32) extending towards the rear, one side of each fixed cylinder (32) is provided with a parallel movable cylinder (29), and the front ends of the movable cylinders (29) are jointly provided with an adjusting mechanism driving the movable cylinders to move towards the horizontal direction.
2. The pipe laser cutting machine according to claim 1, characterized in that: the rear end face of the rotating plate (6) is fixedly provided with a rotating seat (5), the rotating seat (5) is rotatably arranged on the outer surface of the fixing column (3), the upper end and the lower end of the fixing column (3) are fixedly connected with a connecting seat (4), and the rear end of the connecting seat (4) is fixedly connected with the front end face of the supporting arm (2).
3. The pipe laser cutting machine according to claim 1, characterized in that: actuating mechanism includes motor (7) of fixed mounting at rotor plate (6) rear end face, the preceding terminal surface of rotor plate (6) is passed in the drive end activity of motor (7), the drive shaft of motor (7) and the preceding terminal surface concerted movement cover of connecting plate (14) are equipped with drive belt (8), the rear end face of slip table (10) extends fixation clamp and presss from both sides tight board (11) at drive belt (8) surface.
4. The laser cutting machine for pipes according to claim 3, wherein: the supporting arm (2) comprises an arch part arranged on the outer surface, and the rear part of the rotating plate (6) corresponds to the inner side of the arch part.
5. The pipe laser cutting machine according to claim 1, characterized in that: drive mechanism includes connecting beam (15), fixed mounting of fixed connection in support arm (2) upper end connecting beam (15) lower extreme terminal surface link (16), fixed connection at link (15), telescoping cylinder (17) at link (16) lower extreme, the rear end face fixed mounting of connecting plate (14) has guide rod (18) towards both sides direction extension, the flexible end of telescoping cylinder (17) passes through moving part and guide rod (18) swing joint.
6. The pipe laser cutting machine according to claim 5, wherein: the movable part comprises a sliding seat (19) which is sleeved on the outer surface of the guide rod (18) in a sliding mode, the front end face of the sliding seat (19) is movably attached to the rear end face of the connecting plate (14), and the rear end face of the sliding seat (19) is rotatably connected with the telescopic end of the telescopic cylinder (17).
7. The pipe laser cutting machine according to claim 1, characterized in that: the rear end face of the sliding table (10) is fixedly provided with a sleeve seat (12), the sleeve seat (12) is slidably sleeved on the outer surface of the sliding rod (9), and the sliding table (10) is slidably connected with the sliding rod (9) through the sleeve seat (12).
8. The pipe laser cutting machine according to claim 1, characterized in that: the adjusting mechanism comprises a fixed vertical plate (26) fixedly arranged on the front end face of the main body frame (1), a fixed transverse plate (25) vertically extending out of the lower end of the fixed vertical plate (26), an electric cylinder (27) fixedly arranged on the upper end face of the fixed transverse plate (25), and a movable plate (31) fixedly connected to the telescopic end of the electric cylinder (27), wherein the front end face of the fixed vertical plate (26) is penetrated and provided with a sliding opening (28) in front of the corresponding movable cylinder (29), the front end of the movable cylinder (29) is movably arranged in an extending position to penetrate through a clamping block (30) on the inner side of the sliding opening (28), and the front end of the clamping block (30) is fixedly connected to the rear end face of the movable plate (31).
9. The pipe laser cutting machine according to claim 1, characterized in that: the utility model discloses a supporting legs, including fixed cylinder (32) and movable cylinder (29), leave the interval between the rear end of fixed cylinder (32) and the inner wall of main body frame (1), the below of main body frame (1) corresponds interval position and is provided with receiver box (33), the rear end of receiver box (33) opens in the outside, water conservancy diversion slope (34) that guide pipe fitting moved towards the rear are seted up to the inboard bottom surface of receiver box (33), supporting legs (35) are extended respectively to the lower terminal surface of main body frame (1) and receiver box (33).
Priority Applications (1)
| Application Number | Priority Date | Filing Date | Title |
|---|---|---|---|
| CN202011074701.1A CN112139677B (en) | 2020-10-10 | 2020-10-10 | Pipe laser cutting machine |
Applications Claiming Priority (1)
| Application Number | Priority Date | Filing Date | Title |
|---|---|---|---|
| CN202011074701.1A CN112139677B (en) | 2020-10-10 | 2020-10-10 | Pipe laser cutting machine |
Publications (2)
| Publication Number | Publication Date |
|---|---|
| CN112139677A true CN112139677A (en) | 2020-12-29 |
| CN112139677B CN112139677B (en) | 2022-09-30 |
Family
ID=73952638
Family Applications (1)
| Application Number | Title | Priority Date | Filing Date |
|---|---|---|---|
| CN202011074701.1A Active CN112139677B (en) | 2020-10-10 | 2020-10-10 | Pipe laser cutting machine |
Country Status (1)
| Country | Link |
|---|---|
| CN (1) | CN112139677B (en) |
Cited By (5)
| Publication number | Priority date | Publication date | Assignee | Title |
|---|---|---|---|---|
| CN112894182A (en) * | 2021-01-28 | 2021-06-04 | 广东韶钢工程技术有限公司 | Universal clamp for processing circular tube by optical fiber laser cutting machine and use method |
| CN113618260A (en) * | 2021-09-07 | 2021-11-09 | 苏州市洛肯电子科技有限公司 | Laser cutting machine that multi-angle was adjusted |
| CN115709332A (en) * | 2022-11-14 | 2023-02-24 | 山东海韵电气有限公司 | Oblique cutting equipment for water inlet elbow pipe of automobile radiator |
| CN118180663A (en) * | 2024-05-20 | 2024-06-14 | 长沙埔天汽车配件有限公司 | Laser cutting equipment is used in processing of special type vehicle accessory |
| CN118543992A (en) * | 2024-07-25 | 2024-08-27 | 中国机械工业建设集团有限公司 | Cutting device for steel construction |
Citations (8)
| Publication number | Priority date | Publication date | Assignee | Title |
|---|---|---|---|---|
| CN103108718A (en) * | 2010-06-02 | 2013-05-15 | 罗伯特·博世有限公司 | Feedback mechanism for adjustable miter fence |
| CN205075107U (en) * | 2015-09-22 | 2016-03-09 | 广东联塑科技实业有限公司 | Bevel connection equipment is cut to tubular product |
| CN108145762A (en) * | 2017-12-31 | 2018-06-12 | 吴阳涛 | A kind of filament cutter |
| CN208261986U (en) * | 2018-05-21 | 2018-12-21 | 佛山市欧凯特机械设备有限公司 | A kind of flexible and efficient pipe cutting machine |
| CN209887753U (en) * | 2019-08-30 | 2020-01-03 | 海南喜福家具制造有限公司 | Angle beveller with garbage collection function |
| CN210011102U (en) * | 2019-05-08 | 2020-02-04 | 江西海鹏木业有限公司 | General type plank beveling device |
| CN210081962U (en) * | 2019-05-08 | 2020-02-18 | 江西海鹏木业有限公司 | Wood board beveling device with two sides capable of being machined |
| CN210817664U (en) * | 2019-11-14 | 2020-06-23 | 江门市铨涛金属制品有限公司 | A batch automatic oblique cutting machine |
-
2020
- 2020-10-10 CN CN202011074701.1A patent/CN112139677B/en active Active
Patent Citations (8)
| Publication number | Priority date | Publication date | Assignee | Title |
|---|---|---|---|---|
| CN103108718A (en) * | 2010-06-02 | 2013-05-15 | 罗伯特·博世有限公司 | Feedback mechanism for adjustable miter fence |
| CN205075107U (en) * | 2015-09-22 | 2016-03-09 | 广东联塑科技实业有限公司 | Bevel connection equipment is cut to tubular product |
| CN108145762A (en) * | 2017-12-31 | 2018-06-12 | 吴阳涛 | A kind of filament cutter |
| CN208261986U (en) * | 2018-05-21 | 2018-12-21 | 佛山市欧凯特机械设备有限公司 | A kind of flexible and efficient pipe cutting machine |
| CN210011102U (en) * | 2019-05-08 | 2020-02-04 | 江西海鹏木业有限公司 | General type plank beveling device |
| CN210081962U (en) * | 2019-05-08 | 2020-02-18 | 江西海鹏木业有限公司 | Wood board beveling device with two sides capable of being machined |
| CN209887753U (en) * | 2019-08-30 | 2020-01-03 | 海南喜福家具制造有限公司 | Angle beveller with garbage collection function |
| CN210817664U (en) * | 2019-11-14 | 2020-06-23 | 江门市铨涛金属制品有限公司 | A batch automatic oblique cutting machine |
Cited By (8)
| Publication number | Priority date | Publication date | Assignee | Title |
|---|---|---|---|---|
| CN112894182A (en) * | 2021-01-28 | 2021-06-04 | 广东韶钢工程技术有限公司 | Universal clamp for processing circular tube by optical fiber laser cutting machine and use method |
| CN113618260A (en) * | 2021-09-07 | 2021-11-09 | 苏州市洛肯电子科技有限公司 | Laser cutting machine that multi-angle was adjusted |
| CN113618260B (en) * | 2021-09-07 | 2023-10-20 | 苏州市洛肯电子科技有限公司 | Multi-angle adjustment's laser cutting machine |
| CN115709332A (en) * | 2022-11-14 | 2023-02-24 | 山东海韵电气有限公司 | Oblique cutting equipment for water inlet elbow pipe of automobile radiator |
| CN118180663A (en) * | 2024-05-20 | 2024-06-14 | 长沙埔天汽车配件有限公司 | Laser cutting equipment is used in processing of special type vehicle accessory |
| CN118180663B (en) * | 2024-05-20 | 2024-07-26 | 长沙埔天汽车配件有限公司 | Laser cutting equipment is used in processing of special type vehicle accessory |
| CN118543992A (en) * | 2024-07-25 | 2024-08-27 | 中国机械工业建设集团有限公司 | Cutting device for steel construction |
| CN118543992B (en) * | 2024-07-25 | 2024-10-15 | 中国机械工业建设集团有限公司 | Cutting device for steel construction |
Also Published As
| Publication number | Publication date |
|---|---|
| CN112139677B (en) | 2022-09-30 |
Similar Documents
| Publication | Publication Date | Title |
|---|---|---|
| CN112139677B (en) | Pipe laser cutting machine | |
| CN221047415U (en) | Automatic large-pipe-diameter cutting device | |
| CN112809212A (en) | Steel sheet cutting device based on laser cuts and positioning accuracy is high | |
| CN113857920A (en) | A portable special device for turning large-diameter round steel pipes | |
| CN119794610A (en) | A laser round tube cutting machine | |
| CN118180741B (en) | Automatic welding equipment for rotary cultivator cutter shaft | |
| CN214921277U (en) | Welding device for thick steel plate of wind power tower | |
| CN214518480U (en) | A clamping device for a laser spot welding machine | |
| CN219094014U (en) | Multi-angle adjustment's laser cutting machine | |
| CN108772451A (en) | Upper and lower curved New Type Bending Pipe Unit | |
| CN210172675U (en) | Automatic material loading position adjustable pipe cutting machine | |
| CN215698778U (en) | Plasma cutting machine with stainless steel spiral wind pipe | |
| CN221435342U (en) | Rotary cutting device for metal pipe | |
| CN220330367U (en) | Pipe welding equipment capable of being adjusted at multiple angles | |
| CN221270040U (en) | Synchronous chuck of connecting rod | |
| CN220029045U (en) | Laser pipe cutting machine convenient for blanking | |
| CN208913624U (en) | A kind of clamping device for aluminium alloy pipe and the lathe including the clamping device | |
| CN206343775U (en) | A kind of laser rotary cutter device | |
| CN117428353A (en) | Side-hanging type full-automatic feeding laser pipe cutting machine | |
| CN212496006U (en) | Automatic change elbow laser cutting equipment | |
| CN210848590U (en) | A translation mechanism for an ultra-long pipe and an ultra-long pipe sawing machine | |
| CN210908309U (en) | Automatic pipe making and cutting machine | |
| CN208758913U (en) | A welding positioning device for thin-walled small tubes | |
| CN223353063U (en) | A pipe cutting machine with improved cutting efficiency | |
| CN220372463U (en) | Fixed-length type pipe laser cutting machine |
Legal Events
| Date | Code | Title | Description |
|---|---|---|---|
| PB01 | Publication | ||
| PB01 | Publication | ||
| SE01 | Entry into force of request for substantive examination | ||
| SE01 | Entry into force of request for substantive examination | ||
| GR01 | Patent grant | ||
| GR01 | Patent grant | ||
| TA01 | Transfer of patent application right |
Effective date of registration: 20220916 Address after: 2 / F, No.2 scientific research building, area B, SME Incubation Park, No.2 Jintang North Road, Wenling East New District, Taizhou City, Zhejiang Province, 317500 Applicant after: Zhejiang Hanma Laser Equipment Co.,Ltd. Address before: 213000, No. 200 Jinling North Road, Jiangsu, Changzhou Applicant before: Jiang Jialun |
|
| TA01 | Transfer of patent application right |