CN112123116A - Grinding device for conveniently grinding and carving wood carving surface - Google Patents
Grinding device for conveniently grinding and carving wood carving surface Download PDFInfo
- Publication number
- CN112123116A CN112123116A CN202011095359.3A CN202011095359A CN112123116A CN 112123116 A CN112123116 A CN 112123116A CN 202011095359 A CN202011095359 A CN 202011095359A CN 112123116 A CN112123116 A CN 112123116A
- Authority
- CN
- China
- Prior art keywords
- cavity
- transmission
- gear
- grinding
- carving
- Prior art date
- Legal status (The legal status is an assumption and is not a legal conclusion. Google has not performed a legal analysis and makes no representation as to the accuracy of the status listed.)
- Withdrawn
Links
- 239000002023 wood Substances 0.000 title claims abstract description 49
- 230000005540 biological transmission Effects 0.000 claims abstract description 91
- 238000005498 polishing Methods 0.000 claims abstract description 24
- 238000000034 method Methods 0.000 claims abstract description 5
- 238000006243 chemical reaction Methods 0.000 claims description 12
- 238000007517 polishing process Methods 0.000 claims description 3
- 230000001174 ascending effect Effects 0.000 claims description 2
- 239000007787 solid Substances 0.000 claims 2
- 238000010586 diagram Methods 0.000 description 2
- 230000009286 beneficial effect Effects 0.000 description 1
- 230000007547 defect Effects 0.000 description 1
- 238000012986 modification Methods 0.000 description 1
- 230000004048 modification Effects 0.000 description 1
- 230000000149 penetrating effect Effects 0.000 description 1
- 238000004064 recycling Methods 0.000 description 1
- 238000003466 welding Methods 0.000 description 1
Images
Classifications
-
- B—PERFORMING OPERATIONS; TRANSPORTING
- B24—GRINDING; POLISHING
- B24B—MACHINES, DEVICES, OR PROCESSES FOR GRINDING OR POLISHING; DRESSING OR CONDITIONING OF ABRADING SURFACES; FEEDING OF GRINDING, POLISHING, OR LAPPING AGENTS
- B24B19/00—Single-purpose machines or devices for particular grinding operations not covered by any other main group
- B24B19/22—Single-purpose machines or devices for particular grinding operations not covered by any other main group characterised by a special design with respect to properties of the material of non-metallic articles to be ground
- B24B19/24—Single-purpose machines or devices for particular grinding operations not covered by any other main group characterised by a special design with respect to properties of the material of non-metallic articles to be ground of wood, e.g. furniture
-
- B—PERFORMING OPERATIONS; TRANSPORTING
- B24—GRINDING; POLISHING
- B24B—MACHINES, DEVICES, OR PROCESSES FOR GRINDING OR POLISHING; DRESSING OR CONDITIONING OF ABRADING SURFACES; FEEDING OF GRINDING, POLISHING, OR LAPPING AGENTS
- B24B41/00—Component parts such as frames, beds, carriages, headstocks
- B24B41/04—Headstocks; Working-spindles; Features relating thereto
-
- B—PERFORMING OPERATIONS; TRANSPORTING
- B24—GRINDING; POLISHING
- B24B—MACHINES, DEVICES, OR PROCESSES FOR GRINDING OR POLISHING; DRESSING OR CONDITIONING OF ABRADING SURFACES; FEEDING OF GRINDING, POLISHING, OR LAPPING AGENTS
- B24B41/00—Component parts such as frames, beds, carriages, headstocks
- B24B41/06—Work supports, e.g. adjustable steadies
-
- B—PERFORMING OPERATIONS; TRANSPORTING
- B24—GRINDING; POLISHING
- B24B—MACHINES, DEVICES, OR PROCESSES FOR GRINDING OR POLISHING; DRESSING OR CONDITIONING OF ABRADING SURFACES; FEEDING OF GRINDING, POLISHING, OR LAPPING AGENTS
- B24B47/00—Drives or gearings; Equipment therefor
- B24B47/10—Drives or gearings; Equipment therefor for rotating or reciprocating working-spindles carrying grinding wheels or workpieces
- B24B47/12—Drives or gearings; Equipment therefor for rotating or reciprocating working-spindles carrying grinding wheels or workpieces by mechanical gearing or electric power
-
- B—PERFORMING OPERATIONS; TRANSPORTING
- B24—GRINDING; POLISHING
- B24B—MACHINES, DEVICES, OR PROCESSES FOR GRINDING OR POLISHING; DRESSING OR CONDITIONING OF ABRADING SURFACES; FEEDING OF GRINDING, POLISHING, OR LAPPING AGENTS
- B24B47/00—Drives or gearings; Equipment therefor
- B24B47/20—Drives or gearings; Equipment therefor relating to feed movement
-
- B—PERFORMING OPERATIONS; TRANSPORTING
- B24—GRINDING; POLISHING
- B24B—MACHINES, DEVICES, OR PROCESSES FOR GRINDING OR POLISHING; DRESSING OR CONDITIONING OF ABRADING SURFACES; FEEDING OF GRINDING, POLISHING, OR LAPPING AGENTS
- B24B47/00—Drives or gearings; Equipment therefor
- B24B47/22—Equipment for exact control of the position of the grinding tool or work at the start of the grinding operation
-
- B—PERFORMING OPERATIONS; TRANSPORTING
- B24—GRINDING; POLISHING
- B24B—MACHINES, DEVICES, OR PROCESSES FOR GRINDING OR POLISHING; DRESSING OR CONDITIONING OF ABRADING SURFACES; FEEDING OF GRINDING, POLISHING, OR LAPPING AGENTS
- B24B55/00—Safety devices for grinding or polishing machines; Accessories fitted to grinding or polishing machines for keeping tools or parts of the machine in good working condition
- B24B55/06—Dust extraction equipment on grinding or polishing machines
-
- B—PERFORMING OPERATIONS; TRANSPORTING
- B24—GRINDING; POLISHING
- B24B—MACHINES, DEVICES, OR PROCESSES FOR GRINDING OR POLISHING; DRESSING OR CONDITIONING OF ABRADING SURFACES; FEEDING OF GRINDING, POLISHING, OR LAPPING AGENTS
- B24B55/00—Safety devices for grinding or polishing machines; Accessories fitted to grinding or polishing machines for keeping tools or parts of the machine in good working condition
- B24B55/12—Devices for exhausting mist of oil or coolant; Devices for collecting or recovering materials resulting from grinding or polishing, e.g. of precious metals, precious stones, diamonds or the like
Landscapes
- Engineering & Computer Science (AREA)
- Mechanical Engineering (AREA)
- Life Sciences & Earth Sciences (AREA)
- Wood Science & Technology (AREA)
- Finish Polishing, Edge Sharpening, And Grinding By Specific Grinding Devices (AREA)
Abstract
The invention relates to the technical field of wood carving grinding and polishing, in particular to a grinding device for conveniently grinding and carving the surface of a wood carving, which comprises a machine body and a processing cavity, wherein the processing cavity is positioned in the machine body and provided with a right opening, a rotating block is rotatably arranged at the bottom wall of the processing cavity, a clamping device which can clamp and fix the wood carving with different thicknesses and can conveniently rotate the wood carving is arranged in the rotating block, a first transmission cavity is arranged in the lower end wall of the rotating block, and a transmission device which controls the rotating block to intermittently rotate after the wood carving is clamped by the clamping device is arranged in the first transmission cavity. The wood chips generated in the grinding process can be collected in time, and are convenient to recycle.
Description
Technical Field
The invention relates to the technical field of wood carving grinding and polishing, in particular to a grinding device for conveniently grinding and carving a wood carving surface.
Background
Present wood carving sculpture processing is preceding, often need carry out burnishing and polishing to the wooden head face of surface unevenness, because the wood carving shape is comparatively complicated, accomplish by the manual work through the burnishing and polishing process, artifical handheld polisher carries out the burnishing and polishing, burnishing and polishing efficiency is low, it is long to consume time, and when carrying out precious timber sculpture, traditional grinding equipment can not in time retrieve the timber piece that the grinding was gone out, thereby produced a large amount of wastes, consequently, it improves above-mentioned problem to be necessary to design a grinding device who is used for the convenient sculpture of wood carving surface grinding.
Disclosure of Invention
The invention aims to provide a polishing device for conveniently grinding and carving a wood carving surface, which can overcome the defects in the prior art, so that the practicability of equipment is improved.
The technical scheme adopted by the invention for solving the technical problems is as follows: the invention relates to a polishing device for conveniently grinding and carving the surface of a wood carving, which comprises a machine body and a processing cavity, wherein the processing cavity is positioned in the machine body and provided with a right opening, a rotating block is rotatably arranged at the bottom wall of the processing cavity, a clamping device capable of clamping and fixing the wood carving with different thicknesses and enabling the wood carving to rotate and be conveniently polished is arranged in the rotating block, a first transmission cavity is arranged in the end wall of the lower side of the rotating block, a transmission device capable of controlling the rotating block to intermittently rotate after the wood carving is clamped by the clamping device is arranged in the first transmission cavity, an air suction cavity is arranged in the end wall of the left side of the first transmission cavity, the transmission device can control an air suction fan in the air suction cavity to collect wood chips generated in the polishing process into a collection cavity in the end wall of the upper side of the air suction cavity, a second transmission cavity is arranged in the end, be equipped with the decurrent removal chamber of opening in the side end wall of processing chamber upside, it makes to be equipped with the rotation through the transmission band to remove the intracavity the grinding block that the transmission band lower extreme set firmly removes the mobile device who removes, power device can be for transmission device or mobile device provides power, it is right to be equipped with reciprocating through the grinding wheel in the grinding block the grinding device that centre gripping and intermittent type pivoted woodcarving surface polished is held and carried out.
Further, clamping device includes the ascending centre gripping chamber of opening, what the centre gripping intracavity can be moved about is provided with the grip block, be equipped with the screw hole that runs through about in the grip block, the rotatable screw that is provided with of centre gripping intracavity, the screw extends to right outside the grip block, the screw with screw thread fit connection between the screw hole, it is steerable to twist the screw the grip block is moved about will place in the woodcarving centre gripping on the turning block.
Furthermore, the power device comprises a conversion cavity with a left opening in the right side end wall, a moving block is arranged in the conversion cavity and can move up and down, a spring is elastically connected between the moving block and the bottom wall of the conversion cavity, an electromagnet is arranged at the bottom of the moving block, a permanent magnet which can be magnetically attracted with the electromagnet after being electrified is arranged in the bottom wall of the conversion cavity, a first motor is embedded in the moving block, a first gear is fixedly arranged at the leftwards extending tail end of the first motor main shaft, a first rotating shaft and a worm positioned below the first rotating shaft are rotatably arranged in the second transmission cavity, a second gear meshed with the first gear is fixedly arranged on the outer surface of the first rotating shaft, a first bevel gear is fixedly arranged on the left side of the second gear, and a third gear which can be meshed with the first gear disengaged from the second gear is fixedly arranged on the outer surface of the worm.
Further, a gear cavity is arranged in the rear end wall of the moving cavity, a second rotating shaft is connected between the second transmission cavity and the gear cavity in a rotating mode, a second bevel gear meshed with the first bevel gear is fixedly arranged at the bottom of the second rotating shaft, a third bevel gear is fixedly arranged at the top of the second rotating shaft, a third rotating shaft is connected between the moving cavity and the gear cavity in a rotating mode, a fourth bevel gear meshed with the third bevel gear is fixedly arranged at the rear end of the third rotating shaft, a first belt wheel is fixedly arranged at the front end of the third rotating shaft, a second belt wheel located on the right side of the first belt wheel is rotatably arranged in the moving cavity, and the first belt wheel is connected with the second belt wheel through a transmission belt in a power mode so that the polishing block can be controlled to move left.
Further, grinding device includes the second motor, the second motor with link to each other through the electric wire between the electro-magnet, second motor spindle be spline sleeve downwardly extending rotate set up in the piece of polishing, spline sleeve internal surface splined connection has the integral key shaft, spline shaft downwardly extending extends to outside the piece of polishing, the surface rotates and sets up in the meshing rack, the end has set firmly the wheel of polishing.
Furthermore, a first air suction pipe and a second air suction pipe are fixedly arranged on the upper end and the right end wall of the collection cavity, so that sawdust on the rotating block can be conveniently collected, a filter screen is fixedly arranged between the collection cavity and the air suction cavity, a fourth rotating shaft is rotatably arranged in the air suction cavity, a first worm wheel meshed with the worm is fixedly arranged on the upward extending outer surface of the fourth rotating shaft, the air suction fan is fixedly arranged at the top end of the fourth rotating shaft, the worm extends into the first transmission cavity, a second worm wheel meshed with the worm and a third worm wheel are rotatably arranged in the first transmission cavity, a notch rotating disc is fixedly arranged at the upward extending tail end of a main shaft of the second worm wheel, a push rod is fixedly arranged on the outer surface of the notch rotating disc, a rotating shaft is rotatably arranged behind the notch rotating disc, the rotating block is fixedly arranged at the top end of the, twelve symmetrical round pins are fixedly arranged at the upper end of the rotary table, and the round pin can be pushed to rotate thirty degrees by one turn of the push rod, so that the intermittent rotation of the rotary block can be controlled conveniently.
Furthermore, a third belt wheel is fixedly arranged at the upward extending tail end of the third worm wheel main shaft, a third transmission cavity is arranged in the end wall at the rear side of the machine body, a first transmission shaft and a second transmission shaft are rotatably arranged in the third transmission cavity, a fourth belt wheel is fixedly arranged on the upward extending outer surface of the first transmission shaft, a fifth bevel gear is fixedly arranged at the top end of the first transmission shaft, the third belt wheel is in power connection with the fourth belt wheel through a transmission belt, a sixth bevel gear meshed with the fifth bevel gear is fixedly arranged on the backward extending outer surface of the second transmission shaft, a fourth gear is fixedly arranged at the tail end of the second transmission shaft, a rocker is hinged at the rear end of the fourth gear, a fourth transmission cavity is arranged in the end wall at the upper side of the third transmission cavity, a rack is arranged in the fourth transmission cavity in a manner of being capable of moving up and down, and a third transmission shaft is rotatably arranged in the fourth transmission cavity, a fifth gear meshed with the rack is fixedly arranged on the outer surface of the third transmission shaft, and a meshed gear meshed with the meshed rack is fixedly arranged at the tail end of the third transmission shaft, which extends forwards into the processing cavity.
The invention has the beneficial effects that: the invention provides a polishing device for conveniently grinding and carving the surface of a wood carving, which can completely polish the outer wall surface of the wood carving in a short time to be flat and can cope with wood carving with different thicknesses, the grinding quality is improved by adapting to the shape change of the wood carving through the up-and-down movement of a spline shaft, wood chips generated in the grinding process can be collected in time, and the wood chips are convenient to recycle.
Drawings
In order to more clearly illustrate the embodiments of the invention or the technical solutions in the prior art, the drawings used in the description of the embodiments or the prior art will be briefly described below, and it is obvious that the drawings in the following description are only some embodiments of the invention, and it is obvious for those skilled in the art that other drawings can be obtained based on these drawings without creative efforts.
Drawings
The invention is further illustrated with reference to the following figures and examples.
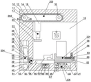
Fig. 1 is a schematic structural diagram of an overall structure of a grinding device for grinding a wood carving surface to facilitate carving.
Fig. 2 is a schematic view of the structure a-a in fig. 1.
FIG. 3 is a schematic diagram of B-B in FIG. 1.
Fig. 4 is a schematic view of the structure of C-C in fig. 1.
Fig. 5 is a schematic view of the structure of the polishing apparatus of fig. 1.
Detailed Description
The invention will now be described in detail with reference to fig. 1-5, wherein for ease of description the orientations described hereinafter are now defined as follows: the up, down, left, right, and front-back directions described below correspond to the up, down, left, right, and front-back directions in the projection relationship of fig. 1 itself.
With reference to fig. 1-5, the grinding device for conveniently grinding and carving wood carving surfaces comprises a machine body 10 and a processing cavity 15 located in the machine body 10 and having a rightward opening, wherein a rotating block 55 is rotatably arranged at the bottom wall of the processing cavity 15, a clamping device 201 capable of clamping and fixing wood carving with different thickness and enabling the wood carving to rotate and conveniently grind is arranged in the rotating block 55, a first transmission cavity 42 is arranged in the end wall of the lower side of the rotating block 55, a transmission device 205 which controls the rotating block 55 to intermittently rotate after the wood carving is clamped by the clamping device 201 is arranged in the first transmission cavity 42, an air suction cavity 57 is arranged in the end wall of the left side of the first transmission cavity 42, the transmission device 205 can control an air suction fan 36 in the air suction cavity 57 to collect wood chips generated in the grinding process into a collection cavity 34 in the end wall of the upper side of the air suction cavity 57, be equipped with second transmission chamber 22 in the fuselage 10 left side end wall, be equipped with power device 204 in the second transmission chamber 22, be equipped with the decurrent removal chamber 11 of opening in the side end wall on the processing chamber 15, it makes to be equipped with the rotation through transmission band 14 in the removal chamber 11 the grinding block 18 that the transmission band 14 lower extreme set firmly moves mobile device 203 about moving, power device 204 can do transmission device 205 or mobile device 203 provides power, it is right to be equipped with reciprocating through grinding wheel 20 in the grinding block 18 the grinding device 202 that the centre gripping of clamping device 201 and intermittent type pivoted woodcarving surface polished.
Advantageously, the clamping device 201 comprises a clamping cavity 56 with an upward opening, a clamping block 58 is arranged in the clamping cavity 56 in a manner of moving left and right, a threaded hole 59 penetrating left and right is formed in the clamping block 58, a screw 60 is rotatably arranged in the clamping cavity 56, the screw 60 extends to the right outside the clamping block 55, the screw 60 is in threaded fit connection with the threaded hole 59, and the clamping block 58 can be controlled to move left and right to clamp a woodcarving placed on the rotating block 55 by manually screwing the screw 60.
Beneficially, the power device 204 includes a conversion cavity 28 with a left opening in a right end wall, a moving block 33 is disposed in the conversion cavity 28 and capable of moving up and down, a spring 29 is elastically connected between the moving block 33 and a bottom wall of the conversion cavity 28, an electromagnet 27 is disposed at a bottom of the moving block 33, a permanent magnet 32 capable of being magnetically attracted to the electromagnet 27 after being electrified is disposed in the bottom wall of the conversion cavity 28, a first motor 66 is embedded in the moving block 33, a first gear 30 is fixedly disposed at a leftwards extending tail end of a main shaft of the first motor 66, a first rotating shaft 25 and a worm 40 located below the first rotating shaft 25 are rotatably disposed in the second transmission cavity 22, a second gear 26 meshed with the first gear 30 is fixedly disposed on an outer surface of the first rotating shaft 25, a first bevel gear 24 is fixedly disposed on a left side of the second gear 26, and a third gear meshed with the first gear 30 and capable of being disengaged with the second gear 26 is fixedly disposed on an outer surface of 31.
Beneficially, a gear cavity 17 is arranged in a rear side end wall of the moving cavity 11, a second rotating shaft 81 is rotatably connected between the second transmission cavity 22 and the gear cavity 17, a second bevel gear 23 engaged with the first bevel gear 26 is fixedly arranged at the bottom of the second rotating shaft 81, a third bevel gear 19 is fixedly arranged at the top of the second rotating shaft, a third rotating shaft 13 is rotatably connected between the moving cavity 11 and the gear cavity 17, a fourth bevel gear 21 engaged with the third bevel gear 19 is fixedly arranged at the rear end of the third rotating shaft 13, a first belt pulley 12 is fixedly arranged at the front end of the third rotating shaft, a second belt pulley 16 positioned at the right side of the first belt pulley 12 is rotatably arranged in the moving cavity 11, and the first belt pulley 12 and the second belt pulley 16 are in power connection through the transmission belt 14, so as to control the left and right movement of the grinding block 18.
Advantageously, the grinding device 202 comprises a second motor 77, the second motor 77 is connected with the electromagnet 27 through an electric wire 79, a main shaft of the second motor 77, namely a spline sleeve 75, extends downwards and is rotatably arranged in the grinding block 18, a spline shaft 76 is splined on the inner surface of the spline sleeve 75, the spline shaft 76 extends downwards to the outside of the grinding block 18, the outer surface is rotatably arranged in a meshing rack 78, and the grinding wheel 20 is fixedly arranged at the tail end.
Advantageously, a first air suction pipe 35 and a second air suction pipe 41 are fixedly arranged on the upper end and the right end wall of the collection cavity 34 for collecting the wood chips on the rotating block 55, a filter screen 37 is fixedly arranged between the collection cavity 34 and the air suction cavity 57, a fourth rotating shaft 39 is rotatably arranged in the air suction cavity 57, a first worm wheel 38 engaged with the worm 40 is fixedly arranged on the upwardly extending outer surface of the fourth rotating shaft 39, the air suction fan 36 is fixedly arranged on the top end of the fourth rotating shaft 39, the worm 40 extends into the first transmission cavity 42, a second worm wheel 44 and a third worm wheel 46 engaged with the worm 40 are rotatably arranged in the first transmission cavity 42, a notch rotating disc 48 is fixedly arranged on the upwardly extending tail end of the main shaft of the second worm wheel 44, a push rod 49 is fixedly arranged on the outer surface of the notch rotating disc 48, a rotating shaft 52 is rotatably arranged behind the notch rotating disc 48, the rotating block 55 is fixedly arranged at the top end of the rotating shaft 52, the rotating disc 50 is fixedly arranged at the bottom end of the rotating shaft, twelve symmetrical round pins 51 are fixedly arranged at the upper end of the rotating disc 50, and the pushing rod 49 rotates for one circle to push the round pins 51 to rotate for thirty degrees, so that the intermittent rotation of the rotating block 55 is controlled conveniently.
Advantageously, a third pulley 54 is fixedly arranged at the upward extending end of the main shaft of the third worm gear 46, a third transmission chamber 62 is arranged in the rear end wall of the machine body 10, a first transmission shaft 61 and a second transmission shaft 67 are rotatably arranged in the third transmission chamber 62, a fourth pulley 63 is fixedly arranged on the upward extending outer surface of the first transmission shaft 61, a fifth bevel gear 64 is fixedly arranged at the top end of the first transmission shaft, the third pulley 54 is in power connection with the fourth pulley 63 through a transmission belt 53, a sixth bevel gear 65 meshed with the fifth bevel gear 64 is fixedly arranged on the rearward extending outer surface of the second transmission shaft 67, a fourth gear 69 is fixedly arranged at the end of the second transmission shaft, a rocker 68 is hinged at the rear end of the fourth gear 69, a fourth transmission chamber 71 is arranged in the upper end wall of the third transmission chamber 62, a rack 70 is movably arranged in the fourth transmission chamber 71, and the rocker 68 is hinged with the rack 70, the rack 70 is convenient to control to reciprocate up and down, a third transmission shaft 73 is rotatably arranged in the fourth transmission cavity 71, a fifth gear 72 meshed with the rack 70 is fixedly arranged on the outer surface of the third transmission shaft 73, and a meshed gear 74 meshed with the meshed rack 78 is fixedly arranged at the tail end of the third transmission shaft 73 extending forwards into the processing cavity 15.
The fixing and connecting method in this embodiment includes, but is not limited to, bolting, welding, and the like.
Sequence of mechanical actions of the whole device:
when the device of the present invention is operated, a wood carving is placed on the rotating block 55, the screw 60 is manually screwed to move the clamping block 58 to the left to clamp and fix the wood carving, the first motor 66 is started to drive the first gear 30 to rotate, the second gear 26 is driven to rotate, the first bevel gear 24 is driven to rotate, the second bevel gear 23 is driven to rotate, the third bevel gear 19 is driven to rotate, the fourth bevel gear 21 is driven to rotate, the first belt wheel 12 is driven to rotate, the conveying belt 14 is driven to rotate, the polishing block 18 is driven to move to the right to a position where the meshing rack 78 is meshed with the meshing gear 74, the polishing wheel 20 is in contact with the outer surface of the wood carving, the second motor 77 is started to drive the spline sleeve 75 to rotate, the spline shaft 76 is driven to rotate, and the polishing wheel 20 is driven to rotate, at this time, the electromagnet 27 is powered on and attracted to the permanent magnet 32, so that the first gear 30 is engaged with the third gear 31, and the worm 40 is driven to rotate, and the second worm wheel 44 is driven to rotate to drive the notch rotary disc 48 to rotate, and the push rod 49 is driven to push the round pin 51 to drive the rotary disc 50 to rotate thirty degrees at a time, so as to drive the rotary block 55 to rotate intermittently, and at this time, the third worm wheel 46 rotates to drive the third belt wheel 54 to rotate, so as to drive the fourth belt wheel 63 to rotate, so as to drive the fifth bevel gear 64 to rotate, so as to drive the sixth bevel gear 65 to rotate, so as to drive the fourth gear 69 to rotate, so as to drive the rack 70 to move up and down, so as to drive the fifth gear 72 to rotate back and forth, so as to drive the engaging gear 74 to drive the engaging rack 78 to move up and down, the grinding wheel 20 moves up and down to grind the surface of the woodcarving when the rotating block 55 rotates intermittently, and the generated wood chips enter the collecting cavity 34 due to the fact that the first worm gear 38 drives the rotating air draft of the air draft fan 36, so that recycling is facilitated again.
The above embodiments are merely illustrative of the technical ideas and features of the present invention, and the purpose thereof is to enable those skilled in the art to understand the contents of the present invention and implement the present invention, and not to limit the protection scope of the present invention. All equivalent changes and modifications made according to the spirit of the present invention should be covered within the protection scope of the present invention.
Claims (7)
1. The utility model provides a be used for convenient glyptic grinding device of woodcarving surface grinding, includes the fuselage and is located the process chamber of opening rightward in the fuselage, its characterized in that: the wood carving machine is characterized in that a rotating block is rotatably arranged at the bottom wall of the processing cavity, a clamping device capable of clamping and fixing wood carving with different thicknesses and enabling the wood carving to rotate for convenient polishing is arranged in the rotating block, a first transmission cavity is arranged in the lower side end wall of the rotating block, a transmission device capable of controlling the rotating block to rotate intermittently after the wood carving is clamped by the clamping device is arranged in the first transmission cavity, an air suction cavity is arranged in the left side end wall of the first transmission cavity, the transmission device can control an air suction fan in the air suction cavity to collect wood chips generated in the polishing process into a collection cavity in the upper side end wall of the air suction cavity, a second transmission cavity is arranged in the left side end wall of the machine body, a power device is arranged in the second transmission cavity, a moving cavity with a downward opening is arranged in the upper side end wall of the processing cavity, and a moving device capable of moving the polishing block with the lower end of, the power device can provide power for the transmission device or the moving device, and a polishing device which polishes the wood carving surface clamped by the clamping device and intermittently rotated through the up-and-down movement of the polishing wheel is arranged in the polishing block.
2. The grinding device for grinding and conveniently carving wood carving surface as claimed in claim 1, characterized in that: clamping device includes the ascending centre gripping chamber of opening, what can move about in the centre gripping intracavity is provided with the grip block, the screw hole that runs through about being equipped with in the grip block, the rotatable screw that is provided with of centre gripping intracavity, the screw extends to right outside the grip block, the screw with screw thread fit between the screw hole is connected, and manual the twisting the screw is steerable the grip block is moved about will place in wood carving centre gripping on the turning block.
3. The grinding device for grinding and conveniently carving wood carving surface as claimed in claim 1, characterized in that: the power device comprises a conversion cavity with a left opening in the right side end wall, a moving block is arranged in the conversion cavity and can move up and down, a spring is elastically connected between the moving block and the bottom wall of the conversion cavity, an electromagnet is arranged at the bottom of the moving block, a permanent magnet which can be magnetically attracted with the electromagnet after being electrified is arranged in the bottom wall of the conversion cavity, a first motor is embedded in the moving block, a first gear is fixedly arranged at the leftwards extending tail end of the first motor main shaft, a first rotating shaft and a worm positioned below the first rotating shaft are rotatably arranged in the second transmission cavity, a second gear meshed with the first gear is fixedly arranged on the outer surface of the first rotating shaft, a first bevel gear is fixedly arranged on the left side of the second gear, and a third gear which can be meshed with the first gear disengaged from the second gear is fixedly arranged on the outer surface of the worm.
4. The grinding device for grinding and conveniently carving wood carving surface as claimed in claim 1, characterized in that: remove the chamber rear end and be equipped with the gear chamber in the lateral wall, second transmission chamber with rotate between the gear chamber and be connected with the second pivot, second pivot bottom set firmly with first bevel gear meshed second bevel gear, the top has set firmly third bevel gear, remove the chamber with rotate between the gear chamber and be connected with the third pivot, third pivot rear end solid be equipped with third bevel gear meshed fourth bevel gear, the front end solid be equipped with first band pulley, it is located to remove rotatable being provided with of intracavity the second band pulley on first band pulley right side, first band pulley with pass through between the second band pulley transmission band power is connected, is convenient for control the removal is controlled to the sanding block is removed.
5. The grinding device for grinding and conveniently carving wood carving surface as claimed in claim 1, characterized in that: grinding device includes the second motor, the second motor with link to each other through the electric wire between the electro-magnet, second motor spindle be spline sleeve downwardly extending rotate set up in the piece of polishing, spline sleeve internal surface splined connection has the integral key shaft, spline shaft downwardly extending extends outside the piece of polishing, the surface rotates and sets up in the meshing rack, the end has set firmly the wheel of polishing.
6. The grinding device for grinding and conveniently carving wood carving surface as claimed in claim 1, characterized in that: a first air suction pipe and a second air suction pipe are fixedly arranged on the upper end and the right end wall of the collection cavity, so that sawdust on the rotating block can be collected conveniently, a filter screen is fixedly arranged between the collection cavity and the air suction cavity, a fourth rotating shaft is rotatably arranged in the air suction cavity, a first worm wheel meshed with the worm is fixedly arranged on the upward extending outer surface of the fourth rotating shaft, the air suction fan is fixedly arranged at the top end of the fourth rotating shaft, the worm extends into the first transmission cavity, a second worm wheel and a third worm wheel meshed with the worm are rotatably arranged in the first transmission cavity, a notch rotating disc is fixedly arranged at the upward extending tail end of a main shaft of the second worm wheel, a push rod is fixedly arranged on the outer surface of the notch rotating disc, a rotating shaft is rotatably arranged behind the notch rotating disc, the rotating block is fixedly arranged at the top end of the rotating shaft, a rotating disc is fixedly arranged at the, the push rod can push the round pin to rotate thirty degrees after rotating for one circle, so that the intermittent rotation of the rotating block is controlled conveniently.
7. The grinding device for grinding and conveniently carving wood carving surface as claimed in claim 1, characterized in that: the third worm wheel spindle extends upwards, the tail end of the third worm wheel spindle is fixedly provided with a third belt wheel, a third transmission cavity is arranged in the end wall of the rear side of the machine body, a first transmission shaft and a second transmission shaft are rotatably arranged in the third transmission cavity, the outer surface of the first transmission shaft extending upwards is fixedly provided with a fourth belt wheel, the top end of the first transmission shaft is fixedly provided with a fifth bevel gear, the third belt wheel is in power connection with the fourth belt wheel through a transmission belt, the outer surface of the second transmission shaft extending backwards is fixedly provided with a sixth bevel gear meshed with the fifth bevel gear, the tail end of the second transmission shaft is fixedly provided with a fourth gear, the rear end of the fourth gear is hinged with a rocker, a fourth transmission cavity is arranged in the end wall of the upper side of the third transmission cavity, a rack capable of moving up and down is arranged in the fourth transmission cavity, the rocker is hinged with the rack, so, and a fifth gear meshed with the rack is fixedly arranged on the outer surface of the third transmission shaft, and a meshed gear capable of being meshed with the meshed rack is fixedly arranged at the tail end of the third transmission shaft extending forwards into the processing cavity.
Priority Applications (1)
| Application Number | Priority Date | Filing Date | Title |
|---|---|---|---|
| CN202011095359.3A CN112123116A (en) | 2020-10-14 | 2020-10-14 | Grinding device for conveniently grinding and carving wood carving surface |
Applications Claiming Priority (1)
| Application Number | Priority Date | Filing Date | Title |
|---|---|---|---|
| CN202011095359.3A CN112123116A (en) | 2020-10-14 | 2020-10-14 | Grinding device for conveniently grinding and carving wood carving surface |
Publications (1)
| Publication Number | Publication Date |
|---|---|
| CN112123116A true CN112123116A (en) | 2020-12-25 |
Family
ID=73853636
Family Applications (1)
| Application Number | Title | Priority Date | Filing Date |
|---|---|---|---|
| CN202011095359.3A Withdrawn CN112123116A (en) | 2020-10-14 | 2020-10-14 | Grinding device for conveniently grinding and carving wood carving surface |
Country Status (1)
| Country | Link |
|---|---|
| CN (1) | CN112123116A (en) |
Cited By (1)
| Publication number | Priority date | Publication date | Assignee | Title |
|---|---|---|---|---|
| CN113798966A (en) * | 2021-04-10 | 2021-12-17 | 兴国春天文化传媒有限公司 | Wood carving processing is with polishing all-in-one |
Citations (7)
| Publication number | Priority date | Publication date | Assignee | Title |
|---|---|---|---|---|
| US6676495B1 (en) * | 2000-08-30 | 2004-01-13 | Lee Valley Tools Ltd. | Power sharpening system |
| CN110303409A (en) * | 2019-07-15 | 2019-10-08 | 威海市周识工艺品有限公司 | A kind of natural resin material technology product surface processing device |
| CN110834247A (en) * | 2019-12-02 | 2020-02-25 | 威海瑶池工艺品有限公司 | A burnishing and polishing equipment for wood carving aftertreatment |
| CN111055180A (en) * | 2020-02-25 | 2020-04-24 | 广州荟园机械科技有限公司 | Metal material surface grinding device |
| CN111136737A (en) * | 2020-02-04 | 2020-05-12 | 嵊州达川雕刻有限公司 | Wood carving sweeps is retrieved and is recycled device |
| CN211220074U (en) * | 2019-12-07 | 2020-08-11 | 泉州金钻机械有限公司 | Stone material engraver convenient to tool changing |
| CN111633543A (en) * | 2020-07-02 | 2020-09-08 | 嵊州达川雕刻有限公司 | Wood carving handicraft waxing burnishing machine |
-
2020
- 2020-10-14 CN CN202011095359.3A patent/CN112123116A/en not_active Withdrawn
Patent Citations (7)
| Publication number | Priority date | Publication date | Assignee | Title |
|---|---|---|---|---|
| US6676495B1 (en) * | 2000-08-30 | 2004-01-13 | Lee Valley Tools Ltd. | Power sharpening system |
| CN110303409A (en) * | 2019-07-15 | 2019-10-08 | 威海市周识工艺品有限公司 | A kind of natural resin material technology product surface processing device |
| CN110834247A (en) * | 2019-12-02 | 2020-02-25 | 威海瑶池工艺品有限公司 | A burnishing and polishing equipment for wood carving aftertreatment |
| CN211220074U (en) * | 2019-12-07 | 2020-08-11 | 泉州金钻机械有限公司 | Stone material engraver convenient to tool changing |
| CN111136737A (en) * | 2020-02-04 | 2020-05-12 | 嵊州达川雕刻有限公司 | Wood carving sweeps is retrieved and is recycled device |
| CN111055180A (en) * | 2020-02-25 | 2020-04-24 | 广州荟园机械科技有限公司 | Metal material surface grinding device |
| CN111633543A (en) * | 2020-07-02 | 2020-09-08 | 嵊州达川雕刻有限公司 | Wood carving handicraft waxing burnishing machine |
Non-Patent Citations (1)
| Title |
|---|
| 汝元功等: "《机械设计手册》", 31 December 1995, 高等教育出版社 * |
Cited By (1)
| Publication number | Priority date | Publication date | Assignee | Title |
|---|---|---|---|---|
| CN113798966A (en) * | 2021-04-10 | 2021-12-17 | 兴国春天文化传媒有限公司 | Wood carving processing is with polishing all-in-one |
Similar Documents
| Publication | Publication Date | Title |
|---|---|---|
| CN113245937B (en) | Deburring device convenient for fixing engine valve | |
| CN205237794U (en) | Automobile parts magnetic force grinding device | |
| CN112123116A (en) | Grinding device for conveniently grinding and carving wood carving surface | |
| CN111015429B (en) | A kind of ring-shaped mahogany mirror surface fine grinding equipment before polishing | |
| CN211516924U (en) | Sharpening device for diamond saw blade | |
| CN211992280U (en) | a grinding machine | |
| CN210550099U (en) | Wood side processing machine | |
| CN112355728A (en) | Automatic grinding machine suitable for twist drill bits of various sizes | |
| CN222741090U (en) | A grinding device for facilitating waste chip removal | |
| CN111975491A (en) | Hub polishing equipment | |
| CN219403618U (en) | Sleeve tool production corner grinding device | |
| CN218697224U (en) | Handheld buffing machine with deflector | |
| CN219762629U (en) | Burr trimming device | |
| CN220330862U (en) | High efficiency panel surface burr remove device | |
| CN216138669U (en) | Multi-angle metal grinding device | |
| CN222711650U (en) | Automatic outer wall polishing machine for stainless steel piston rod | |
| CN211388310U (en) | Automatic polishing machine | |
| CN221560883U (en) | Injection mold guide pillar polishing machine with cleaning mechanism | |
| CN221849770U (en) | A polishing machine | |
| CN222177202U (en) | Metal parts polishing device | |
| CN221871485U (en) | Hardware polishing belt sander with clamping assembly | |
| CN218746347U (en) | Fixing device for automobile parts | |
| CN219521713U (en) | Grind machine with dust removal structure | |
| CN221818227U (en) | An edge grinding device for processing corrosion-resistant plastic steel doors and windows | |
| CN223172567U (en) | Grinding drill grinding device with sweeps collecting structure |
Legal Events
| Date | Code | Title | Description |
|---|---|---|---|
| PB01 | Publication | ||
| PB01 | Publication | ||
| SE01 | Entry into force of request for substantive examination | ||
| SE01 | Entry into force of request for substantive examination | ||
| TA01 | Transfer of patent application right | ||
| TA01 | Transfer of patent application right |
Effective date of registration: 20210121 Address after: 710 Tianyin Avenue, Jiangning District, Nanjing City, Jiangsu Province Applicant after: Nanjing xintaiding Trading Co.,Ltd. Address before: 312400 No.136, Xinli village, Sanjiang street, Shengzhou City, Shaoxing City, Zhejiang Province Applicant before: Shengzhou Dachuan carving Co.,Ltd. |
|
| WW01 | Invention patent application withdrawn after publication | ||
| WW01 | Invention patent application withdrawn after publication |
Application publication date: 20201225 |