CN112109154A - A dustproof environment-friendly wood carving machine for wood sculpture - Google Patents
A dustproof environment-friendly wood carving machine for wood sculpture Download PDFInfo
- Publication number
- CN112109154A CN112109154A CN202010884322.2A CN202010884322A CN112109154A CN 112109154 A CN112109154 A CN 112109154A CN 202010884322 A CN202010884322 A CN 202010884322A CN 112109154 A CN112109154 A CN 112109154A
- Authority
- CN
- China
- Prior art keywords
- wall
- wood
- fixedly connected
- guide rail
- top end
- Prior art date
- Legal status (The legal status is an assumption and is not a legal conclusion. Google has not performed a legal analysis and makes no representation as to the accuracy of the status listed.)
- Withdrawn
Links
- 239000002023 wood Substances 0.000 title claims abstract description 123
- 239000002699 waste material Substances 0.000 claims abstract description 37
- 238000011084 recovery Methods 0.000 claims abstract description 35
- 239000000428 dust Substances 0.000 claims description 29
- 238000003801 milling Methods 0.000 claims description 24
- 238000004064 recycling Methods 0.000 claims description 12
- 230000002093 peripheral effect Effects 0.000 claims description 7
- 238000009423 ventilation Methods 0.000 claims description 7
- 230000008878 coupling Effects 0.000 claims description 4
- 238000010168 coupling process Methods 0.000 claims description 4
- 238000005859 coupling reaction Methods 0.000 claims description 4
- 238000000227 grinding Methods 0.000 claims description 4
- 238000004140 cleaning Methods 0.000 abstract 1
- 238000000034 method Methods 0.000 abstract 1
- 238000010521 absorption reaction Methods 0.000 description 5
- 230000007246 mechanism Effects 0.000 description 5
- 238000001914 filtration Methods 0.000 description 4
- 230000009471 action Effects 0.000 description 3
- 230000005484 gravity Effects 0.000 description 3
- 230000006872 improvement Effects 0.000 description 3
- 239000010813 municipal solid waste Substances 0.000 description 3
- 238000005192 partition Methods 0.000 description 3
- 230000008859 change Effects 0.000 description 2
- 230000006378 damage Effects 0.000 description 2
- 238000003754 machining Methods 0.000 description 2
- 208000027418 Wounds and injury Diseases 0.000 description 1
- 230000009286 beneficial effect Effects 0.000 description 1
- 230000000903 blocking effect Effects 0.000 description 1
- 230000007547 defect Effects 0.000 description 1
- 238000010586 diagram Methods 0.000 description 1
- 230000000694 effects Effects 0.000 description 1
- 208000014674 injury Diseases 0.000 description 1
- 238000004519 manufacturing process Methods 0.000 description 1
Images
Classifications
-
- B—PERFORMING OPERATIONS; TRANSPORTING
- B27—WORKING OR PRESERVING WOOD OR SIMILAR MATERIAL; NAILING OR STAPLING MACHINES IN GENERAL
- B27C—PLANING, DRILLING, MILLING, TURNING OR UNIVERSAL MACHINES FOR WOOD OR SIMILAR MATERIAL
- B27C5/00—Machines designed for producing special profiles or shaped work, e.g. by rotary cutters; Equipment therefor
- B27C5/02—Machines with table
-
- B—PERFORMING OPERATIONS; TRANSPORTING
- B02—CRUSHING, PULVERISING, OR DISINTEGRATING; PREPARATORY TREATMENT OF GRAIN FOR MILLING
- B02C—CRUSHING, PULVERISING, OR DISINTEGRATING IN GENERAL; MILLING GRAIN
- B02C4/00—Crushing or disintegrating by roller mills
-
- B—PERFORMING OPERATIONS; TRANSPORTING
- B27—WORKING OR PRESERVING WOOD OR SIMILAR MATERIAL; NAILING OR STAPLING MACHINES IN GENERAL
- B27C—PLANING, DRILLING, MILLING, TURNING OR UNIVERSAL MACHINES FOR WOOD OR SIMILAR MATERIAL
- B27C5/00—Machines designed for producing special profiles or shaped work, e.g. by rotary cutters; Equipment therefor
- B27C5/02—Machines with table
- B27C5/06—Arrangements for clamping or feeding work
-
- B—PERFORMING OPERATIONS; TRANSPORTING
- B27—WORKING OR PRESERVING WOOD OR SIMILAR MATERIAL; NAILING OR STAPLING MACHINES IN GENERAL
- B27G—ACCESSORY MACHINES OR APPARATUS FOR WORKING WOOD OR SIMILAR MATERIALS; TOOLS FOR WORKING WOOD OR SIMILAR MATERIALS; SAFETY DEVICES FOR WOOD WORKING MACHINES OR TOOLS
- B27G3/00—Arrangements for removing bark-zones, chips, waste, or dust, specially designed for use in connection with wood-working machine or in wood-working plants
Landscapes
- Life Sciences & Earth Sciences (AREA)
- Engineering & Computer Science (AREA)
- Mechanical Engineering (AREA)
- Wood Science & Technology (AREA)
- Forests & Forestry (AREA)
- Food Science & Technology (AREA)
- Milling, Drilling, And Turning Of Wood (AREA)
Abstract
The invention discloses a dustproof environment-friendly wood carving machine for a wood sculpture, and relates to the technical field of wood carving machines. In order to solve the problem of recovering and cleaning waste wood chips of a wood carving machine. Particularly comprising a worktable. The outer wall of the bottom end of the workbench is fixedly connected with a bracket through a screw; the outer wall of the top end of the workbench is connected with an arc-shaped electric guide rail through a bolt; the inner wall of one side of the arc-shaped electric guide rail is connected with a bearing slide block in a sliding way; the outer wall of the top end of the bearing sliding block is fixedly connected with an adjusting box through a screw; the outer wall of the top end of the workbench is fixedly connected with a bearing block through a screw; the outer wall of the top end of the bearing block is connected with a servo motor through a bolt; the inner walls of two sides of the workbench are provided with first electric guide rails; the inner wall of one side of the first electric guide rail is connected with a supporting slide block in a sliding way; the outer wall of one side of the supporting slide block is fixedly connected with a cross beam through a screw. According to the wood carving machine, the chip removing cover is arranged, so that the purpose of comprehensively recovering the wood chips generated in the wood carving process is achieved, the recovery rate of the wood chips is improved, and the working efficiency is accelerated.
Description
Technical Field
The invention relates to the technical field of wood carving machines, in particular to a dustproof environment-friendly wood carving machine for a wood sculpture.
Background
Wood carving machine is an automatic change device of sculpture wood, at present, among the prior art, wood carving machine is by milling cutter sculpture wood, but goes sculpture wood by milling cutter and can produce a large amount of waste wood bits, and a large amount of waste wood bits are carved and cause the conflagration easily next time if the influence that does not handle, and waste wood bits need the manual work to go the clearance, and both the waste time increases the cost again, consequently, need a dustproof environment-friendly wood carving machine for wood sculpture urgently.
Through retrieval, the Chinese patent with the application number of CN201720693466.3 discloses a dust removal device of a wood carving machine, which has the technical scheme that the dust removal device comprises a dust collector, a dust hood fixed on a main shaft of the carving machine and a dust suction hose communicated with the dust hood, wherein the other end of the dust suction hose is fixedly connected and communicated with the dust collector, the bottom of the dust hood is provided with a dust suction port facing to a carving part, the dust hood is spliced with a plurality of baffle doors arranged along the length direction of the dust hood, each baffle door comprises a partition plate inserted into the inner side of the dust hood from top to bottom and abutted against the bottom of the dust hood and a limiting plate fixedly connected to the upper end of the partition plate, and adjacent partition plates are attached to each other; the dust removal cover is provided with a positioning bolt which is in threaded connection with the limiting plate after the stop door is inserted into the dust removal cover, and the dust removal cover is fixed with a fixing block in threaded connection with the positioning bolt. The dust collector of wood carving machine in above-mentioned patent exists following not enough: the useless saw-dust that produces during wood carving machine-hour can splash everywhere, and above-mentioned dust collector is only setting up in one side, hardly retrieves the thorough clearance of useless saw-dust, influences the job schedule of wood carving machine.
Disclosure of Invention
The invention aims to solve the defects in the prior art and provides a dustproof environment-friendly wood carving machine for a wood sculpture.
In order to achieve the purpose, the invention adopts the following technical scheme:
a dustproof environment-friendly wood carving machine for wood sculpture comprises a workbench; the outer wall of the bottom end of the workbench is fixedly connected with a bracket through a screw; the outer wall of the top end of the workbench is connected with an arc-shaped electric guide rail through a bolt; the inner wall of one side of the arc-shaped electric guide rail is connected with a bearing slide block in a sliding way; the outer wall of the top end of the bearing sliding block is fixedly connected with an adjusting box through a screw; the outer wall of the top end of the workbench is fixedly connected with a bearing block through a screw; the outer wall of the top end of the bearing block is connected with a servo motor through a bolt; the inner walls of two sides of the workbench are provided with first electric guide rails; the inner wall of one side of the first electric guide rail is connected with a supporting slide block in a sliding way; the outer wall of one side of the supporting slide block is fixedly connected with a cross beam through a screw; a second electric guide rail is processed on the inner wall of one side of the cross beam; an electric sliding block is connected to the inner wall of one side of the second electric guide rail in a sliding manner; the inner wall of one side of the electric slide block is connected with an electric push rod through a bolt; a push plate is arranged on the outer wall of one side of the output shaft of the electric push rod; the outer wall of one side of the push plate is connected with a rotating motor through a bolt; the outer wall of one side of an output shaft of the rotating motor is connected with a milling cutter mounting table through a coupler; the peripheral outer wall of the rotating motor is fixedly connected with a scrap removing cover; a recovery pipe is arranged on the inner wall of one side of the scrap removing cover; the outer wall of one side of the electric sliding block is fixedly connected with a waste wood chip recovery box through a screw; the inner wall of one side of the waste wood chip recovery box is connected with the inner wall of the top end of the chip removing cover through a recovery pipe; a control unit is arranged in the workbench; the arc-shaped electric guide rail, the first electric guide rail, the servo motor, the second electric guide rail, the electric push rod and the rotating motor are all electrically connected with the internal control unit.
As a further scheme of the invention: and the outer wall of one side of the output shaft of the servo motor is connected with a friction plate through a coupler.
As a further scheme of the invention: the inner wall of one side of the adjusting box is rotatably connected with a threaded rod; the outer wall of one side of the threaded rod is fixedly connected with a rotating handle; the outer wall all around of threaded rod sliding connection has the initiative board.
As a further scheme of the invention: the outer wall of one side of the driving plate is fixedly connected with a connecting rod through a screw; the outer wall of one side of the connecting rod is fixedly connected with a driven plate through a screw; the outer wall of one side of the driven plate is fixedly connected with a telescopic rod through a screw; the inner wall of one side of the telescopic rod is rotatably connected with a rotating shaft.
As a further scheme of the invention: a ventilation opening is formed in the inner wall of the top end of the waste wood chip recovery box; the inner wall of one side of the waste wood dust recovery box is fixedly connected with a filter gauze through screws.
As a further scheme of the invention: fans which are uniformly distributed are arranged between the ventilation opening and the filtering gauze; the fan is electrically connected with the internal control unit.
As a further scheme of the invention: and the inner wall of one side of the workbench is rotatably connected with a crushing roller.
As a further scheme of the invention: a recycling box is arranged below the workbench.
As a further scheme of the invention: the inner wall of one side of the scrap removing cover is connected with the peripheral outer wall of the rotating motor in a sliding manner; the inner wall of the top end of the chip removing cover is provided with a flexible hose; the inner wall of the top end of the chip removing cover is rotatably connected with a limiting rod; the outer wall of one side of the rotating motor is fixedly connected with a fixed block; the inner wall of one side of the groove is provided with uniformly distributed grooves; the inner wall of one side of the fixed block is connected with the peripheral outer wall of the limiting rod in a sliding manner; the outer wall of one side of the bottom of the fixing block is fixedly connected with a baffle.
The invention has the beneficial effects that:
1. according to the wood chip recycling device, the electric push rod, the rotating motor, the chip removing cover, the waste wood chip recycling box and the recycling pipe on the chip removing cover are arranged, so that the purpose of comprehensively recycling the wood chips generated in wood carving processing is achieved, the truncated cone-shaped chip removing cover covers the milling cutter and the wood chips generated in processing of the machined part, the whole wood chips in the chip removing cover are recycled through the recycling pipe, the recycling rate of the wood chips is improved, and the working efficiency is accelerated.
2. According to the invention, the friction plate, the threaded rod, the driving plate, the driven plate, the telescopic rod and the rotating shaft are arranged, one side of the workpiece is placed beside the friction plate, the friction force between the friction plate and the workpiece is increased, the stability is good during machining, the other side of the workpiece rotates the rotating handle, the threaded rod rotates, the driving plate moves, the driven plate drives the telescopic rod to move, the rotating shaft in the telescopic rod is in contact with the workpiece, and the workpiece can rotate along with the operation of the servo motor.
3. According to the invention, the plurality of fans, the ventilation openings and the filtering gauze are arranged in the waste wood chip recovery box, when the waste wood chips are recovered, the fans operate, the waste wood chips generated by processing the workpiece by the milling cutter pass through the chip removing cover and finally enter the waste wood chip recovery box through the recovery pipe under the suction force of the fans, the waste wood chips cannot splash everywhere under the obstruction of the filtering gauze, the ventilation openings prevent external garbage from falling into the fans to obstruct the normal operation of the fans, and the chip removing cover can surround and recover the waste wood chips in all directions, so that the recovery rate of the waste wood chips is improved, and the practicability of the device is improved.
4. According to the invention, the grinding roller is arranged on the workbench, the recovery box is arranged below the workbench, when a workpiece is machined by the milling cutter, large wood blocks and wood battens can be generated, at the moment, the large wood blocks and the wood battens cannot be recovered by the fan and the scrap removal cover, the generated large wood blocks and the generated wood battens can be crushed by the grinding roller under the action of gravity and then enter the recovery box, the collection by workers is facilitated, waste wood chips crushed by the grinding roller cannot have a mechanism which damages a human body such as a sharp thorn, the safety of the device is improved, the arc-shaped electric guide rail is convenient for the large wood blocks and the wood battens to fall down, and the practicability of the device is improved without the large wood blocks and the wood battens being accumulated on the arc-shaped electric guide rail.
5. According to the milling cutter, the fixing block, the groove, the telescopic hose, the limiting rod and the baffle are arranged, the height of the limiting rod is adjusted through the fixing block and the groove in the fixing block, so that the height of the chip removing cover connected with the limiting rod is adjusted, the height of the chip removing cover is adjusted according to the length of the milling cutter, the chip removing cover can thoroughly absorb waste wood chips and cannot affect the processing of wood carving, the telescopic hose ensures the absorption treatment of the waste wood chips when the chip removing cover moves, and the baffle ensures that the chip removing cover cannot fall off when the height of the chip removing cover is adjusted, so that the safety of the device is improved.
Drawings
FIG. 1 is a schematic view of a subjective structure of a dustproof environment-friendly wood carving machine for a wood sculpture according to the present invention;
FIG. 2 is a schematic view of the upper section of a dustproof and environmentally friendly wood carving machine for a wood sculpture according to the present invention;
FIG. 3 is a schematic view of the internal structure of a waste wood dust recycling box of a dustproof environment-friendly wood carving machine for wood sculptures according to the present invention;
FIG. 4 is a schematic view of the internal structure of an arc-shaped electric guide rail of a dustproof and environment-friendly wood carving machine for a wood sculpture according to the present invention;
FIG. 5 is a schematic view of an internal structure of an adjustment box of a dustproof environment-friendly wood carving machine for a wood sculpture according to the present invention;
FIG. 6 is a schematic structural view of a dust hood of a dustproof and environment-friendly wood carving machine for a wood sculpture according to the present invention;
fig. 7 is a schematic circuit flow diagram of a dustproof environment-friendly wood carving machine for a wood sculpture according to the present invention.
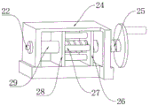
In the figure: 1-workbench, 2-bearing slide block, 3-arc electric guide rail, 4-first electric guide rail, 5-recovery box, 6-supporting slide block, 7-bearing block, 8-servo motor, 9-friction plate, 10-scrap wood recovery box, 11-electric push rod, 12-push plate, 13-second electric guide rail, 14-rotating motor, 15-milling cutter mounting table, 16-scrap removal cover, 17-recovery tube, 18-electric slide block, 19-ventilation opening, 20-fan, 21-filter gauze, 22-rotating shaft, 23-rotating handle, 24-adjusting box, 25-threaded rod, 26-driving plate, 27-connecting rod, 28-driven plate, 29-telescopic rod, 30-cross beam, 31-crushing roller, 32-bracket, 33-flexible hose, 34-fixed block, 35-groove, 36-limiting rod and 37-baffle.
Detailed Description
The technical solution of the present patent will be described in further detail with reference to the following embodiments.
Reference will now be made in detail to embodiments of the present patent, examples of which are illustrated in the accompanying drawings, wherein like or similar reference numerals refer to the same or similar elements or elements having the same or similar function throughout. The embodiments described below with reference to the drawings are exemplary only for the purpose of explaining the present patent and are not to be construed as limiting the present patent.
In the description of this patent, it is to be understood that the terms "center," "upper," "lower," "front," "rear," "left," "right," "vertical," "horizontal," "top," "bottom," "inner," "outer," and the like are used in the orientations and positional relationships indicated in the drawings for the convenience of describing the patent and for the simplicity of description, and are not intended to indicate or imply that the referenced devices or elements must have a particular orientation, be constructed and operated in a particular orientation, and are not to be considered limiting of the patent.
In the description of this patent, it is noted that unless otherwise specifically stated or limited, the terms "mounted," "connected," and "disposed" are to be construed broadly and can include, for example, fixedly connected, disposed, detachably connected, disposed, or integrally connected and disposed. The specific meaning of the above terms in this patent may be understood by those of ordinary skill in the art as appropriate.
Example 1:
a dust-proof environment-friendly wood carving machine for a wood sculpture, as shown in fig. 1, 2 and 7, comprising a worktable 1; the outer wall of the bottom end of the workbench 1 is fixedly connected with a bracket 32 through a screw; the outer wall of the top end of the workbench 1 is connected with an arc-shaped electric guide rail 3 through a bolt; the inner wall of one side of the arc-shaped electric guide rail 3 is connected with a bearing slide block 2 in a sliding way; the outer wall of the top end of the bearing slide block 2 is fixedly connected with an adjusting box 24 through a screw; the outer wall of the top end of the workbench 1 is fixedly connected with a bearing block 7 through a screw; the outer wall of the top end of the bearing block 7 is connected with a servo motor 8 through a bolt; the inner walls of two sides of the workbench 1 are provided with first electric guide rails 4; the inner wall of one side of the first electric guide rail 4 is connected with a supporting slide block 6 in a sliding way; the outer wall of one side of the supporting slide block 6 is fixedly connected with a cross beam 30 through a screw; a second electric guide rail 13 is processed on the inner wall of one side of the cross beam 30; an electric sliding block 18 is connected to the inner wall of one side of the second electric guide rail 13 in a sliding manner; the inner wall of one side of the electric slide block 18 is connected with an electric push rod 11 through a bolt; a push plate 12 is arranged on the outer wall of one side of an output shaft of the electric push rod 11; the outer wall of one side of the push plate 12 is connected with a rotating motor 14 through a bolt; the outer wall of one side of the output shaft of the rotating motor 14 is connected with a milling cutter mounting table 15 through a coupling; the peripheral outer wall of the rotating motor 14 is fixedly connected with a scrap removing cover 16; a recovery pipe 17 is arranged on the inner wall of one side of the scrap removing cover 16; the outer wall of one side of the electric slide block 18 is fixedly connected with a waste wood chip recovery box 10 through a screw; the inner wall of one side of the waste wood chip recovery box 10 is connected with the inner wall of the top end of the chip removing cover 16 through a recovery pipe 17; a control unit is arranged in the workbench 1; the arc-shaped electric guide rail 3, the first electric guide rail 4, the servo motor 8, the second electric guide rail 13, the electric push rod 11 and the rotating motor 14 are all electrically connected with the internal control unit.
The workpiece is convenient to fix; as shown in fig. 1, 4 and 5, the outer wall of one side of the output shaft of the servo motor 8 is connected with a friction plate 9 through a coupling; a threaded rod 25 is rotatably connected to the inner wall of one side of the adjusting box 24; the outer wall of one side of the threaded rod 25 is fixedly connected with a rotating handle 23; the outer wall of the periphery of the threaded rod 25 is connected with a driving plate 26 in a sliding manner; the outer wall of one side of the driving plate 26 is fixedly connected with a connecting rod 27 through a screw; the outer wall of one side of the connecting rod 27 is fixedly connected with a driven plate 28 through a screw; the outer wall of one side of the driven plate 28 is fixedly connected with a telescopic rod 29 through a screw; the inner wall of one side of the telescopic rod 29 is rotatably connected with a rotating shaft 22; adjust servo motor 8 and adjust the machined part of equidimension not through arc electric guide 3 between box 24, put machined part one side by friction plate 9, friction plate 9 increases the frictional force with the machined part, add man-hour good stability, the machined part opposite side is through rotating change 23, threaded rod 25 rotates, drive plate 26 moves, thereby make driven plate 28 take telescopic link 29 to move, make pivot 22 and the machined part contact in the telescopic link 29, the machined part can rotate along with servo motor 8's operation this moment, fixing mechanism is simple and reliable, and convenient operation.
In order to enhance the effect of absorbing waste wood chips by the device; as shown in fig. 3 and 7, a vent 19 is formed on the inner wall of the top end of the waste wood dust recycling box 10; the inner wall of one side of the waste wood dust recovery box 10 is fixedly connected with a filter gauze 21 through a screw; fans 20 which are uniformly distributed are arranged between the air vent 19 and the filter gauze 21; the fan 20 is electrically connected with the internal control unit; after the fixed completion of machined part, through the first electric guide rail 4 of operation, second electric guide rail 13 moves milling cutter mount table 15, electric putter 11 controls the distance of milling cutter and machined part, rotating electrical machines 14 then makes milling cutter normal processing, at this moment, fan 20 operates, milling cutter passes through chip removal cover 16 to the sweeps that the machined part processing produced, finally get into sweeps recovery box 10 under fan 20's suction through recovery tube 17, can not splash everywhere under the block of filtering gauze 21, vent 19 then prevents that external rubbish from falling into fan 20, hinder fan 20's normal operation, chip removal cover 16 then can be the omnidirectional and surround the recovery to the sweeps, the rate of recovery of sweeps is improved, the practicality of the improvement device.
In order to further recover the broken wood blocks generated during processing; as shown in fig. 1, a crushing roller 31 is rotatably connected to the inner wall of one side of the worktable 1; a recycling box 5 is arranged below the workbench 1; add man-hour at milling cutter to the machined part, can produce great billet and stuff, at this moment, can't carry out recovery processing to it through fan 20 and remove bits cover 16, and great billet and stuff of production can be smashed through crushing roller 31 under the action of gravity and then enter collection box 5, make things convenient for the staff to collect, the useless saw-dust after smashing through crushing roller 31 can not have the human mechanism of injury such as spine, the security of improving the device, curved arc electric guide rail 3 then is convenient great billet and stuff to fall down, can not make great billet and stuff pile up and improve the device practicality on arc electric guide rail 3.
The working principle is as follows: when the milling cutter fixing device is used, power supplies of various electric equipment are turned on, the distance between the servo motor 8 and the adjusting box 24 is adjusted through the arc-shaped electric guide rail 3 to adapt to workpieces with different sizes, one side of each workpiece is placed beside the friction plate 9, the friction force between the friction plate 9 and the workpiece is increased, good stability is achieved during machining, the other side of each workpiece is rotated by the rotating handle 23 and the threaded rod 25, the driving plate 26 moves, the driven plate 28 drives the telescopic rod 29 to move, the rotating shaft 22 in the telescopic rod 29 is contacted with the workpiece, the workpiece can rotate along with the operation of the servo motor 8, the fixing mechanism is simple and reliable, operation is convenient, after the workpiece is fixed, the milling cutter mounting table 15 is moved by operating the first electric guide rail 4 and the second electric guide rail 13, the electric push rod 11 controls the distance between the milling cutter and the workpiece, and the rotating motor 14, at this time, the fan 20 is operated, the waste wood chips generated by the milling cutter processing the workpiece finally enter the waste wood chip recovery box 10 through the recovery pipe 17 under the suction force of the fan 20, the waste wood chips do not splash everywhere under the obstruction of the filter gauze 21, the vent 19 prevents external garbage from falling into the fan 20 and blocking the normal operation of the fan 20, the waste wood chips can be comprehensively surrounded and recovered through the chip removal cover 16, the recovery rate of the waste wood chips is improved, the practicability of the device is improved, when the milling cutter processing the workpiece, larger wood blocks and wood strips can be generated, at this time, the waste wood chips crushed through the crushing roller 31 can not be recovered through the fan 20 and the chip removal cover 16, the generated larger wood blocks and wood strips can enter the recovery box 5 after being crushed through the crushing roller 31 under the action of gravity, the collection of workers is facilitated, the waste wood chips crushed through the crushing roller 31 can not have mechanisms which can hurt human bodies such as sharp pricks and the like, the safety of the device is improved, the arc-shaped electric guide rail 3 is convenient for large wood blocks and wood battens to fall down, and the practicability of the device can not be improved due to the fact that the large wood blocks and the large wood battens are accumulated on the arc-shaped electric guide rail 3.
Example 2:
in order to adjust the height of the chip removing cover 16 according to the length of the milling cutter, as shown in fig. 6, the present embodiment is modified from embodiment 1 as follows: the inner wall of one side of the scrap removing cover 16 is connected with the peripheral outer wall of the rotating motor 14 in a sliding manner; the inner wall of the top end of the scrap removing cover 16 is provided with a flexible hose 33; the inner wall of the top end of the scrap removing cover 16 is rotatably connected with a limiting rod 36; a fixed block 34 is fixedly connected to the outer wall of one side of the rotating motor 14; the inner wall of one side of the groove 35 is provided with uniformly distributed grooves 35; the inner wall of one side of the fixed block 34 is connected with the outer wall of the periphery of the limiting rod 36 in a sliding manner; a baffle 37 is fixedly connected to the outer wall of one side of the bottom of the fixing block 34; the height of gag lever post 36 is adjusted through recess 35 on fixed block 34 and the fixed block 34, thereby reach the height that removes bits cover 16 that the regulation is connected with gag lever post 36, thereby adjust the height that removes bits cover 16 according to the length of milling cutter, make remove the absorption sweeps that bits cover 16 both can be thorough, still can not influence the processing of wood carving, flexible hose 33 then guarantees the absorption of sweeps when removing bits cover 16 and remove and handles, baffle 37 then guarantees when adjusting and remove bits cover 16 height, remove bits cover 16 and can not drop, the security of the improvement device.
The working principle is as follows: the height of gag lever post 36 is adjusted through recess 35 on fixed block 34 and the fixed block 34, thereby reach the height that removes bits cover 16 that the regulation is connected with gag lever post 36, thereby adjust the height that removes bits cover 16 according to the length of milling cutter, make remove the absorption sweeps that bits cover 16 both can be thorough, still can not influence the processing of wood carving, flexible hose 33 then guarantees the absorption of sweeps when removing bits cover 16 and remove and handles, baffle 37 then guarantees when adjusting and remove bits cover 16 height, remove bits cover 16 and can not drop, the security of the improvement device.
The above description is only for the preferred embodiment of the present invention, but the scope of the present invention is not limited thereto, and any person skilled in the art should be considered to be within the technical scope of the present invention, and the technical solutions and the inventive concepts thereof according to the present invention should be equivalent or changed within the scope of the present invention.
Claims (9)
1. A dustproof environment-friendly wood carving machine for wood sculptures comprises a workbench (1), and is characterized in that the outer wall of the bottom end of the workbench (1) is fixedly connected with a support (32) through screws; the outer wall of the top end of the workbench (1) is connected with an arc-shaped electric guide rail (3) through a bolt; the inner wall of one side of the arc-shaped electric guide rail (3) is connected with a bearing slide block (2) in a sliding way; the outer wall of the top end of the bearing sliding block (2) is fixedly connected with an adjusting box (24) through a screw; the outer wall of the top end of the workbench (1) is fixedly connected with a bearing block (7) through a screw; the outer wall of the top end of the bearing block (7) is connected with a servo motor (8) through a bolt; the inner walls of two sides of the workbench (1) are provided with first electric guide rails (4); a supporting slide block (6) is connected to the inner wall of one side of the first electric guide rail (4) in a sliding manner; the outer wall of one side of the supporting slide block (6) is fixedly connected with a cross beam (30) through a screw; a second electric guide rail (13) is processed on the inner wall of one side of the cross beam (30); an electric sliding block (18) is connected to the inner wall of one side of the second electric guide rail (13) in a sliding manner; the inner wall of one side of the electric slide block (18) is connected with an electric push rod (11) through a bolt; a push plate (12) is arranged on the outer wall of one side of an output shaft of the electric push rod (11); the outer wall of one side of the push plate (12) is connected with a rotating motor (14) through a bolt; the outer wall of one side of an output shaft of the rotating motor (14) is connected with a milling cutter mounting table (15) through a coupling; the peripheral outer wall of the rotating motor (14) is fixedly connected with a scrap removing cover (16); a recovery pipe (17) is arranged on the inner wall of one side of the scrap removing cover (16); the outer wall of one side of the electric sliding block (18) is fixedly connected with a waste wood chip recovery box (10) through a screw; the inner wall of one side of the waste wood chip recovery box (10) is connected with the inner wall of the top end of the chip removing cover (16) through a recovery pipe (17); a control unit is arranged in the workbench (1); the arc-shaped electric guide rail (3), the first electric guide rail (4), the servo motor (8), the second electric guide rail (13), the electric push rod (11) and the rotating motor (14) are all electrically connected with the internal control unit.
2. The dust-proof environment-friendly wood carving machine for a wood sculpture according to claim 1, wherein the outer wall of one side of the output shaft of the servo motor (8) is connected with a friction plate (9) through a coupling.
3. The dust-proof environment-friendly woodcarving machine for woodsculptures according to claim 2, wherein a threaded rod (25) is rotatably connected to an inner wall of one side of the adjusting box (24); the outer wall of one side of the threaded rod (25) is fixedly connected with a rotating handle (23); the outer wall around the threaded rod (25) is connected with a driving plate (26) in a sliding way.
4. The dust-proof environment-friendly woodcarving machine for woodcarving according to claim 3, characterized in that a connecting rod (27) is fixedly connected to the outer wall of one side of the driving plate (26) through a screw; the outer wall of one side of the connecting rod (27) is fixedly connected with a driven plate (28) through a screw; the outer wall of one side of the driven plate (28) is fixedly connected with a telescopic rod (29) through a screw; the inner wall of one side of the telescopic rod (29) is rotatably connected with a rotating shaft (22).
5. The dust-proof environment-friendly wood carving machine for wood sculptures according to claim 4, wherein the inner wall of the top end of the waste wood dust recycling box (10) is provided with a ventilation opening (19); the inner wall of one side of the waste wood dust recovery box (10) is fixedly connected with a filter gauze (21) through screws.
6. The dustproof and environment-friendly wood carving machine for wood sculptures according to claim 5, wherein fans (20) are uniformly distributed between the ventilation opening (19) and the filter screen (21); the fan (20) is electrically connected with the internal control unit.
7. The dustproof and environment-friendly woodcarving machine for wooden sculptures according to claim 6, wherein a grinding roller (31) is rotatably connected to an inner wall of one side of the working table (1).
8. The dustproof and environment-friendly wood carving machine for wood sculptures according to claim 7, wherein a recycling bin (5) is placed under the working table (1).
9. The dust-proof environment-friendly wood carving machine for the wood sculpture according to claim 8, wherein the inner wall of one side of the chip removing cover (16) is slidably connected to the outer wall of the periphery of the rotating motor (14); the inner wall of the top end of the scrap removing cover (16) is provided with a flexible hose (33); the inner wall of the top end of the scrap removing cover (16) is rotatably connected with a limiting rod (36); a fixed block (34) is fixedly connected to the outer wall of one side of the rotating motor (14); the inner wall of one side of the groove (35) is provided with uniformly distributed grooves (35); the inner wall of one side of the fixed block (34) is connected with the peripheral outer wall of the limiting rod (36) in a sliding manner; the outer wall of one side of the bottom of the fixing block (34) is fixedly connected with a baffle (37).
Priority Applications (1)
| Application Number | Priority Date | Filing Date | Title |
|---|---|---|---|
| CN202010884322.2A CN112109154A (en) | 2020-08-28 | 2020-08-28 | A dustproof environment-friendly wood carving machine for wood sculpture |
Applications Claiming Priority (1)
| Application Number | Priority Date | Filing Date | Title |
|---|---|---|---|
| CN202010884322.2A CN112109154A (en) | 2020-08-28 | 2020-08-28 | A dustproof environment-friendly wood carving machine for wood sculpture |
Publications (1)
| Publication Number | Publication Date |
|---|---|
| CN112109154A true CN112109154A (en) | 2020-12-22 |
Family
ID=73804361
Family Applications (1)
| Application Number | Title | Priority Date | Filing Date |
|---|---|---|---|
| CN202010884322.2A Withdrawn CN112109154A (en) | 2020-08-28 | 2020-08-28 | A dustproof environment-friendly wood carving machine for wood sculpture |
Country Status (1)
| Country | Link |
|---|---|
| CN (1) | CN112109154A (en) |
Cited By (1)
| Publication number | Priority date | Publication date | Assignee | Title |
|---|---|---|---|---|
| CN113715098A (en) * | 2021-07-13 | 2021-11-30 | 苏州大凯纸业有限公司 | Conveniently clear up useless machine of clearing up crushed aggregates |
Citations (6)
| Publication number | Priority date | Publication date | Assignee | Title |
|---|---|---|---|---|
| CN204712223U (en) * | 2015-05-27 | 2015-10-21 | 云南司珈尔木业股份有限公司 | A kind of density board production line dust shield |
| CN205762872U (en) * | 2016-05-14 | 2016-12-07 | 徐冉 | A kind of environmental-protecting dust cover |
| CN206870708U (en) * | 2017-06-14 | 2018-01-12 | 北京君德益文化发展有限公司 | A kind of dust arrester of Wood carving machine |
| CN208497203U (en) * | 2018-05-05 | 2019-02-15 | 谢跃连 | A kind of timber cutting apparatus for fastening |
| WO2020048007A1 (en) * | 2018-09-07 | 2020-03-12 | 苏州市达而昌机械有限公司 | Wood sawing machine |
| CN210939743U (en) * | 2019-09-03 | 2020-07-07 | 惠州市木立方家具有限公司 | Woodwork furniture processing safety cutting machine with dust removal function |
-
2020
- 2020-08-28 CN CN202010884322.2A patent/CN112109154A/en not_active Withdrawn
Patent Citations (6)
| Publication number | Priority date | Publication date | Assignee | Title |
|---|---|---|---|---|
| CN204712223U (en) * | 2015-05-27 | 2015-10-21 | 云南司珈尔木业股份有限公司 | A kind of density board production line dust shield |
| CN205762872U (en) * | 2016-05-14 | 2016-12-07 | 徐冉 | A kind of environmental-protecting dust cover |
| CN206870708U (en) * | 2017-06-14 | 2018-01-12 | 北京君德益文化发展有限公司 | A kind of dust arrester of Wood carving machine |
| CN208497203U (en) * | 2018-05-05 | 2019-02-15 | 谢跃连 | A kind of timber cutting apparatus for fastening |
| WO2020048007A1 (en) * | 2018-09-07 | 2020-03-12 | 苏州市达而昌机械有限公司 | Wood sawing machine |
| CN210939743U (en) * | 2019-09-03 | 2020-07-07 | 惠州市木立方家具有限公司 | Woodwork furniture processing safety cutting machine with dust removal function |
Cited By (2)
| Publication number | Priority date | Publication date | Assignee | Title |
|---|---|---|---|---|
| CN113715098A (en) * | 2021-07-13 | 2021-11-30 | 苏州大凯纸业有限公司 | Conveniently clear up useless machine of clearing up crushed aggregates |
| CN113715098B (en) * | 2021-07-13 | 2022-09-20 | 苏州大凯纸业有限公司 | Conveniently clear up useless machine of clearing up crushed aggregates |
Similar Documents
| Publication | Publication Date | Title |
|---|---|---|
| CN210587475U (en) | Aluminum plate cutting equipment | |
| CN209969748U (en) | Cutting system for aluminum template convenient to collect sweeps | |
| CN211890054U (en) | Sweeps cleaning equipment for machining lathe | |
| CN112109154A (en) | A dustproof environment-friendly wood carving machine for wood sculpture | |
| CN215038128U (en) | Drilling equipment is used in integrated circuit board production | |
| CN213889220U (en) | Carving mills machine convenient to waste recycling | |
| CN210061406U (en) | Novel cutting saw | |
| CN220944341U (en) | Drilling grinding equipment for self-lubricating bearing machining | |
| CN118926608A (en) | A mobile circular saw protective cover | |
| CN216099462U (en) | Numerical control groove broaching equipment for customized furniture board processing | |
| CN213411327U (en) | Milling machine with automatic chip cleaning function | |
| CN214561464U (en) | Vertical drilling machine convenient to clearance sweeps | |
| CN219336076U (en) | Drilling machine convenient to sweeps are collected | |
| CN217121771U (en) | Protector for lathe work | |
| CN116787617A (en) | Wall perforating device is used in installation of interior decoration hanging wardrobe | |
| CN223114217U (en) | A highway guardrail production and processing positioning punching device | |
| CN219006357U (en) | Timber milling device safe in utilization | |
| CN220028915U (en) | Tapping machine with scrap collecting structure | |
| CN219190515U (en) | Machining center for machining plate furniture | |
| CN219851878U (en) | Waste collection device for wire cutting machine | |
| CN222552482U (en) | Laser cutting waste collection mechanism | |
| CN219767549U (en) | Milling machine capable of automatically removing chips | |
| CN223466430U (en) | Carpenter's bench circular saw with collect waste material function fast | |
| CN219275256U (en) | Machine tool for milling end face and punching center hole | |
| CN221517075U (en) | Vertical milling machine piece prevents protection device that splashes |
Legal Events
| Date | Code | Title | Description |
|---|---|---|---|
| PB01 | Publication | ||
| PB01 | Publication | ||
| SE01 | Entry into force of request for substantive examination | ||
| SE01 | Entry into force of request for substantive examination | ||
| WW01 | Invention patent application withdrawn after publication |
Application publication date: 20201222 |
|
| WW01 | Invention patent application withdrawn after publication |