CN112106519B - Castor plant picking table for castor plant harvesting machinery - Google Patents
Castor plant picking table for castor plant harvesting machinery Download PDFInfo
- Publication number
- CN112106519B CN112106519B CN202010994446.6A CN202010994446A CN112106519B CN 112106519 B CN112106519 B CN 112106519B CN 202010994446 A CN202010994446 A CN 202010994446A CN 112106519 B CN112106519 B CN 112106519B
- Authority
- CN
- China
- Prior art keywords
- castor
- harvesting
- finger
- beans
- hollow cylinder
- Prior art date
- Legal status (The legal status is an assumption and is not a legal conclusion. Google has not performed a legal analysis and makes no representation as to the accuracy of the status listed.)
- Active
Links
- 235000004443 Ricinus communis Nutrition 0.000 title claims abstract description 195
- 238000003306 harvesting Methods 0.000 title claims abstract description 66
- 240000000528 Ricinus communis Species 0.000 claims abstract description 104
- 238000005520 cutting process Methods 0.000 claims description 34
- 239000010902 straw Substances 0.000 abstract description 5
- 240000000359 Triticum dicoccon Species 0.000 abstract description 3
- 240000008042 Zea mays Species 0.000 abstract description 3
- 235000005824 Zea mays ssp. parviglumis Nutrition 0.000 abstract description 3
- 235000002017 Zea mays subsp mays Nutrition 0.000 abstract description 3
- 235000005822 corn Nutrition 0.000 abstract description 3
- 241000196324 Embryophyta Species 0.000 abstract 1
- 210000003811 finger Anatomy 0.000 description 36
- 235000013339 cereals Nutrition 0.000 description 13
- 230000005540 biological transmission Effects 0.000 description 8
- 235000013399 edible fruits Nutrition 0.000 description 7
- 230000000903 blocking effect Effects 0.000 description 6
- 238000000034 method Methods 0.000 description 6
- 238000012546 transfer Methods 0.000 description 5
- 238000009434 installation Methods 0.000 description 3
- 238000004519 manufacturing process Methods 0.000 description 3
- 230000008569 process Effects 0.000 description 3
- 239000002689 soil Substances 0.000 description 3
- 244000025254 Cannabis sativa Species 0.000 description 2
- 238000011161 development Methods 0.000 description 2
- 238000010586 diagram Methods 0.000 description 2
- 230000000694 effects Effects 0.000 description 2
- PETSAYFQSGAEQY-UHFFFAOYSA-N ricinine Chemical compound COC=1C=CN(C)C(=O)C=1C#N PETSAYFQSGAEQY-UHFFFAOYSA-N 0.000 description 2
- 238000003756 stirring Methods 0.000 description 2
- 210000003813 thumb Anatomy 0.000 description 2
- 235000012766 Cannabis sativa ssp. sativa var. sativa Nutrition 0.000 description 1
- 235000012765 Cannabis sativa ssp. sativa var. spontanea Nutrition 0.000 description 1
- 239000004677 Nylon Substances 0.000 description 1
- 108010039491 Ricin Proteins 0.000 description 1
- 229910000831 Steel Inorganic materials 0.000 description 1
- 241000209140 Triticum Species 0.000 description 1
- 235000021307 Triticum Nutrition 0.000 description 1
- 230000004308 accommodation Effects 0.000 description 1
- 230000009471 action Effects 0.000 description 1
- 230000006978 adaptation Effects 0.000 description 1
- 238000012271 agricultural production Methods 0.000 description 1
- 239000003513 alkali Substances 0.000 description 1
- 230000000259 anti-tumor effect Effects 0.000 description 1
- 238000005452 bending Methods 0.000 description 1
- 239000003225 biodiesel Substances 0.000 description 1
- 235000009120 camo Nutrition 0.000 description 1
- 239000004359 castor oil Substances 0.000 description 1
- 229960001777 castor oil Drugs 0.000 description 1
- 235000019438 castor oil Nutrition 0.000 description 1
- 235000005607 chanvre indien Nutrition 0.000 description 1
- 239000013064 chemical raw material Substances 0.000 description 1
- 238000004140 cleaning Methods 0.000 description 1
- 238000010276 construction Methods 0.000 description 1
- 230000007547 defect Effects 0.000 description 1
- 239000003814 drug Substances 0.000 description 1
- ZEMPKEQAKRGZGQ-XOQCFJPHSA-N glycerol triricinoleate Natural products CCCCCC[C@@H](O)CC=CCCCCCCCC(=O)OC[C@@H](COC(=O)CCCCCCCC=CC[C@@H](O)CCCCCC)OC(=O)CCCCCCCC=CC[C@H](O)CCCCCC ZEMPKEQAKRGZGQ-XOQCFJPHSA-N 0.000 description 1
- 229910001385 heavy metal Inorganic materials 0.000 description 1
- 239000011487 hemp Substances 0.000 description 1
- 230000006872 improvement Effects 0.000 description 1
- 230000000749 insecticidal effect Effects 0.000 description 1
- 239000002917 insecticide Substances 0.000 description 1
- 239000000463 material Substances 0.000 description 1
- 238000012986 modification Methods 0.000 description 1
- 230000004048 modification Effects 0.000 description 1
- 229920001778 nylon Polymers 0.000 description 1
- 239000003921 oil Substances 0.000 description 1
- 239000004014 plasticizer Substances 0.000 description 1
- 229920000642 polymer Polymers 0.000 description 1
- 238000012545 processing Methods 0.000 description 1
- 239000002994 raw material Substances 0.000 description 1
- 238000006748 scratching Methods 0.000 description 1
- 239000010959 steel Substances 0.000 description 1
- 239000000126 substance Substances 0.000 description 1
- 235000020985 whole grains Nutrition 0.000 description 1
- 238000004804 winding Methods 0.000 description 1
Images
Classifications
-
- A—HUMAN NECESSITIES
- A01—AGRICULTURE; FORESTRY; ANIMAL HUSBANDRY; HUNTING; TRAPPING; FISHING
- A01D—HARVESTING; MOWING
- A01D45/00—Harvesting of standing crops
-
- A—HUMAN NECESSITIES
- A01—AGRICULTURE; FORESTRY; ANIMAL HUSBANDRY; HUNTING; TRAPPING; FISHING
- A01D—HARVESTING; MOWING
- A01D34/00—Mowers; Mowing apparatus of harvesters
- A01D34/835—Mowers; Mowing apparatus of harvesters specially adapted for particular purposes
-
- A—HUMAN NECESSITIES
- A01—AGRICULTURE; FORESTRY; ANIMAL HUSBANDRY; HUNTING; TRAPPING; FISHING
- A01D—HARVESTING; MOWING
- A01D41/00—Combines, i.e. harvesters or mowers combined with threshing devices
-
- A—HUMAN NECESSITIES
- A01—AGRICULTURE; FORESTRY; ANIMAL HUSBANDRY; HUNTING; TRAPPING; FISHING
- A01D—HARVESTING; MOWING
- A01D41/00—Combines, i.e. harvesters or mowers combined with threshing devices
- A01D41/12—Details of combines
-
- A—HUMAN NECESSITIES
- A01—AGRICULTURE; FORESTRY; ANIMAL HUSBANDRY; HUNTING; TRAPPING; FISHING
- A01D—HARVESTING; MOWING
- A01D45/00—Harvesting of standing crops
- A01D45/02—Harvesting of standing crops of maize, i.e. kernel harvesting
Landscapes
- Life Sciences & Earth Sciences (AREA)
- Environmental Sciences (AREA)
- Harvesting Machines For Specific Crops (AREA)
Abstract
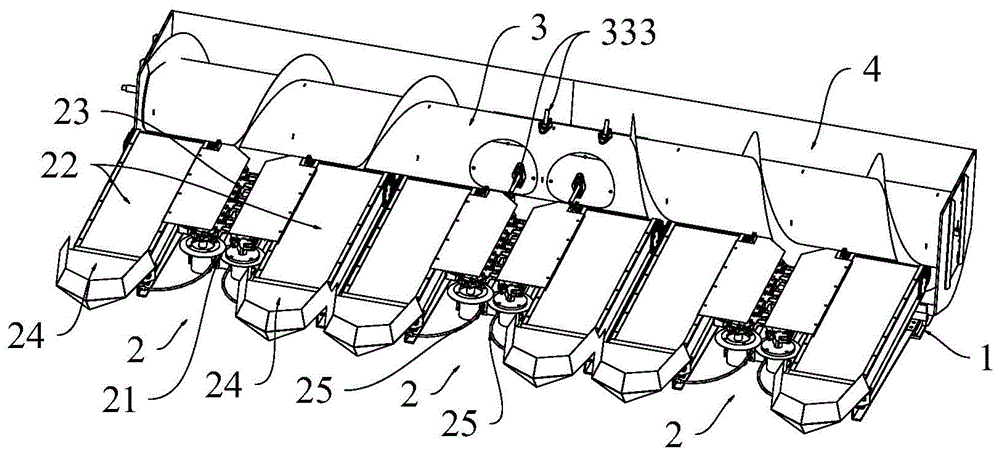
本发明公开了一种蓖麻收割机械用蓖麻采摘台,其包括机架、收获装置以及搅龙;多组所述收获装置并行设置,所述收获装置可对蓖麻进行切割并将切割后的蓖麻以及落下的蓖麻籽向后输送;所述搅龙置于所有所述收获装置的后侧,且所述搅龙横置安装并可相对于所述机架转动。本发明的蓖麻收割机械用蓖麻采摘台,通过设置收获装置以及搅龙,可实现蓖麻收割、蓖麻籽抖落汇总、蓖麻秸秆汇总过桥等操作,实现蓖麻的全喂入式收割,该蓖麻采摘台可配合玉米或稻麦联合收割机使用,实现蓖麻籽收获以及秸秆粉碎还田的作业,大幅提升收割效率,降低人力劳动强度。
The invention discloses a castor picking table for a castor harvesting machine, which comprises a frame, a harvesting device and an auger; a plurality of groups of the harvesting devices are arranged in parallel, and the harvesting devices can The castor and the fallen castor beans are transported backward; the auger is placed on the rear side of all the harvesting devices, and the auger is installed horizontally and can be rotated relative to the frame. The castor plant picking table used for the castor harvesting machinery of the present invention can realize the operations of harvesting the castor, shaking off the castor beans, collecting the castor stalks and crossing the bridge, etc. The castor harvesting table can be used with a corn or rice-wheat combine harvester to realize the harvesting of castor beans and the crushing and returning of straw to the field, which greatly improves the harvesting efficiency and reduces the labor intensity.
Description
Claims (6)
Priority Applications (1)
| Application Number | Priority Date | Filing Date | Title |
|---|---|---|---|
| CN202010994446.6A CN112106519B (en) | 2020-09-21 | 2020-09-21 | Castor plant picking table for castor plant harvesting machinery |
Applications Claiming Priority (1)
| Application Number | Priority Date | Filing Date | Title |
|---|---|---|---|
| CN202010994446.6A CN112106519B (en) | 2020-09-21 | 2020-09-21 | Castor plant picking table for castor plant harvesting machinery |
Publications (2)
| Publication Number | Publication Date |
|---|---|
| CN112106519A CN112106519A (en) | 2020-12-22 |
| CN112106519B true CN112106519B (en) | 2021-09-24 |
Family
ID=73801115
Family Applications (1)
| Application Number | Title | Priority Date | Filing Date |
|---|---|---|---|
| CN202010994446.6A Active CN112106519B (en) | 2020-09-21 | 2020-09-21 | Castor plant picking table for castor plant harvesting machinery |
Country Status (1)
| Country | Link |
|---|---|
| CN (1) | CN112106519B (en) |
Families Citing this family (1)
| Publication number | Priority date | Publication date | Assignee | Title |
|---|---|---|---|---|
| CN114271093B (en) * | 2022-01-11 | 2023-06-20 | 内蒙古民族大学 | A castor harvester |
Family Cites Families (10)
| Publication number | Priority date | Publication date | Assignee | Title |
|---|---|---|---|---|
| US2123879A (en) * | 1935-08-10 | 1938-07-19 | Allis Chalmers Mfg Co | Harvester-thresher |
| US4083167A (en) * | 1976-08-11 | 1978-04-11 | Sperry Rand Corporation | Multi-row crop header |
| JP2731765B2 (en) * | 1995-09-08 | 1998-03-25 | 株式会社クボタ | Weed harvester harvesting method |
| CN2768409Y (en) * | 2005-01-31 | 2006-04-05 | 约翰·迪尔佳联收获机械有限公司 | Cutting heater expanding finger full distance distributing auger |
| CN202374721U (en) * | 2011-11-18 | 2012-08-15 | 郑州中联收获机械有限公司 | Header auger feeding device and grain combine harvester utilizing same |
| CN202514310U (en) * | 2012-04-17 | 2012-11-07 | 河北雷肯农业机械有限公司 | Self-propelled pepper harvester |
| CN104012235B (en) * | 2014-06-03 | 2015-12-16 | 青岛理工大学 | Comb-tooth type fruit picking and straw fixed-length and quantitative bundling castor-oil plant combine harvester |
| CN109429699A (en) * | 2018-12-14 | 2019-03-08 | 张维梯 | Castor-oil plant header |
| CN209676882U (en) * | 2019-03-11 | 2019-11-26 | 山东农业大学 | A kind of corn harvester header |
| CN110574544B (en) * | 2019-10-16 | 2024-05-07 | 新疆农业大学 | Sunflower harvesting header |
-
2020
- 2020-09-21 CN CN202010994446.6A patent/CN112106519B/en active Active
Also Published As
| Publication number | Publication date |
|---|---|
| CN112106519A (en) | 2020-12-22 |
Similar Documents
| Publication | Publication Date | Title |
|---|---|---|
| EP2210469B1 (en) | A seed gathering device for use by an agricultural harvester | |
| EP2210470B1 (en) | A seed gathering device for use by an agricultural harvester | |
| AU2010200221B2 (en) | Agricultural harvester with simultaneous and independent seed and biomass processing | |
| CN202679991U (en) | Spike-stalk harvesting type maize harvesting machine header | |
| CN109937697B (en) | Side-hanging type fresh corn harvesting device | |
| CN201286244Y (en) | Harvester thresher capable of processing tomato | |
| CN112106518B (en) | Castor harvesting device | |
| US5573459A (en) | Two stage shaker | |
| CN109769465A (en) | A small chain poppy harvester | |
| US4152883A (en) | Harvester for sugar cane | |
| KR102366446B1 (en) | Green corn harvester | |
| CN208402495U (en) | A kind of sorghum cutting bench for harvesting | |
| CN112106519B (en) | Castor plant picking table for castor plant harvesting machinery | |
| Ali et al. | Mechanical structure and operating parameters of sunflower harvesting machines: A review | |
| CN114424709B (en) | A kind of castor bean cleaning device and castor bean combine harvester | |
| CN204217461U (en) | Sunflower harvester | |
| CN213214389U (en) | Picking table structure of castor bean picking machinery | |
| CN104380912B (en) | Sunflower harvester | |
| CN210444916U (en) | A long-path drop collecting and conveying device suitable for sesame stalks | |
| JP2021040602A (en) | Bulb vegetable harvester | |
| CN106888680A (en) | Stem and Ear Combined Harvesting Fresh Corn Harvester | |
| CN214628172U (en) | Crawler-type corn harvester | |
| CN110249794A (en) | A long-path falling grain collection and conveying device suitable for sesame stalks | |
| CN114793601A (en) | Rice and wheat oil multipurpose half-feeding combine harvester capable of threshing before cutting | |
| CN113877808A (en) | A kind of cleaning device for castor harvest and castor harvester |
Legal Events
| Date | Code | Title | Description |
|---|---|---|---|
| PB01 | Publication | ||
| PB01 | Publication | ||
| SE01 | Entry into force of request for substantive examination | ||
| SE01 | Entry into force of request for substantive examination | ||
| GR01 | Patent grant | ||
| GR01 | Patent grant | ||
| EE01 | Entry into force of recordation of patent licensing contract |
Application publication date: 20201222 Assignee: Hebei ZhengTu Agricultural Machinery Co.,Ltd. Assignor: NANJING Research Institute FOR AGRICULTURAL MECHANIZATION MINISTRY OF AGRICULTURE Contract record no.: X2024980016620 Denomination of invention: A castor harvesting machine with a castor picking table Granted publication date: 20210924 License type: Common License Record date: 20240926 |
|
| EE01 | Entry into force of recordation of patent licensing contract |
