CN112103111B - 一种隔离开关触指弹簧装配工装 - Google Patents

一种隔离开关触指弹簧装配工装 Download PDF

Info

Publication number
CN112103111B
CN112103111B CN202010751647.3A CN202010751647A CN112103111B CN 112103111 B CN112103111 B CN 112103111B CN 202010751647 A CN202010751647 A CN 202010751647A CN 112103111 B CN112103111 B CN 112103111B
Authority
CN
China
Prior art keywords
spring
contact finger
finger
positioning
positioning groove
Prior art date
Legal status (The legal status is an assumption and is not a legal conclusion. Google has not performed a legal analysis and makes no representation as to the accuracy of the status listed.)
Active
Application number
CN202010751647.3A
Other languages
English (en)
Other versions
CN112103111A (zh
Inventor
李宇鹏
李宏楼
李付永
王占杰
张任
孙玉洲
李文涛
师丽芳
徐卫东
李竞
刘丰侨
钟荣松
孙龙勇
徐刚
夏立国
龚晓雅
邱正新
Current Assignee (The listed assignees may be inaccurate. Google has not performed a legal analysis and makes no representation or warranty as to the accuracy of the list.)
Pinggao Group Co Ltd
Henan Pinggao Electric Co Ltd
State Grid Corp of China SGCC
Original Assignee
Pinggao Group Co Ltd
Henan Pinggao Electric Co Ltd
State Grid Corp of China SGCC
Priority date (The priority date is an assumption and is not a legal conclusion. Google has not performed a legal analysis and makes no representation as to the accuracy of the date listed.)
Filing date
Publication date
Application filed by Pinggao Group Co Ltd, Henan Pinggao Electric Co Ltd, State Grid Corp of China SGCC filed Critical Pinggao Group Co Ltd
Priority to CN202010751647.3A priority Critical patent/CN112103111B/zh
Publication of CN112103111A publication Critical patent/CN112103111A/zh
Application granted granted Critical
Publication of CN112103111B publication Critical patent/CN112103111B/zh
Active legal-status Critical Current
Anticipated expiration legal-status Critical

Links

Images

Classifications

    • HELECTRICITY
    • H01ELECTRIC ELEMENTS
    • H01HELECTRIC SWITCHES; RELAYS; SELECTORS; EMERGENCY PROTECTIVE DEVICES
    • H01H11/00Apparatus or processes specially adapted for the manufacture of electric switches
    • H01H11/04Apparatus or processes specially adapted for the manufacture of electric switches of switch contacts

Landscapes

  • Engineering & Computer Science (AREA)
  • Manufacturing & Machinery (AREA)
  • Manipulator (AREA)
  • Push-Button Switches (AREA)

Abstract

本发明涉及一种隔离开关触指弹簧装配工装,装配工装包括用于向上支撑触指的基座、设于基座上的夹持机构,夹持机构用于以固定片在上、弹性片在下方式夹持触指;基座上活动安装有顶压件;顶压件的前端设有槽口朝前、上下贯通的U形定位槽,U形定位槽沿左右方向间隔排布有至少两个,U形定位槽包括上定位槽壁段,还包括下定位槽壁段,上、下定位槽壁段之间形成可向下顶压弹簧托侧边的顶压面;所述顶压件的活动行程包括克服触指弹簧的作用力、向下顶压弹簧托侧边直至弹簧托定位柱位于固定片下方的顶压行程,还包括当弹簧托定位柱与固定片上的定位孔上下对应后反向活动的松开行程;装配工装还包括驱动机构,用于驱动夹持机构前后移动。

Description

一种隔离开关触指弹簧装配工装
技术领域
本发明涉及一种隔离开关触指弹簧装配工装。
背景技术
高压交直流隔离开关为敞开式开关类产品,因其具备明显的断口距离,能够为安装、检修人员提供可靠的安全检修距离,在全国范围内得到了广泛应用。
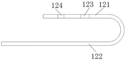
现有技术中隔离开关的触头结构如图1至图3所示,触头包括触头座11,触头座11为一侧开口的U形结构,在触头座11的内壁上固定安装有触指12。触指12的结构如图3所示,触指12包括多个触指片,触指12整体上呈U形,触指12包括并行延伸的固定边121和弹性边122,弹性边122的长度大于固定边121的长度,在固定边121上开设有连接孔123和定位孔124。如图1所示,在触指12的空档之间安装有弹簧托13,弹簧托13的结构如图2所示,弹簧托13包括中间外径较大的弹簧托挡边131和一端外径较小的弹簧托定位柱132,弹簧托13还包括位于弹簧托挡边131另一端的弹簧导柱133,弹簧导柱133的外部套装有触指弹簧14。组装后,螺栓穿过连接孔123而将触指12固定安装到触头座11的内壁上,弹簧托定位柱132适配穿入定位孔124中,触指弹簧14一端顶在弹簧托挡边131上,另一端顶在弹性边122上,对弹性边122施加弹性作用力。
组装触头时,目前采取的方式是将触指弹簧14套在弹簧托13上,手动压缩触指弹簧14,使触指弹簧14收缩后将弹簧托13以及触指弹簧14一起装入到触指12的空档中,然后松开弹簧托13,触指弹簧14复位将弹簧托13中的弹簧托定位柱132顶到定位孔124中,完成装配。采用手工装配的方式能够完成少数个触头的安装,但是在工业化生产中仍然使用手工装配,一方面会提高工人的劳动强度;另一方面,装配后产品的质量由工人的技能和熟练程度决定,无法保证装配后产品的一致性。
发明内容
本发明的目的在于提供一种隔离开关触指弹簧装配工装,以解决现有技术中手工安装触指弹簧而导致劳动强度较大的技术问题。
为实现上述目的,本发明隔离开关触指弹簧装配工装的技术方案是:一种隔离开关触指弹簧装配工装,包括:
基座,用于向上支撑触指;
夹持机构,设于基座上,用于以固定片在上、弹性片在下方式夹持触指,定义夹持后触指前后延伸;
顶压件,活动安装在基座上,用于向下压缩放置在弹性片上的触指弹簧,顶压件布置在夹持机构前后方向的一侧,且以朝向夹持机构的一端为顶压件的前端;
顶压件的前端设有槽口朝前、上下贯通的U形定位槽,U形定位槽沿左右方向间隔排布有至少两个,U形定位槽包括用于与弹簧托定位柱沿左右方向定位挡止配合的上定位槽壁段,还包括用于与弹簧托侧边沿左右方向定位挡止配合的下定位槽壁段,上、下定位槽壁段之间形成可向下顶压弹簧托侧边的顶压面;
所述顶压件的活动行程包括克服触指弹簧的作用力、向下顶压弹簧托侧边直至弹簧托定位柱位于固定片下方的顶压行程,还包括当弹簧托定位柱与固定片上的定位孔上下对应后反向活动以使触指弹簧推动弹簧托插入定位孔内的松开行程;
装配工装还包括驱动机构,用于驱动夹持机构前后移动,弹簧托定位柱位于固定片下方时,驱动机构驱动触指移动直至弹簧托定位柱与固定片上的定位孔上下对应,并在顶压件处于松开行程时驱动触指反向移动。
本发明的有益效果是:顶压件能够压缩触指弹簧、降低弹簧托的高度,夹持机构能够夹持并带动触指前后移动,通过顶压件与夹持机构的配合,能够将被压缩后的触指弹簧以及弹簧托置于触指的空档中,完成装配,此过程无需人工直接压缩触指弹簧,降低劳动强度,而且通过设置多个U形定位槽可以实现多个触指弹簧的一起装配,进一步提高工作效率。本发明中,对触指的移动和对触指弹簧的压缩分开布置,结构简单,而且方便操作。
作为进一步优化的方案,U形定位槽还包括设于下定位槽壁段下方的弹簧定位槽壁段,弹簧定位槽壁段用于与触指弹簧左右定位挡止配合,弹簧定位槽壁段的槽宽小于下定位槽壁段的槽宽,弹簧定位槽壁段的上端用于与所述顶压面配合而对弹簧托挡边上下定位。
本方案的效果在于,通过设置弹簧定位槽壁段能够对触指弹簧进行左右定位,弹簧定位槽壁段的上端用于与所述顶压面配合而对弹簧托挡边上下定位,对弹簧托挡边进行上下定位,防止触指弹簧、弹簧托在与触指相对移动的过程中发生摆动,保证安装的精度。
作为进一步优化的方案,所述顶压件绕左右延伸的轴线转动安装在基座上,顶压件包括前端的被动臂和后端的主动臂,所述U形定位槽设于被动臂的前端。
本方案的效果在于,采用杠杆式的结构来顶压触指弹簧,安装方便。
作为进一步优化的方案,所述顶压件为前低后高的“Z”形压板;
基座上转动安装有凸轮,凸轮位于压板的主动臂与基座之间,凸轮用于向上推动主动臂。
本方案的效果在于,通过凸轮推动主动臂转动,通过控制凸轮的转动角度能够控制对触指弹簧的顶压程度,方便操作且更易控制。
作为进一步优化的方案,夹持机构包括左右延伸的连接轴;
还包括设于连接轴上的两夹持块,两夹持块中的至少一个为滑动装配在连接轴上的活动夹持块,两夹持块相对移动以配合夹持触指。
本方案的效果在于,通过两个夹持块的配合能够对触指进行夹持,使用方便。
作为进一步优化的方案,所述夹持块设有V形定位面,V形定位面在使用时朝向触指,以在朝顶压件所在方向推动触指时对触指进行定位。
本方案的效果在于,V形定位面能够保证触指在移动过程中位置的精确,能够保证定位孔与弹簧托定位柱之间对准。
作为进一步优化的方案,所述夹持块还包括沿左右方向穿入触指空档内的挡轴,所述挡轴用于在朝背离顶压件的方向拉动触指。
本方案的效果在于,通过设置挡轴能够保证夹持块能够带动触指背离顶压件移动,防止夹持不牢的情况发生。
作为进一步优化的方案,驱动机构包括导向杆,导向杆设有两个且均前后延伸,导向杆连接在所述连接轴的相应端,导向杆沿前后方向导向装配在基座上;
驱动机构还包括左右延伸的同步杆,同步杆位于顶压件的背向夹持机构的一侧,同步杆绕左右延伸的轴线转动安装在基座上;
连接轴、同步杆以及各导向杆、拐臂、连杆形成封闭围框,所述顶压件位于该封闭围框内。
本方案的效果在于,顶压件位于封闭围框内,整体结构更加紧凑。而且驱动机构左右对称,能够带动两个夹持块同步移动,移动行程更加准确。
作为进一步优化的方案,所述基座上还设有导向板;
所述导向板与基座合围形成用于对触指的前后移动进行导向的导向槽。
本方案的效果在于,通过导向槽对触指的前后移动进行导向,防止发生左右偏摆,而导致定位孔无法与弹簧托定位柱无法对准的情况发生。
作为进一步优化的方案,所述基座上设于滚珠,滚珠用于与触指滚动配合。
本方案的效果在于,设置滚珠后能够减小基座与触指之间的摩擦力,减小磨损。
附图说明
图1为隔离开关中触头的示意图;
图2为图1中弹簧托的示意图;
图3为图1中触指的示意图;
图4为本发明隔离开关触指弹簧装配工装实施例1使用状态的第一立体图;
图5为本发明隔离开关触指弹簧装配工装实施例1使用状态的第二立体图;
图6为本发明隔离开关触指弹簧装配工装实施例1使用状态的主视图的剖视图;
图7为图4中A处的放大图;
图8为图4中触指弹簧压板的示意图;
图9为图4中凸轮与凸轮安装套的配合示意图;
图10为图4中第二夹持块的示意图;
图11为图4中导向板的示意图;
附图标记说明:11-触头座;12-触指;121-固定边;122-弹性边;123-连接孔;124-定位孔;13-弹簧托;131-弹簧托挡边;132-弹簧托定位柱;133-弹簧导柱;14-触指弹簧;200-基座;21-盖板;300-触指夹持部分;31-左夹持块;32-右夹持块;33-连接轴;34-导向座;35-导向杆;36-连接接头;37-拐臂安装座;38-同步杆;39-拐臂;310-连杆;311-第一手柄;312-导向板;313-滚珠;314-夹持块主体;315-V形定位面;316-挡轴;317-连接轴穿孔;318-顶丝穿孔;319-限位缺口;320-长孔;321-第一立板;400-弹簧压缩部分;41-压板安装座;42-触指弹簧压板;421-主动臂;422-从动臂;43-凸轮安装座;44-凸轮;45-第二手柄;46-复位弹簧;47-U形定位槽;471-弹簧托侧边定位槽;472-弹簧托定位柱通道;473-顶压面;48-凸轮安装套;49-第二立板;500-触指;51-固定边;52-弹性边;53-定位孔;600-弹簧托;61-弹簧托侧边;62-弹簧托定位柱;700-触指弹簧。
具体实施方式
为了使本发明的目的、技术方案及优点更加清楚明白,以下结合附图及实施例,对本发明进行进一步详细说明。应当理解,此处所描述的具体实施例仅用以解释本发明,并不用于限定本发明,即所描述的实施例仅仅是本发明一部分实施例,而不是全部的实施例。通常在此处附图中描述和示出的本发明实施例的组件可以以各种不同的配置来布置和设计。
因此,以下对在附图中提供的本发明的实施例的详细描述并非旨在限制要求保护的本发明的范围,而是仅仅表示本发明的选定实施例。基于本发明的实施例,本领域技术人员在没有做出创造性劳动的前提下所获得的所有其他实施例,都属于本发明保护的范围。
需要说明的是,术语“第一”和“第二”等之类的关系术语仅仅用来将一个实体或者操作与另一个实体或操作区分开来,而不一定要求或者暗示这些实体或操作之间存在任何这种实际的关系或者顺序。而且,术语“包括”、“包含”或者其任何其他变体意在涵盖非排他性的包含,从而使得包括一系列要素的过程、方法、物品或者设备不仅包括那些要素,而且还包括没有明确列出的其他要素,或者是还包括为这种过程、方法、物品或者设备所固有的要素。在没有更多限制的情况下,由语句“包括一个……”限定的要素,并不排除在包括所述要素的过程、方法、物品或者设备中还存在另外的相同要素。
以下结合实施例对本发明的特征和性能作进一步的详细描述。
本发明的隔离开关触指弹簧装配工装的具体实施例1:
如图4至图11所示,装配工装通过压缩触指弹簧700使弹簧托定位柱63下移到固定边51下方,通过触指500和弹簧托600的相对移动,使弹簧托600置于触指500的空档中,撤去外力后弹簧托定位柱63被触指弹簧700顶推到定位孔53中,完成装配。
装配工装包括基座200,基座200作为整个工装的基础。基座200上安装有触指夹持部分300和弹簧压缩部分400,弹簧压缩部分400用来压缩触指弹簧700,触指夹持部分300包括夹持触指500的夹持机构和驱动夹持机构以及触指500前后移动的驱动机构。
如图4至图6所示,夹持机构包括连接轴33,连接轴33外套装有两个左右排布的夹持块,分别为左夹持块31和右夹持块32,左、右夹持块的结构类似。驱动机构包括导向杆35,连接轴33的两端分别通过连接接头36与导向杆35相连,导向杆35沿前后方向延伸。具体地,连接接头36为前后延伸的筒体,并且在筒体上开设有径向延伸的径向穿孔,装配时,连接轴33穿入径向穿孔中并用顶丝顶紧,导向杆35的一端穿入筒体内并用顶丝顶紧。在基座200上对应每个导向杆35均固定有导向座34,导向座34内有前后延伸的导向孔,导向杆35贯穿,对导向杆35的前后移动进行导向。
如图4所示,在基座200前后方向的另一端固定安装有两个拐臂安装座37,两个拐臂安装座37沿左右方向排布,在每个拐臂安装座37上均铰接有拐臂39,拐臂39的转动轴线沿左右方向延伸。两个拐臂39之间连接有同步杆38,同步杆38两端贯穿拐臂安装座37,拐臂安装座37对同步杆38进行支撑和定位。左右方向每一侧的拐臂39均通过连杆310与导向杆35相连,连杆310的一端与拐臂39的摆动一端铰接,另一端与导向杆35的一端铰接。如图4所示,在同步杆38上还固定地套装有第一手柄311。当转动第一手柄311时,同步杆38依次通过拐臂39、连杆310、导向杆35和连接轴33带动左夹持块31和右夹持块32前后移动。如图4和图5所示,在基座200上固定有第一立板321,第一立板321位于第一手柄311的左右方向的一侧,且背向第一手柄311所在一侧的拐臂39,同步杆38由第一立板321中贯穿。在第一手柄311上固定安装有定位弹簧钢珠(也成为弹簧碰珠),定位弹簧钢珠包括套筒,套筒固定在第一手柄311上,套筒内通过弹簧可伸缩地安装有钢珠,钢珠的端部被弹簧顶推出套筒。在第一立板321上绕第一手柄311的转动轴线间距布置有至少两个定位孔(本实施例中为三个),定位孔能够供钢珠顶入,两个定位孔分别与第一手柄311往复摆动时的极限位置进行对应。通过设置定位弹簧钢珠以及第一立板321上的定位孔,能够对第一手柄311的摆动进行导向和限制,使用更加方便。
由于左、右夹持块的结构类似,以下仅以右夹持块32为例进行阐述,右夹持块32的结构如图10所示,右夹持块10包括夹持块主体314,夹持块主体314上开设有V形定位面315,V形定位面315在使用时与触指500的端部定位贴合,在将触指500向触指弹簧700推动的过程中对触指500进行定位。夹持块主体314上还固定有左右延伸的挡轴316,挡轴316在使用时插入到触指500的空档中,在将触指500背离触指弹簧700驱动时,挡轴316与触指500接触并带动触指500移动。在夹持块主体314上还开设有左右贯通的连接轴穿孔317,连接轴穿孔317为光孔,供连接轴33贯穿通过,在相邻的侧面上开设有顶丝穿孔318,顶丝穿孔318为螺纹孔,顶丝穿入其中,顶紧连接轴33。组装时,右夹持块32在连接轴33上的位置可以根据触指500的宽度以及对触指500的夹紧程度来确定,确定并滑动到位后通过顶丝将右夹持块32固定在连接轴33上。而左夹持块31的结构以及装配方式与右夹持块32的一致,不再详细说明。
本实施例中,左、右夹持块能够夹持固定触指500并带动触指500前后移动,为了减小触指500与基座200之间的摩擦力,减小磨损,在基座200上安装有滚珠313。如图4至图6所示,在基座200上开设多条前后延伸的凹槽,其中凹槽为上宽上窄的三角形结构,将滚珠313自下向上装到基座200中,并用盖板21固定,防止滚珠313脱出。
同时,为对触指500的前后移动进行导向,在基座200上还安装有导向板312,导向板312沿左右方向对称布置,导向板312的结构如图11所示,导向板312整体为长方形板体,其中一端开设有限位缺口319,限位缺口319沿前后方向延伸,在导向板312上还开设有左右延伸的长孔320。组装时,导向板312通过螺钉固定在基座200上,通过长孔320调节导向板312的左右位置,限位缺口319与基座200的上表面一起形成导向槽,触指500的左右两侧进入到导向槽中,对触指500的移动进行导向。
如图4至图6所示,触指夹持部分300实际上形成了封闭围框,而弹簧压缩部分400就位于围框之内,弹簧压缩部分400包括位于同步杆38与连接轴33之间的两个压板安装座41,两个压板安装座41沿左右方向间隔排布。在两个压板安装座41上转动安装有触指弹簧压板42,具体地,用左右延伸的转轴同时穿入压板安装座41以及触指弹簧压板42。触指弹簧压板42的结构如图7和图8所示,触指弹簧压板42整体为“Z”形结构,包括上下错开布置的主动臂421和从动臂422,主动臂421和从动臂422之间通过竖向延伸的板体相连,板体上开孔供转轴贯穿。如图8所示,主动臂421在上,从动臂422在下。从动臂422的端部上开设有一排U形定位槽47,U形定位槽47有多个且沿左右方向间隔排布。U形定位槽47槽口前后开设,定义其朝前布置,U形定位槽为上下贯通的通槽。U形定位槽47为阶梯槽,阶梯槽下宽上窄,从而在U形定位槽47的上端形成朝下的顶压面473,顶压面473用来顶压弹簧托侧边61。两个顶压面473之间形成有弹簧托定位柱通道472,供弹簧托定位柱62向上穿出,弹簧托定位柱通道472的宽度与弹簧托定位柱62的外径一致,能够对弹簧托定位柱62进行左右定位。
在U形定位槽47的槽壁上开设有弹簧托侧边定位槽471,弹簧托侧边定位槽471与弹簧托侧边61的形状和尺寸适配,上下方向的宽度与弹簧托侧边61的厚度一致,弹簧托侧边定位槽471槽底的左右宽度与弹簧托侧边61的外径一致,能够对弹簧托侧边61进行左右定位和上下定位。弹簧托侧边定位槽471下方的部分与触指弹簧左右定位挡止,能够对触指弹簧进行左右定位。使用时,将弹簧托600沿前后方向放入U形定位槽47中,通过弹簧托侧边定位槽471和弹簧托定位柱通道472对弹簧托600进行左右定位,且防止发生偏摆。使用时,如图7所示,触指弹簧700套在弹簧托600外部且位于弹簧托侧边61下方,未受外力时,弹簧托600下端距离触指弹簧700下端有一定的距离。
如图4至图6所示,在主动臂421与基座200之间形成空间,为驱动主动臂421摆动,在该空间内布置有两个凸轮44,如图9所示,凸轮44上固定有凸轮安装套48。在基座100上固定安装有两个凸轮安装座43,转轴同时贯穿两个凸轮安装座43和两个凸轮安装套48,且转轴与凸轮安装套48之间止转装配,在转轴上固定套装有第二手柄45,通过转动第二手柄45能够驱动凸轮44转动,进而推动主动臂421向上摆动,从动臂422向下摆动而压缩触指弹簧700。在主动臂421与基座200之间还安装有复位弹簧46,复位弹簧46能够驱使主动臂421向下摆动复位。如图4和图5所示,在基座200上还固定安装有第二立板49,第二立板49位于第二手柄45左右方向的一侧,第二手柄45上安装有定位弹簧钢珠,第二立板49上设置有至少两个定位孔(本实施例中为三个),定位弹簧钢珠与定位孔的开设方式和配合方式与第一手柄311和第一立板321上的一致,不再赘述。增加定位弹簧钢珠之后,能够对第二手柄45的摆动进行到位引导和到位后的固定,使用更加方便。
本发明的使用过程如下:将装配工装的各零部件装配到位,将触指500放在基座200上,使各触指偏对应滚珠313,调整导向板312的位置并进行固定。调整左、右夹持块的位置以夹持触指500。将触指弹簧700和弹簧托600组装在一起后放置在U形定位槽47中,触指弹簧700的下端支撑放置在弹性边52上,使弹簧托600的各部分与U形定位槽47适配吻合。转动第二手柄45以向下顶压弹簧托600,完成对触指弹簧700的压缩。等弹簧托定位柱62的上端低于固定边51内侧面时,转动第一手柄311,带动触指500向触指弹簧700所在方向移动,移动到弹簧托定位柱62与定位孔53对应的位置时,停止转动第一手柄311。反向转动第二手柄45,使弹簧托定位柱62插入到定位孔53中,再反向转动第一手柄311,使触指500反向移动,并带动弹簧托600和触指弹簧700也跟着移动,弹簧托600由U形定位槽47中脱出,弹簧托定位柱62在触指弹簧700作用下继续上移到极限位,完成触指弹簧700、弹簧托600以及动触指500的组装。
本实施例中,触指弹簧压板42形成转动安装在基座200上的顶压件。当顶压件向下顶压弹簧托600时,顶压件处于顶压行程,当顶压件反向转动时,顶压件处于松开行程。U形定位槽47中,弹簧托侧边定位槽471所在的槽壁段为U形定位槽47的下定位槽壁段,与弹簧托侧边左右定位。弹簧托定位柱通道472所在的槽壁段为U形定位槽47的上定位槽壁段,与弹簧托定位柱左右定位。位于弹簧托侧边定位槽471下方的槽壁为弹簧定位槽壁段,与触指弹簧左右定位,弹簧定位槽壁段的槽宽小于下定位槽壁段的槽宽,弹簧定位槽壁段的上端与顶压面473配合,对弹簧托侧边进行上下限位。
应当说明的是,本实施例中,前、后、左、右仅为相对的概念,并不对装配工装的结构进行限定。而且,U形定位槽的数量可以根据实际情况进行增减,但是U形定位槽的数量至少有两个,且两个定位槽沿左右方向间隔排布。
本实施例中,两个夹紧块均可以左右移动,而均为活动夹紧块。
本发明隔离开关触指弹簧装配工装的具体实施例2:
实施例1中,U形定位槽中有弹簧定位槽壁段,与触指弹簧左右定位。本实施例中,扩大弹簧定位槽壁段的槽宽,使其与下定位槽壁段槽宽相同。
本发明隔离开关触指弹簧装配工装的具体实施例3:
实施例1中,通过设置滚珠来减小摩擦。本实施例中,可以将滚珠取消,提高基座的精度,或者在基座上另外加装玻璃片等粗糙度较小的板体。
本发明隔离开关触指弹簧装配工装的具体实施例4:
实施例1中,在基座上设置导向板对触指进行导向。本实施例中,在驱动机构的控制精度较高时,可以将导向板取消。
本发明隔离开关触指弹簧装配工装的具体实施例5:
实施例1中,驱动机构包括同步杆、导向杆、拐臂和连杆等结构。本实施例中,可以用液压缸、气缸或电动推杆等来代替实施例1中的驱动机构。
本发明隔离开关触指弹簧装配工装的具体实施例6:
实施例1中,夹紧机构包括两个左右间隔排布的夹紧块,且两个夹紧块为活动夹紧块。本实施例中,其中一个夹紧块固定在连接轴上,不可调节,另一个为活动夹紧块。
本发明隔离开关触指弹簧装配工装的具体实施例7:
实施例1中,夹紧块设有V形定位面和挡轴,能够可靠地往复驱动触指移动。本实施例中,将两个夹紧块之间的夹紧力较大时,可以将V形定位面和挡轴取消。
本发明隔离开关触指弹簧装配工装的具体实施例8:
实施例1中,夹紧机构包括连接轴和两个夹紧块,两个夹紧块水平夹持触指。本实施例中,夹紧机构可以包括上下布置的两个夹紧件,比如,下方的夹紧件为支撑板,支撑板放置在基座上,支撑板可以前后移动。上方的夹紧件将触指的弹性边压紧在支撑板上。
本发明隔离开关触指弹簧装配工装的具体实施例9:
实施例1中,顶压件为“Z”形压板,通过凸轮驱动“Z”形压板的主动臂转动。本实施例中,顶压件为平板,在顶压件的主动臂所在一侧安装气缸、油缸或电动推杆,直线输出端与主动臂相连,通过气缸、油缸或电动推杆带动顶压件的主动臂上下移动。
本发明隔离开关触指弹簧装配工装的具体实施例10:
实施例1中,顶压件转动安装在基座上。本实施例中,顶压件可以沿上下方向导向装配在基座上,比如,在基座上固定安装上下延伸的导轨,顶压件为上下导向装配在导轨上的顶压板,顶压板上下移动,对触指弹簧进行顶压。
以上所述,仅为本发明的较佳实施例,并不用以限制本发明,本发明的专利保护范围以权利要求书为准,凡是运用本发明的说明书及附图内容所作的等同结构变化,同理均应包含在本发明的保护范围内。

Claims (10)

1.一种隔离开关触指弹簧装配工装,其特征在于:包括:
基座,用于向上支撑触指;
夹持机构,设于基座上,用于以固定片在上、弹性片在下方式夹持触指,定义夹持后触指前后延伸;
顶压件,活动安装在基座上,用于向下压缩放置在弹性片上的触指弹簧,顶压件布置在夹持机构前后方向的一侧,且以朝向夹持机构的一端为顶压件的前端;
顶压件的前端设有槽口朝前、上下贯通的U形定位槽,U形定位槽沿左右方向间隔排布有至少两个,U形定位槽包括用于与弹簧托定位柱沿左右方向定位挡止配合的上定位槽壁段,还包括用于与弹簧托挡边沿左右方向定位挡止配合的下定位槽壁段,上、下定位槽壁段之间形成可向下顶压弹簧托挡边的顶压面;
所述顶压件的活动行程包括克服触指弹簧的作用力、向下顶压弹簧托挡边直至弹簧托定位柱位于固定片下方的顶压行程,还包括当弹簧托定位柱与固定片上的定位孔上下对应后反向活动以使触指弹簧推动弹簧托插入定位孔内的松开行程;
装配工装还包括驱动机构,用于驱动夹持机构前后移动,弹簧托定位柱位于固定片下方时,驱动机构驱动触指移动直至弹簧托定位柱与固定片上的定位孔上下对应,并在顶压件处于松开行程时驱动触指反向移动。
2.根据权利要求1所述的隔离开关触指弹簧装配工装,其特征在于:U形定位槽还包括设于下定位槽壁段下方的弹簧定位槽壁段,弹簧定位槽壁段用于与触指弹簧左右定位挡止配合,弹簧定位槽壁段的槽宽小于下定位槽壁段的槽宽,弹簧定位槽壁段的上端用于与所述顶压面配合而对弹簧托挡边上下定位。
3.根据权利要求1所述的隔离开关触指弹簧装配工装,其特征在于:所述顶压件绕左右延伸的轴线转动安装在基座上,顶压件包括前端的被动臂和后端的主动臂,所述U形定位槽设于被动臂的前端。
4.根据权利要求3所述的隔离开关触指弹簧装配工装,其特征在于:所述顶压件为前低后高的“Z”形压板;
基座上转动安装有凸轮,凸轮位于压板的主动臂与基座之间,凸轮用于向上推动主动臂。
5.根据权利要求1-4中任意一项所述的隔离开关触指弹簧装配工装,其特征在于:夹持机构包括左右延伸的连接轴;
还包括设于连接轴上的两夹持块,两夹持块中的至少一个为滑动装配在连接轴上的活动夹持块,两夹持块相对移动以配合夹持触指。
6.根据权利要求5所述的隔离开关触指弹簧装配工装,其特征在于:所述夹持块设有V形定位面,V形定位面在使用时朝向触指,以在朝顶压件所在方向推动触指时对触指进行定位。
7.根据权利要求5所述的隔离开关触指弹簧装配工装,其特征在于:所述夹持块还包括沿左右方向穿入触指空档内的挡轴,所述挡轴用于在朝背离顶压件的方向拉动触指。
8.根据权利要求5所述的隔离开关触指弹簧装配工装,其特征在于:驱动机构包括导向杆,导向杆设有两个且均前后延伸,导向杆连接在所述连接轴的相应端,导向杆沿前后方向导向装配在基座上;
驱动机构还包括左右延伸的同步杆,同步杆位于顶压件的背向夹持机构的一侧,同步杆绕左右延伸的轴线转动安装在基座上;
同步杆连接在两个拐臂之间,左右方向每一侧的拐臂均通过连杆与导向杆相连;
连接轴、同步杆以及各导向杆、拐臂、连杆形成封闭围框,所述顶压件位于该封闭围框内。
9.根据权利要求1-4中任意一项所述的隔离开关触指弹簧装配工装,其特征在于:所述基座上还设有导向板;
所述导向板与基座合围形成用于对触指的前后移动进行导向的导向槽。
10.根据权利要求1-4中任意一项所述的隔离开关触指弹簧装配工装,其特征在于:所述基座上设于滚珠,滚珠用于与触指滚动配合。
CN202010751647.3A 2020-07-30 2020-07-30 一种隔离开关触指弹簧装配工装 Active CN112103111B (zh)

Priority Applications (1)

Application Number Priority Date Filing Date Title
CN202010751647.3A CN112103111B (zh) 2020-07-30 2020-07-30 一种隔离开关触指弹簧装配工装

Applications Claiming Priority (1)

Application Number Priority Date Filing Date Title
CN202010751647.3A CN112103111B (zh) 2020-07-30 2020-07-30 一种隔离开关触指弹簧装配工装

Publications (2)

Publication Number Publication Date
CN112103111A CN112103111A (zh) 2020-12-18
CN112103111B true CN112103111B (zh) 2023-03-31

Family

ID=73749895

Family Applications (1)

Application Number Title Priority Date Filing Date
CN202010751647.3A Active CN112103111B (zh) 2020-07-30 2020-07-30 一种隔离开关触指弹簧装配工装

Country Status (1)

Country Link
CN (1) CN112103111B (zh)

Families Citing this family (3)

* Cited by examiner, † Cited by third party
Publication number Priority date Publication date Assignee Title
CN114914107B (zh) * 2022-03-21 2024-11-08 广东东强精密科技有限公司 一种轻触开关的全自动组装设备
CN115394598A (zh) * 2022-07-29 2022-11-25 河南平高电气股份有限公司 一种隔离开关的动触头组件及隔离开关
CN115674090B (zh) * 2022-10-26 2025-10-24 江南工业集团有限公司 一种隔离开关装配后整型装置及方法

Citations (4)

* Cited by examiner, † Cited by third party
Publication number Priority date Publication date Assignee Title
CN2583795Y (zh) * 2002-09-28 2003-10-29 杜乐田 一种户外高压隔离开关
CN102779672A (zh) * 2012-07-30 2012-11-14 湖南省电力公司超高压管理局 隔离开关触指装配及拆卸专用工具
CN105719868A (zh) * 2016-03-31 2016-06-29 河南平高电气股份有限公司 触指弹簧装配工装及其胀开机构
CN105720507A (zh) * 2016-03-31 2016-06-29 河南平高电气股份有限公司 触指弹簧装配工装

Family Cites Families (1)

* Cited by examiner, † Cited by third party
Publication number Priority date Publication date Assignee Title
US9378909B2 (en) * 2014-08-18 2016-06-28 Circor Aerospace, Inc. Spring contact, inertia switch, and method of manufacturing an inertia switch

Patent Citations (4)

* Cited by examiner, † Cited by third party
Publication number Priority date Publication date Assignee Title
CN2583795Y (zh) * 2002-09-28 2003-10-29 杜乐田 一种户外高压隔离开关
CN102779672A (zh) * 2012-07-30 2012-11-14 湖南省电力公司超高压管理局 隔离开关触指装配及拆卸专用工具
CN105719868A (zh) * 2016-03-31 2016-06-29 河南平高电气股份有限公司 触指弹簧装配工装及其胀开机构
CN105720507A (zh) * 2016-03-31 2016-06-29 河南平高电气股份有限公司 触指弹簧装配工装

Also Published As

Publication number Publication date
CN112103111A (zh) 2020-12-18

Similar Documents

Publication Publication Date Title
CN112103111B (zh) 一种隔离开关触指弹簧装配工装
CN209970804U (zh) 一种橡胶管切割装置
CN110270617B (zh) 气缸缸筒旋压机
CN221389515U (zh) 一种薄板焊接机器人
CN201120437Y (zh) 一种真空执行器收口机
CN109807599B (zh) 拐臂铆压定位工装
CN109926645A (zh) 一种板料吸附式剪板机
CN214685303U (zh) 一种支耳孔加工装置
CN116252158A (zh) 一种可高速移动的加工中心
CN108732497B (zh) 一种直线电机的安装测试设备
CN222830544U (zh) 一种用于提高加工件稳定性的冷冲压模具
CN223531954U (zh) 一种便于安装的板材压紧机构
CN223833188U (zh) 一种负角折弯冲压装置
CN112620520B (zh) 一种太阳能边框铆点模具
CN220761688U (zh) 切割机机筒气动攻丝夹具
CN213277874U (zh) 隔离开关触指弹簧装配工装
CN220782530U (zh) 一种立式加工中心液压夹具
CN219966086U (zh) 一种金属结构制造用压弯装置
CN219408271U (zh) 一种密封圈取料装置
CN222602234U (zh) 一种马达转子找位定位机构
CN222370122U (zh) 一种可自动夹持可调的冲压件打孔模具
CN115922563B (zh) 一种强力夹紧定位装置
CN222268495U (zh) 一种平压压痕切线机用的平压机构
CN219503535U (zh) 一种冲孔夹具工装
CN219966085U (zh) 一种钣金折弯机架

Legal Events

Date Code Title Description
PB01 Publication
PB01 Publication
SE01 Entry into force of request for substantive examination
SE01 Entry into force of request for substantive examination
GR01 Patent grant
GR01 Patent grant