CN112091490A - 一种用于管板机器人焊接的自动上料与联动压紧装置 - Google Patents
一种用于管板机器人焊接的自动上料与联动压紧装置 Download PDFInfo
- Publication number
- CN112091490A CN112091490A CN202011040687.3A CN202011040687A CN112091490A CN 112091490 A CN112091490 A CN 112091490A CN 202011040687 A CN202011040687 A CN 202011040687A CN 112091490 A CN112091490 A CN 112091490A
- Authority
- CN
- China
- Prior art keywords
- plate
- feeding
- automatic
- cylinder
- tube
- Prior art date
- Legal status (The legal status is an assumption and is not a legal conclusion. Google has not performed a legal analysis and makes no representation as to the accuracy of the status listed.)
- Granted
Links
- 238000003466 welding Methods 0.000 title claims abstract description 46
- 238000003825 pressing Methods 0.000 title claims abstract description 25
- 239000000463 material Substances 0.000 claims abstract description 105
- 230000002457 bidirectional effect Effects 0.000 abstract description 3
- 238000004519 manufacturing process Methods 0.000 abstract description 3
- 238000000034 method Methods 0.000 description 9
- 238000003756 stirring Methods 0.000 description 7
- 238000001514 detection method Methods 0.000 description 1
- 238000010586 diagram Methods 0.000 description 1
- 230000005484 gravity Effects 0.000 description 1
- 239000010410 layer Substances 0.000 description 1
- 239000002184 metal Substances 0.000 description 1
- 239000002356 single layer Substances 0.000 description 1
- 230000017105 transposition Effects 0.000 description 1
Images
Classifications
-
- B—PERFORMING OPERATIONS; TRANSPORTING
- B23—MACHINE TOOLS; METAL-WORKING NOT OTHERWISE PROVIDED FOR
- B23K—SOLDERING OR UNSOLDERING; WELDING; CLADDING OR PLATING BY SOLDERING OR WELDING; CUTTING BY APPLYING HEAT LOCALLY, e.g. FLAME CUTTING; WORKING BY LASER BEAM
- B23K37/00—Auxiliary devices or processes, not specially adapted for a procedure covered by only one of the other main groups of this subclass
-
- B—PERFORMING OPERATIONS; TRANSPORTING
- B23—MACHINE TOOLS; METAL-WORKING NOT OTHERWISE PROVIDED FOR
- B23K—SOLDERING OR UNSOLDERING; WELDING; CLADDING OR PLATING BY SOLDERING OR WELDING; CUTTING BY APPLYING HEAT LOCALLY, e.g. FLAME CUTTING; WORKING BY LASER BEAM
- B23K37/00—Auxiliary devices or processes, not specially adapted for a procedure covered by only one of the other main groups of this subclass
- B23K37/04—Auxiliary devices or processes, not specially adapted for a procedure covered by only one of the other main groups of this subclass for holding or positioning work
- B23K37/047—Auxiliary devices or processes, not specially adapted for a procedure covered by only one of the other main groups of this subclass for holding or positioning work moving work to adjust its position between soldering, welding or cutting steps
-
- B—PERFORMING OPERATIONS; TRANSPORTING
- B23—MACHINE TOOLS; METAL-WORKING NOT OTHERWISE PROVIDED FOR
- B23K—SOLDERING OR UNSOLDERING; WELDING; CLADDING OR PLATING BY SOLDERING OR WELDING; CUTTING BY APPLYING HEAT LOCALLY, e.g. FLAME CUTTING; WORKING BY LASER BEAM
- B23K37/00—Auxiliary devices or processes, not specially adapted for a procedure covered by only one of the other main groups of this subclass
- B23K37/04—Auxiliary devices or processes, not specially adapted for a procedure covered by only one of the other main groups of this subclass for holding or positioning work
- B23K37/053—Auxiliary devices or processes, not specially adapted for a procedure covered by only one of the other main groups of this subclass for holding or positioning work aligning cylindrical work; Clamping devices therefor
- B23K37/0533—External pipe alignment clamps
-
- Y—GENERAL TAGGING OF NEW TECHNOLOGICAL DEVELOPMENTS; GENERAL TAGGING OF CROSS-SECTIONAL TECHNOLOGIES SPANNING OVER SEVERAL SECTIONS OF THE IPC; TECHNICAL SUBJECTS COVERED BY FORMER USPC CROSS-REFERENCE ART COLLECTIONS [XRACs] AND DIGESTS
- Y02—TECHNOLOGIES OR APPLICATIONS FOR MITIGATION OR ADAPTATION AGAINST CLIMATE CHANGE
- Y02P—CLIMATE CHANGE MITIGATION TECHNOLOGIES IN THE PRODUCTION OR PROCESSING OF GOODS
- Y02P70/00—Climate change mitigation technologies in the production process for final industrial or consumer products
- Y02P70/10—Greenhouse gas [GHG] capture, material saving, heat recovery or other energy efficient measures, e.g. motor control, characterised by manufacturing processes, e.g. for rolling metal or metal working
Landscapes
- Physics & Mathematics (AREA)
- Optics & Photonics (AREA)
- Engineering & Computer Science (AREA)
- Mechanical Engineering (AREA)
- Feeding Of Articles To Conveyors (AREA)
- Butt Welding And Welding Of Specific Article (AREA)
Abstract
本发明涉及一种用于管板机器人焊接的自动上料与联动夹紧装置,属于自动化焊接技术领域。该装置包括管料自动上料机构以及水平工作台;水平工作台上装有板料上料斗以及管板联动机构;板料上料斗的出料端装有压紧机构。由于本发明实现了管料和板料的双向自动协调上料,以及夹持翻转,因此可以方便地配置焊接机器人,实现管板焊接的自动化成批焊接生产,从而大大提高焊接效率、减轻劳动强度,确保焊接质量。
Description
技术领域
本发明涉及一种焊接工艺装备,尤其是一种用于管板机器人焊接的自动上料与联动压紧装置,属于自动化焊接技术领域。
背景技术
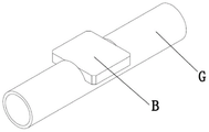
长期以来,图1所示的管板焊接过程,先要人工进行管料B(带槽口)和板料G的上料固定,接着对其中一侧进行人工焊接,完成一侧之后,需要翻转管板工件,再焊接另外一侧。在批量化的焊接生产中,上述作业方式工作强度很大,焊接的效率和质量无法保证,结果产品在使用过程中经常出现管板焊接处撕裂的质量问题。
发明内容
本发明的目的在于:提出一种为高效焊接、尤其是借助机器人焊接奠定基础的用于管板机器人焊接的自动上料与联动压紧装置,从而大大提高焊接效率、保证焊接质量。
为了达到上述目的,本发明用于管板机器人焊接的自动上料与联动压紧装置的基本技术方案为:包括斜坡状的管料自动上料机构以及与管料自动上料机构低端衔接的水平工作台;所述水平工作台上装有板料上料斗以及从一端穿过板料上料斗底部的管板联动机构;所述板料上料斗的出料端装有压紧机构;
所述管料自动上料机构包括外高内低的上料斜面,所述上料斜面的中部装有由高至低逐渐扩展到预定宽度后平行延伸的导向块,所述上料斜面的中部一侧通过气缸支座铰装拨料气缸的缸体一端,所述拨料气缸的伸缩端与拨料曲柄铰接,所述拨料曲柄与月牙形拨动挡块同轴支撑在上料斜面低端一侧的固定支座上;当所述拨料气缸收缩时,所述月牙形拨动挡块卡住上料斜面下端的管料;当所述拨料气缸伸展时,所述月牙形拨动挡块释放上料斜面下端的管料;
所述板料上料斗为截面与板料形状相配的矩形立管状,底部具有允许板料被推出的穿插槽;
所述管板联动机构包括安置在水平工作台一端的推料气缸以及与与推料气缸伸缩端连接且与水平工作台构成移动副的移动平台,所述移动平台远离推料气缸的一端铰装有具有常态水平、受驱直立的板料槽;当所述推料气缸缩回后,所述移动平台的主体位于板料上料斗外;当所述推料气缸伸展时,所述移动平台将板料上料斗最下层的板料推送至上料斜面下端;
所述压紧机构包括下端相对板料上料斗前侧铰支且趋于前倾的门型挡板;当所述板料槽直立时,与门型挡板构成对管板工件的夹持。
由于本发明实现了管料和板料的双向自动协调上料,以及夹持翻转,因此可以方便地配置焊接机器人,实现管板焊接的自动化成批焊接生产,从而大大提高焊接效率、减轻劳动强度,确保焊接质量。
本发明进一步的完善是,所述压紧机构和管料自动上料机构之间的水平工作台装有限位挡块机构;所述限位挡块机构包括安装在水平工作台下的升降气缸,所述升降气缸的伸缩端与自动挡块连接;当所述板料推送至被释放管料下部时,所述升降气缸驱使自动挡块升起挡住管料;当所述板料槽由水平转向直立时,所述升降气缸驱使自动挡块落下。这样可以更可靠地实现第一焊接工位的定位。
本发明再进一步的完善是,所述导向块由一侧的固定导向块和与固定导向块铰接的可调导向块构成,所述固定导向块和可调导向块的平行段之间装有调宽螺栓。这样可以通过调节,适应不同规格的管料。
本发明更进一步的完善是,所述板料槽的一端延伸出楔形尾,当所述推料气缸伸展时,所述板料槽保持水平;当所述推料气缸缩回时,所述楔形尾被水平工作台下方的弹性凸台驱动,使板料槽直立。由此借助简单可靠的楔形开锁机构巧妙实现了板料槽随移动平台平移过程的自动转位夹持。
本发明还进一步的完善是,所述板料槽一端具有相对板料槽水平状时逆推料方向朝下倾斜延伸的楔形尾,所述楔形尾邻近推料气缸的一面端头具有倒角面,从而形成楔形尾端。
本发明又进一步的完善是,所述压紧机构包括下端铰支在弹簧固定块的门型挡板,所述扭簧固定块固定于板料上料斗前侧,铰支处装有使门型挡板趋于前倾的扭簧。
本发明仍进一步的完善是,所述板料槽的夹持面具有夹持管料的圆弧凹。
附图说明
下面结合附图对本发明作进一步的说明。
图1是本发明焊接管料工件的立体结构示意图。
图2是本发明一个实施例的结构示意图。
图3是图2的俯视图。
图4是图1实施例的准备上料状态立体结构示意图。
图5是图1实施例的第一次焊接状态立体结构示意图。
图6是图1实施例的第二次焊接状态立体结构示意图。
图7至图16是图1实施例的各工作过程示意图。
具体实施方式
实施例一
本实施例用于管板机器人焊接的自动上料与联动压紧装置的基本结构如图2和图3所示,包括斜坡状的管料自动上料机构2,以及与管料自动上料机构2低端衔接的水平工作台1。水平工作台1上装有板料上料斗3以及从一端穿过板料上料斗3底部的管板联动机构4。板料上料斗3的出料端装有压紧机构5。压紧机构5和管料自动上料机构2之间的水平工作台1装有限位挡块机构6。
管料自动上料机构2结合图4所示,具有外高内低的上料斜面201,该上料斜面201的中部装有由高至低逐渐扩展到与管料中部槽口宽度相配的预定宽度后平行延伸的导向块,该导向块参见图3,由一侧带“<”形端头的固定导向块209和与固定导向块209通过铰销213铰接的可调导向块202组成,整体由“<”形端头平行延伸构成。固定导向块209(如遇到不开槽口的管料时可拆卸)和可调导向块202的平行段之间装有调宽螺栓208以及扩撑弹簧211。因此可以方便地通过调节,适应引导中部槽口宽度变化的不同规格管料,使管料可以借助重力,自动调整槽口至导向块,使其槽口对准板料进入正确的工作等待位置。
上料斜面201的中部一侧通过气缸支座203的一角铰装拨料气缸205的缸体一端,拨料气缸205的伸缩端与拨料曲柄212铰接,而拨料曲柄212与月牙形拨动挡块206同轴支撑在上料斜面201低端一侧的固定支座207上,因此拨料曲柄212转动时将带动月牙形拨动挡块206一起转动。
板料上料斗3为截面与板料B形状相配的矩形立管状,底部具有允许单层板料B被推出的穿插槽。根据需要,可以拆换上料斗,从而适应不同规格的板料。板料上料斗3和上料斜面201分别设有来料检测器件101。
管板联动机构4参见图4、5、6,包括通过推料气缸固定块402安置在水平工作台1一端的推料气缸401以及与与推料气缸伸缩端连接且与水平工作台构成移动副的移动平台403。该移动平台403远离推料气缸401的一端通过旋转轴405铰装的板料槽404。该板料槽404的夹持面具有夹持管料的圆弧凹,且一端具有相对板料槽404水平状时逆推料方向朝下倾斜延伸的楔形尾404’(参见图7),该楔形尾邻近推料气缸401的一面端头具有倒角面404“,从而形成楔形尾端。由于在水平工作台1下表面相对压紧机构5和限位挡块机构6之间装有趋于靠近工作台下表面的弹性凸台102,因此可以在移动平台403水平推料运动过程中,借助楔形尾与弹性凸台的相对运动,实现所需的板料槽404翻转夹持动作。
压紧机构5参见图5,包括下端铰支在弹簧固定块503的门型挡板501,扭簧固定块503固定于板料上料斗3前侧,铰支处装有使门型挡板501趋于前倾的扭簧502。
限位挡块机构6参见图4和图6,包括通过安装架602安装在水平工作台下的升降气缸601,该升降气缸601的伸缩端与叉形的自动挡块603连接。
本实施例用于管板机器人焊接的自动上料与联动压紧装置一个工作循环过程为:
1)如图7所示并参见图4,管料和板料备好,拨料气缸205收缩,月牙形拨动挡块206卡住上料斜面下端的管料G;推料气缸401处于缩回状态准备伸展,移动平台403的主体位于板料上料斗3外,404正好对准下料位置,板料槽404处于常态水平状。
2)如图8所示,推料气缸401伸展,移动平台403将板料上料斗3底层板料推送至邻近上料斜面201,板料槽404的楔形尾404’压在弹性凸台102正在顺向通过。
3)如9所示并参见图5,拨料气缸205伸展,月牙形拨动挡块206释放上料斜面201下端的管料,升降气缸601驱使自动挡块603升起挡住管料,使其与板料结合定位于第一焊接工位,以便进行一侧的自动焊接——即可管板内侧的两道直线拼焊;此时,板料槽404的楔形尾404’完全通过弹性凸台102。
4)如图10所示,推料气缸401开始缩回,楔形尾404’逆向被弹性凸台102阻滞,使板料槽404开始受驱连同一侧焊好的管料工件转向直立;同时拨料气缸205收缩,月牙形拨动挡块206开始卡住滑向上料斜面下端的下一个管料G。
5)如图11所示,板料槽404继续受驱连同一侧焊好的管料工件转向直立,并开始与门型挡板501共同夹持管料工件。
6)如图12所示,推料气缸401的继续缩回使楔形尾404’被弹性凸台102驱动,使板料槽直立,与门型挡板构成对管板工件的夹持,以便进行另一侧的自动焊接——即管板外侧的两道圆弧拼焊;此时升降气缸601驱使自动挡块603落下。
7)如图13所示,推料气缸401有限伸展,以便取出完全焊好的管料工件。
8)如图14所示,推料气缸401缩回,楔形尾404’的倒角面正在逆向通过弹性凸台102。
9)如图15所示,推料气缸401继续缩回,楔形尾404’完全逆向通过弹性凸台102,板料槽404开始转向常态水平位置。
10)如图15所示,推料气缸401缩回到极限,板料槽404进入板料上料斗3下,开完全回复至常态水平位置。
与现有技术相比,采用本实施例的装置不仅实现了管板双向上料的全自动化过程,适用于焊接机器人焊接,显著提高了焊接工作效率和焊接质量,而且具有如下突出特点:
1.该装置合理运用导槽和曲柄连杆机构实现了管料的自动排序上料和逐一放行,结构简捷,动作顺畅。
2.该装置巧妙设计的联动机构通过楔形块和弹性凸台相互之间的阻挡翻转作用,实现了推料返回过程中对管板工件的夹持翻转。
3.该装置仅借助三组气缸的驱动即可实现了工作过程的一系列的动作,稳定、可靠。
Claims (7)
1.一种用于管板机器人焊接的自动上料与联动压紧装置,其特征在于:包括斜坡状的管料自动上料机构(2)以及与管料自动上料机构低端衔接的水平工作台(1);所述水平工作台上装有板料上料斗(3)以及从一端穿过板料上料斗底部的管板联动机构(4);所述板料上料斗的出料端装有压紧机构(5);
所述管料自动上料机构(2)包括外高内低的上料斜面(201),所述上料斜面的中部装有由高至低逐渐扩展到预定宽度后平行延伸的导向块,所述上料斜面的中部一侧通过气缸支座(203)铰装拨料气缸(205)的缸体一端,所述拨料气缸的伸缩端与拨料曲柄(212)铰接,所述拨料曲柄与月牙形拨动挡块(206)同轴支撑在上料斜面低端一侧的固定支座(207)上;当所述拨料气缸收缩时,所述月牙形拨动挡块(206)卡住上料斜面下端的管料;当所述拨料气缸伸展时,所述月牙形拨动挡块(206)释放上料斜面下端的管料;
所述板料上料斗(3)为截面与板料形状相配的矩形立管状,底部具有允许板料被推出的穿插槽;
所述管板联动机构(4)包括安置在水平工作台一端的推料气缸(401)以及与与推料气缸伸缩端连接且与水平工作台构成移动副的移动平台(403),所述移动平台远离推料气缸的一端铰装有具有常态水平、受驱直立的板料槽(404);当所述推料气缸缩回后,所述移动平台的主体位于板料上料斗外;当所述推料气缸伸展时,所述移动平台将板料上料斗最下层的板料推送至上料斜面下端;
所述压紧机构(5)包括下端相对板料上料斗前侧铰支且趋于前倾的门型挡板(501);当所述板料槽直立时,与门型挡板构成对管板工件的夹持。
2.根据权利要求1所述用于管板机器人焊接的自动上料与联动压紧装置,其特征在于:所述压紧机构(5)和管料自动上料机构之间的水平工作台装有限位挡块机构(6);所述限位挡块机构(6)包括安装在水平工作台下的升降气缸(601),所述升降气缸的伸缩端与自动挡块(603)连接;当所述板料推送至被释放管料下部时,所述升降气缸驱使自动挡块升起挡住管料;当所述板料槽由水平转向直立时,所述升降气缸驱使自动挡块落下。
3.根据权利要求2所述用于管板机器人焊接的自动上料与联动压紧装置,其特征在于:所述导向块由一侧的固定导向块(209)和与固定导向块铰接的可调导向块(202)构成,所述固定导向块和可调导向块的平行段之间装有调宽螺栓(208)。
4.根据权利要求3所述用于管板机器人焊接的自动上料与联动压紧装置,其特征在于:所述板料槽的一端延伸出楔形尾,当所述推料气缸伸展时,所述板料槽保持水平;当所述推料气缸缩回时,所述楔形尾被水平工作台(1)下方的弹性凸台(102)驱动,使板料槽直立。
5.根据权利要求4所述用于管板机器人焊接的自动上料与联动压紧装置,其特征在于:所述板料槽一端具有相对板料槽水平状时逆推料方向朝下倾斜延伸的楔形尾,所述楔形尾邻近推料气缸的一面端头具有倒角面,从而形成楔形尾端。
6.根据权利要求5所述用于管板机器人焊接的自动上料与联动压紧装置,其特征在于:所述压紧机构包括下端铰支在弹簧固定块的门型挡板,所述扭簧固定块固定于板料上料斗前侧,铰支处装有使门型挡板趋于前倾的扭簧。
7.根据权利要求6所述用于管板机器人焊接的自动上料与联动压紧装置,其特征在于:所述板料槽的夹持面具有夹持管料的圆弧凹。
Priority Applications (1)
| Application Number | Priority Date | Filing Date | Title |
|---|---|---|---|
| CN202011040687.3A CN112091490B (zh) | 2020-09-28 | 2020-09-28 | 一种用于管板机器人焊接的自动上料与联动压紧装置 |
Applications Claiming Priority (1)
| Application Number | Priority Date | Filing Date | Title |
|---|---|---|---|
| CN202011040687.3A CN112091490B (zh) | 2020-09-28 | 2020-09-28 | 一种用于管板机器人焊接的自动上料与联动压紧装置 |
Publications (2)
| Publication Number | Publication Date |
|---|---|
| CN112091490A true CN112091490A (zh) | 2020-12-18 |
| CN112091490B CN112091490B (zh) | 2024-07-12 |
Family
ID=73784001
Family Applications (1)
| Application Number | Title | Priority Date | Filing Date |
|---|---|---|---|
| CN202011040687.3A Active CN112091490B (zh) | 2020-09-28 | 2020-09-28 | 一种用于管板机器人焊接的自动上料与联动压紧装置 |
Country Status (1)
| Country | Link |
|---|---|
| CN (1) | CN112091490B (zh) |
Cited By (2)
| Publication number | Priority date | Publication date | Assignee | Title |
|---|---|---|---|---|
| CN115255762A (zh) * | 2022-08-31 | 2022-11-01 | 湖北工业大学 | 一种路灯灯杆自动焊接设备及加工方法 |
| CN117283225A (zh) * | 2023-11-07 | 2023-12-26 | 济南考格尔汽车制造有限公司 | 一种罐车料斗弧形焊接方法及设备 |
Citations (6)
| Publication number | Priority date | Publication date | Assignee | Title |
|---|---|---|---|---|
| US6474535B1 (en) * | 1998-11-20 | 2002-11-05 | Nycomed Imaging As | Welding method and apparatus |
| CN201625847U (zh) * | 2009-12-18 | 2010-11-10 | 河南天丰钢结构有限公司 | 檩托板自动焊接设备 |
| CN105171293A (zh) * | 2015-10-30 | 2015-12-23 | 无锡汉神电气有限公司 | 铰链自动焊接装置 |
| KR101708043B1 (ko) * | 2016-07-25 | 2017-02-17 | 주식회사 디에이치피 | 코어용접물 고정방법 |
| CN109304534A (zh) * | 2018-11-01 | 2019-02-05 | 河南工学院 | 一种微钻焊接机 |
| CN213672500U (zh) * | 2020-09-28 | 2021-07-13 | 航天晨光股份有限公司 | 一种用于管板机器人焊接的自动上料与联动压紧装置 |
-
2020
- 2020-09-28 CN CN202011040687.3A patent/CN112091490B/zh active Active
Patent Citations (6)
| Publication number | Priority date | Publication date | Assignee | Title |
|---|---|---|---|---|
| US6474535B1 (en) * | 1998-11-20 | 2002-11-05 | Nycomed Imaging As | Welding method and apparatus |
| CN201625847U (zh) * | 2009-12-18 | 2010-11-10 | 河南天丰钢结构有限公司 | 檩托板自动焊接设备 |
| CN105171293A (zh) * | 2015-10-30 | 2015-12-23 | 无锡汉神电气有限公司 | 铰链自动焊接装置 |
| KR101708043B1 (ko) * | 2016-07-25 | 2017-02-17 | 주식회사 디에이치피 | 코어용접물 고정방법 |
| CN109304534A (zh) * | 2018-11-01 | 2019-02-05 | 河南工学院 | 一种微钻焊接机 |
| CN213672500U (zh) * | 2020-09-28 | 2021-07-13 | 航天晨光股份有限公司 | 一种用于管板机器人焊接的自动上料与联动压紧装置 |
Cited By (3)
| Publication number | Priority date | Publication date | Assignee | Title |
|---|---|---|---|---|
| CN115255762A (zh) * | 2022-08-31 | 2022-11-01 | 湖北工业大学 | 一种路灯灯杆自动焊接设备及加工方法 |
| CN117283225A (zh) * | 2023-11-07 | 2023-12-26 | 济南考格尔汽车制造有限公司 | 一种罐车料斗弧形焊接方法及设备 |
| CN117283225B (zh) * | 2023-11-07 | 2024-03-26 | 济南考格尔汽车制造有限公司 | 一种罐车料斗弧形焊接方法及设备 |
Also Published As
| Publication number | Publication date |
|---|---|
| CN112091490B (zh) | 2024-07-12 |
Similar Documents
| Publication | Publication Date | Title |
|---|---|---|
| CN109332865B (zh) | 一种新型微钻自动焊接装置及焊接方法 | |
| CN112091490A (zh) | 一种用于管板机器人焊接的自动上料与联动压紧装置 | |
| CN104942460A (zh) | 法兰自动焊接装置 | |
| CN111975267A (zh) | 焊接机械手 | |
| CN213672500U (zh) | 一种用于管板机器人焊接的自动上料与联动压紧装置 | |
| CN212665672U (zh) | 一种夹持机构及钢管全自动倒角设备 | |
| CN205673744U (zh) | 带自动卸料的脚手架立杆盘扣人工点焊设备 | |
| CN116967674A (zh) | 片式散热器封板、法兰焊接设备及片式散热器焊接生产线 | |
| CN216945167U (zh) | 一种两夹爪管道夹持输送机构 | |
| CN218836551U (zh) | 一种便于上料的自动焊接平台 | |
| CN220536676U (zh) | 大承载量搬运机器人 | |
| CN220407563U (zh) | 自动搬料焊接专机 | |
| CN109366145B (zh) | 一种用于汽车后门后下导轨自动组装加工的设备 | |
| CN113908913B (zh) | 一种板式拼接型定鄂板及其拼装焊接系统 | |
| CN118106376A (zh) | 板材卷圆设备及卷圆方法 | |
| CN117047328A (zh) | 重型型材坡口激光切管机 | |
| CN209919152U (zh) | 一种环焊设备 | |
| CN213678767U (zh) | 一种旋转料管送料输送机构 | |
| CN210306540U (zh) | 一种新型圆筒对接设备 | |
| CN215702245U (zh) | 一种开料机的自动下料装置 | |
| CN219443933U (zh) | 矿用焊接铁管上下料装置 | |
| CN209174644U (zh) | 下料装置及金属管双头折弯机 | |
| CN116329418B (zh) | 一种自动下料装置及下料方法 | |
| CN217995818U (zh) | 一种t型焊钉的自动送料机构 | |
| CN119328516B (zh) | 玻璃纤维打孔装料一体机 |
Legal Events
| Date | Code | Title | Description |
|---|---|---|---|
| PB01 | Publication | ||
| PB01 | Publication | ||
| SE01 | Entry into force of request for substantive examination | ||
| SE01 | Entry into force of request for substantive examination | ||
| GR01 | Patent grant | ||
| GR01 | Patent grant |