CN112077233A - Straightening device with derusting function for construction steel bar recovery - Google Patents
Straightening device with derusting function for construction steel bar recovery Download PDFInfo
- Publication number
- CN112077233A CN112077233A CN202010822150.6A CN202010822150A CN112077233A CN 112077233 A CN112077233 A CN 112077233A CN 202010822150 A CN202010822150 A CN 202010822150A CN 112077233 A CN112077233 A CN 112077233A
- Authority
- CN
- China
- Prior art keywords
- ring
- fixing
- rust removal
- steel bars
- toothed
- Prior art date
- Legal status (The legal status is an assumption and is not a legal conclusion. Google has not performed a legal analysis and makes no representation as to the accuracy of the status listed.)
- Granted
Links
Images
Classifications
-
- B—PERFORMING OPERATIONS; TRANSPORTING
- B21—MECHANICAL METAL-WORKING WITHOUT ESSENTIALLY REMOVING MATERIAL; PUNCHING METAL
- B21F—WORKING OR PROCESSING OF METAL WIRE
- B21F1/00—Bending wire other than coiling; Straightening wire
- B21F1/02—Straightening
-
- B—PERFORMING OPERATIONS; TRANSPORTING
- B08—CLEANING
- B08B—CLEANING IN GENERAL; PREVENTION OF FOULING IN GENERAL
- B08B1/00—Cleaning by methods involving the use of tools
- B08B1/20—Cleaning of moving articles, e.g. of moving webs or of objects on a conveyor
-
- B—PERFORMING OPERATIONS; TRANSPORTING
- B08—CLEANING
- B08B—CLEANING IN GENERAL; PREVENTION OF FOULING IN GENERAL
- B08B3/00—Cleaning by methods involving the use or presence of liquid or steam
- B08B3/02—Cleaning by the force of jets or sprays
- B08B3/022—Cleaning travelling work
-
- C—CHEMISTRY; METALLURGY
- C23—COATING METALLIC MATERIAL; COATING MATERIAL WITH METALLIC MATERIAL; CHEMICAL SURFACE TREATMENT; DIFFUSION TREATMENT OF METALLIC MATERIAL; COATING BY VACUUM EVAPORATION, BY SPUTTERING, BY ION IMPLANTATION OR BY CHEMICAL VAPOUR DEPOSITION, IN GENERAL; INHIBITING CORROSION OF METALLIC MATERIAL OR INCRUSTATION IN GENERAL
- C23G—CLEANING OR DE-GREASING OF METALLIC MATERIAL BY CHEMICAL METHODS OTHER THAN ELECTROLYSIS
- C23G3/00—Apparatus for cleaning or pickling metallic material
- C23G3/02—Apparatus for cleaning or pickling metallic material for cleaning wires, strips, filaments continuously
- C23G3/023—Apparatus for cleaning or pickling metallic material for cleaning wires, strips, filaments continuously by spraying
-
- Y—GENERAL TAGGING OF NEW TECHNOLOGICAL DEVELOPMENTS; GENERAL TAGGING OF CROSS-SECTIONAL TECHNOLOGIES SPANNING OVER SEVERAL SECTIONS OF THE IPC; TECHNICAL SUBJECTS COVERED BY FORMER USPC CROSS-REFERENCE ART COLLECTIONS [XRACs] AND DIGESTS
- Y02—TECHNOLOGIES OR APPLICATIONS FOR MITIGATION OR ADAPTATION AGAINST CLIMATE CHANGE
- Y02P—CLIMATE CHANGE MITIGATION TECHNOLOGIES IN THE PRODUCTION OR PROCESSING OF GOODS
- Y02P70/00—Climate change mitigation technologies in the production process for final industrial or consumer products
- Y02P70/10—Greenhouse gas [GHG] capture, material saving, heat recovery or other energy efficient measures, e.g. motor control, characterised by manufacturing processes, e.g. for rolling metal or metal working
Landscapes
- Chemical & Material Sciences (AREA)
- Engineering & Computer Science (AREA)
- Mechanical Engineering (AREA)
- Chemical Kinetics & Catalysis (AREA)
- General Chemical & Material Sciences (AREA)
- Materials Engineering (AREA)
- Metallurgy (AREA)
- Organic Chemistry (AREA)
- Cleaning In General (AREA)
Abstract
本发明公开了一种具备除锈功能的建筑钢筋回收用拉直装置,包括工作台、喷头和电机,所述工作台的顶部边缘处螺栓固定有除锈架,所述酸洗室和清理室的顶部均螺栓固定有水箱,所述除锈架的边侧贯穿轴连接有导套,所述清理杆位于清理室内,所述工作台顶部的内侧嵌入式安装有电机,所述第一螺杆轴连接于活动槽内,所述固定杆的一端粘接有橡胶头,所述固定套外侧套设有导环,所述固定套的外侧一体设置有第一齿块,所述工作台的顶部螺栓固定有限位环,所述齿环的外侧焊接有把手。该具备除锈功能的建筑钢筋回收用拉直装置,通过酸洗和水洗配合对转动中的钢筋进行均匀除锈,同时可以对不同直径的钢筋进行拉直操作。
The invention discloses a straightening device for recycling building steel bars with rust removal function, comprising a workbench, a spray head and a motor, a rust removal frame is fixed with bolts at the top edge of the workbench, the pickling chamber and the cleaning chamber A water tank is bolted on the top of the rust removal frame, a guide sleeve is connected to the side through shaft of the rust removal frame, the cleaning rod is located in the cleaning room, a motor is embedded in the inner side of the top of the workbench, and the first screw shaft Connected to the movable groove, one end of the fixing rod is bonded with a rubber head, the outer side of the fixing sleeve is provided with a guide ring, the outer side of the fixing sleeve is integrally provided with a first tooth block, and the top bolt of the workbench A limit ring is fixed, and a handle is welded on the outside of the toothed ring. The straightening device for recycling of building steel bars with a rust removal function can uniformly remove rust from rotating steel bars through the cooperation of pickling and water washing, and can also perform straightening operations on steel bars of different diameters.
Description
技术领域technical field
本发明涉及建筑施工技术领域,具体为一种具备除锈功能的建筑钢筋回收用拉直装置。The invention relates to the technical field of building construction, in particular to a straightening device for recycling building steel bars with a rust-removing function.
背景技术Background technique
在建筑施工中,涉及到建筑的新建和老旧建筑的拆除,对于一些高层建筑而言,钢筋作为重要的支撑件,其使用频率较高,随着社会的飞速发展,以及城镇规划的进行,对废旧建筑的拆除越来越普遍,废旧建筑中使用的钢筋,由于其材质问题,使得钢筋可以继续使用,进而需要对钢筋进行回收利用;In the construction of buildings, it involves the new construction of buildings and the demolition of old buildings. For some high-rise buildings, steel bars are used as important supporting parts. With the rapid development of society and the progress of urban planning, The demolition of old buildings is becoming more and more common. Due to the material problems of the steel bars used in the old buildings, the steel bars can continue to be used, and the steel bars need to be recycled;
在对废旧建筑进行拆除时,墙体内的钢筋随着建筑的倾倒容易发生歪斜等情况,进行在对钢筋进行回收利用时,为便于其后期运输、存放和再次使用,需要将歪斜的钢筋拉直,进而使用到拉直装置,然而现有的钢筋拉直装置在使用时存在以下问题:When dismantling old buildings, the steel bars in the walls tend to be skewed with the dumping of the building. When recycling steel bars, in order to facilitate their later transportation, storage and reuse, the skewed steel bars need to be pulled. However, the existing steel bar straightening device has the following problems in use:
在对建筑钢筋进行回收利用时,由于钢筋在使用时会与空气接触,其表面容易氧化生锈,锈迹的存在,会影响到后续存放和使用,进而需要在拉直时对钢筋进行除锈操作,同时,不同建筑中使用钢筋的直径也不一样,在通过拉直装置对钢筋进行拉直操作时,需要适用于不用直径规格的钢筋拉直操作。When recycling construction steel bars, since the steel bars will be in contact with the air during use, their surfaces are prone to oxidation and rust, and the existence of rust will affect subsequent storage and use, and the steel bars need to be rusted during straightening At the same time, the diameter of the steel bar used in different buildings is different. When the steel bar is straightened by the straightening device, it needs to be suitable for the steel bar straightening operation with different diameter specifications.
针对上述问题,急需在原有钢筋拉直装置的基础上进行创新设计。In view of the above problems, it is urgent to carry out innovative design on the basis of the original steel bar straightening device.
发明内容SUMMARY OF THE INVENTION
本发明的目的在于提供一种具备除锈功能的建筑钢筋回收用拉直装置,以解决上述背景技术提出现有的钢筋拉直装置,需要在拉直时对钢筋进行除锈操作,同时需要适用于不用直径规格的钢筋拉直操作的问题。The purpose of the present invention is to provide a straightening device for building steel bar recycling with a rust removal function, in order to solve the above-mentioned background technology, the existing steel bar straightening device needs to be derusted on the steel bar during straightening, and needs to be applied For the problem of straightening steel bars with different diameter specifications.
为实现上述目的,本发明提供如下技术方案:一种具备除锈功能的建筑钢筋回收用拉直装置,包括工作台、喷头和电机,所述工作台的顶部边缘处螺栓固定有除锈架,且除锈架内由左至右分别设置有酸洗室和清理室,所述酸洗室和清理室的顶部均螺栓固定有水箱,且水箱的底部泵连接有喷头,并且喷头位于酸洗室和清理室顶部的内侧,所述除锈架的边侧贯穿轴连接有导套,且导套的一端焊接有清理杆,所述清理杆位于清理室内,且清理杆的内侧粘接有钢丝刷,所述工作台顶部的内侧嵌入式安装有电机,且电机的输出端连接有第一螺杆,所述第一螺杆轴连接于活动槽内,且活动槽开设于工作台的上端,并且第一螺杆上螺纹套设有固定环,所述固定环顶部的内侧贯穿安装有固定套,且固定套的顶部边缘处螺纹贯穿有固定杆,所述固定杆的一端粘接有橡胶头,且橡胶头位于固定套内,所述固定套外侧套设有导环,且导环位于导槽内,并且导槽开设于固定环顶部的内侧,所述固定套的外侧一体设置有第一齿块,且第一齿块位于导环的一侧,所述工作台的顶部螺栓固定有限位环,且限位环内嵌入式安装有齿环,并且限位环位于除锈架和固定环之间,所述齿环的外侧焊接有把手,且把手的一端位于限位环顶部的外侧,所述限位环内嵌入式轴连接有第三齿辊,且第三齿辊位于齿环的内侧,所述第三齿辊的一端锥齿传动连接有第二螺杆,且第二螺杆轴连接于限位槽内,并且限位槽开设于限位环的内壁上,所述第二螺杆上螺纹套设有固定条,且固定条的底部焊接有夹辊。In order to achieve the above purpose, the present invention provides the following technical solutions: a straightening device for recycling building steel bars with a rust removal function, comprising a workbench, a spray head and a motor, and a rust removal frame is bolted at the top edge of the workbench, And the rust removal frame is provided with a pickling chamber and a cleaning chamber respectively from left to right. The tops of the pickling chamber and the cleaning chamber are bolted with a water tank, and the bottom pump of the water tank is connected with a nozzle, and the nozzle is located in the pickling chamber. and the inner side of the top of the cleaning chamber, the side of the rust removal frame is connected with a guide sleeve through the shaft, and one end of the guide sleeve is welded with a cleaning rod, the cleaning rod is located in the cleaning chamber, and the inner side of the cleaning rod is bonded with a wire brush , a motor is embedded in the inner side of the top of the worktable, and the output end of the motor is connected with a first screw, the first screw shaft is connected in the movable groove, and the movable groove is opened at the upper end of the worktable, and the first screw A fixing ring is provided on the threaded sleeve on the screw rod, a fixing sleeve is installed through the inner side of the top of the fixing ring, and a fixing rod is threaded through the top edge of the fixing sleeve, and one end of the fixing rod is bonded with a rubber head, and the rubber head is located in the fixing sleeve, the outer side of the fixing sleeve is provided with a guide ring, and the guide ring is located in the guide groove, and the guide groove is opened on the inner side of the top of the fixing ring, the outer side of the fixing sleeve is integrally provided with a first tooth block, and The first gear block is located on one side of the guide ring, the top of the table is bolted to fix the limit ring, and the limit ring is embedded with a gear ring, and the limit ring is located between the rust removal frame and the fixing ring, so A handle is welded on the outer side of the gear ring, and one end of the handle is located outside the top of the limit ring, a third gear roller is connected to the embedded shaft in the limit ring, and the third gear roller is located inside the gear ring, the One end of the third toothed roller is connected with a second screw, and the second screw shaft is connected in the limit groove, and the limit groove is opened on the inner wall of the limit ring, and the second screw is threadedly sleeved with The fixing bar is welded with a clamping roller at the bottom of the fixing bar.
优选的,所述清理杆关于导套对称分布,且清理杆的截面为弧形结构设计,并且导套通过皮带与第一螺杆之间传动连接。Preferably, the cleaning rods are symmetrically distributed with respect to the guide sleeve, and the cross section of the cleaning rod is designed in an arc structure, and the guide sleeve is in a driving connection with the first screw through a belt.
优选的,所述固定环与活动槽之间贴合滑动连接,且固定环与除锈架和限位环之间处于同一中心线上。Preferably, the fixed ring and the movable groove are in a sliding connection, and the fixed ring, the rust removal frame and the limit ring are on the same center line.
优选的,所述固定环内嵌入式轴连接有第一齿辊,且第一齿辊的一端锥齿传动连接有第二齿辊,并且第二齿辊的一端位于固定环的外侧,所述第二齿辊的一端啮合连接有第二齿块,且第二齿块等间距设置于底板上,并且底板螺栓固定于工作台的上端,同时底板位于活动槽的一侧。Preferably, the embedded shaft in the fixing ring is connected with a first toothed roller, and one end of the first toothed roller is connected with a second toothed roller through a bevel gear drive, and one end of the second toothed roller is located outside the fixing ring, the One end of the second toothed roller is meshed with a second tooth block, and the second tooth blocks are arranged on the bottom plate at equal intervals, and the bottom plate is bolted to the upper end of the worktable, and the bottom plate is located on one side of the movable groove.
优选的,所述固定杆关于固定套的中心轴线对称设置有2组,且每组固定杆等角度分布有4个。Preferably, two sets of the fixing rods are symmetrically arranged with respect to the central axis of the fixing sleeve, and each set of fixing rods is equiangularly distributed with 4 rods.
优选的,所述导环与导槽之间转动连接,且导环的厚度等于导槽的宽度。Preferably, the guide ring and the guide groove are rotatably connected, and the thickness of the guide ring is equal to the width of the guide groove.
优选的,所述第一齿块关于固定套的中心轴线等角度分布,且第一齿块与第一齿辊之间相互啮合。Preferably, the first tooth blocks are equiangularly distributed with respect to the central axis of the fixed sleeve, and the first tooth blocks and the first toothed rollers mesh with each other.
优选的,所述第三齿辊与齿环之间啮合接触,且第三齿辊限位环的中心轴线对称设置有4个。Preferably, the third toothed roller is in meshing contact with the toothed ring, and the central axis of the limit ring of the third toothed roller is symmetrically arranged with four.
优选的,所述固定条与限位槽之间滑动连接,且固定条为矩形结构设计,并且固定条的截面面积与限位槽的截面面积相等。Preferably, the fixing bar is slidably connected with the limiting groove, the fixing bar is of a rectangular structure design, and the cross-sectional area of the fixing bar is equal to that of the limiting groove.
与现有技术相比,本发明的有益效果是:该具备除锈功能的建筑钢筋回收用拉直装置;Compared with the prior art, the beneficial effects of the present invention are: the straightening device for recycling building steel bars with rust removal function;
1.通过设置的四个第三齿辊与齿环之间啮合接触,使得在通过把手带动齿环转动时,四个第三齿辊同步转动,第三齿辊通过锥齿传动带动四个第二螺杆在限位槽内转动,使得与第二螺杆在螺纹连接的四个固定条在限位槽内同步活动,进而带动固定条端部的四个夹辊同步移动,通过四个夹辊对不同直径的钢筋进行限位,使得钢筋在限位环内移动时,通过四个夹辊对钢筋进行限位矫正拉直操作;1. Through the meshing contact between the four third toothed rollers and the toothed ring, when the handle is driven to rotate the toothed ring, the four third toothed rollers rotate synchronously, and the third toothed roller drives the four third toothed rollers through the bevel gear drive. The second screw rotates in the limit slot, so that the four fixing bars that are threadedly connected with the second screw move synchronously in the limit slot, and then drive the four clamping rollers at the end of the fixing bar to move synchronously. The steel bars of different diameters are limited, so that when the steel bars move in the limit ring, the steel bars are limited, corrected and straightened by four clamping rollers;
2.通过设置第二齿辊的一端与等间距分布的第二齿块啮合接触,在通过两组固定杆和橡胶头对钢筋进行固定时,配合固定环在活动槽之间贴合滑动连接,使得通过固定环和固定套带动钢筋水平移动时,第二齿辊与第二齿块啮合接触实现转动,带动与第二齿辊锥齿传动的第一齿辊同步转动,同时第一齿辊与等角度分布在固定套上的第一齿块啮合接触,可以带动固定套在固定环内同步转动,进而带动钢筋的水平移动和同步转动,配合酸洗室和清理室上的水箱以及喷头的使用,使得喷头喷出的溶液和水与钢筋均匀接触,对其进行除锈操作;2. By setting one end of the second toothed roller in meshing contact with the second tooth blocks distributed at equal intervals, when the steel bars are fixed by two sets of fixing rods and rubber heads, the fixing ring is fitted and slidingly connected between the movable grooves. When the steel bar is driven to move horizontally by the fixing ring and the fixing sleeve, the second toothed roller and the second toothed block are engaged and contacted to realize rotation, and the first toothed roller driven by the bevel gear of the second toothed roller is driven to rotate synchronously. The meshing contact of the first tooth blocks equiangularly distributed on the fixed sleeve can drive the fixed sleeve to rotate synchronously in the fixed ring, and then drive the horizontal movement and synchronous rotation of the steel bar, which is compatible with the use of the water tanks and nozzles on the pickling chamber and the cleaning chamber. , so that the solution and water sprayed by the nozzle are evenly contacted with the steel bar, and the rust removal operation is performed on it;
3.通过设置的清理杆关于导套对称分布,且清理杆的截面为弧形结构设计,并且导套通过皮带与第一螺杆之间传动连接,当第一螺杆受电机驱动转动时,第一螺杆通过皮带驱动导套转动,导套上的清理杆跟随转动,通过清理杆内的钢丝刷与钢筋接触,将钢筋上酸洗后滞留的杂质彻底刮除,通过调整第一螺杆的螺纹方向,可以使得导套与钢筋逆向转动,提高摩擦力,进而提高钢筋表面杂质的清洗效率。3. The cleaning rods are arranged symmetrically about the guide sleeve, and the section of the cleaning rod is designed with an arc structure, and the guide sleeve is connected with the first screw through the belt. When the first screw is driven to rotate by the motor, the first screw is rotated. The screw drives the guide sleeve to rotate through the belt, and the cleaning rod on the guide sleeve rotates accordingly. The wire brush in the cleaning rod contacts the steel bar to completely scrape off the impurities retained on the steel bar after pickling. By adjusting the thread direction of the first screw, It can make the guide sleeve and the steel bar rotate in the opposite direction, improve the friction force, and then improve the cleaning efficiency of the impurities on the surface of the steel bar.
附图说明Description of drawings
图1为本发明结构示意图;Fig. 1 is the structural representation of the present invention;
图2为本发明正剖结构示意图;Fig. 2 is the schematic diagram of the front sectional structure of the present invention;
图3为本发明限位环侧剖结构示意图;FIG. 3 is a schematic view of the side sectional structure of the limit ring according to the present invention;
图4为本发明第三齿辊侧剖结构示意图;FIG. 4 is a schematic view of the side sectional structure of the third toothed roller of the present invention;
图5为本发明限位环正剖结构示意图;Figure 5 is a schematic diagram of the front sectional structure of the limit ring of the present invention;
图6为本发明导套侧面结构示意图;Fig. 6 is the side structure schematic diagram of the guide sleeve of the present invention;
图7为本发明固定环侧剖结构示意图;FIG. 7 is a schematic view of the side sectional structure of the fixing ring of the present invention;
图8为本发明图1中A处放大结构示意图;Fig. 8 is the enlarged schematic diagram of the structure at place A in Fig. 1 of the present invention;
图9为本发明第一齿辊俯视剖面结构示意图。FIG. 9 is a schematic top view sectional structure diagram of the first toothed roller according to the present invention.
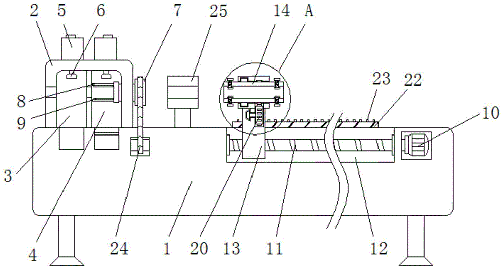
图中:1、工作台;2、除锈架;3、酸洗室;4、清理室;5、水箱;6、喷头;7、导套;8、清理杆;9、钢丝刷;10、电机;11、第一螺杆;12、活动槽;13、固定环;14、固定套;15、固定杆;16、橡胶头;17、导环;18、导槽;19、第一齿块;20、第一齿辊;21、第二齿辊;22、第二齿块;23、底板;24、皮带;25、限位环;26、齿环;27、把手;28、第三齿辊;29、第二螺杆;30、限位槽;31、固定条;32、夹辊。In the picture: 1. Workbench; 2. Derusting rack; 3. Pickling room; 4. Cleaning room; 5. Water tank; 6. Nozzle; 7. Guide bush; 8. Cleaning rod; 9. Wire brush; 10. Motor; 11, first screw; 12, movable groove; 13, fixed ring; 14, fixed sleeve; 15, fixed rod; 16, rubber head; 17, guide ring; 18, guide groove; 19, first tooth block; 20, the first toothed roller; 21, the second toothed roller; 22, the second toothed block; 23, the bottom plate; 24, the belt; 25, the limit ring; 26, the toothed ring; 27, the handle; 28, the third toothed roller ; 29, the second screw; 30, the limit groove; 31, the fixed bar; 32, the nip roller.
具体实施方式Detailed ways
下面将结合本发明实施例中的附图,对本发明实施例中的技术方案进行清楚、完整地描述,显然,所描述的实施例仅仅是本发明一部分实施例,而不是全部的实施例。基于本发明中的实施例,本领域普通技术人员在没有做出创造性劳动前提下所获得的所有其他实施例,都属于本发明保护的范围。The technical solutions in the embodiments of the present invention will be clearly and completely described below with reference to the accompanying drawings in the embodiments of the present invention. Obviously, the described embodiments are only a part of the embodiments of the present invention, but not all of the embodiments. Based on the embodiments of the present invention, all other embodiments obtained by those of ordinary skill in the art without creative efforts shall fall within the protection scope of the present invention.
请参阅图1-9,本发明提供一种技术方案:一种具备除锈功能的建筑钢筋回收用拉直装置,包括工作台1、除锈架2、酸洗室3、清理室4、水箱5、喷头6、导套7、清理杆8、钢丝刷9、电机10、第一螺杆11、活动槽12、固定环13、固定套14、固定杆15、橡胶头16、导环17、导槽18、第一齿块19、第一齿辊20、第二齿辊21、第二齿块22、底板23、皮带24、限位环25、齿环26、把手27、第三齿辊28、第二螺杆29、限位槽30、固定条31和夹辊32,工作台1的顶部边缘处螺栓固定有除锈架2,且除锈架2内由左至右分别设置有酸洗室3和清理室4,酸洗室3和清理室4的顶部均螺栓固定有水箱5,且水箱5的底部泵连接有喷头6,并且喷头6位于酸洗室3和清理室4顶部的内侧,除锈架2的边侧贯穿轴连接有导套7,且导套7的一端焊接有清理杆8,清理杆8位于清理室4内,且清理杆8的内侧粘接有钢丝刷9,工作台1顶部的内侧嵌入式安装有电机10,且电机10的输出端连接有第一螺杆11,第一螺杆11轴连接于活动槽12内,且活动槽12开设于工作台1的上端,并且第一螺杆11上螺纹套设有固定环13,固定环13顶部的内侧贯穿安装有固定套14,且固定套14的顶部边缘处螺纹贯穿有固定杆15,固定杆15的一端粘接有橡胶头16,且橡胶头16位于固定套14内,固定套14外侧套设有导环17,且导环17位于导槽18内,并且导槽18开设于固定环13顶部的内侧,固定套14的外侧一体设置有第一齿块19,且第一齿块19位于导环17的一侧,工作台1的顶部螺栓固定有限位环25,且限位环25内嵌入式安装有齿环26,并且限位环25位于除锈架2和固定环13之间,齿环26的外侧焊接有把手27,且把手27的一端位于限位环25顶部的外侧,限位环25内嵌入式轴连接有第三齿辊28,且第三齿辊28位于齿环26的内侧,第三齿辊28的一端锥齿传动连接有第二螺杆29,且第二螺杆29轴连接于限位槽30内,并且限位槽30开设于限位环25的内壁上,第二螺杆29上螺纹套设有固定条31,且固定条31的底部焊接有夹辊32;1-9, the present invention provides a technical solution: a straightening device for recycling building steel bars with rust removal function, comprising a
清理杆8关于导套7对称分布,且清理杆8的截面为弧形结构设计,并且导套7通过皮带24与第一螺杆11之间传动连接,当第一螺杆11通过皮带24带动导套7转动时,导套7上的清理杆8跟随转动,使得清理杆8内的钢丝刷9与钢筋旋转接触,配合喷头6喷出的水将钢筋上的锈迹擦除;The cleaning
固定环13与活动槽12之间贴合滑动连接,且固定环13与除锈架2和限位环25之间处于同一中心线上,当电机10驱动第一螺杆11在活动槽12内转动时,可以带动固定环13的底部在活动槽12内水平滑动,同时使得钢筋可以水平贯穿除锈架2、限位环25和固定环13,由固定环13对钢筋进行引导;The fixed
固定环13内嵌入式轴连接有第一齿辊20,且第一齿辊20的一端锥齿传动连接有第二齿辊21,并且第二齿辊21的一端位于固定环13的外侧,第二齿辊21的一端啮合连接有第二齿块22,且第二齿块22等间距设置于底板23上,并且底板23螺栓固定于工作台1的上端,同时底板23位于活动槽12的一侧,当固定环13在活动槽12内水平活动时,固定环13外侧的第二齿辊21与底板23上的第二齿块22啮合接触,使得第二齿辊21跟随固定环13移动时同步转动,进而通过第二齿辊21带动第一齿辊20的转动;A first
固定杆15关于固定套14的中心轴线对称设置有2组,且每组固定杆15等角度分布有4个,在转动固定套14上的固定杆15时,通过固定杆15与固定套14的螺纹连接,使得固定杆15在固定套14处上下活动,使得固定杆15一端的橡胶头16与钢筋接触,通过2组固定杆15和橡胶头16将钢筋夹取固定住;There are 2 sets of fixing
导环17与导槽18之间转动连接,且导环17的厚度等于导槽18的宽度,通过导环17在导槽18内的稳定转动,使得固定套14可以在固定环13内稳定转动;The
第一齿块19关于固定套14的中心轴线等角度分布,且第一齿块19与第一齿辊20之间相互啮合,当第一齿辊20受第二齿辊21驱动转动时,第一齿辊20与第一齿块19啮合接触,可以带动固定套14在固定环13内转动,进而实现通过固定环13带动固定套14内的钢筋水平移动时,固定套14可以带动钢筋同步转动;The first
第三齿辊28与齿环26之间啮合接触,且第三齿辊28限位环25的中心轴线对称设置有4个,当通过把手27带动齿环26转动时,可以带动4个第三齿辊28同步转动,带动与第三齿辊28锥齿传动的4个第二螺杆29在限位槽30内转动;The third
固定条31与限位槽30之间滑动连接,且固定条31为矩形结构设计,并且固定条31的截面面积与限位槽30的截面面积相等,当4个第二螺杆29在限位槽30内转动时,可以带动4个固定条31同步在限位槽30内滑动,进而调整固定条31一端夹辊32的位置,通过4个夹辊32对不同直径的钢筋进行限位,使得钢筋在限位环25内移动时,通过4个夹辊32可以对不同直径的钢筋进行拉直操作。The fixing
工作原理:在使用该具备除锈功能的建筑钢筋回收用拉直装置时,如图1中,将需要拉直的钢筋依次穿过首先除锈架2内的酸洗室3和清理室4,然后穿过限位环25内,接着穿过固定环13内的固定套14内部,如图1和图6-7中,手动转动固定套14上的固定杆15,通过固定杆15与固定套14之间的螺纹连接,使得固定杆15带动橡胶头16向内活动并与钢筋接触,通过2组固定杆15和橡胶头16将钢筋的一端固定在固定套14内,接着如图1和图5-6中,启动工作台1上的电机10,电机10带动第一螺杆11在活动槽12内转动,通过第一螺杆11带动固定环13在活动槽12内滑动,通过固定环13内的固定套14对钢筋进行水平拉动,通过酸洗室3上的水箱5和喷头6喷出酸洗液对钢筋上的锈迹进行溶解除锈操作,接着通过清理室4上的水箱5和喷头6喷出的水对滞留在钢筋上的溶解物进行冲洗,并配合导套7一端清理杆8上的钢丝刷9将溶解物刷落,第一螺杆11通过皮带24驱动导套7的转动,进而带动清理杆8和钢丝刷9的转动,对钢筋进行全面清理,酸洗和清洗用水掉落至酸洗室3和清理室4底部预留的水池进行收集,同时如图2-4中,钢筋受力在限位环25内移动时,通过4个夹辊32对钢筋进行限位活动,使得钢筋可以在移动过程中被拉直,为适用于不同直径规格钢筋的拉直操作,可以手动转动限位环25上的把手27,把手27带动齿环26在限位环25内转动,齿环26与4个第三齿辊28啮合接触,带动4个第三齿辊28同步接触,第三齿辊28与第二螺杆29锥齿传动,可以带动4个第二螺杆29同步在限位槽30内转动,进而带动与第二螺杆29螺纹连接的固定条31在限位槽30内滑动,调整固定条31一端4个夹辊32的位置,对不同规格的钢筋进行限位拉直操作;Working principle: When using the straightening device for building steel bar recycling with rust removal function, as shown in Figure 1, the steel bars to be straightened are passed through the pickling
接着,如图1和图6-9中,当固定环13在活动槽12内水平移动时,固定环13外侧的第二齿辊21与底板23上的第二齿块22啮合接触,带动第二齿辊21的同步转动,第二齿辊21通过锥齿传动带动固定环13内的第一齿辊20转动,第一齿辊20与固定套14上的第一齿块19啮合接触,可以带动固定套14在固定环13内转动,同时固定套14上的导环17跟随在导槽18内转动,保持固定套14的稳定转动,使得钢筋在水平移动的同时,可以同步转动,方便对其进行均匀酸洗和清洗,同时通过调整第一螺杆11的螺纹方向,可以实现钢筋和导套7的逆向转动,增加钢丝刷9与钢筋的摩擦力,提高清理效果。Next, as shown in FIG. 1 and FIGS. 6-9, when the fixed
尽管参照前述实施例对本发明进行了详细的说明,对于本领域的技术人员来说,其依然可以对前述各实施例所记载的技术方案进行修改,或者对其中部分技术特征进行等同替换,凡在本发明的精神和原则之内,所作的任何修改、等同替换、改进等,均应包含在本发明的保护范围之内。Although the present invention has been described in detail with reference to the foregoing embodiments, for those skilled in the art, it is still possible to modify the technical solutions described in the foregoing embodiments, or to perform equivalent replacements for some of the technical features. Any modification, equivalent replacement, improvement, etc. made within the spirit and principle of the present invention shall be included within the protection scope of the present invention.
Claims (9)
Priority Applications (1)
| Application Number | Priority Date | Filing Date | Title |
|---|---|---|---|
| CN202010822150.6A CN112077233B (en) | 2020-08-16 | 2020-08-16 | A straightening device for building steel bar recycling with rust removal function |
Applications Claiming Priority (1)
| Application Number | Priority Date | Filing Date | Title |
|---|---|---|---|
| CN202010822150.6A CN112077233B (en) | 2020-08-16 | 2020-08-16 | A straightening device for building steel bar recycling with rust removal function |
Publications (2)
| Publication Number | Publication Date |
|---|---|
| CN112077233A true CN112077233A (en) | 2020-12-15 |
| CN112077233B CN112077233B (en) | 2021-07-13 |
Family
ID=73729323
Family Applications (1)
| Application Number | Title | Priority Date | Filing Date |
|---|---|---|---|
| CN202010822150.6A Active CN112077233B (en) | 2020-08-16 | 2020-08-16 | A straightening device for building steel bar recycling with rust removal function |
Country Status (1)
| Country | Link |
|---|---|
| CN (1) | CN112077233B (en) |
Cited By (9)
| Publication number | Priority date | Publication date | Assignee | Title |
|---|---|---|---|---|
| CN113231493A (en) * | 2021-05-12 | 2021-08-10 | 广州中创建筑科技有限公司 | Building pipe waste collection device and method |
| CN113884564A (en) * | 2021-08-12 | 2022-01-04 | 洛阳百克特科技发展股份有限公司 | Self-driven detection device and detection method for steel wire rope |
| CN113911837A (en) * | 2021-09-17 | 2022-01-11 | 国网江苏省电力有限公司建设分公司 | Convenient storage device for grounding lead of emergency power supply system and use method of convenient storage device |
| CN114606507A (en) * | 2022-03-07 | 2022-06-10 | 陈育钦 | Steel bar machining device for construction site and machining method thereof |
| CN116117400A (en) * | 2023-04-04 | 2023-05-16 | 延安大学西安创新学院 | Construction steel bar welding device and welding method |
| CN117066339A (en) * | 2023-07-04 | 2023-11-17 | 青岛三花锦利丰机械有限公司 | Stainless steel tube stretch forming device for air conditioner refrigeration |
| CN119016391A (en) * | 2024-10-25 | 2024-11-26 | 上海建工四建集团有限公司 | An on-site recycling and processing device for construction threaded steel |
| CN119456868A (en) * | 2025-01-15 | 2025-02-18 | 福建安通电装有限公司 | A wire harness straightening device |
| CN120460632A (en) * | 2025-07-11 | 2025-08-12 | 山西潞安检测检验中心有限责任公司 | A mining steel wire straightening machine with rust removal function |
Citations (9)
| Publication number | Priority date | Publication date | Assignee | Title |
|---|---|---|---|---|
| KR20090040934A (en) * | 2007-10-23 | 2009-04-28 | 문종판 | Structure of liner bending machine |
| CN104259305A (en) * | 2014-09-15 | 2015-01-07 | 刘云卿 | Screw pump iso-wall-thickness metal stator machining device and forming method thereof |
| CN207873923U (en) * | 2018-02-07 | 2018-09-18 | 郑州大学 | A kind of building bar derusting device |
| CN208245685U (en) * | 2018-01-18 | 2018-12-18 | 洛阳恒大轴承有限公司 | A kind of straight line straightener |
| CN208960516U (en) * | 2018-09-30 | 2019-06-11 | 天津精诚卓达检测设备有限公司 | A kind of steel wire ultrasonic cleaning equipment |
| CN208960858U (en) * | 2018-10-15 | 2019-06-11 | 唐山中煤机械设备有限公司 | A kind of steel bar meter straightener |
| JP2019093402A (en) * | 2017-11-21 | 2019-06-20 | 大同特殊鋼株式会社 | Guide device of straightening machine |
| CN210280490U (en) * | 2019-08-07 | 2020-04-10 | 山东腾翔产品质量检测有限公司 | Correcting device for steel bar detection |
| CN210702241U (en) * | 2019-06-28 | 2020-06-09 | 浙江歌山建筑科技有限公司 | Steel bar straightening machine with pre-straightening device |
-
2020
- 2020-08-16 CN CN202010822150.6A patent/CN112077233B/en active Active
Patent Citations (9)
| Publication number | Priority date | Publication date | Assignee | Title |
|---|---|---|---|---|
| KR20090040934A (en) * | 2007-10-23 | 2009-04-28 | 문종판 | Structure of liner bending machine |
| CN104259305A (en) * | 2014-09-15 | 2015-01-07 | 刘云卿 | Screw pump iso-wall-thickness metal stator machining device and forming method thereof |
| JP2019093402A (en) * | 2017-11-21 | 2019-06-20 | 大同特殊鋼株式会社 | Guide device of straightening machine |
| CN208245685U (en) * | 2018-01-18 | 2018-12-18 | 洛阳恒大轴承有限公司 | A kind of straight line straightener |
| CN207873923U (en) * | 2018-02-07 | 2018-09-18 | 郑州大学 | A kind of building bar derusting device |
| CN208960516U (en) * | 2018-09-30 | 2019-06-11 | 天津精诚卓达检测设备有限公司 | A kind of steel wire ultrasonic cleaning equipment |
| CN208960858U (en) * | 2018-10-15 | 2019-06-11 | 唐山中煤机械设备有限公司 | A kind of steel bar meter straightener |
| CN210702241U (en) * | 2019-06-28 | 2020-06-09 | 浙江歌山建筑科技有限公司 | Steel bar straightening machine with pre-straightening device |
| CN210280490U (en) * | 2019-08-07 | 2020-04-10 | 山东腾翔产品质量检测有限公司 | Correcting device for steel bar detection |
Cited By (13)
| Publication number | Priority date | Publication date | Assignee | Title |
|---|---|---|---|---|
| CN113231493A (en) * | 2021-05-12 | 2021-08-10 | 广州中创建筑科技有限公司 | Building pipe waste collection device and method |
| CN113884564B (en) * | 2021-08-12 | 2024-05-17 | 洛阳百克特科技发展股份有限公司 | Wire rope self-driving detection device and detection method thereof |
| CN113884564A (en) * | 2021-08-12 | 2022-01-04 | 洛阳百克特科技发展股份有限公司 | Self-driven detection device and detection method for steel wire rope |
| CN113911837A (en) * | 2021-09-17 | 2022-01-11 | 国网江苏省电力有限公司建设分公司 | Convenient storage device for grounding lead of emergency power supply system and use method of convenient storage device |
| CN113911837B (en) * | 2021-09-17 | 2022-11-11 | 国网江苏省电力有限公司建设分公司 | Convenient storage device for grounding lead of emergency power supply system and use method of convenient storage device |
| CN114606507A (en) * | 2022-03-07 | 2022-06-10 | 陈育钦 | Steel bar machining device for construction site and machining method thereof |
| CN116117400A (en) * | 2023-04-04 | 2023-05-16 | 延安大学西安创新学院 | Construction steel bar welding device and welding method |
| CN117066339A (en) * | 2023-07-04 | 2023-11-17 | 青岛三花锦利丰机械有限公司 | Stainless steel tube stretch forming device for air conditioner refrigeration |
| CN117066339B (en) * | 2023-07-04 | 2024-05-17 | 青岛三花锦利丰机械有限公司 | Stainless steel tube stretch forming device for air conditioner refrigeration |
| CN119016391A (en) * | 2024-10-25 | 2024-11-26 | 上海建工四建集团有限公司 | An on-site recycling and processing device for construction threaded steel |
| CN119016391B (en) * | 2024-10-25 | 2025-01-07 | 上海建工四建集团有限公司 | On-site recycling device for construction deformed steel bars |
| CN119456868A (en) * | 2025-01-15 | 2025-02-18 | 福建安通电装有限公司 | A wire harness straightening device |
| CN120460632A (en) * | 2025-07-11 | 2025-08-12 | 山西潞安检测检验中心有限责任公司 | A mining steel wire straightening machine with rust removal function |
Also Published As
| Publication number | Publication date |
|---|---|
| CN112077233B (en) | 2021-07-13 |
Similar Documents
| Publication | Publication Date | Title |
|---|---|---|
| CN112077233A (en) | Straightening device with derusting function for construction steel bar recovery | |
| CN208788254U (en) | Rebar rust removal device for civil engineering | |
| CN216064415U (en) | Cleaning device for steel coil production and processing | |
| CN116571519A (en) | Cleaning system and process for chemical washing tower waste gas discharge pipeline | |
| CN110103117B (en) | Inner wall grinding device without considering length of pipeline | |
| CN2728655Y (en) | Metal pipe derusting machine | |
| CN210730268U (en) | Optical glass cleaning machine | |
| CN117415257A (en) | A vertical bolt forming machine and its thread rolling method | |
| CN214491091U (en) | Sand material conveyer belt with clearance mechanism | |
| CN110142083A (en) | A kind of waste material crushing and processing equipment for urban construction | |
| CN205008287U (en) | Automatic descaling machine of wall screw rod of wearing for building | |
| CN209968967U (en) | Stainless steel cleaning equipment convenient to wash simultaneously stainless steel two sides | |
| CN113083774A (en) | Steel sheet belt cleaning device for machining | |
| CN218461829U (en) | Polishing structure for aluminum alloy door wire drawing | |
| CN109504979B (en) | Preposed processing device for pickling steel coil | |
| CN211538775U (en) | Cleaning device for radial tire building drum | |
| CN210333658U (en) | Former storage bucket belt cleaning device for film forming auxiliary agent | |
| CN223616302U (en) | A water spray device for cleaning the forming rollers of a molding machine | |
| CN214812903U (en) | A cleaning device for building scaffolding | |
| CN222842736U (en) | Sewage pipeline cleaning machine | |
| CN212445722U (en) | Waste material cleaning device after concrete cutting | |
| CN117920772B (en) | Steel pipe belt cleaning device | |
| CN223128360U (en) | Marble rust remover spraying equipment | |
| CN215251214U (en) | Surface rust cleaning device for water conservancy construction pipeline maintenance | |
| CN221604063U (en) | Seal stone polishing machine |
Legal Events
| Date | Code | Title | Description |
|---|---|---|---|
| PB01 | Publication | ||
| PB01 | Publication | ||
| SE01 | Entry into force of request for substantive examination | ||
| SE01 | Entry into force of request for substantive examination | ||
| CB03 | Change of inventor or designer information |
Inventor after: Ren Sulin Inventor after: Qi Junshan Inventor after: Gao Zhan Inventor after: Fan Dejiang Inventor before: Fan Dejiang |
|
| CB03 | Change of inventor or designer information | ||
| GR01 | Patent grant | ||
| GR01 | Patent grant | ||
| TR01 | Transfer of patent right |
Effective date of registration: 20210811 Address after: 450000 805, floor 8, building 6, Zhengshang Jingkai Plaza, No. 1507, hanghai East Road, Zhengzhou area (Jingkai), pilot Free Trade Zone, Zhengzhou, Henan Province Patentee after: Zhengzhou Shufei Environmental Protection Technology Co.,Ltd. Address before: Zhejiang zhongshuo Construction Co., Ltd., 1900 Chongfu Avenue, Tongxiang City, Jiaxing City, Zhejiang Province, 314500 Patentee before: Fan Dejiang |
|
| TR01 | Transfer of patent right | ||
| CP03 | Change of name, title or address |
Address after: 572000, College of Biomedical Engineering, Hainan University, No. 7 University Road, Yaqiao District, Sanya City, Hainan Province D304-66, Haikou Institute of Hainan University Patentee after: Hainan Shufei Technology Co.,Ltd. Country or region after: China Address before: 450000 805, floor 8, building 6, Zhengshang Jingkai Plaza, No. 1507, hanghai East Road, Zhengzhou area (Jingkai), pilot Free Trade Zone, Zhengzhou, Henan Province Patentee before: Zhengzhou Shufei Environmental Protection Technology Co.,Ltd. Country or region before: China |
|
| CP03 | Change of name, title or address | ||
| TR01 | Transfer of patent right |
Effective date of registration: 20250929 Address after: 201400 Building 1, No.1 Haikun Road, Fengxian District, Shanghai Patentee after: Shanghai Yuechengjin Industrial Co.,Ltd. Country or region after: China Address before: 572000, College of Biomedical Engineering, Hainan University, No. 7 University Road, Yaqiao District, Sanya City, Hainan Province D304-66, Haikou Institute of Hainan University Patentee before: Hainan Shufei Technology Co.,Ltd. Country or region before: China |
|
| TR01 | Transfer of patent right |
