CN112045078A - 一种手机五金件加工用微型冲压设备 - Google Patents
一种手机五金件加工用微型冲压设备 Download PDFInfo
- Publication number
- CN112045078A CN112045078A CN202011020664.6A CN202011020664A CN112045078A CN 112045078 A CN112045078 A CN 112045078A CN 202011020664 A CN202011020664 A CN 202011020664A CN 112045078 A CN112045078 A CN 112045078A
- Authority
- CN
- China
- Prior art keywords
- vacuum tube
- vacuum
- driving mechanism
- phone hardware
- cell
- Prior art date
- Legal status (The legal status is an assumption and is not a legal conclusion. Google has not performed a legal analysis and makes no representation as to the accuracy of the status listed.)
- Granted
Links
- 230000007246 mechanism Effects 0.000 claims abstract description 38
- 230000006835 compression Effects 0.000 claims abstract description 19
- 238000007906 compression Methods 0.000 claims abstract description 19
- 230000005540 biological transmission Effects 0.000 claims abstract description 13
- 230000000149 penetrating effect Effects 0.000 claims abstract description 4
- 238000007789 sealing Methods 0.000 claims description 7
- 238000004080 punching Methods 0.000 claims 1
- 238000003825 pressing Methods 0.000 abstract description 12
- 238000000034 method Methods 0.000 description 8
- 230000008569 process Effects 0.000 description 7
- 230000000694 effects Effects 0.000 description 4
- 230000001174 ascending effect Effects 0.000 description 1
- 230000009286 beneficial effect Effects 0.000 description 1
- 230000008859 change Effects 0.000 description 1
- 230000007547 defect Effects 0.000 description 1
- 238000005516 engineering process Methods 0.000 description 1
- 230000000670 limiting effect Effects 0.000 description 1
- 238000004519 manufacturing process Methods 0.000 description 1
- 239000002184 metal Substances 0.000 description 1
- 239000007769 metal material Substances 0.000 description 1
- 238000012986 modification Methods 0.000 description 1
- 230000004048 modification Effects 0.000 description 1
- 229910052755 nonmetal Inorganic materials 0.000 description 1
- 238000006467 substitution reaction Methods 0.000 description 1
Images
Classifications
-
- B—PERFORMING OPERATIONS; TRANSPORTING
- B21—MECHANICAL METAL-WORKING WITHOUT ESSENTIALLY REMOVING MATERIAL; PUNCHING METAL
- B21D—WORKING OR PROCESSING OF SHEET METAL OR METAL TUBES, RODS OR PROFILES WITHOUT ESSENTIALLY REMOVING MATERIAL; PUNCHING METAL
- B21D43/00—Feeding, positioning or storing devices combined with, or arranged in, or specially adapted for use in connection with, apparatus for working or processing sheet metal, metal tubes or metal profiles; Associations therewith of cutting devices
- B21D43/02—Advancing work in relation to the stroke of the die or tool
- B21D43/18—Advancing work in relation to the stroke of the die or tool by means in pneumatic or magnetic engagement with the work
-
- Y—GENERAL TAGGING OF NEW TECHNOLOGICAL DEVELOPMENTS; GENERAL TAGGING OF CROSS-SECTIONAL TECHNOLOGIES SPANNING OVER SEVERAL SECTIONS OF THE IPC; TECHNICAL SUBJECTS COVERED BY FORMER USPC CROSS-REFERENCE ART COLLECTIONS [XRACs] AND DIGESTS
- Y02—TECHNOLOGIES OR APPLICATIONS FOR MITIGATION OR ADAPTATION AGAINST CLIMATE CHANGE
- Y02P—CLIMATE CHANGE MITIGATION TECHNOLOGIES IN THE PRODUCTION OR PROCESSING OF GOODS
- Y02P70/00—Climate change mitigation technologies in the production process for final industrial or consumer products
- Y02P70/10—Greenhouse gas [GHG] capture, material saving, heat recovery or other energy efficient measures, e.g. motor control, characterised by manufacturing processes, e.g. for rolling metal or metal working
Landscapes
- Engineering & Computer Science (AREA)
- Mechanical Engineering (AREA)
- Telephone Set Structure (AREA)
Abstract
本发明属于加工设备技术领域,提供了一种手机五金件加工用微型冲压设备,包括设备壳体,所述设备壳体包括顶板、底板和两个支撑板,两个支撑板的顶端分别与顶板固定连接,两个支撑板的底端分别与底板固定连接,所述顶板上固定安装第一驱动机构,所述底板上穿设有真空管和用于固定冲压头组件的升降杆,第一驱动机构通过传动组件驱动升降杆和真空管同时升降,真空管的顶端通过软管连接真空泵,真空管的下方设有真空吸盘,真空管与真空吸盘的连接管滑动连接,连接管上套设有压缩弹簧,压缩弹簧的一端与真空管的底端接触。本发明的一种手机五金件加工用微型冲压设备,减少由于按压件的过度按压而对手机五金件板料造成的损伤。
Description
技术领域
本发明涉及加工设备技术领域,具体涉及一种手机五金件加工用微型冲压设备。
背景技术
冲压加工是借助于常规或专用冲压设备的动力,将金属或非金属板料直接受到变形力并进行变形,从而获得一定形状、尺寸和性能的产品零件的生产技术。在冲压设备的选择上,由于微型冲压设备具有体积小,成本低,可以灵活用于自动化设备的特点被广泛应用。
在冲压过程中,现有的微型冲压设备通过金属材质的按压件对手机五金件板料进行固定和按压,容易对手机五金件产生过度按压或者在按压过程中产生划痕,对手机五金件造成损伤,影响冲压的质量。
发明内容
针对现有技术中的缺陷,本发明提供的一种手机五金件加工用微型冲压设备,减少由于按压件的过度按压而对手机五金件板料造成的损伤。
为了解决上述技术问题,本发明提出以下技术方案:
一种手机五金件加工用微型冲压设备,包括设备壳体,所述设备壳体包括顶板、底板和两个支撑板,两个支撑板的顶端分别与顶板固定连接,两个支撑板的底端分别与底板固定连接,所述顶板上固定安装第一驱动机构,所述底板上穿设有真空管和用于固定冲压头组件的升降杆,第一驱动机构通过传动组件驱动升降杆和真空管同时升降,真空管的顶端通过软管连接真空泵,真空管的下方设有真空吸盘,真空管与真空吸盘的连接管滑动连接,连接管上套设有压缩弹簧,压缩弹簧的一端与真空管的底端接触,压缩弹簧的另一端与真空吸盘接触,第一驱动机构和真空泵均与PLC控制器电连接。
进一步地,所述传动组件包括螺纹杆,螺纹杆与第一驱动机构的驱动端同轴连接,螺纹杆上螺纹连接有水平杆,水平杆的两端分别与两个支撑板在垂直方向上滑动连接,升降杆与水平杆的下表面固定连接,水平杆上开设有通孔,真空管穿过通孔并通过滚珠轴承与水平杆转动连接。
进一步地,所述两个支撑板上均开设有滑槽,水平杆的两端分别置于滑槽内。
进一步地,所述顶板的下表面固定安装有第二驱动机构,第二驱动机构通过传动齿轮组驱动真空管转动,真空管的顶端穿过顶板与软管连接,第二驱动机构与PLC控制器电连接。
进一步地,所述传动齿轮组包括主动齿轮和从动齿轮,主动齿轮与第二驱动机构的驱动端同轴连接,从动齿轮与真空管同轴连接,主动齿轮与从动齿轮啮合。
进一步地,所述真空管底端的内部设置有密封橡胶圈,密封橡胶圈的内表面与连接管接触。
进一步地,所述底板的下表面转动连接有多个L型固定板,L型固定板上开设有螺纹孔,螺纹孔内放置有螺栓。
由上述技术方案可知,本发明的有益效果:将冲压头组件固定安装于升降杆的底端,通过PLC控制器控制第一驱动机构工作,带动升降杆和真空管向下运动,真空管底端的真空吸盘首先与手机五金件板料进行接触,在升降杆和真空管继续向下运动的过程中,真空管按压压缩弹簧,压缩弹簧对真空吸盘产生向下的压力,从而使真空盘与手机五金件板料紧密接触,PLC控制器控制真空泵工作,将真空吸盘内吸取真空,实现通过真空吸盘对手机五金件板料进行固定,然后,升降杆带动冲压头组件对手机五金件板料进行冲压成型,冲压完成后,PLC控制器控制第一驱动机构工作,带动升降杆和真空管向上运动,冲压头组件首先离开手机五金件板料,然后,压缩弹簧逐渐恢复自由状态,同时,PLC控制器控制真空泵向真空管内吹气,真空吸盘失去对手机五金件板料的吸取和固定作用,以上工作过程中,由真空吸盘、压缩弹簧和真空管相互配合在冲压头组件冲压接触手机五金件板料之前进行固定并且在冲压头组件离开手机五金件板料之后失去固定作用,避免冲压头组件和按压组件接触手机五金件板料时,手机五金件受力不平衡而发生位置移动,同时,减少由于按压件的过度按压而对手机五金件板料造成的损伤。
附图说明
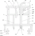
为了更清楚地说明本发明具体实施方式或现有技术中的技术方案,下面将对具体实施方式或现有技术描述中所需要使用的附图作简单地介绍。在所有附图中,类似的元件或部分一般由类似的附图标记标识。附图中,各元件或部分并不一定按照实际的比例绘制。
图1为本发明的剖视图;
图2为图1所示A处的放大图。
附图标记:
1-设备壳体;2-第一驱动机构;3-第二驱动机构;4-真空泵;
11-顶板;12-底板;13-支撑板;14-真空管;21-螺纹杆;22-水平杆23-升降杆;31-主动齿轮;41-软管;
121-L型固定板;131-滑槽;141-真空吸盘;142-连接管;143-密封橡胶圈;144-压缩弹簧;145-从动齿轮;221-通孔;222-滚珠轴承;
1211-螺纹孔;1212-螺栓。
具体实施方式
下面将结合附图对本发明技术方案的实施例进行详细的描述。以下实施例仅用于更加清楚地说明本发明的技术方案,因此只作为示例,而不能以此来限制本发明的保护范围。
参阅图1-图2所示,本实施例提供的一种手机五金件加工用微型冲压设备,包括设备壳体1,设备壳体1包括顶板11、底板12和两个支撑板13,两个支撑板13的顶端分别与顶板11固定连接,两个支撑板13的底端分别与底板12固定连接,顶板11上固定安装第一驱动机构2,底板12上穿设有真空管14和用于固定冲压头组件的升降杆23,第一驱动机构2通过传动组件驱动升降杆23和真空管14同时升降,真空管14的顶端通过软管41连接真空泵4,真空管14的下方设有真空吸盘141,真空管14与真空吸盘141的连接管142滑动连接,连接管142上套设有压缩弹簧144,压缩弹簧144的一端与真空管14的底端接触,压缩弹簧144的另一端与真空吸盘141接触,第一驱动机构2和真空泵4均与PLC控制器电连接,第一驱动机构2为伺服电机或步进电机。
在实际使用中,将冲压头组件固定安装于升降杆23的底端,通过PLC控制器控制第一驱动机构2工作,带动升降杆23和真空管14向下运动,真空管14底端的真空吸盘141首先与手机五金件板料进行接触,在升降杆23和真空管14继续向下运动的过程中,真空管14按压压缩弹簧144,压缩弹簧144对真空吸盘141产生向下的压力,从而使真空吸盘141与手机五金件板料紧密接触,PLC控制器控制真空泵4工作,将真空吸盘141内吸取真空,实现通过真空吸盘141对手机五金件板料进行固定,然后,升降杆23带动冲压头组件对手机五金件板料进行冲压成型,冲压完成后,PLC控制器控制第一驱动机构2工作,带动升降杆23和真空管14向上运动,冲压头组件首先离开手机五金件板料,然后,压缩弹簧144逐渐恢复自由状态,同时,PLC控制器控制真空泵4向真空管14内吹气,真空吸盘141失去对手机五金件板料的吸取和固定作用,以上工作过程中,由真空吸盘141、压缩弹簧144和真空管14相互配合在冲压头组件冲压接触手机五金件板料之前进行固定并且在冲压头组件离开手机五金件板料之后失去固定作用,避免冲压头组件和按压组件接触手机五金件板料时,手机五金件受力不平衡而发生位置移动,同时,减少由于按压件的过度按压而对手机五金件板料造成的损伤。
在本实施例中,传动组件包括螺纹杆21,螺纹杆21与第一驱动机构2的驱动端同轴连接,螺纹杆21上螺纹连接有水平杆22,水平杆22的两端分别与两个支撑板13在垂直方向上滑动连接,升降杆23与水平杆22的下表面固定连接,水平杆22上开设有通孔221,真空管14穿过通孔221并通过滚珠轴承222与水平杆22转动连接。
在实际使用中,第一驱动机构2通过正向转动或反向转动带动螺纹杆21正向转动或反向转动,同时,由于两个支撑板13对水平杆22在水平方向上的限制作用,水平杆22只能在螺纹杆21的转动控制下实现上升或下降,带动升降杆23和真空管14的上升和下降。
在本实施例中,两个支撑板13上均开设有滑槽131,水平杆22的两端分别置于滑槽131内。
在实际使用过程中,滑槽131限制水平杆22在水平方向上转动,只能在螺纹杆21的转动控制下沿滑槽131向上或向下滑动。
在本实施例中,顶板11的下表面固定安装有第二驱动机构3,第二驱动机构3通过传动齿轮组驱动真空管14转动,真空管14的顶端穿过顶板11与软管41连接,第二驱动机构3与PLC控制器电连接,第二驱动机构3为伺服电机或步进电机。
在实际使用中,当冲压头组件完成一个工位的冲压后,PLC控制器控制第一驱动机构2工作,带动升降杆23和真空管14向上运动,冲压头组件首先离开手机五金件板料,压缩弹簧144逐渐恢复自由状态,此时,真空吸盘141和真空管14内保持真空状态,真空吸盘141仍然对手机五金件板料具有吸取和固定作用,然后,PLC控制器控制第二驱动机构3转动,带动真空管14转动,实现真空吸盘141带动手机五金件板料进行转动,改变手机五金件板料的冲压位置,最后,PLC控制器控制第一驱动机构2工作,带动升降杆23和真空管14向下运动,继续对下一个工位进行冲压加工,真空管14转动的角度可根据手机五金件板料加工工位进行设定。
在本实施例中,传动齿轮组包括主动齿轮31和从动齿轮145,主动齿轮31与第二驱动机构3的驱动端同轴连接,从动齿轮145与真空管14同轴连接,主动齿轮31与从动齿轮145啮合,第二驱动机构3带动主动齿轮31转动,主动齿轮31带动从动齿轮145转动,实现对真空管14转动角度的控制。
在本实施例中,真空管14底端的内部设置有密封橡胶圈143,密封橡胶圈143的内表面与连接管142接触,保持真空管14与连接管142之间处于密封的状态。
在本实施例中,底板12的下表面转动连接有多个L型固定板121,L型固定板121上开设有螺纹孔1211,螺纹孔1211内放置有螺栓1212。
在实际使用中,将底板12置于固定面之上,L型固定板121的底端置于固定面之下,通过旋转螺栓1212使螺栓1212的顶端与固定面抵接,实现与底板12与固定面之间的固定;L型固定板121与底板12转动连接,便于通过转动L型固定板121,改变L型固定板121相对于底板12的位置,能够适应不同位置的固定面,同时,多个L型固定板121同时与固定面进行固定,有效增强固定的稳定性。
最后应说明的是:以上各实施例仅用以说明本发明的技术方案,而非对其限制;尽管参照前述各实施例对本发明进行了详细的说明,本领域的普通技术人员应当理解:其依然可以对前述各实施例所记载的技术方案进行修改,或者对其中部分或者全部技术特征进行等同替换;而这些修改或者替换,并不使相应技术方案的本质脱离本发明各实施例技术方案的范围,其均应涵盖在本发明的权利要求和说明书的范围当中。
Claims (7)
1.一种手机五金件加工用微型冲压设备,包括设备壳体(1),其特征在于:所述设备壳体(1)包括顶板(11)、底板(12)和两个支撑板(13),两个支撑板(13)的顶端分别与顶板(11)固定连接,两个支撑板(13)的底端分别与底板(12)固定连接,所述顶板(11)上固定安装第一驱动机构(2),所述底板(12)上穿设有真空管(14)和用于固定冲压头组件的升降杆(23),第一驱动机构(2)通过传动组件驱动升降杆(23)和真空管(14)同时升降,真空管(14)的顶端通过软管(41)连接真空泵(4),真空管(14)的下方设有真空吸盘(141),真空管(14)与真空吸盘(141)的连接管(142)滑动连接,连接管(142)上套设有压缩弹簧(144),压缩弹簧(144)的一端与真空管(14)的底端接触,压缩弹簧(144)的另一端与真空吸盘(141)接触,第一驱动机构(2)和真空泵(4)均与PLC控制器电连接。
2.根据权利要求1所述的一种手机五金件加工用微型冲压设备,其特征在于:所述传动组件包括螺纹杆(21),螺纹杆(21)与第一驱动机构(2)的驱动端同轴连接,螺纹杆(21)上螺纹连接有水平杆(22),水平杆(22)的两端分别与两个支撑板(13)在垂直方向上滑动连接,升降杆(23)与水平杆(22)的下表面固定连接,水平杆(22)上开设有通孔(221),真空管(14)穿过通孔(221)并通过滚珠轴承(222)与水平杆(22)转动连接。
3.根据权利要求2所述的一种手机五金件加工用微型冲压设备,其特征在于:所述两个支撑板(13)上均开设有滑槽(131),水平杆(22)的两端分别置于滑槽(131)内。
4.根据权利要求2所述的一种手机五金件加工用微型冲压设备,其特征在于:所述顶板(11)的下表面固定安装有第二驱动机构(3),第二驱动机构(3)通过传动齿轮组驱动真空管(14)转动,真空管(14)的顶端穿过顶板(11)与软管(41)连接,第二驱动机构(3)与PLC控制器电连接。
5.根据权利要求4所述的一种手机五金件加工用微型冲压设备,其特征在于:所述传动齿轮组包括主动齿轮(31)和从动齿轮(145),主动齿轮(31)与第二驱动机构(3)的驱动端同轴连接,从动齿轮(145)与真空管(14)同轴连接,主动齿轮(31)与从动齿轮(145)啮合。
6.根据权利要求1所述的一种手机五金件加工用微型冲压设备,其特征在于:所述真空管(14)底端的内部设置有密封橡胶圈(143),密封橡胶圈(143)的内表面与连接管(142)接触。
7.根据权利要求1所述的一种手机五金件加工用微型冲压设备,其特征在于:所述底板(12)的下表面转动连接有多个L型固定板(121),L型固定板(121)上开设有螺纹孔(1211),螺纹孔(1211)内放置有螺栓(1212)。
Priority Applications (1)
| Application Number | Priority Date | Filing Date | Title |
|---|---|---|---|
| CN202011020664.6A CN112045078B (zh) | 2020-09-25 | 2020-09-25 | 一种手机五金件加工用微型冲压设备 |
Applications Claiming Priority (1)
| Application Number | Priority Date | Filing Date | Title |
|---|---|---|---|
| CN202011020664.6A CN112045078B (zh) | 2020-09-25 | 2020-09-25 | 一种手机五金件加工用微型冲压设备 |
Publications (2)
| Publication Number | Publication Date |
|---|---|
| CN112045078A true CN112045078A (zh) | 2020-12-08 |
| CN112045078B CN112045078B (zh) | 2023-06-02 |
Family
ID=73604090
Family Applications (1)
| Application Number | Title | Priority Date | Filing Date |
|---|---|---|---|
| CN202011020664.6A Active CN112045078B (zh) | 2020-09-25 | 2020-09-25 | 一种手机五金件加工用微型冲压设备 |
Country Status (1)
| Country | Link |
|---|---|
| CN (1) | CN112045078B (zh) |
Cited By (1)
| Publication number | Priority date | Publication date | Assignee | Title |
|---|---|---|---|---|
| CN116984437A (zh) * | 2023-08-01 | 2023-11-03 | 东莞市嘉龙海杰电子科技有限公司 | 一种变压器散热片成型加工装置及其方法 |
Citations (7)
| Publication number | Priority date | Publication date | Assignee | Title |
|---|---|---|---|---|
| CN103736861A (zh) * | 2014-01-15 | 2014-04-23 | 晟扬精密模具(昆山)有限公司 | 自动转移产品的冲压模具 |
| CN106734532A (zh) * | 2016-12-08 | 2017-05-31 | 无锡市彩云机械设备有限公司 | 一种铁板的打孔设备 |
| CN210059509U (zh) * | 2019-04-24 | 2020-02-14 | 惠州市亚润科技有限公司 | 一种五金件冲压设备 |
| CN210877230U (zh) * | 2019-10-25 | 2020-06-30 | 昆山昱耀电子有限公司 | 一种电子产品内钢片加工用剪切装置 |
| CN210966583U (zh) * | 2019-12-03 | 2020-07-10 | 义乌市创伟电器机械有限公司 | 板材冲孔用定位固定装置 |
| CN210996100U (zh) * | 2019-12-02 | 2020-07-14 | 嘉善远景机械有限公司 | 电梯传动部件模具 |
| CN211161461U (zh) * | 2019-08-22 | 2020-08-04 | 宁波蜀旺金属制品有限公司 | 一种管桩端板瞄孔模具 |
-
2020
- 2020-09-25 CN CN202011020664.6A patent/CN112045078B/zh active Active
Patent Citations (7)
| Publication number | Priority date | Publication date | Assignee | Title |
|---|---|---|---|---|
| CN103736861A (zh) * | 2014-01-15 | 2014-04-23 | 晟扬精密模具(昆山)有限公司 | 自动转移产品的冲压模具 |
| CN106734532A (zh) * | 2016-12-08 | 2017-05-31 | 无锡市彩云机械设备有限公司 | 一种铁板的打孔设备 |
| CN210059509U (zh) * | 2019-04-24 | 2020-02-14 | 惠州市亚润科技有限公司 | 一种五金件冲压设备 |
| CN211161461U (zh) * | 2019-08-22 | 2020-08-04 | 宁波蜀旺金属制品有限公司 | 一种管桩端板瞄孔模具 |
| CN210877230U (zh) * | 2019-10-25 | 2020-06-30 | 昆山昱耀电子有限公司 | 一种电子产品内钢片加工用剪切装置 |
| CN210996100U (zh) * | 2019-12-02 | 2020-07-14 | 嘉善远景机械有限公司 | 电梯传动部件模具 |
| CN210966583U (zh) * | 2019-12-03 | 2020-07-10 | 义乌市创伟电器机械有限公司 | 板材冲孔用定位固定装置 |
Cited By (1)
| Publication number | Priority date | Publication date | Assignee | Title |
|---|---|---|---|---|
| CN116984437A (zh) * | 2023-08-01 | 2023-11-03 | 东莞市嘉龙海杰电子科技有限公司 | 一种变压器散热片成型加工装置及其方法 |
Also Published As
| Publication number | Publication date |
|---|---|
| CN112045078B (zh) | 2023-06-02 |
Similar Documents
| Publication | Publication Date | Title |
|---|---|---|
| CN208932514U (zh) | 一种玻璃面板物料自动上下料的装置 | |
| CN119650495A (zh) | 一种半导体晶圆的定位装置 | |
| CN109397061B (zh) | 智能精密抛光机的下工作盘装置 | |
| CN111355507A (zh) | 一种放置稳定的散热效果好的对讲机 | |
| CN112045078A (zh) | 一种手机五金件加工用微型冲压设备 | |
| CN214848513U (zh) | 一种晶圆贴膜机 | |
| CN213010724U (zh) | 一种磁钢组装用下料装置 | |
| CN211660935U (zh) | 一种冲压件取件机械手 | |
| CN218904237U (zh) | 卡扣式模块的自动拆解装置 | |
| CN215245784U (zh) | 一种适于贴膜机的机械手装置 | |
| CN218482288U (zh) | 转塔式不间断自动入膜装置 | |
| CN111618177B (zh) | 防偏移汽车零部件冲压装置 | |
| CN212421300U (zh) | 一种可旋转机械手结构 | |
| CN221677060U (zh) | 一种移动电源外壳压合工装 | |
| CN216328029U (zh) | 压合治具 | |
| CN212122656U (zh) | 一种五金加工用研磨机 | |
| CN216902812U (zh) | 一种双摆臂固晶装置 | |
| CN221164929U (zh) | 一种机器臂配套的真空海绵吸盘 | |
| CN222118071U (zh) | 一种芯片压盖设备的翻转移栽设备 | |
| CN117816860B (zh) | 一种弧面零件冲压设备 | |
| CN218162428U (zh) | 电容触摸箔组装设备 | |
| CN112476485A (zh) | 一种基于新型叶轮机构的凸轮模组 | |
| CN221249056U (zh) | 一种轮胎生产用胎面花纹加工装置 | |
| CN219542255U (zh) | 压力容器上、下封头组合机 | |
| CN219561189U (zh) | 一种冲压机器人用气动机械臂 |
Legal Events
| Date | Code | Title | Description |
|---|---|---|---|
| PB01 | Publication | ||
| PB01 | Publication | ||
| SE01 | Entry into force of request for substantive examination | ||
| SE01 | Entry into force of request for substantive examination | ||
| GR01 | Patent grant | ||
| GR01 | Patent grant |