CN112039254A - 一种具有防水结构便于安装的变速电机 - Google Patents
一种具有防水结构便于安装的变速电机 Download PDFInfo
- Publication number
- CN112039254A CN112039254A CN202010840038.5A CN202010840038A CN112039254A CN 112039254 A CN112039254 A CN 112039254A CN 202010840038 A CN202010840038 A CN 202010840038A CN 112039254 A CN112039254 A CN 112039254A
- Authority
- CN
- China
- Prior art keywords
- equipment
- variable speed
- waterproof
- motor
- speed motor
- Prior art date
- Legal status (The legal status is an assumption and is not a legal conclusion. Google has not performed a legal analysis and makes no representation as to the accuracy of the status listed.)
- Withdrawn
Links
- 238000009434 installation Methods 0.000 claims abstract description 39
- 230000005540 biological transmission Effects 0.000 claims abstract description 19
- 238000007789 sealing Methods 0.000 claims abstract description 12
- 238000010521 absorption reaction Methods 0.000 claims abstract description 11
- 230000017525 heat dissipation Effects 0.000 claims abstract description 11
- 229920000742 Cotton Polymers 0.000 claims abstract description 7
- 230000001681 protective effect Effects 0.000 claims description 33
- 230000005494 condensation Effects 0.000 claims description 8
- 238000009833 condensation Methods 0.000 claims description 8
- 230000000903 blocking effect Effects 0.000 claims description 4
- 230000035939 shock Effects 0.000 abstract description 5
- XLYOFNOQVPJJNP-UHFFFAOYSA-N water Substances O XLYOFNOQVPJJNP-UHFFFAOYSA-N 0.000 abstract description 5
- 230000009286 beneficial effect Effects 0.000 abstract description 2
- 238000013016 damping Methods 0.000 description 9
- 238000010586 diagram Methods 0.000 description 4
- 230000005484 gravity Effects 0.000 description 3
- 238000000034 method Methods 0.000 description 3
- JEIPFZHSYJVQDO-UHFFFAOYSA-N iron(III) oxide Inorganic materials O=[Fe]O[Fe]=O JEIPFZHSYJVQDO-UHFFFAOYSA-N 0.000 description 2
- 239000002699 waste material Substances 0.000 description 2
- 238000004804 winding Methods 0.000 description 2
- 238000010276 construction Methods 0.000 description 1
- 238000001816 cooling Methods 0.000 description 1
- 238000005516 engineering process Methods 0.000 description 1
Images
Classifications
-
- H—ELECTRICITY
- H02—GENERATION; CONVERSION OR DISTRIBUTION OF ELECTRIC POWER
- H02K—DYNAMO-ELECTRIC MACHINES
- H02K5/00—Casings; Enclosures; Supports
- H02K5/04—Casings or enclosures characterised by the shape, form or construction thereof
- H02K5/10—Casings or enclosures characterised by the shape, form or construction thereof with arrangements for protection from ingress, e.g. water or fingers
-
- H—ELECTRICITY
- H02—GENERATION; CONVERSION OR DISTRIBUTION OF ELECTRIC POWER
- H02K—DYNAMO-ELECTRIC MACHINES
- H02K5/00—Casings; Enclosures; Supports
- H02K5/04—Casings or enclosures characterised by the shape, form or construction thereof
- H02K5/20—Casings or enclosures characterised by the shape, form or construction thereof with channels or ducts for flow of cooling medium
-
- H—ELECTRICITY
- H02—GENERATION; CONVERSION OR DISTRIBUTION OF ELECTRIC POWER
- H02K—DYNAMO-ELECTRIC MACHINES
- H02K5/00—Casings; Enclosures; Supports
- H02K5/24—Casings; Enclosures; Supports specially adapted for suppression or reduction of noise or vibrations
-
- H—ELECTRICITY
- H02—GENERATION; CONVERSION OR DISTRIBUTION OF ELECTRIC POWER
- H02K—DYNAMO-ELECTRIC MACHINES
- H02K7/00—Arrangements for handling mechanical energy structurally associated with dynamo-electric machines, e.g. structural association with mechanical driving motors or auxiliary dynamo-electric machines
- H02K7/10—Structural association with clutches, brakes, gears, pulleys or mechanical starters
- H02K7/116—Structural association with clutches, brakes, gears, pulleys or mechanical starters with gears
-
- H—ELECTRICITY
- H02—GENERATION; CONVERSION OR DISTRIBUTION OF ELECTRIC POWER
- H02K—DYNAMO-ELECTRIC MACHINES
- H02K9/00—Arrangements for cooling or ventilating
Landscapes
- Engineering & Computer Science (AREA)
- Power Engineering (AREA)
- Motor Or Generator Frames (AREA)
Abstract
本发明涉及一种具有防水结构便于安装的变速电机,包括防水保护外壳、电机安装板和斜坡压板,所述防水保护外壳的前后两侧设置有安装机构,所述防水保护外壳的右侧安装有散热机构,本发明的有益效果是:该具有防水结构便于安装的变速电机,通过安装机构便于工作人员对设备进行固定安装,从而减少设备安装的时间,提高工作人员的工作效率,通过减震防松机构对设备进行减震,防止设备工作时震动过大损坏设备内部元件,通过防松弹簧使传动齿轮和变速齿轮紧密接触,防止接触松动导致设备无法运行,通过吸音棉对设备内部产生的噪音进行吸收降低,从而减少设备的噪音污染,通过密封罩对设备进行密封,从而防止设备内部有水进入,损坏设备内部的元件。
Description
技术领域
本发明涉及变速电机技术领域,具体为一种具有防水结构便于安装的变速电机。
背景技术
一种旋转式机器,它将电能转变为机械能,它主要包括一个用以产生磁场的电磁 铁绕组或分布的定子绕组和一个旋转电枢或转子,其导线中有电流通过并受磁场的作用而使转动,这些机器中有些类型可作电动机用,在电动机中有一类电机使通过不同的防止达到转速可变这一特性的电机称之为变速电机。
现有的变速电机安装较为繁琐,会浪费工人大量的安装时间,从而降低工人的工程速度,现有的变速电机在工作时会出现震动,影响设备的工作时的稳定,现有的变速电机在变速过程中会出现齿轮对接松动,导致设备无法正常运行,现有的变速电机的噪音过大,会产生一定的噪音污染,使工人感到不适,现有的变速电机容易进水,导致设备内部零件生锈或损坏的问题。
发明内容
本发明的目的在于提供一种具有防水结构便于安装的变速电机,以解决上述背景技术中提出的现有的变速电机安装较为繁琐,会浪费工人大量的安装时间,从而降低工人的工程速度,现有的变速电机在工作时会出现震动,影响设备的工作时的稳定,现有的变速电机在变速过程中会出现齿轮对接松动,导致设备无法正常运行,现有的变速电机的噪音过大,会产生一定的噪音污染,使工人感到不适,现有的变速电机容易进水,导致设备内部零件生锈或损坏的问题。
为实现上述目的,本发明提供如下技术方案:一种具有防水结构便于安装的变速电机,包括防水保护外壳、电机安装板和斜坡压板,所述防水保护外壳的前后两侧设置有安装机构,且安装机构的外部设置有减震防松机构,所述防水保护外壳的右侧安装有散热机构,且散热机构的下方设置有螺丝,所述防水保护外壳的内部安装有驱动电机,且驱动电机的左侧固定有传动齿轮,所述电机安装板位于驱动电机的下方,且电机安装板的下方安装有防松弹簧,所述防松弹簧的下方固定有固定板,且固定板的前后两端设置有定位导杆,所述定位导杆的上下两端固定有导杆连接板,且导杆连接板远离防水保护外壳中轴线的一侧固定有滑块,所述斜坡压板位于电机安装板的前后两侧,且斜坡压板的左侧固定有吸音棉,所述定位导杆远离防水保护外壳中轴线的一侧固定有固定挡板,且固定挡板的右侧安装有多级气缸,所述传动齿轮的上方连接有变速齿轮,且变速齿轮的内部设置有转轴,所述变速齿轮的左右两侧安装有密封罩,且密封罩远离防水保护外壳中轴线的一侧安装有轮轴。
优选的,所述安装机构包括固定块、螺纹连接块、螺纹套、三角卡块和固定销,且固定块的内部设置有螺纹连接块,所述螺纹连接块的下方连接有螺纹套,且螺纹套的下方安装有三角卡块,所述三角卡块的内部设置有固定销。
优选的,所述螺纹套与螺纹连接块之间为螺纹连接,且螺纹套通过固定销与三角卡块相连接。
优选的,所述减震防松机构包括减震弹簧、活动压片,且减震弹簧的下方设置有活动压片。
优选的,所述减震弹簧与活动压片之间构成弹性结构,且活动压片与安装机构之间为活动连接。
优选的,所述散热机构包括冷凝吸热管、抱箍和冷凝机,所述冷凝吸热管的外部设置有抱箍,且冷凝吸热管的下方安装有冷凝机。
优选的,所述防松弹簧与电机安装板之间构成弹性结构,且防松弹簧与固定板之间为固定连接。
优选的,所述定位导杆与电机安装板之间构成滑动结构,且定位导杆与导杆连接板之间为焊接。
优选的,所述滑块与防水保护外壳之间构成滑动结构,且导杆连接板与滑块之间为粘。
优选的,所述转轴通过轮轴与防水保护外壳之间构成旋转结构,且转轴与密封罩之间为活动连接。
与现有技术相比,本发明的有益效果如下:
1、本发明通过螺纹连接块与螺纹套之间的螺纹结构调节三角卡块与固定块之间的距离,从而便于设备的安装,三角卡块与固定销之间为活动连接,从而便于三角卡块收起,便于安装机构插入安装孔中,三角卡块会因重力展开,对设备进行安装固定。
2、本发明通过减震弹簧与活动压片之间构成的弹性结构对设备进行减震,从而保护设备内部的零件,防止设备内部零件因震荡损坏,同时弹性结构能够防止设备安装松动。
3、本发明通过冷凝吸热管吸收设备内部的热量,然后通过冷凝机把设备内部的热量排出,从而达到对设备内部散热的功能,防止设备内部元件因发热损坏。
4、本发明通过防松弹簧与电机安装板之间构成的弹性结构防止驱动电机下坠,导致传动齿轮与变速齿轮无法接触,使设备无法正常工作。
5、本发明通过密封罩和防水保护外壳对设备进行密封,从而防止设备内部进水,从而使设备具有防水功能,设备的防水保护外壳的内部安装有吸音棉,能够吸收设备内部工作时产生的噪音,从而减少设备的噪音污染。
附图说明
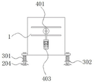
图1为本发明一种具有防水结构便于安装的变速电机的正视剖面结构示意图;
图2为本发明一种具有防水结构便于安装的变速电机的左侧视剖面结构示意图;
图3为本发明一种具有防水结构便于安装的变速电机的右侧视结构示意图;
图4为本发明一种具有防水结构便于安装的变速电机的立体结构示意图;
图5为本发明一种具有防水结构便于安装的变速电机的安装机构立体结构示意图。
图中:1、防水保护外壳;2、安装机构;201、固定块;202、螺纹连接块;203、螺纹套;204、三角卡块;205、固定销;3、减震防松机构;301、减震弹簧;302、活动压片;4、散热机构;401、冷凝吸热管;402、抱箍;403、冷凝机;5、螺丝;6、驱动电机;7、传动齿轮;8、电机安装板;9、防松弹簧;10、固定板;11、定位导杆;12、导杆连接板;13、滑块;14、斜坡压板;15、吸音棉;16、固定挡板;17、多级气缸;18、变速齿轮;19、转轴;20、密封罩;21、轮轴。
具体实施方式
下面将结合本发明实施例中的附图,对本发明实施例中的技术方案进行清楚、完整地描述,显然,所描述的实施例仅仅是本发明一部分实施例,而不是全部的实施例。
在本发明的描述中,除非另有说明,“多个”的含义是两个或两个以上;术语“上”、“下”、“左”、“右”、“内”、“外”、“前端”、“后端”、“头部”、“尾部”等指示的方位或位置关系为基于附图所示的方位或位置关系,仅是为了便于描述本发明和简化描述,而不是指示或暗示所指的装置或元件必须具有特定的方位、以特定的方位构造和操作,因此不能理解为对本发明的限制,此外,术语“第一”、“第二”、“第三”等仅用于描述目的,而不能理解为指示或暗示相对重要性。
在本发明的描述中,需要说明的是,除非另有明确的规定和限定,术语“相连”、“连接”应做广义理解,例如,可以是固定连接,也可以是可拆卸连接,或一体地连接;可以是机械连接,也可以是电连接;可以是直接相连,也可以通过中间媒介间接相连,对于本领域的普通技术人员而言,可以具体情况理解上述术语在本发明中的具体含义。
请参阅图1-5,本发明提供一种技术方案:一种具有防水结构便于安装的变速电机,包括防水保护外壳1、电机安装板8和斜坡压板14,防水保护外壳1的前后两侧设置有安装机构2,且安装机构2的外部设置有减震防松机构3,安装机构2包括固定块201、螺纹连接块202、螺纹套203、三角卡块204和固定销205,且固定块201的内部设置有螺纹连接块202,螺纹连接块202的下方连接有螺纹套203,且螺纹套203的下方安装有三角卡块204,三角卡块204的内部设置有固定销205,螺纹套203与螺纹连接块202之间为螺纹连接,且螺纹套203通过固定销205与三角卡块204相连接,通过螺纹连接块202与螺纹套203之间的螺纹结构调节三角卡块204与固定块201之间的距离,从而便于设备的安装,三角卡块204与固定销205之间为活动连接,从而便于三角卡块204收起,便于安装机构2插入安装孔中,三角卡块204会因重力展开,对设备进行安装固定。
减震防松机构3包括减震弹簧301、活动压片302,且减震弹簧301的下方设置有活动压片302,减震弹簧301与活动压片302之间构成弹性结构,且活动压片302与安装机构2之间为活动连接,通过减震弹簧301与活动压片302之间构成的弹性结构对设备进行减震,从而保护设备内部的零件,防止设备内部零件因震荡损坏,同时弹性结构能够防止设备安装松动。
防水保护外壳1的右侧安装有散热机构4,且散热机构4的下方设置有螺丝5,散热机构4包括冷凝吸热管401、抱箍402和冷凝机403,冷凝吸热管401的外部设置有抱箍402,且冷凝吸热管401的下方安装有冷凝机403,通过冷凝吸热管401吸收设备内部的热量,然后通过冷凝机403把设备内部的热量排出,从而达到对设备内部散热的功能,防止设备内部元件因发热损坏。
防水保护外壳1的内部安装有驱动电机6,且驱动电机6的左侧固定有传动齿轮7,电机安装板8位于驱动电机6的下方,且电机安装板8的下方安装有防松弹簧9,防松弹簧9与电机安装板8之间构成弹性结构,且防松弹簧9与固定板10之间为固定连接,通过防松弹簧9与电机安装板8之间构成的弹性结构防止驱动电机6下坠,导致传动齿轮7与变速齿轮18无法接触,使设备无法正常工作。
防松弹簧9的下方固定有固定板10,且固定板10的前后两端设置有定位导杆11,定位导杆11与电机安装板8之间构成滑动结构,且定位导杆11与导杆连接板12之间为焊接,定位导杆11的上下两端固定有导杆连接板12,且导杆连接板12远离防水保护外壳1中轴线的一侧固定有滑块13,滑块13与防水保护外壳1之间构成滑动结构,且导杆连接板12与滑块13之间为粘,斜坡压板14位于电机安装板8的前后两侧,且斜坡压板14的左侧固定有吸音棉15,定位导杆11远离防水保护外壳1中轴线的一侧固定有固定挡板16,且固定挡板16的右侧安装有多级气缸17,传动齿轮7的上方连接有变速齿轮18,且变速齿轮18的内部设置有转轴19,变速齿轮18的左右两侧安装有密封罩20,且密封罩20远离防水保护外壳1中轴线的一侧安装有轮轴21,转轴19通过轮轴21与防水保护外壳1之间构成旋转结构,且转轴19与密封罩20之间为活动连接,通过密封罩20和防水保护外壳1对设备进行密封,从而防止设备内部进水,从而使设备具有防水功能,设备的防水保护外壳1的内部安装有吸音棉15,能够吸收设备内部工作时产生的噪音,从而减少设备的噪音污染。
综上,该具有防水结构便于安装的变速电机,使用时,通过把螺纹套203插入到安装孔中,三角卡块204由重力展开,通过螺纹连接块202与螺纹套203之间的螺纹连接调节安装机构2的长度,从而对设备进行安装固定,通过减震弹簧301与活动压片302之间构成的弹性结构防止设备安装处松动的同时也能够对设备进行减震,打开冷凝机403,通过抱箍402固定的冷凝吸热管401对设备进行降温,打开驱动电机6从而带动传动齿轮7旋转,通过变速齿轮18,使传动齿轮7带动通过转轴19与防水保护外壳1之间构成旋转结构的轮轴21旋转,从而使设备带动其他设备工作,打开多级气缸17,通过固定挡板16推动驱动电机6左右移动,从而使传动齿轮7靠近不同大小的变速齿轮18实现变速,通过滑块13与防水保护外壳1之间构成的滑动结构对导杆连接板12进行定位,从而对定位导杆11进行固定,通过定位导杆11与电机安装板8之间构成的滑动结构对驱动电机6进行定位,通过斜坡压板14使电机安装板8在左右移动的同时会进行上下移动,从而使传动齿轮7能够和变速齿轮18进行啮合,实现变速,通过防松弹簧9与电机安装板8之间构成的弹性结构方式传动齿轮7与变速齿轮18之间的接触松动,使设备无法运行,该设备通过密封罩20对设备进行密封,该设备通过吸音棉15对设备进行吸音降噪,该设备多级气缸17的型号为LS-047。
以上所述,仅为本发明较佳的具体实施方式,但本发明的保护范围并不局限于此,任何熟悉本技术领域的技术人员在本发明揭露的技术范围内,根据本发明的技术方案及其发明构思加以等同替换或改变,都应涵盖在本发明的保护范围之内。
Claims (10)
1.一种具有防水结构便于安装的变速电机,包括防水保护外壳(1)、电机安装板(8)和斜坡压板(14),其特征在于:所述防水保护外壳(1)的前后两侧设置有安装机构(2),且安装机构(2)的外部设置有减震防松机构(3),所述防水保护外壳(1)的右侧安装有散热机构(4),且散热机构(4)的下方设置有螺丝(5),所述防水保护外壳(1)的内部安装有驱动电机(6),且驱动电机(6)的左侧固定有传动齿轮(7),所述电机安装板(8)位于驱动电机(6)的下方,且电机安装板(8)的下方安装有防松弹簧(9),所述防松弹簧(9)的下方固定有固定板(10),且固定板(10)的前后两端设置有定位导杆(11),所述定位导杆(11)的上下两端固定有导杆连接板(12),且导杆连接板(12)远离防水保护外壳(1)中轴线的一侧固定有滑块(13),所述斜坡压板(14)位于电机安装板(8)的前后两侧,且斜坡压板(14)的左侧固定有吸音棉(15),所述定位导杆(11)远离防水保护外壳(1)中轴线的一侧固定有固定挡板(16),且固定挡板(16)的右侧安装有多级气缸(17),所述传动齿轮(7)的上方连接有变速齿轮(18),且变速齿轮(18)的内部设置有转轴(19),所述变速齿轮(18)的左右两侧安装有密封罩(20),且密封罩(20)远离防水保护外壳(1)中轴线的一侧安装有轮轴(21)。
2.根据权利要求1所述的一种具有防水结构便于安装的变速电机,其特征在于:所述安装机构(2)包括固定块(201)、螺纹连接块(202)、螺纹套(203)、三角卡块(204)和固定销(205),且固定块(201)的内部设置有螺纹连接块(202),所述螺纹连接块(202)的下方连接有螺纹套(203),且螺纹套(203)的下方安装有三角卡块(204),所述三角卡块(204)的内部设置有固定销(205)。
3.根据权利要求2所述的一种具有防水结构便于安装的变速电机,其特征在于:所述螺纹套(203)与螺纹连接块(202)之间为螺纹连接,且螺纹套(203)通过固定销(205)与三角卡块(204)相连接。
4.根据权利要求1所述的一种具有防水结构便于安装的变速电机,其特征在于:所述减震防松机构(3)包括减震弹簧(301)、活动压片(302),且减震弹簧(301)的下方设置有活动压片(302)。
5.根据权利要求4所述的一种具有防水结构便于安装的变速电机,其特征在于:所述减震弹簧(301)与活动压片(302)之间构成弹性结构,且活动压片(302)与安装机构(2)之间为活动连接。
6.根据权利要求1所述的一种具有防水结构便于安装的变速电机,其特征在于:所述散热机构(4)包括冷凝吸热管(401)、抱箍(402)和冷凝机(403),所述冷凝吸热管(401)的外部设置有抱箍(402),且冷凝吸热管(401)的下方安装有冷凝机(403)。
7.根据权利要求1所述的一种具有防水结构便于安装的变速电机,其特征在于:所述防松弹簧(9)与电机安装板(8)之间构成弹性结构,且防松弹簧(9)与固定板(10)之间为固定连接。
8.根据权利要求1所述的一种具有防水结构便于安装的变速电机,其特征在于:所述定位导杆(11)与电机安装板(8)之间构成滑动结构,且定位导杆(11)与导杆连接板(12)之间为焊接。
9.根据权利要求1所述的一种具有防水结构便于安装的变速电机,其特征在于:所述滑块(13)与防水保护外壳(1)之间构成滑动结构,且导杆连接板(12)与滑块(13)之间为粘接。
10.根据权利要求1所述的一种具有防水结构便于安装的变速电机,其特征在于:所述转轴(19)通过轮轴(21)与防水保护外壳(1)之间构成旋转结构,且转轴(19)与密封罩(20)之间为活动连接。
Priority Applications (1)
| Application Number | Priority Date | Filing Date | Title |
|---|---|---|---|
| CN202010840038.5A CN112039254A (zh) | 2020-08-20 | 2020-08-20 | 一种具有防水结构便于安装的变速电机 |
Applications Claiming Priority (1)
| Application Number | Priority Date | Filing Date | Title |
|---|---|---|---|
| CN202010840038.5A CN112039254A (zh) | 2020-08-20 | 2020-08-20 | 一种具有防水结构便于安装的变速电机 |
Publications (1)
| Publication Number | Publication Date |
|---|---|
| CN112039254A true CN112039254A (zh) | 2020-12-04 |
Family
ID=73578551
Family Applications (1)
| Application Number | Title | Priority Date | Filing Date |
|---|---|---|---|
| CN202010840038.5A Withdrawn CN112039254A (zh) | 2020-08-20 | 2020-08-20 | 一种具有防水结构便于安装的变速电机 |
Country Status (1)
| Country | Link |
|---|---|
| CN (1) | CN112039254A (zh) |
Cited By (3)
| Publication number | Priority date | Publication date | Assignee | Title |
|---|---|---|---|---|
| CN113306378A (zh) * | 2021-07-07 | 2021-08-27 | 徐州铭尊机电有限公司 | 一种电动车用减震电机安装结构 |
| CN118694066A (zh) * | 2024-06-27 | 2024-09-24 | 晶硕光电科技(山东)有限公司 | 一种具有防水结构的电动车电机 |
| CN119420091A (zh) * | 2024-09-29 | 2025-02-11 | 江苏欧邦电机制造有限公司 | 一种节能型无刷直流行星齿轮减速电机 |
-
2020
- 2020-08-20 CN CN202010840038.5A patent/CN112039254A/zh not_active Withdrawn
Cited By (3)
| Publication number | Priority date | Publication date | Assignee | Title |
|---|---|---|---|---|
| CN113306378A (zh) * | 2021-07-07 | 2021-08-27 | 徐州铭尊机电有限公司 | 一种电动车用减震电机安装结构 |
| CN118694066A (zh) * | 2024-06-27 | 2024-09-24 | 晶硕光电科技(山东)有限公司 | 一种具有防水结构的电动车电机 |
| CN119420091A (zh) * | 2024-09-29 | 2025-02-11 | 江苏欧邦电机制造有限公司 | 一种节能型无刷直流行星齿轮减速电机 |
Similar Documents
| Publication | Publication Date | Title |
|---|---|---|
| CN112039254A (zh) | 一种具有防水结构便于安装的变速电机 | |
| CN108711998B (zh) | 一种便于散热的电机 | |
| CN207968208U (zh) | 一种减震散热电机 | |
| CN115118070B (zh) | 一种可智能化自动减震的永磁电机 | |
| CN211239512U (zh) | 一种电机防虫外壳 | |
| CN113504819B (zh) | 一种计算机主机用高效散热风扇 | |
| CN210693695U (zh) | 一种电机设备外设型降温装置 | |
| CN106784453A (zh) | 一种新能源电池散热防震装置 | |
| CN214543944U (zh) | 一种机电用抗震散热装置 | |
| CN212726668U (zh) | 一种具有防水结构便于安装的变速电机 | |
| CN210137253U (zh) | 一种煤矿机电用过热保护装置 | |
| CN219181308U (zh) | 一种新能源工程车用降噪式稀土永磁电机 | |
| CN113765284B (zh) | 一种外接隔爆型电机散热器 | |
| CN218829480U (zh) | 一种具有过热保护的单相异步电机 | |
| CN211344476U (zh) | 一种三相异步电机用减震支撑结构 | |
| CN217984716U (zh) | 一种机电一体化的微电机保护装置 | |
| CN210832444U (zh) | 一种用于蒸发式冷气机的变频控制装置 | |
| CN211320706U (zh) | 一种多功能电力设备箱 | |
| CN115498814A (zh) | 一种永磁低速同步电机 | |
| CN223854816U (zh) | 一种风机齿轮箱空气滤网保护装置 | |
| CN221697410U (zh) | 一种建筑外墙打孔装置 | |
| CN222497287U (zh) | 一种多功能燃气轮机叶片防磨损保护结构 | |
| CN113746010A (zh) | 一种输电线路铁塔上设备的供电装置 | |
| CN215186298U (zh) | 一种电动三轮车用电机避震装置 | |
| CN218301081U (zh) | 一种曲轴散热型永磁力矩电机 |
Legal Events
| Date | Code | Title | Description |
|---|---|---|---|
| PB01 | Publication | ||
| PB01 | Publication | ||
| SE01 | Entry into force of request for substantive examination | ||
| SE01 | Entry into force of request for substantive examination | ||
| WW01 | Invention patent application withdrawn after publication |
Application publication date: 20201204 |
|
| WW01 | Invention patent application withdrawn after publication |