CN112018661A - Transmission line pulls device based on many rotor unmanned aerial vehicle - Google Patents
Transmission line pulls device based on many rotor unmanned aerial vehicle Download PDFInfo
- Publication number
- CN112018661A CN112018661A CN202011020128.6A CN202011020128A CN112018661A CN 112018661 A CN112018661 A CN 112018661A CN 202011020128 A CN202011020128 A CN 202011020128A CN 112018661 A CN112018661 A CN 112018661A
- Authority
- CN
- China
- Prior art keywords
- sleeve
- rod
- shaft
- traction
- fixed
- Prior art date
- Legal status (The legal status is an assumption and is not a legal conclusion. Google has not performed a legal analysis and makes no representation as to the accuracy of the status listed.)
- Pending
Links
Images
Classifications
-
- H—ELECTRICITY
- H02—GENERATION; CONVERSION OR DISTRIBUTION OF ELECTRIC POWER
- H02G—INSTALLATION OF ELECTRIC CABLES OR LINES, OR OF COMBINED OPTICAL AND ELECTRIC CABLES OR LINES
- H02G1/00—Methods or apparatus specially adapted for installing, maintaining, repairing or dismantling electric cables or lines
- H02G1/02—Methods or apparatus specially adapted for installing, maintaining, repairing or dismantling electric cables or lines for overhead lines or cables
-
- B—PERFORMING OPERATIONS; TRANSPORTING
- B64—AIRCRAFT; AVIATION; COSMONAUTICS
- B64C—AEROPLANES; HELICOPTERS
- B64C25/00—Alighting gear
- B64C25/02—Undercarriages
-
- B—PERFORMING OPERATIONS; TRANSPORTING
- B64—AIRCRAFT; AVIATION; COSMONAUTICS
- B64C—AEROPLANES; HELICOPTERS
- B64C27/00—Rotorcraft; Rotors peculiar thereto
- B64C27/04—Helicopters
- B64C27/08—Helicopters with two or more rotors
-
- B—PERFORMING OPERATIONS; TRANSPORTING
- B64—AIRCRAFT; AVIATION; COSMONAUTICS
- B64D—EQUIPMENT FOR FITTING IN OR TO AIRCRAFT; FLIGHT SUITS; PARACHUTES; ARRANGEMENT OR MOUNTING OF POWER PLANTS OR PROPULSION TRANSMISSIONS IN AIRCRAFT
- B64D47/00—Equipment not otherwise provided for
-
- B—PERFORMING OPERATIONS; TRANSPORTING
- B64—AIRCRAFT; AVIATION; COSMONAUTICS
- B64D—EQUIPMENT FOR FITTING IN OR TO AIRCRAFT; FLIGHT SUITS; PARACHUTES; ARRANGEMENT OR MOUNTING OF POWER PLANTS OR PROPULSION TRANSMISSIONS IN AIRCRAFT
- B64D9/00—Equipment for handling freight; Equipment for facilitating passenger embarkation or the like
-
- B—PERFORMING OPERATIONS; TRANSPORTING
- B65—CONVEYING; PACKING; STORING; HANDLING THIN OR FILAMENTARY MATERIAL
- B65D—CONTAINERS FOR STORAGE OR TRANSPORT OF ARTICLES OR MATERIALS, e.g. BAGS, BARRELS, BOTTLES, BOXES, CANS, CARTONS, CRATES, DRUMS, JARS, TANKS, HOPPERS, FORWARDING CONTAINERS; ACCESSORIES, CLOSURES, OR FITTINGS THEREFOR; PACKAGING ELEMENTS; PACKAGES
- B65D25/00—Details of other kinds or types of rigid or semi-rigid containers
- B65D25/02—Internal fittings
-
- B—PERFORMING OPERATIONS; TRANSPORTING
- B65—CONVEYING; PACKING; STORING; HANDLING THIN OR FILAMENTARY MATERIAL
- B65D—CONTAINERS FOR STORAGE OR TRANSPORT OF ARTICLES OR MATERIALS, e.g. BAGS, BARRELS, BOTTLES, BOXES, CANS, CARTONS, CRATES, DRUMS, JARS, TANKS, HOPPERS, FORWARDING CONTAINERS; ACCESSORIES, CLOSURES, OR FITTINGS THEREFOR; PACKAGING ELEMENTS; PACKAGES
- B65D85/00—Containers, packaging elements or packages, specially adapted for particular articles or materials
- B65D85/68—Containers, packaging elements or packages, specially adapted for particular articles or materials for machines, engines or vehicles in assembled or dismantled form
Landscapes
- Engineering & Computer Science (AREA)
- Aviation & Aerospace Engineering (AREA)
- Mechanical Engineering (AREA)
- Power-Operated Mechanisms For Wings (AREA)
Abstract
本发明公开了一种基于多旋翼无人机的输电线路拖拽装置,包括无人机本体和位于无人机本体底部一组相对的支撑架,所述无人机本体内底部开有收纳腔,收纳腔内设有收纳机构,所述收纳腔内活动安装有固定套筒,固定套筒内设有防缠绕机构,所述固定套筒底部活动安装有安装套筒,安装套筒内设有牵引机构。本发明的有益效果是,收纳机构可对无人机底部的输电线路拖拽装置进行收纳,便于无人机的存储和运输,防缠绕机构可以防止无人机在进行飞行时,牵引绳缠绕在无人机上现象,牵引机构可对牵引绳进行牵引,且具有自动脱线功能,防止无人机因承受拉力过大导致故障、摔机等情况。
The invention discloses a power transmission line dragging device based on a multi-rotor unmanned aerial vehicle. , a receiving mechanism is arranged in the receiving cavity, a fixing sleeve is movably installed in the receiving cavity, an anti-winding mechanism is arranged in the fixing sleeve, a mounting sleeve is movably installed at the bottom of the fixing sleeve, and the installation sleeve is provided with traction mechanism. The beneficial effect of the present invention is that the storage mechanism can store the power transmission line dragging device at the bottom of the drone, which is convenient for the storage and transportation of the drone, and the anti-winding mechanism can prevent the traction rope from being wound on the drone when the drone is flying. In the phenomenon on the drone, the traction mechanism can pull the traction rope, and has the function of automatic off-line to prevent the drone from being damaged or falling due to excessive pulling force.
Description
技术领域technical field
本发明涉及无人机领域,具体为一种基于多旋翼无人机的输电线路拖拽装置。The invention relates to the field of unmanned aerial vehicles, in particular to a transmission line dragging device based on a multi-rotor unmanned aerial vehicle.
背景技术Background technique
无人驾驶飞机简称“无人机”,是利用无线电遥控设备和自备的程序控制装置操纵的不载人飞机。机上无驾驶舱,但安装有自动驾驶仪、程序控制装置等设备。地面、舰艇上或母机遥控站人员通过雷达等设备,对其进行跟踪、定位、遥控、遥测和数字传输。可在无线电遥控下像普通飞机一样起飞或用助推火箭发射升空,也可由母机带到空中投放飞行。回收时,可用与普通飞机着陆过程一样的方式自动着陆,也可通过遥控用降落伞或拦网回收。可反复使用多次。广泛用于空中侦察、监视、通信、反潜、电子干扰等。Unmanned aircraft, referred to as "UAV", is an unmanned aircraft operated by radio remote control equipment and self-provided program control devices. There is no cockpit on the plane, but it is equipped with autopilot, program control devices and other equipment. The personnel on the ground, on the ship or in the remote control station of the mother machine use radar and other equipment to track, locate, remote control, telemetry and digital transmission. It can take off like an ordinary plane under radio remote control or launch it with a booster rocket, or it can be brought into the air by the mother plane for flight. When it is recovered, it can be automatically landed in the same way as the landing process of ordinary aircraft, or it can be recovered by remote control with parachute or block. Can be used multiple times. Widely used in air reconnaissance, surveillance, communication, anti-submarine, electronic jamming, etc.
无人机电力架线运用于各种严重的自然灾害后,第一时间让无人机飞入电力事故区域进行监测,赢取抢修时间和电力拉线作业中。电力架线无人机架设电力线缆的时候经常出现牵引绳缠绕在无人机上和无人机因承受拉力过大导致故障、摔机等情况,且超高压输电线路一般长度为数十或数百公里不等,巡视到每一基杆塔后需悬停或绕杆塔盘旋数周,便于多角度观察,因此,要求飞行器必须具有较好的续航能力。UAV power wiring is used in various serious natural disasters, and the drone will fly into the power accident area for monitoring at the first time, so as to win the repair time and power cable operation. When the UAV is erecting the power cable, the traction rope is often wrapped around the UAV, and the UAV may fail or fall due to excessive tension, and the length of the ultra-high voltage transmission line is generally tens or several tens of meters. The distance varies from 100 kilometers. After patrolling each base tower, it needs to hover or circle around the tower for several times, which is convenient for multi-angle observation. Therefore, the aircraft must have good endurance.
发明内容SUMMARY OF THE INVENTION
针对以上缺陷,本发明提供一种基于多旋翼无人机的输电线路拖拽装置,以解决多旋翼无人机的输电线路拖拽问题。In view of the above defects, the present invention provides a transmission line dragging device based on a multi-rotor unmanned aerial vehicle, so as to solve the transmission line dragging problem of the multi-rotor unmanned aerial vehicle.
为实现上述目的,本发明采用以下技术方案:To achieve the above object, the present invention adopts the following technical solutions:
一种基于多旋翼无人机的输电线路拖拽装置,包括无人机本体和位于无人机本体底部一组相对的支撑架,所述无人机本体内底部开有收纳腔,收纳腔内设有收纳机构,所述收纳腔内活动安装有固定套筒,固定套筒内设有防缠绕机构,所述固定套筒底部活动安装有安装套筒,安装套筒内设有牵引机构;A transmission line dragging device based on a multi-rotor unmanned aerial vehicle, comprising an unmanned aerial vehicle body and a set of opposite support brackets located at the bottom of the unmanned aerial vehicle body. A storage mechanism is provided, a fixed sleeve is movably installed in the storage cavity, an anti-winding mechanism is arranged in the fixed sleeve, an installation sleeve is movably installed at the bottom of the fixed sleeve, and a traction mechanism is arranged in the installation sleeve;
收纳机构包括固定端轴一、电动推杆、固定端轴二、连接杆一、铰接座、固定端轴三、连接杆二、舱门以及连接杆三,所述固定端轴一安装在收纳腔内上端一侧,所述电动推杆活动活动铰接在固定端轴一上,所述固定端轴二安装在固定端轴一底部一侧,所述连接杆一后端活动铰接在固定端轴二上,所述铰接座活动铰接在收纳腔内另一侧,且呈倒T型,所述固定端轴三安装在铰接座底部一侧,所述连接杆二呈L型,且一端与固定端轴三活动铰接另一端分别与电动推杆伸缩端和连接杆一前端活动铰接,所述舱门活动铰接在收纳腔内底部,所述连接杆三一端与舱门活动铰接,且另一端与固定端轴三后端活动铰接;The storage mechanism includes a fixed end shaft 1, an electric push rod, a fixed end shaft 2, a connecting rod 1, a hinge seat, a fixed end shaft 3, a connecting rod 2, a hatch door and a connecting rod 3, and the fixed end shaft 1 is installed in the storage cavity. On the inner and upper end side, the electric push rod is hinged on the fixed end shaft 1, the fixed end shaft 2 is installed on the bottom side of the fixed end shaft 1, and the rear end of the connecting rod is hinged on the fixed end shaft 2. On the upper side, the hinge seat is hinged on the other side of the storage cavity, and is in an inverted T shape, the fixed end shaft 3 is installed on one side of the bottom of the hinge seat, and the connecting rod 2 is L-shaped, and one end is connected to the fixed end. The other end of the three-axis living hinge is hinged with the telescopic end of the electric push rod and the front end of the connecting rod respectively. The three rear ends of the fixed end shaft are hinged;
防缠绕机构包括一组相对的固定杆、双轴电机、转动杆、绕线轮、钢丝连接绳、皮带轮一、传动轴、皮带轮二、传动皮带、传动齿轮、滑动套筒、一组相对的齿条、驱动杆、从动齿轮以及一组矩形齿轮,一组相对的固定杆安装在铰接座底部两侧,且与固定套筒上端连接,所述双轴电机水平安装在固定套筒上一端,所述转动杆安装在双轴电机前端旋转轴上,所述绕线轮安装在转动杆上,所述钢丝连接绳缠绕在绕线轮上,且底部与安装套筒连接,所述皮带轮一安装在双轴电机后端旋转轴上,所述传动轴活动安装在固定套筒一侧,所述皮带轮二安装在传动轴前端,所述传动皮带套装在皮带轮一和皮带轮二上,所述传动齿轮安装在传动轴上,所述滑动套筒活动套装在固定套筒内,且底部伸出固定套筒,一组相对的齿条安装在滑动套筒后端两侧,所述驱动杆活动插装在固定套筒内,且前端伸出固定套筒,所述从动齿轮安装在驱动杆前端,且与传动齿轮互相啮合,一组矩形齿轮安装在驱动杆上,且分别与一组相对的齿条互相啮合;The anti-winding mechanism includes a set of relatively fixed rods, a double-shaft motor, a rotating rod, a reel, a steel wire connecting rope, a pulley, a transmission shaft, a second pulley, a transmission belt, a transmission gear, a sliding sleeve, and a set of opposed teeth. bar, driving rod, driven gear and a set of rectangular gears, a set of opposite fixing rods are installed on both sides of the bottom of the hinge seat, and are connected with the upper end of the fixing sleeve, the biaxial motor is horizontally installed on one end of the fixing sleeve, The rotating rod is installed on the rotating shaft of the front end of the biaxial motor, the reel is installed on the rotating rod, the wire connecting rope is wound on the reel, and the bottom is connected with the installation sleeve, the pulley is installed once On the rotating shaft at the rear end of the biaxial motor, the transmission shaft is movably installed on one side of the fixed sleeve, the second pulley is installed at the front end of the transmission shaft, the transmission belt is sleeved on the first and second pulleys, and the transmission gear Installed on the transmission shaft, the sliding sleeve is movably sleeved in the fixed sleeve, and the bottom extends out of the fixed sleeve, a group of opposite racks are installed on both sides of the rear end of the sliding sleeve, and the driving rod is movably inserted Inside the fixed sleeve, and the front end protrudes from the fixed sleeve, the driven gear is installed at the front end of the driving rod and meshes with the transmission gear, a group of rectangular gears are installed on the driving rod, and are respectively connected with a group of opposite gears the strips mesh with each other;
牵引机构包括拉力传感器、拉力弹簧、牵引安装块、矩形凹槽、牵引杆、驱动电机、驱动杆以及拉动杆,所述拉力传感器安装在安装套筒内顶部,所述拉力弹簧安装在拉力传感器底部,所述牵引安装块安装在拉力弹簧底部,所述矩形凹槽开在牵引安装块底部一侧,所述牵引杆活动插装在矩形凹槽内,且后端伸出矩形凹槽,所述驱动电机安装在牵引安装块内,所述驱动杆安装在驱动电机旋转端上,所述拉动杆一端与牵引杆活动铰接,且另一端与驱动杆后端活动铰接。The traction mechanism includes a tension sensor, a tension spring, a traction mounting block, a rectangular groove, a traction rod, a driving motor, a driving rod and a traction rod. The tension sensor is installed at the top of the installation sleeve, and the tension spring is installed at the bottom of the tension sensor. , the traction mounting block is installed at the bottom of the tension spring, the rectangular groove is opened on one side of the bottom of the traction mounting block, the traction rod is movably inserted in the rectangular groove, and the rear end protrudes from the rectangular groove, the The driving motor is installed in the traction mounting block, the driving rod is installed on the rotating end of the driving motor, one end of the pulling rod is articulated with the traction rod, and the other end is articulated with the rear end of the driving rod.
进一步的,所述固定套筒内前端开有滑槽一,滑动套筒前端通过滑块滑动安装在滑槽一上。Further, the inner front end of the fixed sleeve is provided with a first chute, and the front end of the sliding sleeve is slidably installed on the first chute through a slider.
进一步的,所述传动齿轮尺寸小于从动齿轮尺寸。Further, the size of the transmission gear is smaller than that of the driven gear.
进一步的,所述安装套筒上端开有与滑动套筒相对应的圆形插装槽。Further, the upper end of the installation sleeve is provided with a circular insertion groove corresponding to the sliding sleeve.
进一步的,所述安装套筒内开有一组相对的滑槽二,牵引安装块两侧通过滑块滑动安装在滑槽二上。Further, a set of opposite chute two is opened in the installation sleeve, and both sides of the traction mounting block are slidably installed on the two chute through the slider.
进一步的,所述拉力传感器上安装有信号传输器,所述驱动电机一侧安装有信号接收器。Further, a signal transmitter is installed on the tension sensor, and a signal receiver is installed on one side of the drive motor.
进一步的,所述牵引杆上悬挂有牵引绳。Further, a traction rope is suspended on the traction rod.
本发明提供了一种基于多旋翼无人机的输电线路拖拽装置,具备以下有益效果,通过位于收纳腔内的收纳机构可对无人机底部的输电线路拖拽装置进行收纳,便于无人机的存储和运输,当无人机架线完成返航时,底部的输电线路拖拽装置自动收纳入收纳腔内,从而减小无人机飞行的空气阻力,一定程度上提高无人机的续航能力,防缠绕机构可以防止无人机在进行飞行时,牵引绳缠绕在无人机上现象,牵引机构可对牵引绳进行牵引,且具有自动脱线功能,防止无人机因承受拉力过大导致故障、摔机等情况。The present invention provides a transmission line dragging device based on a multi-rotor unmanned aerial vehicle, which has the following beneficial effects. The storage and transportation of the UAV, when the UAV is wired to complete the return flight, the transmission line dragging device at the bottom is automatically received into the storage cavity, thereby reducing the air resistance of the UAV flying and improving the endurance of the UAV to a certain extent. The anti-winding mechanism can prevent the traction rope from being entangled on the drone when the drone is flying. The traction mechanism can pull the traction rope and has an automatic off-line function to prevent the drone from being caused by excessive pulling force. malfunction, crash, etc.
附图说明Description of drawings
图1为本发明所述一种基于多旋翼无人机的输电线路拖拽装置示意图。FIG. 1 is a schematic diagram of a transmission line towing device based on a multi-rotor UAV according to the present invention.
图2为本发明所述防缠绕机构示意图。FIG. 2 is a schematic diagram of the anti-winding mechanism according to the present invention.
图3为本发明所述牵引机构示意图。FIG. 3 is a schematic diagram of the traction mechanism according to the present invention.
图4为本发明所述滑槽一示意图。FIG. 4 is a schematic diagram of the chute according to the present invention.
图5为本发明所述一种基于多旋翼无人机的输电线路拖拽装置收纳示意图。FIG. 5 is a schematic diagram of storage of a transmission line dragging device based on a multi-rotor UAV according to the present invention.
图6为本发明所述收纳机构展开示意图。FIG. 6 is a schematic diagram of the unfolding of the storage mechanism according to the present invention.
图7为本发明所述收纳机构闭合示意图。FIG. 7 is a closed schematic diagram of the storage mechanism according to the present invention.
图8为本发明所述牵引机构收纳示意图。FIG. 8 is a schematic diagram of storage of the traction mechanism according to the present invention.
图9为本发明所述一种基于多旋翼无人机的输电线路拖拽装置展开示意图。FIG. 9 is a schematic diagram showing the development of a transmission line towing device based on a multi-rotor UAV according to the present invention.
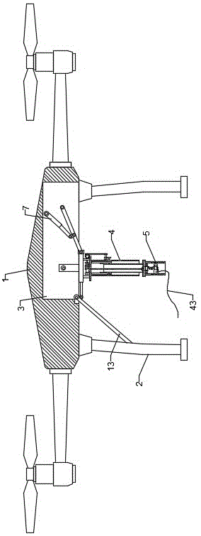
图中:1、无人机本体;2、支撑架;3、收纳腔;4、固定套筒;5、安装套筒;6、固定端轴一;7、电动推杆;8、固定端轴二;9、连接杆一;10、铰接座;11、固定端轴三;12、连接杆二;13、舱门;14、连接杆三;15、固定杆;16、双轴电机;17、转动杆;18、绕线轮;19、钢丝连接绳;20、皮带轮一;21、传动轴;22、皮带轮二;23、传动皮带;24、传动齿轮;25、滑动套筒;26、齿条;27、驱动杆;28、从动齿轮;29、矩形齿轮;30、拉力传感器;31、拉力弹簧;32、牵引安装块;33、矩形凹槽;34、牵引杆;35、驱动电机;36、驱动杆;37、拉动杆;38、滑槽一;39、圆形插装槽;40、滑槽二;41、信号传输器;42、信号接收器;43、牵引绳。In the picture: 1. UAV body; 2. Support frame; 3. Storage cavity; 4. Fixed sleeve; 5. Installation sleeve; 6. Fixed end shaft 1; 7. Electric push rod; 8. Fixed end shaft Two; 9, connecting rod one; 10, hinge seat; 11, fixed end shaft three; 12, connecting rod two; 13, hatch; 14, connecting rod three; 15, fixed rod; 16, biaxial motor; 17, Rotating rod; 18, reel; 19, steel wire connecting rope; 20, pulley one; 21, drive shaft; 22, pulley two; 23, drive belt; 24, drive gear; 25, sliding sleeve; 26, rack ;27, drive rod; 28, driven gear; 29, rectangular gear; 30, tension sensor; 31, tension spring; 32, traction mounting block; 33, rectangular groove; 34, traction rod; 35, drive motor; 36 , drive rod; 37, pull rod; 38, chute one; 39, circular insertion slot; 40, chute two; 41, signal transmitter; 42, signal receiver; 43, traction rope.
具体实施方式Detailed ways
下面结合附图对本发明进行具体描述,如图1-9所示:一种基于多旋翼无人机的输电线路拖拽装置,包括无人机本体1和位于无人机本体1底部一组相对的支撑架2,所述无人机本体1内底部开有收纳腔3,收纳腔3内设有收纳机构,所述收纳腔3内活动安装有固定套筒4,固定套筒4内设有防缠绕机构,所述固定套筒4底部活动安装有安装套筒5,安装套筒5内设有牵引机构;The present invention will be described in detail below in conjunction with the accompanying drawings, as shown in Figures 1-9: a transmission line dragging device based on a multi-rotor unmanned aerial vehicle, comprising an unmanned aerial vehicle body 1 and a group of relative positions at the bottom of the unmanned aerial vehicle body 1 The support frame 2 of the drone body 1 is provided with a receiving cavity 3 at the inner bottom, and a receiving mechanism is arranged in the receiving cavity 3. A
收纳机构包括固定端轴一6、电动推杆7、固定端轴二8、连接杆一9、铰接座10、固定端轴三11、连接杆二12、舱门13以及连接杆三14,所述固定端轴一6安装在收纳腔3内上端一侧,所述电动推杆7活动活动铰接在固定端轴一6上,所述固定端轴二8安装在固定端轴一6底部一侧,所述连接杆一9后端活动铰接在固定端轴二8上,所述铰接座10活动铰接在收纳腔3内另一侧,且呈倒T型,所述固定端轴三11安装在铰接座10底部一侧,所述连接杆二12呈L型,且一端与固定端轴三11活动铰接另一端分别与电动推杆7伸缩端和连接杆一9前端活动铰接,所述舱门13活动铰接在收纳腔3内底部,所述连接杆三14一端与舱门13活动铰接,且另一端与固定端轴三11后端活动铰接;The storage mechanism includes a fixed end shaft one 6, an
防缠绕机构包括一组相对的固定杆15、双轴电机16、转动杆17、绕线轮18、钢丝连接绳19、皮带轮一20、传动轴21、皮带轮二22、传动皮带23、传动齿轮24、滑动套筒25、一组相对的齿条26、驱动杆27、从动齿轮28以及一组矩形齿轮29,一组相对的固定杆15安装在铰接座10底部两侧,且与固定套筒4上端连接,所述双轴电机16水平安装在固定套筒4上一端,所述转动杆17安装在双轴电机16前端旋转轴上,所述绕线轮18安装在转动杆17上,所述钢丝连接绳19缠绕在绕线轮18上,且底部与安装套筒5连接,所述皮带轮一20安装在双轴电机16后端旋转轴上,所述传动轴21活动安装在固定套筒4一侧,所述皮带轮二22安装在传动轴21前端,所述传动皮带23套装在皮带轮一20和皮带轮二22上,所述传动齿轮24安装在传动轴21上,所述滑动套筒25活动套装在固定套筒4内,且底部伸出固定套筒4,一组相对的齿条26安装在滑动套筒25后端两侧,所述驱动杆27活动插装在固定套筒4内,且前端伸出固定套筒4,所述从动齿轮28安装在驱动杆27前端,且与传动齿轮24互相啮合,一组矩形齿轮29安装在驱动杆27上,且分别与一组相对的齿条26互相啮合;The anti-winding mechanism includes a set of opposite fixed
牵引机构包括拉力传感器30、拉力弹簧31、牵引安装块32、矩形凹槽33、牵引杆34、驱动电机35、驱动杆36以及拉动杆37,所述拉力传感器30安装在安装套筒5内顶部,所述拉力弹簧31安装在拉力传感器30底部,所述牵引安装块32安装在拉力弹簧31底部,所述矩形凹槽33开在牵引安装块32底部一侧,所述牵引杆34活动插装在矩形凹槽33内,且后端伸出矩形凹槽33,所述驱动电机35安装在牵引安装块32内,所述驱动杆36安装在驱动电机35旋转端上,所述拉动杆37一端与牵引杆34活动铰接,且另一端与驱动杆36后端活动铰接;The traction mechanism includes a
固定套筒4内前端开有滑槽一38,滑动套筒25前端通过滑块滑动安装在滑槽一38上;The inner front end of the fixed
传动齿轮24尺寸小于从动齿轮28尺寸;The size of the
安装套筒5上端开有与滑动套筒25相对应的圆形插装槽39;The upper end of the
安装套筒5内开有一组相对的滑槽二40,牵引安装块32两侧通过滑块滑动安装在滑槽二40上;A set of opposite chute 2 40 is opened in the
拉力传感器30上安装有信号传输器41,所述驱动电机35一侧安装有信号接收器42;A
牵引杆34上悬挂有牵引绳43。A
本实施方案的工作原理:该装置所使用的用电设备由外接的控制器进行控制,该无人机为多旋翼无人机,输电线路拖拽装置收纳在收纳腔3内,方便运输和存储,使用时,使用者首先通过收纳机构将输电线路拖拽装置展开,牵引杆34的初始位置插装在矩形凹槽33内,并将牵引绳43悬挂在牵引杆34上;The working principle of this embodiment: the electrical equipment used by the device is controlled by an external controller, the drone is a multi-rotor drone, and the transmission line dragging device is stored in the storage cavity 3, which is convenient for transportation and storage , when in use, the user first unfolds the power transmission line towing device through the storage mechanism, the initial position of the
收纳时:电动推杆7首先开始工作,固定端轴一6安装在收纳腔3内上端一侧,电动推杆7活动活动铰接在固定端轴一6上,固定端轴二8安装在固定端轴一6底部一侧,连接杆一9后端活动铰接在固定端轴二8上,铰接座10活动铰接在收纳腔3内另一侧,且呈倒T型,固定端轴三11安装在铰接座10底部一侧,连接杆二12呈L型,且一端与固定端轴三11活动铰接另一端分别与电动推杆7伸缩端和连接杆一9前端活动铰接,舱门13活动铰接在收纳腔3内底部,连接杆三14一端与舱门13活动铰接,且另一端与固定端轴三11后端活动铰接,电动推杆7带动伸缩端上的连接杆二12向下运动,与连接杆一9保持在同一直线上,连接杆三14首先带动舱门13展开,然后铰接座10带动底部的固定套筒4展开,如图1所示,通过位于收纳腔3内的收纳机构可对无人机底部的输电线路拖拽装置进行收纳,便于无人机的存储和运输,当无人机架线完成返航时,底部的输电线路拖拽装置自动收纳入收纳腔3内,从而减小无人机飞行的空气阻力,一定程度上提高无人机的续航能力;During storage: the
防缠绕:输电线路拖拽装置展开后,使用者将牵引绳43悬挂在牵引杆34上,并通过控制器控制无人机进行飞行,当无人机飞到一定高度后,双轴电机16开始工作,带动前端旋转轴上的转动杆17开始转动,绕线轮18安装在转动杆17上,钢丝连接绳19缠绕在绕线轮18上,且底部与安装套筒5连接,固定套筒4上端开有与钢丝连接绳19相对应的线孔,双轴电机16正转,带动安装套筒5向下运动,安装套筒5采用不锈钢材质,起到承重作用,使钢丝连接绳19保持垂直,同时双轴电机16正转,带动后端旋转轴上的皮带轮一20开始转动,传动轴21通过紧固轴承活动安装在固定套筒4一侧,皮带轮二22安装在传动轴21前端,传动皮带23套装在皮带轮一20和皮带轮二22上,传动皮带23带动传动轴21开始转动,传动齿轮24安装在传动轴21上,固定套筒4内前端开有滑槽一38,滑动套筒25前端通过滑块滑动安装在滑槽一38上,且底部伸出固定套筒4,一组相对的齿条26安装在滑动套筒25后端两侧,驱动杆27通过紧固轴承活动插装在固定套筒4内,且前端伸出固定套筒4,从动齿轮28安装在驱动杆27前端,且与传动齿轮24互相啮合,传动齿轮24尺寸小于从动齿轮28尺寸,起到减速作用,驱动杆27开始缓慢转动,一组矩形齿轮29安装在驱动杆27上,且分别与一组相对的齿条26互相啮合,驱动杆27可带动滑动套筒25滑出,如图2所示,可用于保持钢丝连接绳19位于滑动套筒25内,防缠绕机构可以防止无人机在进行飞行时,牵引绳缠绕在无人机上现象;Anti-winding: After the power transmission line towing device is deployed, the user hangs the
牵引时:拉力传感器30安装在安装套筒5内顶部,拉力弹簧31安装在拉力传感器30底部,牵引安装块32安装在拉力弹簧31底部,拉力传感器30用于检测牵引绳43的拉力信号,拉力传感器30上安装有信号传输器41,驱动电机35一侧安装有信号接收器42,当牵引绳43拉力过大时,信号传输器41将信输送至使用者控制器上,使用者可通过控制器发射自动脱线信号,信号接收器42接收信号,控制驱动电机35转动,驱动杆36安装在驱动电机35旋转端上,拉动杆37一端与牵引杆34活动铰接,且另一端与驱动杆36后端活动铰接,驱动电机35带动牵引杆34向后运动,牵引绳43脱落,牵引机构可对牵引绳43进行牵引,且具有自动脱线功能,防止无人机因承受拉力过大导致故障、摔机等情况。When pulling: the
上述技术方案仅体现了本发明技术方案的优选技术方案,本技术领域的技术人员对其中某些部分所可能做出的一些变动均体现了本发明的原理,属于本发明的保护范围之内。The above technical solutions only represent the preferred technical solutions of the technical solutions of the present invention, and some changes that those skilled in the art may make to some parts of them all reflect the principles of the present invention and fall within the protection scope of the present invention.
Claims (7)
Priority Applications (1)
| Application Number | Priority Date | Filing Date | Title |
|---|---|---|---|
| CN202011020128.6A CN112018661A (en) | 2020-09-25 | 2020-09-25 | Transmission line pulls device based on many rotor unmanned aerial vehicle |
Applications Claiming Priority (1)
| Application Number | Priority Date | Filing Date | Title |
|---|---|---|---|
| CN202011020128.6A CN112018661A (en) | 2020-09-25 | 2020-09-25 | Transmission line pulls device based on many rotor unmanned aerial vehicle |
Publications (1)
| Publication Number | Publication Date |
|---|---|
| CN112018661A true CN112018661A (en) | 2020-12-01 |
Family
ID=73527255
Family Applications (1)
| Application Number | Title | Priority Date | Filing Date |
|---|---|---|---|
| CN202011020128.6A Pending CN112018661A (en) | 2020-09-25 | 2020-09-25 | Transmission line pulls device based on many rotor unmanned aerial vehicle |
Country Status (1)
| Country | Link |
|---|---|
| CN (1) | CN112018661A (en) |
Cited By (2)
| Publication number | Priority date | Publication date | Assignee | Title |
|---|---|---|---|---|
| CN113697250A (en) * | 2021-08-10 | 2021-11-26 | 广东海兴塑胶有限公司 | Multifunctional shoe box |
| CN115094760A (en) * | 2022-06-20 | 2022-09-23 | 中国十九冶集团有限公司 | Stay cable hanging device and method for cable-stayed bridge |
Citations (9)
| Publication number | Priority date | Publication date | Assignee | Title |
|---|---|---|---|---|
| CN201927943U (en) * | 2011-01-13 | 2011-08-10 | 杨苡 | Onboard electric stringing device for unmanned air vehicle |
| CN108513561A (en) * | 2017-05-08 | 2018-09-07 | 深圳市大疆创新科技有限公司 | Unmanned plane protective device and method, unmanned plane, flying field |
| CN108860588A (en) * | 2018-08-03 | 2018-11-23 | 深圳市诚朗科技有限公司 | A kind of quadrotor with anti-tangle dead function |
| CN108910037A (en) * | 2018-06-26 | 2018-11-30 | 深圳市乐业科技有限公司 | A kind of unmanned plane with storage function |
| CN110723603A (en) * | 2019-11-01 | 2020-01-24 | 湖南德力电力建设集团有限公司 | Airborne take-up and pay-off device of unmanned aerial vehicle |
| KR20200055996A (en) * | 2018-11-14 | 2020-05-22 | 제일이엔지(주) | Wiring apparatus using unmanned aerial vehicle |
| CN211351476U (en) * | 2019-12-10 | 2020-08-25 | 中国南方电网有限责任公司超高压输电公司南宁局 | Unmanned aerial vehicle hangs draw gear based on high voltage electric network high altitude transmission operation |
| CN111682452A (en) * | 2020-06-29 | 2020-09-18 | 河北柒壹壹玖工业自动化技术有限公司 | Unmanned aerial vehicle traction device for erecting electric wire |
| CN212695609U (en) * | 2020-09-25 | 2021-03-12 | 中科星控(天津)信息技术有限公司 | Transmission line pulls device based on many rotor unmanned aerial vehicle |
-
2020
- 2020-09-25 CN CN202011020128.6A patent/CN112018661A/en active Pending
Patent Citations (9)
| Publication number | Priority date | Publication date | Assignee | Title |
|---|---|---|---|---|
| CN201927943U (en) * | 2011-01-13 | 2011-08-10 | 杨苡 | Onboard electric stringing device for unmanned air vehicle |
| CN108513561A (en) * | 2017-05-08 | 2018-09-07 | 深圳市大疆创新科技有限公司 | Unmanned plane protective device and method, unmanned plane, flying field |
| CN108910037A (en) * | 2018-06-26 | 2018-11-30 | 深圳市乐业科技有限公司 | A kind of unmanned plane with storage function |
| CN108860588A (en) * | 2018-08-03 | 2018-11-23 | 深圳市诚朗科技有限公司 | A kind of quadrotor with anti-tangle dead function |
| KR20200055996A (en) * | 2018-11-14 | 2020-05-22 | 제일이엔지(주) | Wiring apparatus using unmanned aerial vehicle |
| CN110723603A (en) * | 2019-11-01 | 2020-01-24 | 湖南德力电力建设集团有限公司 | Airborne take-up and pay-off device of unmanned aerial vehicle |
| CN211351476U (en) * | 2019-12-10 | 2020-08-25 | 中国南方电网有限责任公司超高压输电公司南宁局 | Unmanned aerial vehicle hangs draw gear based on high voltage electric network high altitude transmission operation |
| CN111682452A (en) * | 2020-06-29 | 2020-09-18 | 河北柒壹壹玖工业自动化技术有限公司 | Unmanned aerial vehicle traction device for erecting electric wire |
| CN212695609U (en) * | 2020-09-25 | 2021-03-12 | 中科星控(天津)信息技术有限公司 | Transmission line pulls device based on many rotor unmanned aerial vehicle |
Cited By (2)
| Publication number | Priority date | Publication date | Assignee | Title |
|---|---|---|---|---|
| CN113697250A (en) * | 2021-08-10 | 2021-11-26 | 广东海兴塑胶有限公司 | Multifunctional shoe box |
| CN115094760A (en) * | 2022-06-20 | 2022-09-23 | 中国十九冶集团有限公司 | Stay cable hanging device and method for cable-stayed bridge |
Similar Documents
| Publication | Publication Date | Title |
|---|---|---|
| JP7386822B2 (en) | Air launch and/or recovery for unmanned aerial vehicles and related systems and methods | |
| US11542036B2 (en) | Aerial launch and/or recovery for unmanned aircraft, and associated systems and methods | |
| CN106005462A (en) | Retraction system for mooring unmanned aerial vehicle and method for deploying and retracting mooring unmanned aerial vehicle with same | |
| US20170158353A1 (en) | Remote Aerodrome for UAVs | |
| AU2019325249B2 (en) | External containment apparatus for unmanned aerial vehicle | |
| EP3630600B1 (en) | Unmanned aerial vehicle with synchronized sensor network | |
| US20120080556A1 (en) | Systems and Methods for Autonomous Operations of Unmanned Aerial Vehicles | |
| AU2011201367A1 (en) | Method and apparatus for automated launch, retrieval, and servicing of a hovering aircraft | |
| CN211442770U (en) | Automatic unmanned aerial vehicle of puting in goods | |
| CN112455704B (en) | Single screw unmanned aerial vehicle prevent weighing down device | |
| CN112018661A (en) | Transmission line pulls device based on many rotor unmanned aerial vehicle | |
| EP4178857A1 (en) | Hybrid drone for landing on vertical structures | |
| CN116834985A (en) | An unmanned aerial vehicle system for cable car cableway inspection | |
| CN212695609U (en) | Transmission line pulls device based on many rotor unmanned aerial vehicle | |
| CN109384102A (en) | A kind of device and its operating method of the aerial automatic deploying and retracting tow cable of unmanned plane | |
| CN207106930U (en) | A kind of unmanned plane charging device | |
| CN220010096U (en) | Drone system for cable car cableway inspection | |
| CN214875522U (en) | Unmanned aerial vehicle wing convenient to installation | |
| CN210101988U (en) | Unmanned aerial vehicle for celebration | |
| CN206782046U (en) | A kind of folding anticollision unmanned plane of wing | |
| CN220448130U (en) | Unmanned aerial vehicle device with snatch function | |
| CN221820271U (en) | A UAV with waterproof mechanism | |
| CN116080944B (en) | A surveying and mapping drone that is easy to locate and prevent sinking after falling into water | |
| CN120793254A (en) | A drone for greening barren hills | |
| HK40022761A (en) | Unmanned aerial vehicle with synchronized sensor network |
Legal Events
| Date | Code | Title | Description |
|---|---|---|---|
| PB01 | Publication | ||
| PB01 | Publication | ||
| SE01 | Entry into force of request for substantive examination | ||
| SE01 | Entry into force of request for substantive examination | ||
| TA01 | Transfer of patent application right |
Effective date of registration: 20210125 Address after: 300190 1st floor, No.5 workshop, Nankai Science Park, No.10 Jinping Road, Nankai District, Tianjin Applicant after: China Science star control (Tianjin) Information Technology Co.,Ltd. Address before: 056000 east of Xincheng street, north of Liancheng Road, economic development zone, Handan City, Hebei Province Applicant before: Handan Yuanyi UAV Technology Co.,Ltd. |
|
| TA01 | Transfer of patent application right | ||
| WD01 | Invention patent application deemed withdrawn after publication |
Application publication date: 20201201 |
