CN111951756A - A two-tone beam ten-string piano - Google Patents
A two-tone beam ten-string piano Download PDFInfo
- Publication number
- CN111951756A CN111951756A CN202010810249.4A CN202010810249A CN111951756A CN 111951756 A CN111951756 A CN 111951756A CN 202010810249 A CN202010810249 A CN 202010810249A CN 111951756 A CN111951756 A CN 111951756A
- Authority
- CN
- China
- Prior art keywords
- groove
- sound
- resonance
- beams
- plate
- Prior art date
- Legal status (The legal status is an assumption and is not a legal conclusion. Google has not performed a legal analysis and makes no representation as to the accuracy of the status listed.)
- Granted
Links
- 230000003014 reinforcing effect Effects 0.000 claims description 22
- 230000007704 transition Effects 0.000 claims description 20
- PEDCQBHIVMGVHV-UHFFFAOYSA-N Glycerine Chemical compound OCC(O)CO PEDCQBHIVMGVHV-UHFFFAOYSA-N 0.000 claims description 7
- 230000035515 penetration Effects 0.000 abstract description 12
- 230000000694 effects Effects 0.000 description 9
- 230000000149 penetrating effect Effects 0.000 description 4
- 238000010304 firing Methods 0.000 description 3
- 230000005540 biological transmission Effects 0.000 description 2
- 230000008859 change Effects 0.000 description 2
- 238000005516 engineering process Methods 0.000 description 2
- 239000000463 material Substances 0.000 description 2
- 206010003497 Asphyxia Diseases 0.000 description 1
- 241000405217 Viola <butterfly> Species 0.000 description 1
- 230000009286 beneficial effect Effects 0.000 description 1
- 238000005520 cutting process Methods 0.000 description 1
- 238000010586 diagram Methods 0.000 description 1
- 230000006872 improvement Effects 0.000 description 1
- 239000004922 lacquer Substances 0.000 description 1
- 239000002932 luster Substances 0.000 description 1
- 238000004519 manufacturing process Methods 0.000 description 1
- 230000007246 mechanism Effects 0.000 description 1
- 238000000034 method Methods 0.000 description 1
- 238000012986 modification Methods 0.000 description 1
- 230000004048 modification Effects 0.000 description 1
- 230000000717 retained effect Effects 0.000 description 1
- 238000005728 strengthening Methods 0.000 description 1
- 239000002023 wood Substances 0.000 description 1
Images
Classifications
-
- G—PHYSICS
- G10—MUSICAL INSTRUMENTS; ACOUSTICS
- G10D—STRINGED MUSICAL INSTRUMENTS; WIND MUSICAL INSTRUMENTS; ACCORDIONS OR CONCERTINAS; PERCUSSION MUSICAL INSTRUMENTS; AEOLIAN HARPS; SINGING-FLAME MUSICAL INSTRUMENTS; MUSICAL INSTRUMENTS NOT OTHERWISE PROVIDED FOR
- G10D1/00—General design of stringed musical instruments
- G10D1/04—Plucked or strummed string instruments, e.g. harps or lyres
-
- G—PHYSICS
- G10—MUSICAL INSTRUMENTS; ACOUSTICS
- G10D—STRINGED MUSICAL INSTRUMENTS; WIND MUSICAL INSTRUMENTS; ACCORDIONS OR CONCERTINAS; PERCUSSION MUSICAL INSTRUMENTS; AEOLIAN HARPS; SINGING-FLAME MUSICAL INSTRUMENTS; MUSICAL INSTRUMENTS NOT OTHERWISE PROVIDED FOR
- G10D3/00—Details of, or accessories for, stringed musical instruments, e.g. slide-bars
-
- G—PHYSICS
- G10—MUSICAL INSTRUMENTS; ACOUSTICS
- G10D—STRINGED MUSICAL INSTRUMENTS; WIND MUSICAL INSTRUMENTS; ACCORDIONS OR CONCERTINAS; PERCUSSION MUSICAL INSTRUMENTS; AEOLIAN HARPS; SINGING-FLAME MUSICAL INSTRUMENTS; MUSICAL INSTRUMENTS NOT OTHERWISE PROVIDED FOR
- G10D3/00—Details of, or accessories for, stringed musical instruments, e.g. slide-bars
- G10D3/02—Resonating means, horns or diaphragms
-
- G—PHYSICS
- G10—MUSICAL INSTRUMENTS; ACOUSTICS
- G10D—STRINGED MUSICAL INSTRUMENTS; WIND MUSICAL INSTRUMENTS; ACCORDIONS OR CONCERTINAS; PERCUSSION MUSICAL INSTRUMENTS; AEOLIAN HARPS; SINGING-FLAME MUSICAL INSTRUMENTS; MUSICAL INSTRUMENTS NOT OTHERWISE PROVIDED FOR
- G10D3/00—Details of, or accessories for, stringed musical instruments, e.g. slide-bars
- G10D3/10—Strings
Landscapes
- Physics & Mathematics (AREA)
- Engineering & Computer Science (AREA)
- Acoustics & Sound (AREA)
- Multimedia (AREA)
- Stringed Musical Instruments (AREA)
- Soundproofing, Sound Blocking, And Sound Damping (AREA)
Abstract
一种双音梁十弦琴,包括共鸣箱,该共鸣箱的箱体由面板、底板和侧板拼合而成,箱体内设有中间板,中间板将箱体内部空间分割成位于上部的第一共鸣腔和位于下部的第二共鸣腔,其特征在于:在面板内壁上、中间板上下侧壁面上以及底板内壁上均并列固定设置有双音梁;在面板内壁上、中间板上下侧壁面上以及底板内壁上均开设有横向和纵向沟槽并形成音隧;在第一共鸣腔和第二共鸣腔内的横向均设置有横音梁。本方案解决了以往十弦琴演奏时高音区亮不出来,而低音区浑厚圆润不够以及琴声穿透力不强的问题。
A two-tone beam ten-string piano, comprising a resonance box, the box body of the resonance box is assembled by a panel, a bottom plate and a side plate, a middle plate is arranged in the box, and the middle plate divides the inner space of the box body into upper The first resonance cavity and the second resonance cavity located at the lower part are characterized in that: double sound beams are fixed in parallel on the inner wall of the panel, the upper and lower side walls of the middle plate, and the inner wall of the bottom plate; The wall surface and the inner wall of the bottom plate are provided with transverse and longitudinal grooves to form sound tunnels; transverse sound beams are arranged in the first resonance cavity and the second resonance cavity in the transverse direction. This solution solves the problems that the high-pitched area is not bright when the ten-string piano is played, and the low-pitched area is not rich and round enough, and the sound penetration is not strong.
Description
技术领域technical field
本发明涉及弹拨乐器,特别涉及一种双音梁十弦琴。The invention relates to a plucked musical instrument, in particular to a double tone beam ten-string piano.
背景技术Background technique
十弦琴是木胎,斫制辅以雕制。由琴身和活动底板构成,琴身分为音箱(共鸣箱)和尾板两部分。音箱(共鸣箱)近长方体,活动底板着地,音箱(共鸣箱)内空,底面有二孔与内相通,首端有十个弦孔,岳山存勒弦痕迹。弧长形的尾板微上翘而悬空,尾端上也有勒弦痕迹,板下有栓弦枘。琴面隆起,阴刻弦纹,通体髹黑漆,光泽柔润,素面。The ten-stringed qin is made of wood, and it is made by cutting and carving. It consists of a piano body and a movable bottom plate. The piano body is divided into two parts: a speaker (sound box) and a tail board. The sound box (resonance box) is close to a cuboid, the movable bottom plate is on the ground, the inside of the sound box (resonance box) is empty, there are two holes on the bottom that communicate with the inside, and there are ten string holes at the head end, and there are traces of strings in Yueshan. The arc-shaped tail board is slightly upturned and suspended in the air, and there are also strangulation marks on the tail end, and there are tie strings under the board. The surface of the piano is raised, the string pattern is inscribed, the whole body is painted with black lacquer, the luster is soft and smooth, and the surface is plain.
十弦琴为系列古代弹拨乐器,分为中琴、次大琴和大琴三种,其中,中琴为十根弦,音域为五个八度;次大琴为十五根弦,音域为六个八度;大琴为二十根弦,音域为七个八度。The ten-stringed qin is a series of ancient plucked instruments, divided into three types: viola, sub-daqin and daqin. Among them, the central qin has ten strings and a range of five octaves; the sub-daqin has 15 strings and a range of Six octaves; the grand piano has twenty strings and a range of seven octaves.
十琴弦存在的问题是:高音区和低音区的音色不佳,具体表现是高音区亮不出来,而低音区浑厚圆润不够,十弦琴琴声的穿透力不强,有待进一步提高。究其原因主要是十弦琴共鸣箱无法满足从高音区到低音区之间良好的共鸣振动要求,即不能同时适应高音区、中音区和低音区较宽频率变化的共鸣和振动。进一步研究表明共鸣箱中影响共鸣和振动的因素较多,除面板和底板材质和厚薄而外,共鸣箱内部结构和构造影响较大。而现有十弦琴的共鸣箱因设计不合理,不利于发挥从高音区到低音区之间良好声波共鸣和振动。The problem with ten strings is that the timbre of the high-pitched and low-pitched regions is not good. The specific performance is that the high-pitched region cannot be bright, and the low-pitched region is not rich and round enough. The penetration of the ten-string piano sound is not strong, and needs to be further improved. The main reason is that the ten-stringed piano resonance box cannot meet the requirements of good resonance and vibration from the treble region to the bass region, that is, it cannot simultaneously adapt to the resonance and vibration of wide frequency changes in the treble, mid-range and bass regions. Further research shows that there are many factors affecting resonance and vibration in the resonance box. Except for the material and thickness of the panel and bottom plate, the internal structure and structure of the resonance box have a greater impact. However, due to the unreasonable design of the resonance box of the existing ten-string piano, it is not conducive to exert a good sound wave resonance and vibration between the high-pitched area and the low-frequency area.
有鉴于此,如何对现有十弦琴的共鸣箱进行改进,特别是对共鸣箱内部结构和构造进行改进是本发明研究的课题。In view of this, how to improve the sound box of the existing ten-string piano, especially the internal structure and structure of the sound box, is the subject of the present invention.
发明内容SUMMARY OF THE INVENTION
本发明提供一种双音梁十弦琴,其目的是要解决现有十弦琴共鸣箱无法兼顾高、中、低音区同时具备良好共鸣音色和穿透力的问题。The present invention provides a double-sound beam ten-string piano, which aims to solve the problem that the existing ten-string piano resonance box cannot take into account the high, medium and low frequency regions at the same time with good resonant timbre and penetration.
为达到上述目的,本发明采用的技术方案是:一种双音梁十弦琴,包括共鸣箱,该共鸣箱的箱体由面板、底板、侧板拼合而成,底板由前底板与后底板在箱体高度方向上错位连接形成,其中,前底板在箱体高度方向上低于后底板;箱体内设有中间板,该中间板在箱体前后方位上位于前底板对应的位置上,并将前底板与面板之间的箱体内部空间分割成位于上部的第一共鸣腔和位于下部的第二共鸣腔,其中,第一共鸣腔由中间板与面板之间的空间以及后底板与面板之间的空间共同构成,第二共鸣腔由中间板与前底板之间的空间构成;中间板上设有第一音孔,第一共鸣腔与第二共鸣腔通过中板音孔连通,其创新在于:In order to achieve the above-mentioned purpose, the technical scheme adopted in the present invention is: a two-tone beam ten-string piano, comprising a resonance box, the box body of the resonance box is assembled by a panel, a bottom plate and a side plate, and the bottom plate is composed of a front bottom plate and a rear bottom plate. It is formed by staggered connection in the height direction of the box body, wherein the front bottom plate is lower than the rear bottom plate in the height direction of the box body; an intermediate plate is arranged in the box body, and the intermediate plate is located at the corresponding position of the front bottom plate in the front and rear directions of the box body, The inner space of the box between the front bottom plate and the panel is divided into a first resonance chamber located at the upper part and a second resonance chamber located at the lower part, wherein the first resonance chamber is composed of the space between the middle plate and the panel and the rear bottom plate and the The space between the panels is formed together, and the second resonance cavity is formed by the space between the middle plate and the front bottom plate; the middle plate is provided with a first sound hole, and the first resonance cavity and the second resonance cavity are communicated through the sound hole in the middle plate, Its innovation lies in:
在所述第一共鸣腔内设有两根第一上音梁,第一上音梁为长条状的音梁构件,两根第一上音梁的一侧紧贴固定在所述面板的内壁上,两根第一上音梁的另一侧在第一共鸣腔内悬空,两根第一上音梁的长度方向与共鸣箱的长度方向一致,在共鸣箱的宽度方向上两根第一上音梁并列且相隔一段距离。Two first upper sound beams are arranged in the first resonance cavity, the first upper sound beams are elongated sound beam members, and one side of the two first upper sound beams is closely fixed on the side of the panel. On the inner wall, the other side of the two first upper sound beams is suspended in the first resonance cavity, the length direction of the two first upper sound beams is consistent with the length direction of the resonance box, and the two first upper sound beams are in the width direction of the resonance box. One upper bracing is juxtaposed and separated by a distance.
在所述第一共鸣腔对应的面板的内壁上设有第一沟槽,第一沟槽沿共鸣箱的宽度方向开设;在所述第一共鸣腔对应的面板的内壁上设有第二沟槽,第二沟槽沿共鸣箱的长度方向开设;第一沟槽与第二沟槽在面板的内壁上交叉布置并且相互贯通,其中,第二沟槽位于两根第一上音梁之间的位置,第二沟槽的长度方向与第一上音梁的长度方向一致;第一沟槽在共鸣箱的宽度方向上横跨两根第一上音梁,并在面板的内壁上形成上横向音隧,第二沟槽在面板的内壁上形成上纵向音隧。A first groove is formed on the inner wall of the panel corresponding to the first resonance chamber, and the first groove is opened along the width direction of the resonance box; and a second groove is formed on the inner wall of the panel corresponding to the first resonance chamber groove, the second groove is opened along the length direction of the resonance box; the first groove and the second groove are arranged crosswise on the inner wall of the panel and pass through each other, wherein the second groove is located between the two first upper sound beams The length direction of the second groove is consistent with the length direction of the first upper sound beam; the first groove spans the two first upper sound beams in the width direction of the resonance box, and forms an upper sound beam on the inner wall of the panel. The transverse sound tunnel, the second groove forms an upper longitudinal sound tunnel on the inner wall of the panel.
在所述第二共鸣腔内设有两根第二上音梁,第二上音梁为长条状的音梁构件,两根第二上音梁的一侧紧贴固定在所述中间板的下侧壁面上,两根第二上音梁的另一侧在第二共鸣腔内悬空,两根第二上音梁的长度方向与共鸣箱的长度方向一致,在共鸣箱的宽度方向上两根第二上音梁并列且相隔一段距离。Two second upper sound beams are arranged in the second resonance cavity, and the second upper sound beams are elongated sound beam members, and one side of the two second upper sound beams is closely fixed on the middle plate The other side of the two second upper sound beams is suspended in the second resonance cavity, the length direction of the two second upper sound beams is consistent with the length direction of the resonance box, and the width direction of the resonance box The two second upper bracings are juxtaposed and separated by a distance.
在所述第二共鸣腔对应的中间板的下侧壁面上设有第三沟槽和第四沟槽,其中,第三沟槽沿共鸣箱的宽度方向开设,第四沟槽沿共鸣箱的长度方向开设,第三沟槽与第四沟槽在中间板的下侧壁面上交叉布置并且相互贯通,其中,第四沟槽位于两根第二上音梁之间的位置,第四沟槽的长度方向与第二上音梁的长度方向一致,第三沟槽在共鸣箱的宽度方向上横跨两根第二上音梁,并在中间板的下侧壁面上形成上横向音隧,第四沟槽在中间板的下侧壁面上形成上纵向音隧。A third groove and a fourth groove are provided on the lower side wall surface of the middle plate corresponding to the second resonance chamber, wherein the third groove is opened along the width direction of the resonance box, and the fourth groove is formed along the width direction of the resonance box. The length direction is opened, and the third groove and the fourth groove are arranged in a cross on the lower side wall of the middle plate and pass through each other, wherein the fourth groove is located between the two second upper sound beams, and the fourth groove The length direction of the second upper sound beam is consistent with the length direction of the second upper sound beam. The third groove spans the two second upper sound beams in the width direction of the resonance box, and forms an upper transverse sound tunnel on the lower side wall of the middle plate. The fourth groove forms an upper longitudinal sound tunnel on the lower side wall surface of the intermediate plate.
上述技术方案中的有关内容解释如下:The relevant contents in the above technical solutions are explained as follows:
1. 上述方案中,主题为“十弦琴”,而创新点集中在十弦琴的“共鸣箱”上,所以没有对共鸣箱而外的其他结构进行描述。可以认为本发明十弦琴中除共鸣箱而外的其它结构采用原有十弦琴技术来实现。1. In the above scheme, the theme is "ten-stringed piano", and the innovation is focused on the "resonance box" of the ten-stringed piano, so there is no description of other structures other than the resonance box. It can be considered that the other structures except the resonance box in the ten-string piano of the present invention are realized by using the original ten-string piano technology.
2. 上述方案中,所述“共鸣箱”是指由面板、底板和侧板拼合而成的琴身。十弦琴共鸣箱的长度方向是指与琴弦大约一致的方向,共鸣箱的宽度方向是垂直于长度方向的方向。所述“内壁”对于共鸣箱来说就是指内侧的壁面,比如面板的内壁是指靠共鸣箱面板内侧的壁面,前底板和后底板的内壁是指靠共鸣箱前底板和后底板内侧的壁面。2. In the above solution, the "sound box" refers to the body of the piano that is assembled from the front panel, the bottom panel and the side panel. The length direction of the ten-stringed sound box refers to a direction approximately in line with the strings, and the width direction of the sound box is a direction perpendicular to the length direction. For the resonance box, the "inner wall" refers to the inner wall. For example, the inner wall of the panel refers to the wall near the inner side of the resonance box panel, and the inner walls of the front bottom plate and the rear bottom plate refer to the inner wall of the front bottom plate and the rear bottom plate of the resonance box. .
3. 上述方案中,可以在所述第一共鸣腔内设有两根第一下音梁,第一下音梁为长条状的音梁构件,两根第一下音梁的一侧紧贴固定在所述中间板的上侧壁面上,两根第一下音梁的另一侧相对于面板在第一共鸣腔内悬空,两根第一下音梁的长度方向与共鸣箱的长度方向一致,在共鸣箱的宽度方向上看两根第一下音梁并列且相隔一段距离。3. in the above-mentioned scheme, can be provided with two first lower sound beams in the described first resonance chamber, the first lower sound beams are elongated sound beam components, and one side of the two first lower sound beams is tight. It is pasted and fixed on the upper side wall of the middle plate, the other side of the two first lower sound beams is suspended in the first resonance cavity relative to the panel, and the length direction of the two first lower sound beams is the same as the length of the resonance box. In the same direction, the two first lower sound beams are juxtaposed and separated by a certain distance in the width direction of the resonance box.
在所述第一共鸣腔对应的中间板的上侧壁面上设有第五沟槽和第六沟槽,其中,第五沟槽沿共鸣箱的宽度方向开设,第六沟槽沿共鸣箱的长度方向开设,第五沟槽与第六沟槽在中间板的上侧壁面上交叉布置并且相互贯通,其中,第六沟槽位于两根第一下音梁之间的位置,第六沟槽的长度方向与第一下音梁的长度方向一致,第五沟槽在共鸣箱的宽度方向上横跨两根第一下音梁,并在中间板的上侧壁面上形成下横向音隧,第六沟槽在中间板的上侧壁面上形成下纵向音隧。A fifth groove and a sixth groove are provided on the upper side wall surface of the middle plate corresponding to the first resonance chamber, wherein the fifth groove is opened along the width direction of the resonance box, and the sixth groove is along the width direction of the resonance box. The length direction is opened, and the fifth groove and the sixth groove are arranged crosswise on the upper side wall of the middle plate and pass through each other, wherein the sixth groove is located between the two first lower sound beams, and the sixth groove The length direction of the sound box is consistent with the length direction of the first lower sound beam. The fifth groove spans the two first lower sound beams in the width direction of the resonance box, and forms a lower transverse sound tunnel on the upper side wall of the middle plate. The sixth groove forms a lower longitudinal sound tunnel on the upper side wall surface of the intermediate plate.
在所述第一共鸣腔内设有两根第二下音梁,第二下音梁为长条状的音梁构件,两根第二下音梁的一侧紧贴固定在所述后底板的内壁上,两根第二下音梁的另一侧相对于面板在第一共鸣腔内悬空,两根第二下音梁的长度方向与共鸣箱的长度方向一致,在共鸣箱的宽度方向上看两根第二下音梁并列且相隔一段距离。Two second lower sound beams are arranged in the first resonance cavity, and the second lower sound beams are elongated sound beam members, and one side of the two second lower sound beams is closely fixed on the rear bottom plate The other side of the two second lower sound beams is suspended in the first resonance cavity relative to the panel, and the length direction of the two second lower sound beams is consistent with the length direction of the resonance box, and the width direction of the resonance box From above, the two second lower bracings are side by side and separated by a distance.
在所述第一共鸣腔对应的后底板的内壁上设有第七沟槽和第八沟槽,其中,第七沟槽沿共鸣箱的宽度方向开设,第八沟槽沿共鸣箱的长度方向开设,第七沟槽与第八沟槽在后底板的内壁上交叉布置并且相互贯通,其中,第八沟槽位于两根第二下音梁之间的位置,第八沟槽的长度方向与第二下音梁的长度方向一致,第七沟槽在共鸣箱的宽度方向上横跨两根第二下音梁,并在后底板的内壁上形成下横向音隧,第八沟槽在后底板的内壁上形成下纵向音隧。A seventh groove and an eighth groove are arranged on the inner wall of the rear bottom plate corresponding to the first resonance chamber, wherein the seventh groove is opened along the width direction of the resonance box, and the eighth groove is formed along the length direction of the resonance box Open, the seventh groove and the eighth groove are arranged crosswise on the inner wall of the rear bottom plate and pass through each other, wherein the eighth groove is located between the two second lower sound beams, and the length direction of the eighth groove is the same as the length of the eighth groove. The length directions of the second lower sound beams are the same, the seventh groove spans the two second lower sound beams in the width direction of the resonance box, and a lower transverse sound tunnel is formed on the inner wall of the rear bottom plate, and the eighth groove is at the rear A lower longitudinal sound tunnel is formed on the inner wall of the bottom plate.
在所述第二共鸣腔内设有两根第三下音梁,第三下音梁为长条状的音梁构件,两根第三下音梁的一侧紧贴固定在所述前底板的内壁上,两根第三下音梁的另一侧在第二共鸣腔内悬空,两根第三下音梁的长度方向与共鸣箱的长度方向一致,在共鸣箱的宽度方向上两根第三下音梁并列且相隔一段距离。Two third lower sound beams are arranged in the second resonance chamber, the third lower sound beams are elongated sound beam members, and one side of the two third lower sound beams is closely fixed on the front bottom plate The other side of the two third lower sound beams is suspended in the second resonance chamber, the length direction of the two third lower sound beams is consistent with the length direction of the resonance box, and the two third lower sound beams are in the width direction of the resonance box. The third lower bracing is juxtaposed and spaced apart.
在所述第二共鸣腔对应的前底板的内壁上设有第九沟槽和第十沟槽,其中,第九沟槽沿共鸣箱的宽度方向开设,第十沟槽沿共鸣箱的长度方向开设,第九沟槽与第十沟槽在前底板的内壁上交叉布置并且相互贯通,其中,第十沟槽位于两根第三下音梁之间的位置,第十沟槽的长度方向与第三下音梁的长度方向一致,第九沟槽在共鸣箱的宽度方向上横跨两根第三下音梁,并在前底板的内壁上形成下横向音隧,第十沟槽在前底板的内壁上形成下纵向音隧。A ninth groove and a tenth groove are arranged on the inner wall of the front bottom plate corresponding to the second resonance chamber, wherein the ninth groove is opened along the width direction of the resonance box, and the tenth groove is formed along the length direction of the resonance box Open, the ninth groove and the tenth groove are arranged crosswise on the inner wall of the front bottom plate and penetrate each other, wherein the tenth groove is located between the two third lower sound beams, and the length direction of the tenth groove is the same as the length of the tenth groove. The length directions of the third lower sound beams are the same, the ninth groove spans two third lower sound beams in the width direction of the resonance box, and a lower transverse sound tunnel is formed on the inner wall of the front bottom plate, and the tenth groove is in the front A lower longitudinal sound tunnel is formed on the inner wall of the bottom plate.
4. 上述方案中,可以在所述第一共鸣腔内设有大横音梁,大横音梁为板片状,其中,大横音梁支撑在面板与中间板之间,并且固定在第一沟槽位置上;大横音梁以第二沟槽中心面为基准呈左右对称,其中,大横音梁的顶部与所述面板固定连接,大横音梁的底部与中间板固定连接,大横音梁的侧部与对应侧的侧板固定连接。4. In the above scheme, a large transverse sound beam can be provided in the first resonance cavity, and the large transverse sound beam is in the shape of a plate, wherein the large transverse sound beam is supported between the panel and the middle plate, and is fixed on the first sound beam. On the position of a groove; the large transverse sound beam is symmetrical on the left and right based on the center plane of the second groove, wherein the top of the large transverse sound beam is fixedly connected with the panel, and the bottom of the large transverse sound beam is fixedly connected with the middle plate, The side part of the large transverse sound beam is fixedly connected with the side plate of the corresponding side.
在所述第二共鸣腔内设有小横音梁,小横音梁为板片状,其中,小横音梁支撑中间板与前底板之间,并且固定在第三沟槽位置上;小横音梁以第四沟槽中心面为基准呈左右对称,其中,小横音梁的顶部与所述中间板固定连接,小横音梁的底部与前底板固定连接,小横音梁的侧部与对应侧的侧板固定连接。A small transverse sound beam is arranged in the second resonance cavity, and the small transverse sound beam is in the shape of a plate, wherein the small transverse sound beam supports between the middle plate and the front bottom plate, and is fixed at the position of the third groove; The transverse sound beam is symmetrical with respect to the center plane of the fourth groove, wherein the top of the small transverse sound beam is fixedly connected with the middle plate, the bottom of the small transverse sound beam is fixedly connected with the front bottom plate, and the side of the small transverse sound beam is fixedly connected with the front bottom plate. The part is fixedly connected with the side plate of the corresponding side.
5. 上述方案中,可以在第一上音梁上设有第一上桥洞,第一上桥洞在第一上音梁的一侧为洞缺并使第一上音梁形成上桥式音梁结构,第一上桥洞架设在第一沟槽上。可以在第二上音梁上设有第二上桥洞,第二上桥洞在第二上音梁的一侧为洞缺并使第二上音梁形成上桥式音梁结构,第二上桥洞架设在第三沟槽上。可以在第一下音梁上设有第一下桥洞,第一下桥洞在第一下音梁的一侧为洞缺并使第一下音梁形成下桥式音梁结构,第一下桥洞架设在第五沟槽上。可以在第二下音梁上设有第二下桥洞,第二下桥洞在第二下音梁的一侧为洞缺并使第二下音梁形成下桥式音梁结构,第二下桥洞架设在第七沟槽上。可以在第三下音梁上设有第三下桥洞,第三下桥洞在第三下音梁的一侧为洞缺并使第三下音梁形成下桥式音梁结构,第三下桥洞架设在第九沟槽上。5. in the above-mentioned scheme, can be provided with the first upper bridge hole on the first upper sound beam, and the first upper bridge hole is a hole on the side of the first upper sound beam and makes the first upper sound beam form an upper bridge sound beam. Structure, the first upper bridge hole is erected on the first groove. A second upper bridge hole can be provided on the second upper sound beam, the second upper bridge hole is a hole on one side of the second upper sound beam, and the second upper sound beam forms an upper bridge sound beam structure, and the second upper bridge hole is formed. erected on the third groove. A first lower bridge hole may be provided on the first lower sound beam, the first lower bridge hole is a hole on one side of the first lower sound beam, and the first lower sound beam forms a lower bridge sound beam structure, and the first lower bridge hole is formed. erected on the fifth groove. A second lower bridge hole can be provided on the second lower sound beam, the second lower bridge hole is a hole on one side of the second lower sound beam, and the second lower sound beam forms a lower bridge sound beam structure, and the second lower bridge hole is formed. erected on the seventh groove. A third lower bridge hole can be provided on the third lower sound beam, the third lower bridge hole is a hole on one side of the third lower sound beam, and the third lower sound beam forms a lower bridge sound beam structure, and the third lower bridge hole is formed. erected on the ninth groove.
6. 上述方案中,可以在两根第一上音梁之间固定架设有第一上加强板。可以在两根第一下音梁之间固定架设有第一下加强板。可以在两根第二下音梁之间固定架设有第二下加强板。6. In the above solution, a first upper reinforcing plate can be fixedly framed between the two first upper sound beams. A first lower reinforcing plate may be fixedly framed between the two first lower sound beams. A second lower reinforcing plate may be fixedly framed between the two second lower sound beams.
7. 上述方案中,所述大横音梁上对应第一上音梁设有第一避让口,第一避让口中设有支柱,支柱与大横音梁固定连接。大横音梁上对应第一下音梁设有第二避让口。大横音梁与面板和侧板连接的侧边上设有第一缺口,在装配状态下该第一缺口与面板和侧板内壁之间形成第一月芽孔。大横音梁与中间板和侧板连接的侧边上设有第二缺口,在装配状态下该第二缺口与中间板和侧板内壁之间形成第二月芽孔。7. In the above scheme, the large sound beam is provided with a first escape opening corresponding to the first upper sound beam, and the first escape opening is provided with a pillar, and the pillar is fixedly connected with the large transverse sound beam. The large transverse sound beam is provided with a second escape opening corresponding to the first lower sound beam. A first notch is provided on the side where the large transverse sound beam is connected with the panel and the side panel, and in the assembled state, a first moon bud hole is formed between the first notch and the inner wall of the panel and the side panel. A second notch is provided on the side where the large transverse sound beam is connected with the middle plate and the side plate, and in the assembled state, a second moon bud hole is formed between the second notch and the inner walls of the middle plate and the side plate.
8. 上述方案中,所述小横音梁与中间板和侧板连接的侧边上设有第三缺口,在装配状态下该第三缺口与中间板和侧板内壁之间形成第三月芽孔。小横音梁与前底板和侧板连接的侧边上设有第四缺口,在装配状态下该第四缺口与前底板和侧板内壁之间形成第四月芽孔。8. In the above scheme, a third gap is provided on the side where the small transverse beam is connected with the middle plate and the side plate, and the third gap is formed between the third gap and the inner wall of the middle plate and the side plate in the assembled state. Bud hole. A fourth notch is provided on the side where the small transverse sound beam is connected to the front bottom plate and the side plate, and a fourth moon bud hole is formed between the fourth gap and the inner wall of the front bottom plate and the side plate in the assembled state.
9. 上述方案中,所述第一沟槽、第二沟槽、第五沟槽、第六沟槽、第七沟槽、第八沟槽、第三沟槽、第四沟槽、第九沟槽和第十沟槽均为弧形槽为最佳。9. In the above scheme, the first trench, the second trench, the fifth trench, the sixth trench, the seventh trench, the eighth trench, the third trench, the fourth trench, the ninth trench The groove and the tenth groove are preferably arc grooves.
本发明设计原理和构思是:对于十弦琴来说,影响其音色和穿透力的因素很多,比如共鸣箱的材质、厚薄、内部构造等等。本发明为了解决现有十弦琴共鸣箱无法兼顾高、中、低音区同时具备良好共鸣音色和穿透力的问题,主要从共鸣箱,特别是共鸣箱内部构造的角度出发对其进行了彻底改进。具体体现在以下几个方面:第一,在第一共鸣腔的面板内壁上固定并列设置两根第一上音梁;第二,在第二共鸣腔的中间板下侧壁面上固定并列设置两根第二上音梁;第三,在第一共鸣腔的面板内壁上开设了横向和纵向沟槽(即第一沟槽和第二沟槽),形成上横向音隧和上纵向音隧;第四,在第二共鸣腔的中间板下侧壁面上开设横向和纵向沟槽(即第三沟槽和第四沟槽),形成上横向音隧和上纵向音隧。本发明针对现有十弦琴高音区亮不出来,而低音区浑厚圆润不够以及琴声穿透力不强的问题,对十弦琴的共鸣箱,特别是共鸣箱构造以及发声机理进行了深入探讨和研究,找出了现有十弦琴高音区和低音区的音色和音量不佳以及穿透力不够的主要原因是由于共鸣箱,特别是共鸣腔设计不合理所致,导致演奏时声波在共鸣腔内不能产生良好的共鸣和振动。据此,发明人打破了以往十弦琴传统共鸣箱设计的束缚,大胆提出了本发明的改进设计方案,从振动、共鸣、发声的角度解决了十弦琴高音区亮不出来,而低音区浑厚圆润不够以及琴声穿透力不强的问题,实践证明该改进设计方案具有突出的实质性特点和显著的技术进步,并且获得了明显的技术效果。The design principle and concept of the present invention are as follows: for a ten-string piano, there are many factors that affect its timbre and penetrating power, such as the material, thickness, internal structure and the like of the resonance box. In order to solve the problem that the existing ten-stringed piano resonance box cannot take into account the high, middle and low frequency regions and have good resonance tone and penetrating power at the same time, the present invention mainly from the perspective of the resonance box, especially the internal structure of the resonance box, thoroughly implements the sound box. Improve. It is embodied in the following aspects: firstly, two first upper sound beams are fixed and juxtaposed on the inner wall of the panel of the first resonance chamber; A second upper sound beam; third, horizontal and vertical grooves (ie, the first groove and the second groove) are opened on the inner wall of the panel of the first resonance chamber to form an upper transverse sound tunnel and an upper longitudinal sound tunnel; Fourth, transverse and longitudinal grooves (ie, the third groove and the fourth groove) are opened on the lower side wall surface of the middle plate of the second resonance chamber to form an upper transverse sound tunnel and an upper longitudinal sound tunnel. Aiming at the problems that the high-pitched region of the existing ten-string piano cannot be bright, the low-pitched region is not rich and round enough, and the sound penetration is not strong, the invention has made in-depth research on the resonance box of the ten-string piano, especially the structure of the resonance box and the sounding mechanism. Through discussion and research, it was found that the main reasons for the poor sound and volume and insufficient penetration in the treble and bass regions of the existing ten-string piano were due to the unreasonable design of the resonance box, especially the resonance chamber, which resulted in sound waves during performance. Good resonance and vibration cannot be produced in the resonance chamber. Accordingly, the inventor broke the shackles of the traditional ten-stringed piano design of the resonance box, and boldly proposed an improved design scheme of the present invention, which solves the problem that the high-pitched area of the ten-stringed piano cannot be lit up from the perspective of vibration, resonance and sound production, while the low-pitched area is not bright. The problems of lack of richness and roundness and weak penetrating power of piano sound have proved that the improved design scheme has outstanding substantive characteristics and significant technical progress, and has obtained obvious technical effects.
由于上述技术方案的运用,本发明与现有技术相比具有以下优点和效果(以最佳实施方式即本发明实施例的内容加以说明):Due to the application of the above-mentioned technical solutions, the present invention has the following advantages and effects compared with the prior art (illustrated by the best mode, that is, the content of the embodiments of the present invention):
1.本发明在面板、中间板和底板上均设置有双音梁结构(即在面板内壁上并列设置两根第一上音梁,在中间板的上侧壁面上并列设置两根第一下音梁,在后底板内壁上并列设置两根第二下音梁,在中 间板的下侧壁面上并列设置两根第二上音梁,在前底板内壁上并列设置两根第三下音梁),由于低音相对高音振幅大、频率低,低音共鸣集中在共鸣箱的中央区域,高音共鸣集中在共鸣箱的四周边缘区域,加强了面板、中间板和底板中央区域强度,对改善低音区音色和穿透力起到了重要作用。另一方面加强了面板、中间板和底板中央区域强度,相对而言改变了共鸣箱中央区域与四周边缘区域的厚薄差距,对改善高音区的音色和穿透力也产生了良好的作用。1. The present invention is provided with a double sound beam structure on the panel, the middle plate and the bottom plate (that is, two first upper sound beams are arranged side by side on the inner wall of the panel, and two first lower sound beams are arranged side by side on the upper side wall of the middle plate. Sound beam, two second lower sound beams are arranged side by side on the inner wall of the rear bottom plate, two second upper sound beams are arranged side by side on the lower side wall of the middle plate, and two third lower sound beams are arranged side by side on the inner wall of the front bottom plate ), due to the large amplitude and low frequency of the bass relative to the treble, the bass resonance is concentrated in the central area of the resonance box, and the treble resonance is concentrated in the surrounding edge area of the resonance box, which strengthens the strength of the central area of the panel, the middle plate and the bottom plate, which is beneficial to improving the sound of the bass region. and penetration plays an important role. On the other hand, the strength of the central area of the front panel, the middle panel and the bottom panel has been strengthened, relatively speaking, the thickness gap between the central area of the resonance box and the surrounding edge area has been changed, which also has a good effect on improving the tone and penetration of the high-pitched area.
2.本发明针对第一共鸣腔和第二共鸣腔,分别在面板、中间板和底板的内壁上开设了横向和纵向沟槽(即第一沟槽到第十沟槽)。这些沟槽均在各自的板壁上形成音隧(即声音的隧道)。由于低音相对高音振幅大、频率低,低音共鸣集中在共鸣箱的中央区域,高音共鸣集中在共鸣箱的四周边缘区域,琴弦振动由音隧交叉的中心区域收集,并通过上下音隧迅速向共鸣腔四周传递,这对改善高音区的音色和穿透力起到了关键作用,同时对改善低音区的音色和穿透力也起到了良好作用。2. For the first resonance chamber and the second resonance chamber, transverse and longitudinal grooves (ie, the first groove to the tenth groove) are respectively provided on the inner walls of the front panel, the middle panel and the bottom plate. These grooves all form sound tunnels (that is, tunnels of sound) in their respective sidings. Due to the large amplitude and low frequency of the bass relative to the treble, the bass resonance is concentrated in the central area of the resonance box, and the treble resonance is concentrated in the surrounding edge area of the resonance box. The resonance cavity is transmitted around, which plays a key role in improving the tone and penetration of the high-pitched area, and also plays a good role in improving the tone and penetration of the low-frequency area.
3.本发明将音梁设计成桥式音梁结构,特别是在音梁的一侧设计有洞缺,使音梁象桥拱结构一样。当这样的音梁架设在音隧上更有利于通过音隧传递振动,也更有利于共鸣腔的共鸣。3. In the present invention, the sound beam is designed into a bridge-type sound beam structure, especially a hole is designed on one side of the sound beam, so that the sound beam is like a bridge arch structure. When such a sound beam is erected on the sound tunnel, it is more conducive to the transmission of vibration through the sound tunnel, and it is also more conducive to the resonance of the resonant cavity.
4.本发明在面板、中间板和底板的内壁上采用横音梁、纵音梁和沟槽的组合设计,在俯视状态下将第一共鸣腔对应的面板下方空间分割成前半部的四个共鸣区域和后半部的四个共鸣区域;同时,将第一共鸣腔对应的中间板上方空间分割成四个共鸣区域,将第一共鸣腔对应的后底板上方空间分割成四个共鸣区域,将第二共鸣腔对应的中间板下方空间分割成四个共鸣区域,将第二共鸣腔对应的前度板上方空间分割成四个共鸣区域,共计二十四个共鸣区域。当十弦琴演奏时琴弦振动先传递到音隧交叉的中心区域,然后通过音隧传递至这二十四个共鸣区域,并产生共鸣和振动,以此将弦声放大为共鸣箱的共鸣声。改进前十弦琴演奏时只能产生八个声波量,即第一共鸣腔的上半部两个共鸣区域,下半部两个共鸣区域,第二共鸣腔的半部一个共鸣区域,下半部一个共鸣区域,共计六个共鸣区域。每个共鸣区域产生一个声波量,加上一个弦波量,再加上一个击发波量,共计八个声波量。而改进后本发明十弦琴演奏时可以产生二十六个声波量,其中,二十四个共鸣区域产生二十四个声波量,加上一个弦波量,再加上一个击发波量,共计二十六个声波量。声波量即声波的数量,对于具体共鸣箱的弹拔乐器来説,除了一个弦波量和一个击发波量而外,主要取决于共鸣箱内的共鸣区域数量,通常情况下乐器在演奏时每个共鸣区域产生一个声波量,有多少个共鸣区域就会产生多少个声波量。另外,声波量直接影响乐器的音色、穿透力和音量。因此本发明设计能够明显改善高音区和低音区的音色,增加高音区和低音区的穿透力。4. The present invention adopts the combined design of the transverse sound beam, the longitudinal sound beam and the groove on the inner wall of the panel, the middle plate and the bottom plate, and divides the space under the panel corresponding to the first resonance chamber into four parts of the front half in a top view. The resonance area and the four resonance areas in the rear half; at the same time, the space above the middle plate corresponding to the first resonance chamber is divided into four resonance areas, and the space above the rear bottom plate corresponding to the first resonance chamber is divided into four resonance areas. The space below the middle plate corresponding to the second resonance chamber is divided into four resonance areas, and the space above the front plate corresponding to the second resonance chamber is divided into four resonance areas, for a total of twenty-four resonance areas. When the ten-string piano is played, the vibration of the strings is first transmitted to the central area where the sound tunnel crosses, and then it is transmitted to the twenty-four resonance areas through the sound tunnel, and resonance and vibration are generated, so as to amplify the string sound into the resonance of the resonance box. Voice. Only eight sound waves can be generated when the first ten-stringed piano is improved, namely, two resonance areas in the upper half of the first resonance chamber, two resonance areas in the lower half, one resonance area in the half of the second resonance chamber, and one resonance area in the lower half of the second resonance chamber. There is one resonance area, a total of six resonance areas. Each resonance zone produces one sonic volume, plus a sine volume, plus a firing volume, for a total of eight sonic volumes. After the improvement, the ten-stringed piano of the present invention can generate twenty-six sound waves. Among them, the twenty-four resonance regions generate twenty-four sound waves, plus one string wave and one firing wave. A total of twenty-six sound waves. The volume of sound waves is the number of sound waves. For the plucked and plucked instruments of a specific resonance box, in addition to a string wave volume and a firing wave volume, it mainly depends on the number of resonance areas in the resonance box. Each resonance area generates one sound wave volume, and as many resonance areas generate as many sound wave volumes. In addition, the amount of sound waves directly affects the timbre, penetration, and volume of the instrument. Therefore, the design of the present invention can obviously improve the timbre of the high-pitched region and the low-pitched region, and increase the penetrating power of the high-pitched region and the low-pitched region.
5.本发明横音梁与面板、中间板和底板之间的月芽孔是共鸣腔内各个共鸣区域之间的通道,这种通道设计有利于相互传递声波、共鸣和振动。5. The moon bud holes between the transverse sound beam and the face plate, the middle plate and the bottom plate of the present invention are the channels between each resonance area in the resonance cavity, and the channel design is conducive to mutual transmission of sound waves, resonance and vibration.
6.本发明在相邻的两根音梁之间固定架设有加强板(即第一上加强板、第一下加强板和第二下加强板),其作用一是可以增加面板、中间板和底板中部区域,特别是音梁之间的强度,二是可以增加音梁产生共鸣时的载荷,进一步改善了低音区的音色和穿透力,另一方面加强了共鸣腔的中央区域,相对而言也拉开了与共鸣腔四周边缘区域的强度差距,也有利于改善高音区的音色和穿透力。6. In the present invention, reinforcing plates (ie, the first upper reinforcing plate, the first lower reinforcing plate and the second lower reinforcing plate) are fixedly framed between two adjacent sound beams, and the first function is to increase the front panel, the middle plate and the bottom plate. The middle area, especially the strength between the sound beams, can increase the load when the sound beams resonate, further improving the tone and penetration of the bass area, and on the other hand, strengthening the central area of the resonant cavity, relatively speaking It also widens the intensity gap with the edge area around the resonance cavity, which is also conducive to improving the tone and penetration of the high-pitched area.
7.本发明所述第一沟槽至第十沟槽均采用弧形槽,可以使得面板、中间板和底板在厚度上尽量减少厚薄突变,影响共鸣箱的共鸣和振动。7. The first groove to the tenth groove of the present invention are all arc-shaped grooves, which can minimize the sudden change in thickness of the front panel, the middle panel and the bottom panel, which affects the resonance and vibration of the resonance box.
以上优点和效果均是以最佳方式来加以说明。但需要特别强调的是对于本发明来说在第一共鸣腔面板内壁上和第二共鸣腔中间板下侧壁面上设置双音梁结构以及开设沟槽的措施比在第一共鸣腔中间板上侧壁面上和第二共鸣腔底板内壁上采用对等措施更为重要,相对而言作用和效果也更好。原因是面板上设有琴弦,而底板与琴弦不直接相连。因此在面板内壁上设置双音梁结构以及开设沟槽是解决本发明技术问题的关键,而在底板内壁上设置双音梁结构以及开设沟槽对于本发明来说是锦上添花,这是本领域技术人员容易理解的。The above advantages and effects are described in the best way. But it needs to be emphasized that for the present invention, the measures of setting double sound beam structures and opening grooves on the inner wall of the first resonance chamber panel and the lower side wall of the second resonance chamber middle plate are better than those of the first resonance chamber middle plate. It is more important to adopt equal measures on the side wall surface and the inner wall of the bottom plate of the second resonance chamber, and the effect and effect are relatively better. The reason is that there are strings on the top plate, and the bottom plate is not directly connected to the strings. Therefore, the key to solving the technical problem of the present invention is to set the double-sound beam structure and open the grooves on the inner wall of the panel, and to set the double-sound beam structure and open the grooves on the inner wall of the bottom plate is the icing on the cake for the present invention, which is a skill in the art. Easy for people to understand.
附图说明Description of drawings
附图1为本发明实施例十弦琴共鸣箱主视结构示意图;Accompanying drawing 1 is the front view structure diagram of ten-stringed piano resonance box according to the embodiment of the present invention;
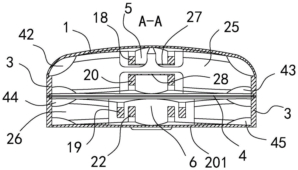
附图2为图1中的A-A横截面图;Accompanying drawing 2 is A-A cross-sectional view in Fig. 1;
附图3为图2中的共鸣箱箱体横截面图;3 is a cross-sectional view of the resonance box body in FIG. 2;
附图4为本发明实施例十弦琴共鸣箱的面板内壁主视图;4 is a front view of the inner wall of the panel of the ten-stringed piano resonance box according to the embodiment of the present invention;
附图5为本发明实施例十弦琴共鸣箱的底板内壁主视图;5 is a front view of the inner wall of the bottom plate of the ten-stringed piano resonance box according to the embodiment of the present invention;
附图6为本发明实施例十弦琴共鸣箱的中间板俯视图;6 is a top plan view of a middle plate of a ten-stringed piano sound box according to an embodiment of the present invention;
附图7为本发明实施例十弦琴的第一上音梁主视图;Accompanying drawing 7 is the front view of the first bracing beam of the ten-stringed piano of the embodiment of the present invention;
附图8为本发明实施例十弦琴的第一上音梁左视图;Accompanying drawing 8 is the left side view of the first upper bracing of the ten-stringed piano of the embodiment of the present invention;
附图9为本发明实施例十弦琴的第一下音梁主视图;9 is a front view of the first lower bracing of a ten-stringed piano according to an embodiment of the present invention;
附图10为本发明实施例十弦琴的第一下音梁左视图;Accompanying drawing 10 is the left side view of the first lower bracing of the ten-stringed piano of the embodiment of the present invention;
附图11为本发明实施例十弦琴的第二下音梁主视图;11 is a front view of the second lower bracing of a ten-stringed piano according to an embodiment of the present invention;
附图12为本发明实施例十弦琴的第二下音梁左视图;12 is a left side view of the second lower bracing of a ten-stringed piano according to an embodiment of the present invention;
附图13为本发明实施例十弦琴的第二上音梁主视图;13 is a front view of the second bracing beam of a ten-stringed piano according to an embodiment of the present invention;
附图14为本发明实施例十弦琴的第二上音梁左视图;14 is a left side view of the second upper bracing of a ten-stringed piano according to an embodiment of the present invention;
附图15为本发明实施例十弦琴的第三下音梁主视图;15 is a front view of the third bracing of a ten-stringed piano according to an embodiment of the present invention;
附图16为本发明实施例十弦琴的第三下音梁左视图;Accompanying drawing 16 is the left side view of the third bracing of the ten-stringed piano of the embodiment of the present invention;
附图17为本发明实施例十弦琴的大横音梁主视图;17 is a front view of a large transverse sound beam of a ten-stringed piano according to an embodiment of the present invention;
附图18为本发明实施例十弦琴的大横音梁左视图;18 is a left side view of a large transverse sound beam of a ten-string piano according to an embodiment of the present invention;
附图19为本发明实施例十弦琴的小横音梁主视图;Accompanying drawing 19 is the front view of the small beam of the ten-stringed piano of the embodiment of the present invention;
附图20为本发明实施例十弦琴的小横音梁左视图。FIG. 20 is a left side view of a small beam of a ten-stringed piano according to an embodiment of the present invention.
以上附图中:1.面板;2.底板;201.前底板;202.后底板;3. 侧板;4. 中间板;5.第一共鸣腔;6.第二共鸣腔;7.第一音孔;8.第一沟槽;9.第二沟槽;10.第五沟槽;11.第六沟槽;12.第七沟槽;13.第八沟槽;14.第三沟槽;15.第四沟槽;16.第九沟槽;17.第十沟槽;18.第一上音梁;19.第二上音梁;20.第一下音梁;21.第二下音梁;22.第三下音梁;23.第二音孔;24.第三音孔;25.大横音梁;26.小横音梁;27.第一上加强板;28.第一下加强板;29.第二下加强板;30.第一上桥洞;31.第二上桥洞;32.第一下桥洞;33.第二下桥洞;34.第三下桥洞;35.第一缺口;36.第二缺口;37.第一避让口;38.第二避让口;39.支柱;40.第三缺口;41.第四缺口;42.第一月芽孔;43.第二月芽孔;44.第三月芽孔;45.第四月芽孔。In the above drawings: 1. panel; 2. Bottom plate; 201. front bottom plate; 202. rear bottom plate; 3. side plate; 4. middle plate; 5. first resonance chamber; 6. The second resonance chamber; 7. 8. The first sound hole; 9. The first groove; 10. The second groove; The fifth groove; 11. The sixth groove; 12. The seventh groove; 13. The eighth groove; 14. 14. The third groove; 16. the fourth groove; The ninth groove; 17. The tenth groove; 18. 19. The first upper sound beam; 20. The second upper sound beam; 21. The first lower sound beam; 22. The second lower sound beam; 23. The third lower sound beam; 24. The second sound hole; 25. The third sound hole; 26. Large transverse sound beam; 27. Small transverse sound beam; 28. The first upper reinforcing plate; 29. The first lower reinforcing plate; 30. The second lower reinforcing plate; 31. The first upper bridge hole; The second upper bridge hole; 32. The first lower bridge hole; 33. The second lower bridge hole; 34. 35. The third lower bridge hole; The first gap; 36. The second gap; 37. 38. The first escape point; 39. The second escape port; 40. Pillar; 41. The third gap; The fourth gap; 42. The first month bud hole; 43. 44. Bud hole in the second month; 45. The third month bud hole; Bud hole in the fourth month.
具体实施方式Detailed ways
下面结合附图及实施例对本发明作进一步描述:Below in conjunction with accompanying drawing and embodiment, the present invention is further described:
实施例:一种双音梁十弦琴Embodiment: a kind of two-tone beam ten-string piano
由于本发明的创新均集中在共鸣箱上,因此本实施例将重点描述十弦琴共鸣箱的结构和构造,而其他结构可以认为采用现有技术来实现,在本实施例中不再作详细介绍。Since the innovations of the present invention are all focused on the resonance box, this embodiment will focus on describing the structure and structure of the ten-stringed piano resonance box, while other structures can be considered to be realized by using the existing technology, and will not be described in detail in this embodiment. introduce.
本实施例十弦琴共鸣箱的结构和构造:如图1-20所示,该共鸣箱的箱体由面板1、底板2、侧板3拼合而成(见图1),底板2由前底板201与后底板202在箱体高度方向上错位连接形成(见图1),其中,前底板201在箱体高度方向上低于后底板202。箱体内设有中间板4(见图1和图3),该中间板4在箱体前后方位上位于前底板201对应的位置上(见图1),并将前底板201与面板1之间的箱体内部空间分割成位于上部的第一共鸣腔5和位于下部的第二共鸣腔6(见图1和图3),其中,第一共鸣腔5由中间板4与面板1之间的空间以及后底板202与面板1之间的空间共同构成(见图1),第二共鸣腔6由中间板4与前底板201之间的空间构成(见图1)。中间板4上设有第一音孔7(见图7),第一共鸣腔5与第二共鸣腔6通过中板音孔7连通。The structure and structure of the ten-stringed piano resonance box in this embodiment: As shown in Figure 1-20, the box body of the resonance box is composed of a
在所述第一共鸣腔5内设有两根第一上音梁18(见图1),第一上音梁18为长条状的音梁构件(见图7和图8),两根第一上音梁18的一侧紧贴固定在所述面板1的内壁上,两根第一上音梁18的另一侧在第一共鸣腔5内悬空(见图2),两根第一上音梁18的长度方向与共鸣箱的长度方向一致(见图4),在共鸣箱的宽度方向上两根第一上音梁18平行并列且相隔一段距离。所述第一上音梁18上设有第一上桥洞30(见图7),第一上桥洞30在第一上音梁18的一侧为洞缺并使第一上音梁18形成上桥式音梁结构,第一上桥洞30架设在第一沟槽8上。Two first upper bracing beams 18 (see FIG. 1 ) are arranged in the
在所述第一共鸣腔5对应的面板1的内壁上设有两条第一沟槽8(见图4),两条第一沟槽8均沿共鸣箱的宽度方向开设,并且两条第一沟槽8在共鸣箱的长度方向相隔布置。在所述第一共鸣腔5对应的面板1的内壁上设有一条第二沟槽9(见图4),第二沟槽9沿共鸣箱的长度方向开设,并且第二沟槽9在共鸣箱的宽度方向位于中央位置。两条第一沟槽8与一条第二沟槽9在面板1的内壁上交叉布置并且相互贯通,其中,第二沟槽9位于两根第一上音梁18之间的位置(见图4),第二沟槽9的长度方向与第一上音梁18的长度方向一致。两条第一沟槽8在共鸣箱的宽度方向上横跨两根第一上音梁18,并在面板1的内壁上形成两条上横向音隧,第二沟槽9在面板1的内壁上形成上纵向音隧(见图4)。Two first grooves 8 (see FIG. 4 ) are provided on the inner wall of the
所述第一沟槽8的长度小于第一共鸣腔5内面板1在第一沟槽8对应位置的长度(见图4),第一沟槽8的两端处与面板1的内壁之间均设置有圆滑过渡面。第二沟槽9的长度小于第一共鸣腔5内面板1在第二沟槽9对应位置的长度(见图4),第二沟槽9的两端处与面板1的内壁之间均设置有圆滑过渡面。The length of the
在所述第二共鸣腔6内设有两根第二上音梁19(见图5),第二上音梁19为长条状的音梁构件(见图13和图14),两根第二上音梁19的一侧紧贴固定在所述中间板4的下侧壁面上,两根第二上音梁19的另一侧在第二共鸣腔6内悬空(见图2),两根第二上音梁19的长度方向与共鸣箱的长度方向一致,在共鸣箱的宽度方向上两根第二上音梁19平行并列且相隔一段距离(见图5)。所述第二上音梁19上设有第二上桥洞31(见图13),第二上桥洞31在第二上音梁19的一侧为洞缺并使第二上音梁19形成上桥式音梁结构,第二上桥洞31架设在第三沟槽14上。Two second upper bracing beams 19 (see FIG. 5 ) are arranged in the
在所述第二共鸣腔6对应的中间板4的下侧壁面上设有一条第三沟槽14和一条第四沟槽15(见图5),其中,第三沟槽14沿共鸣箱的宽度方向开设,第四沟槽15沿共鸣箱的长度方向开设,第三沟槽14与第四沟槽15在中间板4的下侧壁面上交叉布置并且相互贯通,其中,第四沟槽15位于两根第二上音梁19之间的位置(见图5),第四沟槽15的长度方向与第二上音梁19的长度方向一致,第三沟槽14在共鸣箱的宽度方向上横跨两根第二上音梁19,并在中间板4的下侧壁面上形成上横向音隧,第四沟槽15在中间板4的下侧壁面上形成上纵向音隧(见图5)。A
所述第三沟槽14的长度小于第二共鸣腔6内中间板4在第三沟槽14对应位置的长度(见图5),第三沟槽14的两端处与中间板4的下侧壁面之间均设置有圆滑过渡面。第四沟槽15的长度小于第二共鸣腔6内中间板4在第四沟槽15对应位置的长度(见图5),第四沟槽15的两端处与中间板4的下侧壁面之间均设置有圆滑过渡面。The length of the
在所述第一共鸣腔5内设有两根第一下音梁20(见图2和图6),第一下音梁20为长条状的音梁构件(见图9和图10),两根第一下音梁20的一侧紧贴固定在所述中间板4的上侧壁面上,两根第一下音梁20的另一侧相对于面板1在第一共鸣腔5内悬空(见图2),两根第一下音梁20的长度方向与共鸣箱的长度方向一致,在共鸣箱的宽度方向上看两根第一下音梁20平行并列且相隔一段距离(见图6)。所述第一下音梁20上设有第一下桥洞32(见图9),第一下桥洞32在第一下音梁20的一侧为洞缺并使第一下音梁20形成下桥式音梁结构,第一下桥洞32架设在第五沟槽10上。Two first lower sound beams 20 (see FIGS. 2 and 6 ) are arranged in the
在所述第一共鸣腔5对应的中间板4的上侧壁面上设有一条第五沟槽10和一条第六沟槽11(见图6),其中,第五沟槽10沿共鸣箱的宽度方向开设,第六沟槽11沿共鸣箱的长度方向开设,第五沟槽10与第六沟槽11在中间板4的上侧壁面上交叉布置并且相互贯通(见图3),其中,第六沟槽11位于两根第一下音梁20之间的位置(见图6),第六沟槽11的长度方向与第一下音梁20的长度方向一致,第五沟槽10在共鸣箱的宽度方向上横跨两根第一下音梁20,并在中间板4的上侧壁面上形成下横向音隧,第六沟槽11在中间板4的上侧壁面上形成下纵向音隧(见图6)。A
所述第五沟槽10的长度小于第一共鸣腔5内中间板4在第五沟槽10对应位置的长度(见图6),第五沟槽10的两端处与中间板4的上侧壁面之间均设置有圆滑过渡面。第六沟槽11的长度小于第一共鸣腔5内中间板4在第六沟槽11对应位置的长度,第六沟槽11的两端处与中间板4的上侧壁面之间均设置有圆滑过渡面(见图6)。The length of the
在所述第一共鸣腔5内设有两根第二下音梁21(见图5),第二下音梁21为长条状的音梁构件(见图11和图12),两根第二下音梁21的一侧紧贴固定在所述后底板202的内壁上,两根第二下音梁21的另一侧相对于面板1在第一共鸣腔5内悬空(见图1),两根第二下音梁21的长度方向与共鸣箱的长度方向一致,在共鸣箱的宽度方向上看两根第二下音梁21平行并列且相隔一段距离(见图5)。所述第二下音梁21上设有第二下桥洞33(见图11),第二下桥洞33在第二下音梁21的一侧为洞缺并使第二下音梁21形成下桥式音梁结构,第二下桥洞33架设在第七沟槽12上。Two second lower bracing beams 21 (see FIG. 5 ) are arranged in the
在所述第一共鸣腔5对应的后底板202的内壁上设有一条第七沟槽12和一条第八沟槽13(见图5),其中,第七沟槽12沿共鸣箱的宽度方向开设,第八沟槽13沿共鸣箱的长度方向开设,第七沟槽12与第八沟槽13在后底板202的内壁上交叉布置并且相互贯通,其中,第八沟槽13位于两根第二下音梁21之间的位置(见图5),第八沟槽13的长度方向与第二下音梁21的长度方向一致,第七沟槽12在共鸣箱的宽度方向上横跨两根第二下音梁21,并在后底板202的内壁上形成下横向音隧,第八沟槽13在后底板202的内壁上形成下纵向音隧(见图5)。A
所述第七沟槽12的长度小于第一共鸣腔5内后底板202在第七沟槽12对应位置的长度(见图5),第七沟槽12的两端处与后底板202的内壁之间均设置有圆滑过渡面。第八沟槽13的长度小于第一共鸣腔5内后底板202在第八沟槽13对应位置的长度(见图5),第八沟槽13的两端处与后底板202的内壁之间均设置有圆滑过渡面。The length of the
在所述第二共鸣腔6内设有两根第三下音梁22(见图5),第三下音梁22为长条状的音梁构件(见图15和图16),两根第三下音梁22的一侧紧贴固定在所述前底板201的内壁上,两根第三下音梁22的另一侧在第二共鸣腔6内悬空(见图2),两根第三下音梁22的长度方向与共鸣箱的长度方向一致,在共鸣箱的宽度方向上两根第三下音梁22平行并列且相隔一段距离(见图5)。所述第三下音梁22上设有第三下桥洞34(见图15),第三下桥洞34在第三下音梁22的一侧为洞缺并使第三下音梁22形成下桥式音梁结构,第三下桥洞34架设在第九沟槽16上。Two third lower bracing beams 22 (see FIG. 5 ) are arranged in the
在所述第二共鸣腔6对应的前底板201的内壁上设有一条第九沟槽16和一条第十沟槽17(见图5),其中,第九沟槽16沿共鸣箱的宽度方向开设,第十沟槽17沿共鸣箱的长度方向开设,第九沟槽16与第十沟槽17在前底板201的内壁上交叉布置并且相互贯通,其中,第十沟槽17位于两根第三下音梁22之间的位置(见图5),第十沟槽17的长度方向与第三下音梁22的长度方向一致,第九沟槽16在共鸣箱的宽度方向上横跨两根第三下音梁22,并在前底板201的内壁上形成下横向音隧,第十沟槽17在前底板201的内壁上形成下纵向音隧(见图5)。A
所述第九沟槽16的长度小于第二共鸣腔6内前底板201在第九沟槽16对应位置的长度(见图5),第九沟槽16的两端处与前底板201的内壁之间均设置有圆滑过渡面。第十沟槽17的长度小于第二共鸣腔6内前底板201在第十沟槽17对应位置的长度(见图5),第十沟槽17的两端处与前底板201的内壁面之间均设置有圆滑过渡面。The length of the
在所述第一共鸣腔5内设有大横音梁25(见图2和图4),大横音梁25为板片状(见图17和图18),其中,大横音梁25支撑在面板1与中间板4之间,并且固定在第一沟槽8位置上(见图2)。大横音梁25以第二沟槽9中心面为基准呈左右对称,其中,大横音梁25的顶部与所述面板1固定连接,大横音梁25的底部与中间板4固定连接,大横音梁25的侧部与对应侧的侧板3固定连接(见图2)。所述大横音梁25上对应第一上音梁18设有第一避让口37(见图17),第一避让口37中设有支柱39(见图17),支柱39与大横音梁25固定连接。大横音梁25上对应第一下音梁20设有第二避让口38(见图17)。所述大横音梁25与面板1和侧板3连接的侧边上设有第一缺口35(见图17),在装配状态下该第一缺口35与面板1和侧板3内壁之间形成第一月芽孔42(见图2)。大横音梁25与中间板4和侧板3连接的侧边上设有第二缺口36(见图17),在装配状态下该第二缺口36与中间板4和侧板3内壁之间形成第二月芽孔43(见图2)。A large sound beam 25 (see FIGS. 2 and 4 ) is arranged in the
在所述第二共鸣腔6内设有小横音梁26(见图2和图5),小横音梁26为板片状(见图19和图20),其中,小横音梁26支撑中间板4与前底板201之间(见图2),并且固定在第三沟槽14位置上(见图5)。小横音梁26以第四沟槽15中心面为基准呈左右对称,其中,小横音梁26的顶部与所述中间板4固定连接,小横音梁26的底部与前底板201固定连接,小横音梁26的侧部与对应侧的侧板3固定连接(见图2)。所述小横音梁26与中间板4和侧板3连接的侧边上设有第三缺口40(见图19),在装配状态下该第三缺口40与中间板4和侧板3内壁之间形成第三月芽孔44(见图2)。小横音梁26与前底板201和侧板3连接的侧边上设有第四缺口41(见图19),在装配状态下该第四缺口41与前底板201和侧板3内壁之间形成第四月芽孔45(见图2)。A small transverse sound beam 26 (see FIGS. 2 and 5 ) is arranged in the
所述两根第一上音梁18之间固定架设有第一上加强板27(见图2)。两根第一下音梁20之间固定架设有第一下加强板28(见图2)。两根第二下音梁21之间固定架设有第二下加强板29(见图5)。所述第一沟槽8、第二沟槽9(见图3)、第五沟槽10、第六沟槽11(见图3)、第七沟槽12、第八沟槽13、第三沟槽14、第四沟槽15、第九沟槽16和第十沟槽17(见图3)均为弧形槽。A first
下面针对本发明的其他实施情况以及结构变化作如下说明:The following descriptions are made for other implementations of the present invention and structural changes:
1.以上实施例中,在共鸣箱的宽度方向上两根第一上音梁18平行并列(见图2)。两根第一下音梁20平行并列(见图2)。两根第二下音梁21平行并列(见图5)。两根第二上音梁19平行并列(见图2)。两根第三下音梁22平行并列(见图2)。但本发明不局限于此,两根第一上音梁18不一定要平行,两根第一下音梁20、两根第二下音梁21、两根第二上音梁19、两根第三下音梁22也不一定要平行,但平行设置为最佳,这是本领域技术人员容易理解和接受的。1. In the above embodiment, the two first upper bracing beams 18 are parallel and juxtaposed in the width direction of the resonance box (see FIG. 2 ). The two first
2.以上实施例中,在面板1和底板2内壁上以及中间板4上下侧壁面上,均设置有双音梁结构以及均开设沟槽等措施。但本发明不局限于此,可以将底板2内壁上以及中间板4上侧壁面上采用的双音梁及沟槽等措施取消掉或者改变为其他结构形式,仅仅保留面板1内壁以及中间板4下侧壁面上设置的技术措施也是可行的,只是效果方面稍微差一些。对于十弦琴共鸣箱而言面板1比底板2更为重要。原因是面板1上设有琴弦,而底板2与琴弦不直接相关,这是本领域技术人员容易理解的。2. In the above embodiment, measures such as double-sound beam structures and grooves are provided on the inner walls of the
3.以上实施例中,在面板1和底板2内壁上以及中间板4上下侧壁面上均设置有双音梁结构,即两根音梁并列设置的结构。但本发明不局限于此,可以将两根音梁从形式上改变为四根音梁并列使用。对于本发明来说,四根音梁与两根音梁虽然数量和形式有所不同,但其本质是相同的。假设四根音梁中的两根外侧音梁向两根内侧音梁靠近,就可以等同于双音梁。因此可以认为这种变化没有带来意料不到的效果,应理解为实质性等同。在本发明中双音梁包含有双数音梁对称布置的含意,因此六音梁对称布置也是本发明等同变化方式。这是本领域技术人员容易理解的。3. In the above embodiment, the inner walls of the
4.以上实施例中,第一沟槽8数量为两条(见图4),第二沟槽9至第十沟槽17的数量为一条(见图5和图6)。但本发明不局限于此,第一沟槽8到第十沟槽17在数量上可以是一条或者多条。这样的变化可以根据实际情况来确定。从本质上看第一沟槽8到第十沟槽17的数量至少为一条。这是本领域技术人员容易理解的。4. In the above embodiment, the number of the
5.以上实施例中,在共鸣箱中设置的大横音梁25是以第二沟槽9中心面为基准呈左右对称(见图2)。但本发明不局限于此,可以将每个大横音梁25分解成左右两个,并以第二沟槽9中心面为基准呈左右对称布置。同理,在共鸣箱中设置的小横音梁26是以第四沟槽15中心面为基准呈左右对称(见图2)。但本发明不局限于此,可以将两个小横音梁26合并成一个,并以第四沟槽15中心面为基准呈左右对称布置。这是本领域技术人员容易理解和接受的。5. In the above embodiment, the large
6.以上实施例中,在第一上音梁18上设有第一上桥洞30,在第二上音梁19上设有第二上桥洞31,在第一下音梁20上设有第一下桥洞32,在第二下音梁21上设有第二下桥洞33,在第三下音梁22上设有第三下桥洞34。但本发明不局限于此,可以不设第一上桥洞30,也可以不设第二上桥洞31、第一下桥洞32、第二下桥洞33和第三下桥洞34,甚至只在第一上音梁18、第二上音梁19、第一下音梁20、第二下音梁21和第三下音梁22五者中的一者或两者上设置桥洞。这是本领域技术人员容易理解和接受的变化情况。6. In the above embodiment, a first
7.以上实施例中,两根第一上音梁18之间固定架设有第一上加强板27(见图2),两根第一下音梁20之间固定架设有第一下加强板28(见图2),两根第二下音梁21之间固定架设有第二下加强板29(见图5)。但本发明不局限于此,可以不设第一上加强板27,而使两根第一上音梁18在共鸣箱内悬空。同理,也可以不设第一下加强板28,而使两根第一下音梁20在共鸣箱内悬空,还可以不设第二下加强板29。7. In the above embodiment, the first upper reinforcing plate 27 (see FIG. 2 ) is fixedly framed between the two first upper sound beams 18 , and the first lower reinforcing plate is fixedly framed between the two first lower sound beams 20 . 28 (see FIG. 2 ), a second lower reinforcing plate 29 (see FIG. 5 ) is fixedly framed between the two second lower sound beams 21 . However, the present invention is not limited to this, and the first
8.以上实施例中,所述第一沟槽8到第十沟槽17均为弧形槽。但本发明不局限于此,可以将沟槽设计成其它形状,比如V形、U形、W形等凹形结构,但弧形槽为最佳设计。这是本领域技术人员容易理解和接受的。8. In the above embodiments, the
9.以上实施例中,从第一共鸣腔5的横截面上观察(见图2),两根第一下音梁20与两根第一上音梁18在上下方向上位置呈对齐布置(见图2)。但本发明不局限于此,可以不对齐布置,但对齐布置效果最佳。这是本领域技术人员容易理解和接受的。9. In the above embodiment, viewed from the cross section of the first resonance chamber 5 (see FIG. 2 ), the two first lower bracing
10.以上实施例中,两根第一上音梁18的形状和尺寸大小相同(见图7),两根第一下音梁20的形状和尺寸大小相同(见图9),两根第二下音梁21的形状和尺寸大小相同(见图11),两根第二上音梁19的形状和尺寸大小相同(见图13),两根第三下音梁22的形状和尺寸大小相同(见图15)。但本发明不局限于此,两根第一上音梁18的形状和尺寸大小可以不相同,两根第一下音梁20的形状和尺寸大小也可以不相同,两根第二下音梁21的形状和尺寸大小也可以不相同,两根第二上音梁19的形状和尺寸大小也可以不相同,两根第三下音梁22的形状和尺寸大小也可以不相同。具体可以根据共鸣箱调试音色和音质时来确定。这是本领域技术人员容易理解和接受的。10. In the above embodiment, the shape and size of the two first upper bracing beams 18 are the same (see FIG. 7 ), the shape and size of the two first lower bracing
上述实施例只为说明本发明的技术构思及特点,其目的在于让熟悉此项技术的人士能够了解本发明的内容并据以实施,并不能以此限制本发明的保护范围。凡根据本发明精神实质所作的等效变化或修饰,都应涵盖在本发明的保护范围之内。The above-mentioned embodiments are only intended to illustrate the technical concept and characteristics of the present invention, and the purpose is to enable those who are familiar with the art to understand the content of the present invention and implement accordingly, and cannot limit the protection scope of the present invention by this. All equivalent changes or modifications made according to the spirit of the present invention should be included within the protection scope of the present invention.
Claims (10)
Priority Applications (1)
| Application Number | Priority Date | Filing Date | Title |
|---|---|---|---|
| CN202010810249.4A CN111951756B (en) | 2020-08-13 | 2020-08-13 | A double-beam ten-string harp |
Applications Claiming Priority (1)
| Application Number | Priority Date | Filing Date | Title |
|---|---|---|---|
| CN202010810249.4A CN111951756B (en) | 2020-08-13 | 2020-08-13 | A double-beam ten-string harp |
Publications (2)
| Publication Number | Publication Date |
|---|---|
| CN111951756A true CN111951756A (en) | 2020-11-17 |
| CN111951756B CN111951756B (en) | 2025-02-25 |
Family
ID=73333385
Family Applications (1)
| Application Number | Title | Priority Date | Filing Date |
|---|---|---|---|
| CN202010810249.4A Active CN111951756B (en) | 2020-08-13 | 2020-08-13 | A double-beam ten-string harp |
Country Status (1)
| Country | Link |
|---|---|
| CN (1) | CN111951756B (en) |
Cited By (1)
| Publication number | Priority date | Publication date | Assignee | Title |
|---|---|---|---|---|
| WO2022032951A1 (en) * | 2020-08-13 | 2022-02-17 | 苏州礼乐乐器股份有限公司 | Sound-post-free double-bracing violin |
Citations (8)
| Publication number | Priority date | Publication date | Assignee | Title |
|---|---|---|---|---|
| CN203205005U (en) * | 2013-04-15 | 2013-09-18 | 黄山学院 | Chinese zither |
| WO2013164318A2 (en) * | 2012-04-30 | 2013-11-07 | Jan Tomsky | Acoustic plucked string instrument, and method for manufacturing an acoustic plucked string instrument |
| CN104485087A (en) * | 2014-12-13 | 2015-04-01 | 扬州民族乐器研制厂有限公司 | Double-box 21 or 25-stringed plucked instrument |
| CN205984244U (en) * | 2016-08-30 | 2017-02-22 | 杨国富 | Two -chamber formula musical instrument body zither |
| CN205984252U (en) * | 2016-08-30 | 2017-02-22 | 邱长军 | Guqin bottom plate |
| CN208284215U (en) * | 2018-04-17 | 2018-12-25 | 郭少云 | A kind of Chinese zither sound bridge and Chinese zither |
| CN211181616U (en) * | 2019-10-18 | 2020-08-04 | 汕头市粤升乐器实业有限公司 | Dulcimer body |
| CN213070581U (en) * | 2020-08-13 | 2021-04-27 | 苏州礼乐乐器股份有限公司 | A two-tone beam ten-string piano |
-
2020
- 2020-08-13 CN CN202010810249.4A patent/CN111951756B/en active Active
Patent Citations (8)
| Publication number | Priority date | Publication date | Assignee | Title |
|---|---|---|---|---|
| WO2013164318A2 (en) * | 2012-04-30 | 2013-11-07 | Jan Tomsky | Acoustic plucked string instrument, and method for manufacturing an acoustic plucked string instrument |
| CN203205005U (en) * | 2013-04-15 | 2013-09-18 | 黄山学院 | Chinese zither |
| CN104485087A (en) * | 2014-12-13 | 2015-04-01 | 扬州民族乐器研制厂有限公司 | Double-box 21 or 25-stringed plucked instrument |
| CN205984244U (en) * | 2016-08-30 | 2017-02-22 | 杨国富 | Two -chamber formula musical instrument body zither |
| CN205984252U (en) * | 2016-08-30 | 2017-02-22 | 邱长军 | Guqin bottom plate |
| CN208284215U (en) * | 2018-04-17 | 2018-12-25 | 郭少云 | A kind of Chinese zither sound bridge and Chinese zither |
| CN211181616U (en) * | 2019-10-18 | 2020-08-04 | 汕头市粤升乐器实业有限公司 | Dulcimer body |
| CN213070581U (en) * | 2020-08-13 | 2021-04-27 | 苏州礼乐乐器股份有限公司 | A two-tone beam ten-string piano |
Cited By (2)
| Publication number | Priority date | Publication date | Assignee | Title |
|---|---|---|---|---|
| WO2022032951A1 (en) * | 2020-08-13 | 2022-02-17 | 苏州礼乐乐器股份有限公司 | Sound-post-free double-bracing violin |
| US12417753B2 (en) | 2020-08-13 | 2025-09-16 | Suzhou Li Yue Musical Instruments Co., Ltd. | Kind of double-bars violin family without sound post |
Also Published As
| Publication number | Publication date |
|---|---|
| CN111951756B (en) | 2025-02-25 |
Similar Documents
| Publication | Publication Date | Title |
|---|---|---|
| CN111951756A (en) | A two-tone beam ten-string piano | |
| CN111951758B (en) | A double-beam guqin | |
| CN111986634A (en) | A two-beam banjo | |
| CN111951755B (en) | Double-sound Liang Ga musical instrument | |
| CN213070581U (en) | A two-tone beam ten-string piano | |
| CN111951759A (en) | Double-sound beam Japanese zither | |
| CN111951754B (en) | A two-tone Liangse | |
| CN111951757A (en) | A two-tone beam guzheng | |
| CN111951761B (en) | A double-beam konghou | |
| CN212541881U (en) | A two-tone beam Japanese koto | |
| CN111951762B (en) | A double-beam liuqin | |
| CN212434225U (en) | a two-tone beam | |
| WO2022032951A1 (en) | Sound-post-free double-bracing violin | |
| CN212541880U (en) | A double-sound beam ga\20539 | |
| CN212541879U (en) | A kind of two-tone beam Konghou | |
| CN212541882U (en) | A two-tone beam guzheng | |
| CN111951760A (en) | A two-tone pipa | |
| CN212434222U (en) | A two-tone beam liuqin | |
| CN212434216U (en) | Soundboard with sound beam and sound tunnel in an upright piano | |
| CN218631351U (en) | Ten string musical instrument with sound tunnel | |
| CN218602090U (en) | Double-sound-beam ten-string musical instrument | |
| CN218602085U (en) | Double-tone beam se | |
| CN218602093U (en) | Double-sound-beam five-string instrument | |
| CN218631350U (en) | Double-sound-beam Gal 20539 | |
| CN218602097U (en) | Tongued tunneler |
Legal Events
| Date | Code | Title | Description |
|---|---|---|---|
| PB01 | Publication | ||
| PB01 | Publication | ||
| SE01 | Entry into force of request for substantive examination | ||
| SE01 | Entry into force of request for substantive examination | ||
| GR01 | Patent grant | ||
| GR01 | Patent grant |
