CN111942603A - Aerial monitoring camera device based on unmanned aerial vehicle uses - Google Patents
Aerial monitoring camera device based on unmanned aerial vehicle uses Download PDFInfo
- Publication number
- CN111942603A CN111942603A CN202010880953.7A CN202010880953A CN111942603A CN 111942603 A CN111942603 A CN 111942603A CN 202010880953 A CN202010880953 A CN 202010880953A CN 111942603 A CN111942603 A CN 111942603A
- Authority
- CN
- China
- Prior art keywords
- plate
- unmanned aerial
- aerial vehicle
- lens
- camera device
- Prior art date
- Legal status (The legal status is an assumption and is not a legal conclusion. Google has not performed a legal analysis and makes no representation as to the accuracy of the status listed.)
- Withdrawn
Links
- 238000012544 monitoring process Methods 0.000 title claims abstract description 13
- 230000007246 mechanism Effects 0.000 claims abstract description 49
- 238000013016 damping Methods 0.000 claims abstract description 21
- 238000009434 installation Methods 0.000 claims abstract description 10
- 238000003825 pressing Methods 0.000 claims abstract description 8
- 230000035939 shock Effects 0.000 claims abstract description 8
- 238000010521 absorption reaction Methods 0.000 claims abstract description 4
- 238000007664 blowing Methods 0.000 claims description 40
- 239000000428 dust Substances 0.000 claims description 9
- 230000008878 coupling Effects 0.000 claims description 4
- 238000010168 coupling process Methods 0.000 claims description 4
- 238000005859 coupling reaction Methods 0.000 claims description 4
- 239000006096 absorbing agent Substances 0.000 claims description 2
- 230000008859 change Effects 0.000 description 5
- 230000000694 effects Effects 0.000 description 5
- 238000005452 bending Methods 0.000 description 4
- 238000010586 diagram Methods 0.000 description 2
- 230000000007 visual effect Effects 0.000 description 2
- 208000035473 Communicable disease Diseases 0.000 description 1
- 230000009286 beneficial effect Effects 0.000 description 1
- 230000003028 elevating effect Effects 0.000 description 1
- 208000015181 infectious disease Diseases 0.000 description 1
- 238000007689 inspection Methods 0.000 description 1
- 238000004519 manufacturing process Methods 0.000 description 1
- 238000013507 mapping Methods 0.000 description 1
- 238000000034 method Methods 0.000 description 1
- 230000004048 modification Effects 0.000 description 1
- 238000012986 modification Methods 0.000 description 1
- 230000008520 organization Effects 0.000 description 1
- 230000008569 process Effects 0.000 description 1
Images
Classifications
-
- B—PERFORMING OPERATIONS; TRANSPORTING
- B64—AIRCRAFT; AVIATION; COSMONAUTICS
- B64D—EQUIPMENT FOR FITTING IN OR TO AIRCRAFT; FLIGHT SUITS; PARACHUTES; ARRANGEMENT OR MOUNTING OF POWER PLANTS OR PROPULSION TRANSMISSIONS IN AIRCRAFT
- B64D47/00—Equipment not otherwise provided for
- B64D47/08—Arrangements of cameras
-
- F—MECHANICAL ENGINEERING; LIGHTING; HEATING; WEAPONS; BLASTING
- F16—ENGINEERING ELEMENTS AND UNITS; GENERAL MEASURES FOR PRODUCING AND MAINTAINING EFFECTIVE FUNCTIONING OF MACHINES OR INSTALLATIONS; THERMAL INSULATION IN GENERAL
- F16F—SPRINGS; SHOCK-ABSORBERS; MEANS FOR DAMPING VIBRATION
- F16F15/00—Suppression of vibrations in systems; Means or arrangements for avoiding or reducing out-of-balance forces, e.g. due to motion
- F16F15/02—Suppression of vibrations of non-rotating, e.g. reciprocating systems; Suppression of vibrations of rotating systems by use of members not moving with the rotating systems
- F16F15/04—Suppression of vibrations of non-rotating, e.g. reciprocating systems; Suppression of vibrations of rotating systems by use of members not moving with the rotating systems using elastic means
- F16F15/06—Suppression of vibrations of non-rotating, e.g. reciprocating systems; Suppression of vibrations of rotating systems by use of members not moving with the rotating systems using elastic means with metal springs
- F16F15/067—Suppression of vibrations of non-rotating, e.g. reciprocating systems; Suppression of vibrations of rotating systems by use of members not moving with the rotating systems using elastic means with metal springs using only wound springs
Landscapes
- Engineering & Computer Science (AREA)
- Aviation & Aerospace Engineering (AREA)
- General Engineering & Computer Science (AREA)
- Physics & Mathematics (AREA)
- Acoustics & Sound (AREA)
- Mechanical Engineering (AREA)
- Studio Devices (AREA)
- Accessories Of Cameras (AREA)
Abstract
The invention is suitable for the technical field of unmanned aerial vehicles, and provides an aerial monitoring camera device based on an unmanned aerial vehicle, wherein the aerial monitoring camera device comprises an installation holder, and the lower surface of the installation holder is connected with a damping plate through a damping mechanism; the camera body is positioned between the lifting and pressing fixing mechanism and the upper surface of the bottom of the L-shaped plate, and the lens is positioned on one side of the camera body, which is far away from the L-shaped plate; scalable rain-proof mechanism is installed at the top of L template, scalable rain-proof mechanism is located the top of camera lens. The multi-angle adjusting mechanism is arranged, the shooting angle of the lens can be adjusted, and the shock absorption mechanism is arranged, so that the stability of the camera body and the lens can be improved, and the influence of vibration on shooting is reduced.
Description
Technical Field
The invention belongs to the technical field of unmanned aerial vehicles, and particularly relates to an aerial monitoring camera device based on an unmanned aerial vehicle.
Background
An unmanned plane, called a drone for short, is an unmanned plane operated by a radio remote control device and a self-contained program control device, or is completely or intermittently autonomously operated by an on-board computer. The unmanned aerial vehicle has the advantages of small volume, low manufacturing cost, convenient use and the like, and can be divided into military use and civil use according to the application field, wherein in the aspect of civil use, the unmanned aerial vehicle and industrial application are really just needed by the unmanned aerial vehicle, and the unmanned aerial vehicle is applied in the fields of aerial photography, agriculture and forestry, plant protection, miniature self-shooting, express transportation, disaster rescue, wild animal observation, infectious disease monitoring, surveying and mapping, news reporting, electric power inspection, disaster relief, movie and television shooting and the like, so that the application of the unmanned aerial vehicle is greatly expanded.
When the unmanned aerial vehicle is used, most unmanned aerial vehicles need to be monitored by means of a camera device, the world customs organization coordination system committee (HSC) classifies the unmanned aerial vehicle into a camera which can fly, the influence and the effect of the camera device on the unmanned aerial vehicle are self-evident, and a shooting image can be transmitted in real time through the camera device, so that the aims of patrol, observation, shooting and the like are fulfilled.
Most of shooting devices in the prior art are directly installed and fixed on an unmanned aerial vehicle, on one hand, the camera cannot be adjusted in the whole shooting angle, and actions such as looking up and looking down cannot be independently performed, on the other hand, the unmanned aerial vehicle shakes the body in the operation process, and the shooting device also shakes along with the camera, so that the shooting image quality is influenced.
Disclosure of Invention
The invention aims to provide an aerial monitoring camera device based on an unmanned aerial vehicle, and aims to solve the problems that the camera device in the prior art cannot adjust the angle according to the requirement and is easily influenced by the unmanned aerial vehicle to shake.
The embodiment of the invention is realized in such a way that the aerial monitoring camera device based on the unmanned aerial vehicle comprises an installation holder, wherein the lower surface of the installation holder is connected with a damping plate through a damping mechanism;
the camera body is positioned between the lifting and pressing fixing mechanism and the upper surface of the bottom of the L-shaped plate, and the lens is positioned on one side of the camera body, which is far away from the L-shaped plate;
scalable rain-proof mechanism is installed at the top of L template, scalable rain-proof mechanism is located the top of camera lens.
As a further scheme of the invention: the damping mechanism comprises a sleeve and a telescopic rod, the sleeve is fixed on the upper surface of the damping plate, the telescopic rod is fixed on the lower surface of the mounting platform, the telescopic rod is slidably mounted inside the sleeve, the telescopic rod is connected with the bottom of the sleeve through a spring, and a damper is mounted inside the spring;
a limiting plate is fixed on the outer wall of the telescopic rod and is slidably mounted in a limiting groove formed in the inner wall of the sleeve.
As a further scheme of the invention: the multi-angle adjusting mechanism comprises a first motor, the first motor is arranged on the upper surface of the damping plate, the output end of the first motor is in driving connection with a first rotating shaft through a coupler, and the first rotating shaft penetrates through the damping plate and is fixedly connected with the n-shaped seat;
the second motor is installed to the outer wall of n type seat, the output of second motor passes through the shaft coupling and is connected with the drive of second pivot, the second pivot is rotated and is installed the inside of n type seat, the connecting rod is fixed in the second pivot.
As a further scheme of the invention: the lifting abutting-pressing fixing mechanism comprises a groove, the groove is formed in the inner wall of the L-shaped plate, a third motor is installed at the bottom of the groove, the output end of the third motor is in driving connection with a third rotating shaft through a coupler, the third rotating shaft is rotatably installed in the groove, and a moving plate is installed on the third rotating shaft in a threaded connection mode;
the upper surface of the bottom of the L-shaped plate and the lower surface of the movable plate are both provided with anti-skidding grooves;
and a fixing plate is fixed on the side wall of the L-shaped plate, and a pressing bolt is installed inside the fixing plate.
As a further scheme of the invention: the telescopic rainproof mechanism comprises a mounting seat, the mounting seat is mounted at the top of the L-shaped plate, a rotating plate is rotatably mounted in the mounting seat, a first automatic telescopic rod is mounted inside the rotating plate, a rain shield is fixed at the top of the first automatic telescopic rod, and the rain shield is slidably mounted in the rotating plate;
the outer wall of the rotating plate is hinged with a hydraulic telescopic pushing arm, and the other end of the hydraulic telescopic pushing arm is hinged to the L-shaped plate.
As a further scheme of the invention: the camera comprises a camera body, a lens, a blowing and dust removing mechanism, a miniature air blowing pump, a blowing opening and a blowing opening, wherein the lens is provided with the air blowing and dust removing mechanism which comprises a semicircular air blowing ring;
the rear side wall of the semicircular air blowing ring is connected with the camera body through a second automatic telescopic rod.
As a further scheme of the invention: a sliding groove is formed in the shell of the lens, a sliding rod is fixed inside the semicircular air blowing ring, and the sliding rod is slidably mounted in the sliding groove.
Compared with the prior art, the invention has the beneficial effects that: the aerial monitoring camera device based on the unmanned aerial vehicle shoots in real time through the camera body and the lens, thereby completing the monitoring purpose, simultaneously considering the problem that most camera devices in the prior art are fixed, the angle adjustment is not easy to be carried out by self, the indirect adjustment is needed by changing the flight angle of the unmanned aerial vehicle, particularly provided with a multi-angle adjusting mechanism which can adjust the shooting angle of the lens to realize the purposes of bending down shooting, bending up shooting and the like, meanwhile, the problem that the shooting image quality of the camera device is influenced by the shake of the unmanned aerial vehicle during flying is also considered, be provided with damper very much, can improve the stability of camera body and camera lens, reduce vibrations to the influence of shooting, the scalable rain-proof mechanism of setting can protect camera body and camera lens under the condition of weather sudden change, prevents that the rainwater from causing the loss to camera device.
Drawings
In order to more clearly illustrate the technical solutions in the embodiments of the present invention, the drawings used in the description of the embodiments or the prior art will be briefly described below, and it is obvious that the drawings in the following description are only some embodiments of the present invention.
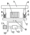
Fig. 1 is a schematic structural diagram of an aerial surveillance camera device for an unmanned aerial vehicle.
Fig. 2 is a front view of a shock absorbing mechanism in an unmanned aerial surveillance camera unit.
Fig. 3 is a side view of an L-shaped plate in an unmanned aerial vehicle-based aerial surveillance camera device.
Fig. 4 is a side view of a retractable rain protection mechanism in an unmanned aerial surveillance camera unit.
Fig. 5 is a schematic structural diagram of a rain shield in an unmanned aerial surveillance camera device.
Fig. 6 is a side view of the air blowing and dust removing mechanism in the unmanned aerial vehicle-based aerial surveillance camera device.
Fig. 7 is a front view of a semi-circular blowing ring in an unmanned aerial vehicle-based aerial surveillance camera.
In the figure: 1-mounting a tripod head, 2-a damping plate, 3-a sleeve, 4-a telescopic rod, 5-a limiting plate, 6-a spring, 7-a damper, 8-a first motor, 9-a first rotating shaft, 10-an n-shaped seat, 11-a second motor, 12-a second rotating shaft, 13-a connecting rod, 14-an L-shaped plate, 15-a groove, 16-a third motor, 17-a third rotating shaft, 18-a moving plate, 19-an anti-slip groove, 20-a fixing plate, 21-a pressing bolt, 22-a camera body, 23-a lens, 24-a mounting seat, 25-a rotating plate, 26-a rain shield, 27-a first automatic telescopic rod, 28-a hydraulic telescopic pushing arm, 29-a second automatic telescopic rod, 30-a semicircular air blowing ring, 31-a slide bar, 32-a chute, 33-a miniature air blowing pump and 34-an air blowing port.
Detailed Description
In order to make the objects, technical solutions and advantages of the present invention more apparent, the present invention is described in further detail below with reference to the accompanying drawings and embodiments. It should be understood that the specific embodiments described herein are merely illustrative of the invention and are not intended to limit the invention.
Specific implementations of the present invention are described in detail below with reference to specific embodiments.
Example 1
As shown in fig. 1 and fig. 4 to 5, an embodiment of the present invention provides an aerial surveillance camera device based on an unmanned aerial vehicle, where the aerial surveillance camera device includes an installation holder 1, and a lower surface of the installation holder 1 is connected to a damping plate 2 through a damping mechanism; the damping plate 2 is connected with one end of a connecting rod 13 through a multi-angle adjusting mechanism, the other end of the connecting rod 13 is fixedly connected with an L-shaped plate 14, a lifting abutting fixing mechanism is installed on the inner wall of the L-shaped plate 14, a camera body 22 is located between the lifting abutting fixing mechanism and the upper surface of the bottom of the L-shaped plate 14, and a lens 23 is located on one side, far away from the L-shaped plate 14, of the camera body 22; and a telescopic rainproof mechanism is arranged at the top of the L-shaped plate 14 and is positioned above the lens 23.
The aerial monitoring camera device based on the unmanned aerial vehicle carries out real-time shooting through the camera body 22 and the lens 23, thereby completing the monitoring purpose, simultaneously considering the problem that most camera devices in the prior art are fixed, the angle adjustment is not easy to be carried out by self, the indirect adjustment is needed by changing the flight angle of the unmanned aerial vehicle, particularly, the multi-angle adjusting mechanism is arranged, the shooting angle of the lens 23 can be adjusted, the aims of bending down shooting, bending up shooting and the like can be realized, meanwhile, the problem that the shooting image quality of the camera device is influenced by the shake of the unmanned aerial vehicle during flying is also considered, the special shock absorption mechanism is arranged, the stability of the camera body 22 and the stability of the camera lens 23 can be improved, the influence of vibration on shooting are reduced, the telescopic rainproof mechanism can protect the camera body 22 and the camera lens 23 under the condition of sudden change of weather, and the rainwater is prevented from causing loss to the camera device.
When using, utilize the liftable to support and press fixed establishment to fix camera body 22, will install cloud platform 1 and unmanned aerial vehicle fixed connection simultaneously, start unmanned aerial vehicle flight, the particular case according to the control starts multi-angle adjustment mechanism, thereby obtain the control picture at different visual angles, when weather changes raining, can start scalable rain-proof mechanism and shelter from camera body 22 and camera lens 23, simultaneously under damper's effect, shake when reducing the flight is to the influence of camera body 22 shooting picture.
As shown in fig. 2, in the embodiment of the present invention, the damping mechanism includes a sleeve 3 and an expansion link 4, the sleeve 3 is fixed on the upper surface of the damping plate 2, the expansion link 4 is fixed on the lower surface of the mounting platform 1, the expansion link 4 is slidably mounted inside the sleeve 3, the expansion link 4 is connected to the bottom of the sleeve 3 through a spring 6, and a damper 7 is mounted inside the spring 6; the outer wall of the telescopic rod 4 is fixed with a limiting plate 5, and the limiting plate 5 is slidably mounted in a limiting groove formed in the inner wall of the sleeve 3.
Installation cloud platform 1 and unmanned aerial vehicle fixed connection, unmanned aerial vehicle is when the shake, and telescopic link 4 slides from top to bottom in sleeve pipe 3's inside thereupon, and spring 6 has slowed down the influence of shake by passive flexible, and bounce when restoring deformation can be absorbed to bumper shock absorber 7 simultaneously, has improved the shock attenuation effect, through the cooperation of limiting plate 5 and spacing groove, has guaranteed telescopic link 4's slip orbit.
Further, the multi-angle adjusting mechanism comprises a first motor 8, and the first motor 8 is installed on the upper surface of the damping plate 2. The output end of the first motor 8 is in driving connection with a first rotating shaft 9 through a coupler, and the first rotating shaft 9 penetrates through the damping plate 2 and is fixedly connected with an n-shaped seat 10; second motor 11 is installed to the outer wall of n type seat 10, the output of second motor 11 passes through the shaft coupling and is connected with the drive of second pivot 12, second pivot 12 rotates and installs the inside of n type seat 10, connecting rod 13 is fixed on second pivot 12.
When the control visual angle that needs to change camera lens 23, need not to control unmanned aerial vehicle and change flight angle, through starting first motor 8, first motor 8 accessible first pivot 9 drives n type seat 10 and rotates to adjust the direction of camera lens 23 on the horizontal plane, start second motor 11, 11 accessible second pivots 12 of second motor drive connecting rod 13 and rotate, thereby adjust the direction of camera lens 23 on the perpendicular, realize facing upward and take and pitch.
As shown in fig. 3, in the embodiment of the present invention, the liftable supporting and pressing fixing mechanism includes a groove 15, the groove 15 is formed on an inner wall of the L-shaped plate 14, a third motor 16 is installed at the bottom of the groove 15, an output end of the third motor 16 is in driving connection with a third rotating shaft 17 through a coupling, the third rotating shaft 17 is rotatably installed in the groove 15, and a moving plate 18 is installed on the third rotating shaft 17 in a threaded connection manner; the upper surface of the bottom of the L-shaped plate 14 and the lower surface of the moving plate 18 are both provided with anti-skidding grooves 19; a fixing plate 20 is fixed on the side wall of the L-shaped plate 14, and a pressing bolt 21 is installed inside the fixing plate 20.
Further, the telescopic rainproof mechanism comprises a mounting seat 24, the mounting seat 24 is mounted at the top of the L-shaped plate 14, a rotating plate 25 is rotatably mounted in the mounting seat 24, a first automatic telescopic rod 27 is mounted inside the rotating plate 25, a rain shield 26 is fixed at the top of the first automatic telescopic rod 27, and the rain shield 26 is slidably mounted in the rotating plate 25; the outer wall of the rotating plate 25 is hinged with a hydraulic telescopic push arm 28, and the other end of the hydraulic telescopic push arm 28 is hinged on the L-shaped plate 14.
When the weather condition is good, start the shrink of first automatic telescopic link 27, thereby drive weather shield 26 and withdraw the inside of rotor plate 25, the flexible arm 28 extension that pushes away of simultaneous control hydraulic pressure, with rotor plate 25 jack-up upwards, light when preventing to influence camera lens 23 and shoot, when raining, start the extension of first automatic telescopic link 27, drive weather shield 26 from the inside roll-off of rotor plate 25, and start the shrink of hydraulic pressure arm 28 and push away, it shelters from the top at camera body 22 and camera lens 23 to drive weather shield 26, prevent that the rainwater from getting into the inside of camera body 22 and camera lens 23.
Example 2
As shown in fig. 1 and fig. 6 to 7, in another embodiment of the present invention, an air blowing and dust removing mechanism is installed on the lens 23, the air blowing and dust removing mechanism includes a semicircular air blowing ring 30, the semicircular air blowing ring 30 is slidably installed on an outer shell of the lens 23, a miniature air blowing pump 33 is installed on the camera body 22, an air outlet pipe is arranged on the miniature air blowing pump 33 and connected with the semicircular air blowing ring 30, and an air blowing opening 34 is arranged on the semicircular air blowing ring 30; the rear side wall of the semicircular air blowing ring 30 is connected with the camera body 22 through a second automatic telescopic rod 29.
When dust on the lens 23 affects the shooting effect, the second automatic telescopic rod 29 is started to extend to drive the semicircular air blowing ring 30 to move to the front of the lens 23, the miniature air blowing pump 33 is started, the miniature air blowing pump 33 blows air on the lens 23 through the air blowing opening 34 through the air outlet pipe to remove dust, and the cleanness of the lens 23 is guaranteed.
Further, a sliding groove 32 is formed in the housing of the lens 23, a sliding rod 31 is fixed inside the semicircular blowing ring 30, and the sliding rod 31 is slidably mounted in the sliding groove 32.
Through the cooperation of the sliding chute 32 and the sliding rod 31, the sliding track of the sliding rod 31 is limited, and the stability of the semicircular blowing ring 30 during sliding is improved.
The above description is only for the purpose of illustrating the preferred embodiments of the present invention and is not to be construed as limiting the invention, and any modifications, equivalents and improvements made within the spirit and principle of the present invention are intended to be included within the scope of the present invention.
Claims (7)
1. The aerial monitoring camera device based on the unmanned aerial vehicle is characterized by comprising an installation holder (1), wherein the lower surface of the installation holder (1) is connected with a damping plate (2) through a damping mechanism;
the damping plate (2) is connected with one end of a connecting rod (13) through a multi-angle adjusting mechanism, the other end of the connecting rod (13) is fixedly connected with an L-shaped plate (14), a lifting abutting fixing mechanism is installed on the inner wall of the L-shaped plate (14), a camera body (22) is located between the lifting abutting fixing mechanism and the upper surface of the bottom of the L-shaped plate (14), and a lens (23) is located on one side, far away from the L-shaped plate (14), of the camera body (22);
scalable rain-proof mechanism is installed at the top of L template (14), scalable rain-proof mechanism is located the top of camera lens (23).
2. The aerial surveillance camera device for the unmanned aerial vehicle based on claim 1, wherein the shock absorption mechanism comprises a sleeve (3) and a telescopic rod (4), the sleeve (3) is fixed on the upper surface of the shock absorption plate (2), the telescopic rod (4) is fixed on the lower surface of the mounting platform (1), the telescopic rod (4) is slidably mounted inside the sleeve (3), the telescopic rod (4) and the sleeve (3) are connected through a spring (6), and a shock absorber (7) is mounted inside the spring (6);
the outer wall of the telescopic rod (4) is fixed with a limiting plate (5), and the limiting plate (5) is slidably mounted in a limiting groove formed in the inner wall of the sleeve (3).
3. The aerial surveillance camera device for the unmanned aerial vehicle based on claim 2, wherein the multi-angle adjusting mechanism comprises a first motor (8), the first motor (8) is installed on the upper surface of the damping plate (2), the output end of the first motor (8) is in driving connection with a first rotating shaft (9) through a coupler, and the first rotating shaft (9) penetrates through the damping plate (2) and is fixedly connected with an n-shaped seat (10);
second motor (11) are installed to the outer wall of n type seat (10), the output of second motor (11) passes through the shaft coupling and is connected with second pivot (12) drive, second pivot (12) rotate to be installed the inside of n type seat (10), connecting rod (13) are fixed in second pivot (12).
4. The aerial surveillance camera device based on the unmanned aerial vehicle of claim 1, wherein the liftable abutting fixing mechanism comprises a groove (15), the groove (15) is arranged on the inner wall of the L-shaped plate (14), a third motor (16) is mounted at the bottom of the groove (15), the output end of the third motor (16) is in driving connection with a third rotating shaft (17) through a coupler, the third rotating shaft (17) is rotatably mounted in the groove (15), and a moving plate (18) is mounted on the third rotating shaft (17) in a threaded connection manner;
the upper surface of the bottom of the L-shaped plate (14) and the lower surface of the moving plate (18) are provided with anti-skidding grooves (19);
a fixing plate (20) is fixed on the side wall of the L-shaped plate (14), and a pressing bolt (21) is installed inside the fixing plate (20).
5. The unmanned aerial vehicle-based aerial surveillance camera device according to claim 4, wherein the retractable rainproof mechanism comprises a mounting seat (24), the mounting seat (24) is mounted on the top of the L-shaped plate (14), a rotating plate (25) is rotatably mounted in the mounting seat (24), a first automatic telescopic rod (27) is mounted inside the rotating plate (25), a rain shield (26) is fixed on the top of the first automatic telescopic rod (27), and the rain shield (26) is slidably mounted in the rotating plate (25);
the outer wall of the rotating plate (25) is hinged with a hydraulic telescopic pushing arm (28), and the other end of the hydraulic telescopic pushing arm (28) is hinged to the L-shaped plate (14).
6. The aerial surveillance camera device for the unmanned aerial vehicle as claimed in claim 1, wherein the lens (23) is provided with a blowing dust removal mechanism, the blowing dust removal mechanism comprises a semicircular blowing ring (30), the semicircular blowing ring (30) is slidably mounted on a housing of the lens (23), the camera body (22) is provided with a miniature blowing pump (33), the miniature blowing pump (33) is provided with an air outlet pipe connected with the semicircular blowing ring (30), and the semicircular blowing ring (30) is provided with an air blowing opening (34);
the rear side wall of the semicircular air blowing ring (30) is connected with the camera body (22) through a second automatic telescopic rod (29).
7. The aerial surveillance camera device based on the unmanned aerial vehicle of claim 6, wherein a sliding groove (32) is formed in a housing of the lens (23), a sliding rod (31) is fixed inside the semicircular blowing ring (30), and the sliding rod (31) is slidably mounted in the sliding groove (32).
Priority Applications (1)
| Application Number | Priority Date | Filing Date | Title |
|---|---|---|---|
| CN202010880953.7A CN111942603A (en) | 2020-08-27 | 2020-08-27 | Aerial monitoring camera device based on unmanned aerial vehicle uses |
Applications Claiming Priority (1)
| Application Number | Priority Date | Filing Date | Title |
|---|---|---|---|
| CN202010880953.7A CN111942603A (en) | 2020-08-27 | 2020-08-27 | Aerial monitoring camera device based on unmanned aerial vehicle uses |
Publications (1)
| Publication Number | Publication Date |
|---|---|
| CN111942603A true CN111942603A (en) | 2020-11-17 |
Family
ID=73366820
Family Applications (1)
| Application Number | Title | Priority Date | Filing Date |
|---|---|---|---|
| CN202010880953.7A Withdrawn CN111942603A (en) | 2020-08-27 | 2020-08-27 | Aerial monitoring camera device based on unmanned aerial vehicle uses |
Country Status (1)
| Country | Link |
|---|---|
| CN (1) | CN111942603A (en) |
Cited By (6)
| Publication number | Priority date | Publication date | Assignee | Title |
|---|---|---|---|---|
| CN112930061A (en) * | 2021-03-04 | 2021-06-08 | 贵州理工学院 | VR-BOX experiences interactive installation |
| CN113484473A (en) * | 2021-07-05 | 2021-10-08 | 邓丽 | Ecological environment monitoring facilities based on unmanned aerial vehicle shoots usefulness |
| CN114771808A (en) * | 2022-03-25 | 2022-07-22 | 中国航空工业集团公司沈阳飞机设计研究所 | Two-degree-of-freedom control surface control mechanism based on variable-included-angle universal joint |
| CN114791281A (en) * | 2022-05-16 | 2022-07-26 | 中测(浙江)勘测设计有限公司 | Highway cross section measuring device based on unmanned aerial vehicle carries laser radar |
| CN114802789A (en) * | 2022-04-01 | 2022-07-29 | 山东省地质测绘院 | Survey and drawing aerial photography unmanned aerial vehicle with waterproof function of camera |
| CN115593645A (en) * | 2022-10-20 | 2023-01-13 | 广东电网有限责任公司云浮供电局(Cn) | An unmanned cloud platform camera device |
Citations (10)
| Publication number | Priority date | Publication date | Assignee | Title |
|---|---|---|---|---|
| CN203786453U (en) * | 2014-03-24 | 2014-08-20 | 零度智控(北京)智能科技有限公司 | Lens-adjustable driving assembly in holder |
| CN207060416U (en) * | 2017-07-07 | 2018-03-02 | 张丽娟 | A kind of unmanned plane image mechanism mounting structure |
| US20180329281A1 (en) * | 2015-08-14 | 2018-11-15 | Sz Dji Osmo Technology Co., Ltd. | Gimbal having parallel stability mechanism |
| US20190033060A1 (en) * | 2017-07-25 | 2019-01-31 | AW Solutions, Inc. | Apparatus and method for remote optical caliper measurement |
| CN109823556A (en) * | 2019-02-18 | 2019-05-31 | 深圳市贝优通新能源技术开发有限公司 | It is a kind of to adapt to the strong unmanned plane of weather ability for what is taken photo by plane |
| CN209667366U (en) * | 2019-03-06 | 2019-11-22 | 辽宁高科之翼航空技术有限公司 | A kind of agricultural unmanned plane recording apparatus |
| CN111017240A (en) * | 2019-12-10 | 2020-04-17 | 深圳市万城科技有限公司 | A5G unmanned aerial vehicle that is used for high definition video transmission to have and shelters from function |
| CN210364423U (en) * | 2019-05-31 | 2020-04-21 | 泉州鹰狼厨卫有限公司 | Improved generation unmanned aerial vehicle cloud platform |
| CN211060899U (en) * | 2020-02-11 | 2020-07-21 | 吕小红 | A UAV surveying and mapping data collection device |
| CN211196661U (en) * | 2019-11-03 | 2020-08-07 | 陕西嘉创飞航无人机科技有限公司 | Unmanned aerial vehicle is made a video recording with cloud platform of moving away to avoid possible earthquakes |
-
2020
- 2020-08-27 CN CN202010880953.7A patent/CN111942603A/en not_active Withdrawn
Patent Citations (10)
| Publication number | Priority date | Publication date | Assignee | Title |
|---|---|---|---|---|
| CN203786453U (en) * | 2014-03-24 | 2014-08-20 | 零度智控(北京)智能科技有限公司 | Lens-adjustable driving assembly in holder |
| US20180329281A1 (en) * | 2015-08-14 | 2018-11-15 | Sz Dji Osmo Technology Co., Ltd. | Gimbal having parallel stability mechanism |
| CN207060416U (en) * | 2017-07-07 | 2018-03-02 | 张丽娟 | A kind of unmanned plane image mechanism mounting structure |
| US20190033060A1 (en) * | 2017-07-25 | 2019-01-31 | AW Solutions, Inc. | Apparatus and method for remote optical caliper measurement |
| CN109823556A (en) * | 2019-02-18 | 2019-05-31 | 深圳市贝优通新能源技术开发有限公司 | It is a kind of to adapt to the strong unmanned plane of weather ability for what is taken photo by plane |
| CN209667366U (en) * | 2019-03-06 | 2019-11-22 | 辽宁高科之翼航空技术有限公司 | A kind of agricultural unmanned plane recording apparatus |
| CN210364423U (en) * | 2019-05-31 | 2020-04-21 | 泉州鹰狼厨卫有限公司 | Improved generation unmanned aerial vehicle cloud platform |
| CN211196661U (en) * | 2019-11-03 | 2020-08-07 | 陕西嘉创飞航无人机科技有限公司 | Unmanned aerial vehicle is made a video recording with cloud platform of moving away to avoid possible earthquakes |
| CN111017240A (en) * | 2019-12-10 | 2020-04-17 | 深圳市万城科技有限公司 | A5G unmanned aerial vehicle that is used for high definition video transmission to have and shelters from function |
| CN211060899U (en) * | 2020-02-11 | 2020-07-21 | 吕小红 | A UAV surveying and mapping data collection device |
Cited By (8)
| Publication number | Priority date | Publication date | Assignee | Title |
|---|---|---|---|---|
| CN112930061A (en) * | 2021-03-04 | 2021-06-08 | 贵州理工学院 | VR-BOX experiences interactive installation |
| CN113484473A (en) * | 2021-07-05 | 2021-10-08 | 邓丽 | Ecological environment monitoring facilities based on unmanned aerial vehicle shoots usefulness |
| CN113484473B (en) * | 2021-07-05 | 2024-04-26 | 邓丽 | Ecological environment monitoring equipment based on unmanned aerial vehicle shoots usefulness |
| CN114771808A (en) * | 2022-03-25 | 2022-07-22 | 中国航空工业集团公司沈阳飞机设计研究所 | Two-degree-of-freedom control surface control mechanism based on variable-included-angle universal joint |
| CN114802789A (en) * | 2022-04-01 | 2022-07-29 | 山东省地质测绘院 | Survey and drawing aerial photography unmanned aerial vehicle with waterproof function of camera |
| CN114791281A (en) * | 2022-05-16 | 2022-07-26 | 中测(浙江)勘测设计有限公司 | Highway cross section measuring device based on unmanned aerial vehicle carries laser radar |
| CN114791281B (en) * | 2022-05-16 | 2023-11-21 | 中测(浙江)勘测设计有限公司 | Expressway cross section measuring device based on unmanned aerial vehicle laser radar |
| CN115593645A (en) * | 2022-10-20 | 2023-01-13 | 广东电网有限责任公司云浮供电局(Cn) | An unmanned cloud platform camera device |
Similar Documents
| Publication | Publication Date | Title |
|---|---|---|
| CN111942603A (en) | Aerial monitoring camera device based on unmanned aerial vehicle uses | |
| CN112003188A (en) | Portable transmission line inspection device | |
| CN206719356U (en) | It is a kind of based on ground can Omni-mobile chassis three axle heads | |
| CN205186546U (en) | Unmanned aerial vehicle with anti -trembling function | |
| CN218703959U (en) | Adjustable positioning device for surveying and mapping unmanned aerial vehicle camera | |
| CN219044414U (en) | A rotatable camera platform capable of carrying ordinary drones | |
| CN219295710U (en) | Unmanned aerial vehicle with emergent mapping equipment | |
| CN215851972U (en) | AI unmanned aerial vehicle test platform | |
| CN214084723U (en) | Novel unmanned aerial vehicle horn subassembly | |
| CN214325366U (en) | Multi freedom unmanned aerial vehicle with two rotor systems | |
| CN213229117U (en) | High remote sensing survey and drawing unmanned aerial vehicle of security | |
| CN211663443U (en) | Oil-electricity hybrid multifunctional unmanned aerial vehicle | |
| CN209889138U (en) | Unmanned aerial vehicle carries AI nacelle | |
| CN115743532A (en) | Anti-collision unmanned aerial vehicle and anti-collision method thereof | |
| CN209051589U (en) | One kind making an inspection tour multi-rotor unmanned aerial vehicle for electric wire | |
| CN221809841U (en) | Unmanned aerial vehicle target tracking system | |
| CN221835525U (en) | Unmanned aerial vehicle's protection machanism that falls | |
| CN223443809U (en) | Unmanned aerial vehicle who possesses camera shock-absorbing function | |
| CN213323745U (en) | Unmanned aerial vehicle with multi-functional cloud platform structure of controling | |
| CN214930600U (en) | Unmanned aerial vehicle for live shooting of urban traffic | |
| CN223187696U (en) | A UAV real-scene 3D photography installation device | |
| CN222611395U (en) | High-stability camera fixing device of unmanned aerial vehicle | |
| CN215399371U (en) | Anti-shake device for oblique photography camera of unmanned aerial vehicle | |
| CN214930698U (en) | Installation mechanism for monitoring unmanned aerial vehicle camera | |
| CN220924530U (en) | Shock attenuation nacelle cloud platform structure |
Legal Events
| Date | Code | Title | Description |
|---|---|---|---|
| PB01 | Publication | ||
| PB01 | Publication | ||
| SE01 | Entry into force of request for substantive examination | ||
| SE01 | Entry into force of request for substantive examination | ||
| WW01 | Invention patent application withdrawn after publication |
Application publication date: 20201117 |
|
| WW01 | Invention patent application withdrawn after publication |