CN111938556A - A remote gynecological consultation system - Google Patents
A remote gynecological consultation system Download PDFInfo
- Publication number
- CN111938556A CN111938556A CN202010713455.3A CN202010713455A CN111938556A CN 111938556 A CN111938556 A CN 111938556A CN 202010713455 A CN202010713455 A CN 202010713455A CN 111938556 A CN111938556 A CN 111938556A
- Authority
- CN
- China
- Prior art keywords
- base
- remote
- gynecological
- module
- detection
- Prior art date
- Legal status (The legal status is an assumption and is not a legal conclusion. Google has not performed a legal analysis and makes no representation as to the accuracy of the status listed.)
- Pending
Links
- 238000001514 detection method Methods 0.000 claims abstract description 58
- 238000000034 method Methods 0.000 claims abstract description 9
- 230000008569 process Effects 0.000 claims abstract description 8
- 230000005540 biological transmission Effects 0.000 claims description 14
- 238000013500 data storage Methods 0.000 claims description 11
- 238000013461 design Methods 0.000 claims description 10
- 239000000463 material Substances 0.000 claims description 9
- 229920001971 elastomer Polymers 0.000 claims description 5
- WHXSMMKQMYFTQS-UHFFFAOYSA-N Lithium Chemical compound [Li] WHXSMMKQMYFTQS-UHFFFAOYSA-N 0.000 claims description 3
- 239000000806 elastomer Substances 0.000 claims description 3
- 239000004816 latex Substances 0.000 claims description 3
- 229920000126 latex Polymers 0.000 claims description 3
- 229910052744 lithium Inorganic materials 0.000 claims description 3
- 229920002635 polyurethane Polymers 0.000 claims description 3
- 239000004814 polyurethane Substances 0.000 claims description 3
- 238000012545 processing Methods 0.000 claims description 3
- 230000000694 effects Effects 0.000 claims 1
- 230000007613 environmental effect Effects 0.000 claims 1
- ZZUFCTLCJUWOSV-UHFFFAOYSA-N furosemide Chemical compound C1=C(Cl)C(S(=O)(=O)N)=CC(C(O)=O)=C1NCC1=CC=CO1 ZZUFCTLCJUWOSV-UHFFFAOYSA-N 0.000 claims 1
- 239000003292 glue Substances 0.000 claims 1
- 238000012544 monitoring process Methods 0.000 claims 1
- 210000004392 genitalia Anatomy 0.000 abstract description 3
- 206010011409 Cross infection Diseases 0.000 abstract description 2
- 206010029803 Nosocomial infection Diseases 0.000 abstract description 2
- 230000001580 bacterial effect Effects 0.000 abstract description 2
- 230000024241 parasitism Effects 0.000 abstract description 2
- 230000001681 protective effect Effects 0.000 description 6
- 238000007689 inspection Methods 0.000 description 4
- 238000011161 development Methods 0.000 description 2
- 238000005192 partition Methods 0.000 description 2
- 241000405070 Percophidae Species 0.000 description 1
- 230000004913 activation Effects 0.000 description 1
- 230000002411 adverse Effects 0.000 description 1
- 230000009286 beneficial effect Effects 0.000 description 1
- 238000004891 communication Methods 0.000 description 1
- 238000010586 diagram Methods 0.000 description 1
- 238000005516 engineering process Methods 0.000 description 1
- 230000036541 health Effects 0.000 description 1
- 230000006872 improvement Effects 0.000 description 1
- 238000012986 modification Methods 0.000 description 1
- 230000004048 modification Effects 0.000 description 1
- 238000005070 sampling Methods 0.000 description 1
- 210000001215 vagina Anatomy 0.000 description 1
Images
Classifications
-
- A—HUMAN NECESSITIES
- A61—MEDICAL OR VETERINARY SCIENCE; HYGIENE
- A61B—DIAGNOSIS; SURGERY; IDENTIFICATION
- A61B1/00—Instruments for performing medical examinations of the interior of cavities or tubes of the body by visual or photographical inspection, e.g. endoscopes; Illuminating arrangements therefor
- A61B1/00002—Operational features of endoscopes
- A61B1/00011—Operational features of endoscopes characterised by signal transmission
- A61B1/00016—Operational features of endoscopes characterised by signal transmission using wireless means
-
- A—HUMAN NECESSITIES
- A61—MEDICAL OR VETERINARY SCIENCE; HYGIENE
- A61B—DIAGNOSIS; SURGERY; IDENTIFICATION
- A61B1/00—Instruments for performing medical examinations of the interior of cavities or tubes of the body by visual or photographical inspection, e.g. endoscopes; Illuminating arrangements therefor
- A61B1/04—Instruments for performing medical examinations of the interior of cavities or tubes of the body by visual or photographical inspection, e.g. endoscopes; Illuminating arrangements therefor combined with photographic or television appliances
-
- A—HUMAN NECESSITIES
- A61—MEDICAL OR VETERINARY SCIENCE; HYGIENE
- A61B—DIAGNOSIS; SURGERY; IDENTIFICATION
- A61B1/00—Instruments for performing medical examinations of the interior of cavities or tubes of the body by visual or photographical inspection, e.g. endoscopes; Illuminating arrangements therefor
- A61B1/06—Instruments for performing medical examinations of the interior of cavities or tubes of the body by visual or photographical inspection, e.g. endoscopes; Illuminating arrangements therefor with illuminating arrangements
- A61B1/0661—Endoscope light sources
- A61B1/0676—Endoscope light sources at distal tip of an endoscope
-
- A—HUMAN NECESSITIES
- A61—MEDICAL OR VETERINARY SCIENCE; HYGIENE
- A61B—DIAGNOSIS; SURGERY; IDENTIFICATION
- A61B1/00—Instruments for performing medical examinations of the interior of cavities or tubes of the body by visual or photographical inspection, e.g. endoscopes; Illuminating arrangements therefor
- A61B1/06—Instruments for performing medical examinations of the interior of cavities or tubes of the body by visual or photographical inspection, e.g. endoscopes; Illuminating arrangements therefor with illuminating arrangements
- A61B1/0661—Endoscope light sources
- A61B1/0684—Endoscope light sources using light emitting diodes [LED]
-
- A—HUMAN NECESSITIES
- A61—MEDICAL OR VETERINARY SCIENCE; HYGIENE
- A61B—DIAGNOSIS; SURGERY; IDENTIFICATION
- A61B1/00—Instruments for performing medical examinations of the interior of cavities or tubes of the body by visual or photographical inspection, e.g. endoscopes; Illuminating arrangements therefor
- A61B1/303—Instruments for performing medical examinations of the interior of cavities or tubes of the body by visual or photographical inspection, e.g. endoscopes; Illuminating arrangements therefor for the vagina, i.e. vaginoscopes
Landscapes
- Health & Medical Sciences (AREA)
- Life Sciences & Earth Sciences (AREA)
- Surgery (AREA)
- Engineering & Computer Science (AREA)
- Physics & Mathematics (AREA)
- Optics & Photonics (AREA)
- Biomedical Technology (AREA)
- General Health & Medical Sciences (AREA)
- Pathology (AREA)
- Nuclear Medicine, Radiotherapy & Molecular Imaging (AREA)
- Biophysics (AREA)
- Heart & Thoracic Surgery (AREA)
- Medical Informatics (AREA)
- Molecular Biology (AREA)
- Animal Behavior & Ethology (AREA)
- Radiology & Medical Imaging (AREA)
- Public Health (AREA)
- Veterinary Medicine (AREA)
- Computer Networks & Wireless Communication (AREA)
- Microelectronics & Electronic Packaging (AREA)
- Gynecology & Obstetrics (AREA)
- Reproductive Health (AREA)
- Measuring And Recording Apparatus For Diagnosis (AREA)
Abstract
本发明公开了一种远程妇科就诊系统,包括基座的底端固定安装有把手,把手的内部固定安装有电池,基座的侧面设置有控制按钮,基座的内部固定安装有处理器和微型气缸,基座的顶端安装有卡槽和检测主体。该种远程妇科就诊系统,本装置设有物联网便于与医生电脑进行信号连接检测查看了解患者妇科内部具体情况,杜绝传统检测过程裸露阴部,造成检查者隐私暴露以及心理的不适;并本装置由患者自行跟根据操作手册使用,容易根据自身情况使用微型气缸调节装置长度进行检测,杜绝传统医生检测不了解患者情况操作造成的痛苦;本装置表面设置有一次性防护薄套保护,从而隔绝装置与患者隐私部位接触,保护装置表面不受细菌寄生且防止交叉感染。
The invention discloses a remote gynecological consultation system, comprising a handle fixedly installed at the bottom end of a base, a battery fixedly installed inside the handle, a control button arranged on the side of the base, a processor and a microcomputer fixedly installed inside the base Cylinder, the top of the base is equipped with a card slot and a detection body. In this remote gynecological consultation system, the device is equipped with the Internet of Things, which is convenient for signal connection detection with the doctor's computer to check and understand the specific internal situation of the patient's gynecology department, so as to prevent the traditional detection process from exposing the genitals, causing the examiner's privacy exposure and psychological discomfort; and the device consists of The patient can use it according to the operation manual, and it is easy to use the micro cylinder to adjust the length of the device for detection according to their own conditions, eliminating the pain caused by traditional doctors who do not understand the patient's situation. Contact with the patient's private parts protects the surface of the device from bacterial parasitism and prevents cross-infection.
Description
技术领域technical field
本发明涉及医疗设备技术领域,具体为一种远程妇科就诊系统。The invention relates to the technical field of medical equipment, in particular to a remote gynecological consultation system.
背景技术Background technique
随之科学技术的发展,医疗信息化服务在医院的发展中逐步占据主流,成为医院硬件及软件设施升级的核心方向,并取得了长足的发展。医生利用智能设备远程监控和检查,能够对患者的诊治和沟通,这种新模式解决了临床及门诊中的许多肉眼难以发现和较为隐私不便观察等问题。With the development of science and technology, medical informatization services have gradually become the mainstream in the development of hospitals, become the core direction of the upgrade of hospital hardware and software facilities, and have made great progress. Doctors use smart devices to remotely monitor and inspect, and can diagnose, treat and communicate with patients. This new model solves many problems in clinical and outpatient clinics that are difficult to find with the naked eye and relatively inconvenient to observe in privacy.
现阶段,妇科检查是日常体检的常规项目,也是现代女性较为关注的内容。许多女性都会定期去医院进行妇科检查,用以及时了解身体健康情况,排查不良因素。而妇科最多的为体内检查和采样,检查过程均需要女性褪去部分下衣后卧坐在检查椅上,医生使用鸭嘴器扩阴并进行查看。At this stage, gynecological examination is a routine item of daily physical examination, and it is also a content that modern women pay more attention to. Many women regularly go to the hospital for gynecological examinations to keep abreast of their physical health and check for adverse factors. In gynecology, the most common is internal inspection and sampling. The inspection process requires women to take off part of their clothes and then lie down on the examination chair. The doctor uses a duckbill to expand the vagina and check it.
上述检查过程不但非常耗时,需要女性在隐蔽环境下脱去衣物,并且跟随医生检查情况调整姿势等,费时费力,严重影响效率。同时,由于检查过程裸露阴部,也造成检查者隐私的暴露以及心理的不适,有很多患者很难放松,导致检查结果非常痛苦。因此我们对此做出改进,提出一种远程妇科就诊系统。The above inspection process is not only very time-consuming, but also requires women to take off their clothes in a hidden environment, and adjust their posture according to the doctor's inspection, which is time-consuming and labor-intensive, and seriously affects the efficiency. At the same time, due to the exposure of the genitals during the examination, it also exposes the examiner's privacy and psychological discomfort, and it is difficult for many patients to relax, resulting in very painful examination results. Therefore, we have improved this and proposed a remote gynecological consultation system.
发明内容SUMMARY OF THE INVENTION
为了解决上述技术问题,本发明提供了如下的技术方案:In order to solve the above-mentioned technical problems, the present invention provides the following technical solutions:
本发明一种远程妇科就诊系统,包括基座,所述基座的底端固定安装有把手,所述把手的内部固定安装有电池,所述基座的侧面设置有控制按钮,所述基座的内部固定安装有处理器和微型气缸,所述基座的顶端安装有卡槽和检测主体;The present invention is a remote gynecological consultation system, comprising a base, a handle is fixedly installed at the bottom end of the base, a battery is fixedly installed inside the handle, a control button is arranged on the side of the base, and the base is The inside of the base is fixedly installed with a processor and a miniature cylinder, and a card slot and a detection body are installed on the top of the base;
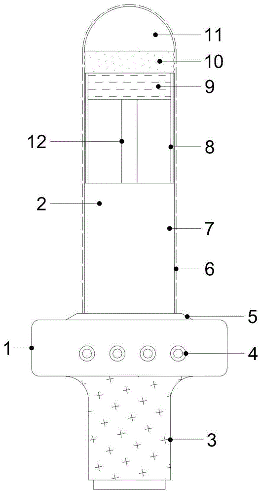
检测主体,所述检测主体的底部设置有套筒,所述检测主体的中部设置有透明罩提,所述检测主体的内部设置有滑杆、气动伸缩杆和检测模块,所述检测主体的顶部设置有弹性体和拱形体,所述拱形体包含有摄像头和LED灯,所述检测主体的表面套设有防护薄套。Detection body, the bottom of the detection body is provided with a sleeve, the middle of the detection body is provided with a transparent cover, the interior of the detection body is provided with a sliding rod, a pneumatic telescopic rod and a detection module, the top of the detection body is provided with An elastic body and an arch body are provided, the arch body includes a camera and an LED light, and a protective thin sleeve is covered on the surface of the detection body.
作为本发明的一种优选技术方案,所述基座呈圆盘状设计且表面设置有软胶包裹保护,所述检测主体通过筒套固定卡合安装在基座的顶端中心。As a preferred technical solution of the present invention, the base is designed in a disc shape and the surface is provided with soft rubber wrapping protection, and the detection body is fixed and installed on the top center of the base through a sleeve sleeve.
作为本发明的一种优选技术方案,所述套筒呈筒状设计且内部设置有滑槽,所述透明罩体由环保材质制成,所述透明罩体的底端嵌设安装在套筒的顶端外壁且顶端与拱形体活动连接,所述滑杆的底部活动贯穿安装在套筒的滑槽内部,所述滑杆的顶端与拱形体的底端内壁边缘固定连接。As a preferred technical solution of the present invention, the sleeve has a cylindrical design and is provided with a chute, the transparent cover is made of environmentally friendly materials, and the bottom end of the transparent cover is embedded in the sleeve. The top outer wall of the sliding rod is movably connected with the arch body, the bottom of the sliding rod is movably installed inside the chute of the sleeve, and the top end of the sliding rod is fixedly connected with the bottom inner wall edge of the arch body.
作为本发明的一种优选技术方案,所述弹性体呈环形设计且两端分别与拱形体的底端外壁边缘和透明罩体的顶端固定连接,所述LED灯设置有多组其分别安装在拱形体的顶端和侧面,所述摄像头的镜头设置有多组且分别嵌设安装在拱形体的侧壁上和检测模块的表面上。As a preferred technical solution of the present invention, the elastic body is designed in a ring shape, and the two ends are respectively fixedly connected to the bottom outer wall edge of the arch body and the top end of the transparent cover body, and the LED lamp is provided with a plurality of sets of which are respectively installed in On the top and side surfaces of the arch body, the lenses of the camera are provided with multiple groups and are respectively embedded and installed on the side wall of the arch body and on the surface of the detection module.
作为本发明的一种优选技术方案,所述气动伸缩杆的底端贯穿检测主体与基座的顶端中心固定连接,所述启动伸缩杆的顶端与检测模块的底端固定连接,所述检测模块的底部设置有垫板且卡合安装在拱形体的底部。As a preferred technical solution of the present invention, the bottom end of the pneumatic telescopic rod is fixedly connected to the top center of the base through the detection body, and the top end of the activation telescopic rod is fixedly connected to the bottom end of the detection module, and the detection module The bottom is provided with a backing plate and is snap-fitted to the bottom of the arch body.
作为本发明的一种优选技术方案,所述把手呈圆筒状设计且表面设置有防滑套保护,所述电池为锂电池且固定嵌设安装在把手的内部,所述把手的底端设置有充电结构且表面设置有盖子保护,所述卡槽呈环形设置且嵌设安装在基座的顶端环绕检测主体外圈设置,所述防护薄套由聚氨酯材质和乳胶材质制成。As a preferred technical solution of the present invention, the handle has a cylindrical design and is provided with a non-slip cover to protect the surface, the battery is a lithium battery and is fixedly embedded in the handle, and the bottom end of the handle is provided with a The charging structure is provided with a cover protection on the surface, the card slot is arranged in a ring shape and is embedded and installed on the top of the base to surround the outer ring of the detection body, and the protective thin sleeve is made of polyurethane material and latex material.
作为本发明的一种优选技术方案,所述基座的内部设置有隔板分割为两组腔室,所述微型气缸固定安装在基座内部一侧腔室内,所述微型气缸的输出端贯穿基座的顶壁与气动伸缩杆的底部传动连接,所述处理器的内部设置有无线传输模块、数据存储模块和控制模块且固定安装在基座的内部另一侧腔室中,所控制按钮设置有多组且嵌设安装在基座的侧面。As a preferred technical solution of the present invention, the interior of the base is provided with a partition to divide into two groups of chambers, the micro cylinder is fixedly installed in one side chamber inside the base, and the output end of the micro cylinder penetrates through The top wall of the base is connected with the bottom of the pneumatic telescopic rod in a driving connection. The inside of the processor is provided with a wireless transmission module, a data storage module and a control module and is fixedly installed in the chamber on the other side of the base. The control button There are multiple sets and are embedded and installed on the side of the base.
作为本发明的一种优选技术方案,包括处理器、无线传输模块、数据存储模块、控制模块、控制按钮、摄像头、检测模块、微型气缸和LED灯,所述处理器与无线传输模块、数据存储模块和控制模块共同组成数据处理层,所述处理器与摄像头和检测模块共同组成数据采集层,所述处理器与控制按钮、微型气缸和LED灯共同组成应用层。As a preferred technical solution of the present invention, it includes a processor, a wireless transmission module, a data storage module, a control module, a control button, a camera, a detection module, a micro cylinder and an LED light. The module and the control module together form a data processing layer, the processor together with the camera and the detection module form a data acquisition layer, and the processor together with the control button, the micro cylinder and the LED lamp together form an application layer.
作为本发明的一种优选技术方案,所述处理器与摄像头和检测模块之间电性连接,所述处理器通过数据存储模块摄像头和检测模块采集的数据进行分析处理,所述处理器通过控制模块和控制按钮与微型气缸和LED灯之间电性连接,所述处理器根据采集分析处理后的数据控制微型气缸和LED灯运转,所述处理器通过无线传输模块与云端或医生电脑进行信号连接。As a preferred technical solution of the present invention, the processor is electrically connected to the camera and the detection module, the processor analyzes and processes the data collected by the camera of the data storage module and the detection module, and the processor controls the The module and the control button are electrically connected with the micro cylinder and the LED light, the processor controls the operation of the micro cylinder and the LED light according to the collected, analyzed and processed data, and the processor communicates with the cloud or the doctor's computer through the wireless transmission module. connect.
本发明的有益效果是:该种远程妇科就诊系统,本装置设有物联网便于与医生电脑进行信号连接检测查看了解患者妇科内部具体情况,杜绝传统检测过程裸露阴部,造成检查者隐私暴露以及心理的不适;并本装置由患者自行跟根据操作手册使用,容易根据自身情况使用微型气缸调节装置长度进行检测,杜绝传统医生检测不了解患者情况操作造成的痛苦;本装置表面设置有一次性防护薄套保护,从而隔绝装置与患者隐私部位接触,保护装置表面不受细菌寄生且防止交叉感染。The beneficial effects of the invention are as follows: the remote gynecological consultation system, the device is equipped with the Internet of Things, which is convenient for signal connection detection with the doctor's computer to check and understand the specific internal situation of the gynecological department of the patient, and prevent the exposed genitals in the traditional detection process, causing the examiner's privacy exposure and psychological The device is used by the patient according to the operation manual, and it is easy to use the micro-cylinder to adjust the length of the device according to their own conditions for detection, eliminating the pain caused by the operation of traditional doctors who do not understand the patient's situation; the surface of the device is provided with a disposable protective film The cover protects the device from contact with the patient's private parts, protects the surface of the device from bacterial parasitism and prevents cross-infection.
附图说明Description of drawings
附图用来提供对本发明的进一步理解,并且构成说明书的一部分,与本发明的实施例一起用于解释本发明,并不构成对本发明的限制。在附图中:The accompanying drawings are used to provide a further understanding of the present invention, and constitute a part of the specification, and are used to explain the present invention together with the embodiments of the present invention, and do not constitute a limitation to the present invention. In the attached image:
图1是本发明一种远程妇科就诊系统的立体图;1 is a perspective view of a remote gynecological consultation system of the present invention;
图2是本发明一种远程妇科就诊系统的基座放大结构剖析图;2 is an anatomical view of the enlarged structure of the base of a remote gynecological consultation system of the present invention;
图3是本发明一种远程妇科就诊系统的检测主体放大结构剖析图;3 is an enlarged structural anatomical view of the detection body of a remote gynecological consultation system of the present invention;
图4是本发明一种远程妇科就诊系统的俯视结构图;Fig. 4 is the top view structure diagram of a kind of remote gynecological consultation system of the present invention;
图5是本发明一种远程妇科就诊系统的程序框。FIG. 5 is a program block of a remote gynecological consultation system of the present invention.
图中:1、基座;2、检测主体;3、把手;4、控制按钮;5、卡槽;6、防护薄套;7、套筒;8、滑杆;9、检测模块;10、弹性体;11、拱形体;12、气动伸缩杆;13、电池;14、微型气缸;15、处理器;16、透明罩提;17、摄像头;18、LED灯。In the figure: 1. Base; 2. Detection body; 3. Handle; 4. Control button; 5. Card slot; 6. Protective thin sleeve; 7. Sleeve; 8. Slider; 9. Detection module; 10. Elastomer; 11. Arch body; 12. Pneumatic telescopic rod; 13. Battery; 14. Micro cylinder; 15. Processor; 16. Transparent cover; 17. Camera; 18. LED light.
具体实施方式Detailed ways
以下结合附图对本发明的优选实施例进行说明,应当理解,此处所描述的优选实施例仅用于说明和解释本发明,并不用于限定本发明。The preferred embodiments of the present invention will be described below with reference to the accompanying drawings. It should be understood that the preferred embodiments described herein are only used to illustrate and explain the present invention, but not to limit the present invention.
实施例:如图1-5所示,本发明一种远程妇科就诊系统,包括基座1,基座1的底端固定安装有把手3,把手3的内部固定安装有电池13,基座1的侧面设置有控制按钮4,基座1的内部固定安装有处理器15和微型气缸14,基座1的顶端安装有卡槽5和检测主体2;Embodiment: As shown in Figures 1-5, a remote gynecological consultation system of the present invention includes a
检测主体2,检测主体2的底部设置有套筒7,检测主体2的中部设置有透明罩提16,检测主体2的内部设置有滑杆8、气动伸缩杆12和检测模块9,检测主体2的顶部设置有弹性体10和拱形体11,拱形体11包含有摄像头17和LED灯18,检测主体2的表面套设有防护薄套6。The
其中,基座1呈圆盘状设计且表面设置有软胶包裹保护,检测主体2通过筒套7固定卡合安装在基座1的顶端中心。The
其中,套筒7呈筒状设计且内部设置有滑槽,透明罩体16由环保材质制成,透明罩体16的底端嵌设安装在套筒7的顶端外壁且顶端与拱形体11活动连接,滑杆8的底部活动贯穿安装在套筒7的滑槽内部,滑杆8的顶端与拱形体11的底端内壁边缘固定连接。The
其中,弹性体10呈环形设计且两端分别与拱形体11的底端外壁边缘和透明罩体16的顶端固定连接,LED灯18设置有多组其分别安装在拱形体11的顶端和侧面,摄像头17的镜头设置有多组且分别嵌设安装在拱形体11的侧壁上和检测模块9的表面上。Wherein, the
其中,气动伸缩杆12的底端贯穿检测主体2与基座1的顶端中心固定连接,启动伸缩杆12的顶端与检测模块9的底端固定连接,检测模块9的底部设置有垫板且卡合安装在拱形体11的底部。The bottom end of the pneumatic
其中,把手3呈圆筒状设计且表面设置有防滑套保护,电池13为锂电池且固定嵌设安装在把手3的内部,把手3的底端设置有充电结构且表面设置有盖子保护,卡槽5呈环形设置且嵌设安装在基座1的顶端环绕检测主体2外圈设置,防护薄套6由聚氨酯材质和乳胶材质制成。The
其中,基座1的内部设置有隔板分割为两组腔室,微型气缸14固定安装在基座1内部一侧腔室内,微型气缸14的输出端贯穿基座1的顶壁与气动伸缩杆13的底部传动连接,处理器15的内部设置有无线传输模块、数据存储模块和控制模块且固定安装在基座1的内部另一侧腔室中,所控制按钮4设置有多组且嵌设安装在基座1的侧面。The interior of the
其中,包括处理器15、无线传输模块、数据存储模块、控制模块、控制按钮4、摄像头17、检测模块9、微型气缸14和LED灯18,处理器15与无线传输模块、数据存储模块和控制模块共同组成数据处理层,处理器15与摄像头17和检测模块9共同组成数据采集层,处理器15与控制按钮4、微型气缸14和LED灯18共同组成应用层。Among them, it includes a
其中,处理器15与摄像头17和检测模块9之间电性连接,处理器15通过数据存储模块摄像头17和检测模块9采集的数据进行分析处理,处理器15通过控制模块和控制按钮4与微型气缸14和LED灯18之间电性连接,处理器15根据采集分析处理后的数据控制微型气缸14和LED灯18运转,处理器15通过无线传输模块与云端或医生电脑进行信号连接。The
工作原理:使用时,医生首先为装置消毒且启动装置,本装置通过处理器15内部的无线传输模块与医生电脑信号连接,患者根据医生指引进入专门隔间内,根据装置使用手册操作装置,简单取出下体衣物将装置引导进去体内,在通过控制按钮4启动装置检测模块9、微型气缸14、摄像头17和LED灯18,患者在医生指导下根据自身情况使用控制按钮4控制微型气缸14运作,使得拱形体1部分继续向体内延伸,医生通过检测模块9和摄像头17采集患者体内情况,从而快速为患者提供精准治疗方案。Working principle: When using, the doctor first sterilizes the device and starts the device, the device is connected to the doctor's computer signal through the wireless transmission module inside the
最后应说明的是:在本发明的描述中,需要说明的是,术语“竖直”、“上”、“下”、“水平”等指示的方位或位置关系为基于附图所示的方位或位置关系,仅是为了便于描述本发明和简化描述,而不是指示或暗示所指的装置或元件必须具有特定的方位、以特定的方位构造和操作,因此不能理解为对本发明的限制。Finally, it should be noted that: in the description of the present invention, it should be noted that the orientations or positional relationships indicated by the terms "vertical", "upper", "lower", "horizontal", etc. are based on the orientations shown in the accompanying drawings Or the positional relationship is only for the convenience of describing the present invention and simplifying the description, rather than indicating or implying that the referred device or element must have a specific orientation, be constructed and operated in a specific orientation, and therefore should not be construed as a limitation of the present invention.
在本发明的描述中,还需要说明的是,除非另有明确的规定和限定,术语“设置”、“安装”、“相连”、“连接”应做广义理解,例如,可以是固定连接,也可以是可拆卸连接,或一体地连接;可以是机械连接,也可以是电连接;可以是直接相连,也可以通过中间媒介间接相连,可以是两个元件内部的连通。对于本领域的普通技术人员而言,可以根据具体情况理解上述术语在本发明中的具体含义。In the description of the present invention, it should also be noted that, unless otherwise expressly specified and limited, the terms "arranged", "installed", "connected" and "connected" should be understood in a broad sense, for example, it may be a fixed connection, It can also be a detachable connection, or an integral connection; it can be a mechanical connection or an electrical connection; it can be a direct connection, or an indirect connection through an intermediate medium, or the internal communication between the two components. For those of ordinary skill in the art, the specific meanings of the above terms in the present invention can be understood according to specific situations.
以上所述仅为本发明的优选实施例而已,并不用于限制本发明,尽管参照前述实施例对本发明进行了详细的说明,对于本领域的技术人员来说,其依然可以对前述各实施例所记载的技术方案进行修改,或者对其中部分技术特征进行等同替换。凡在本发明的精神和原则之内,所作的任何修改、等同替换、改进等,均应包含在本发明的保护范围之内。The above descriptions are only preferred embodiments of the present invention, and are not intended to limit the present invention. Although the present invention has been described in detail with reference to the foregoing embodiments, those skilled in the art can still understand the foregoing embodiments. The technical solutions described are modified, or some technical features thereof are equivalently replaced. Any modification, equivalent replacement, improvement, etc. made within the spirit and principle of the present invention shall be included within the protection scope of the present invention.
Claims (9)
Priority Applications (1)
| Application Number | Priority Date | Filing Date | Title |
|---|---|---|---|
| CN202010713455.3A CN111938556A (en) | 2020-07-22 | 2020-07-22 | A remote gynecological consultation system |
Applications Claiming Priority (1)
| Application Number | Priority Date | Filing Date | Title |
|---|---|---|---|
| CN202010713455.3A CN111938556A (en) | 2020-07-22 | 2020-07-22 | A remote gynecological consultation system |
Publications (1)
| Publication Number | Publication Date |
|---|---|
| CN111938556A true CN111938556A (en) | 2020-11-17 |
Family
ID=73341131
Family Applications (1)
| Application Number | Title | Priority Date | Filing Date |
|---|---|---|---|
| CN202010713455.3A Pending CN111938556A (en) | 2020-07-22 | 2020-07-22 | A remote gynecological consultation system |
Country Status (1)
| Country | Link |
|---|---|
| CN (1) | CN111938556A (en) |
Cited By (1)
| Publication number | Priority date | Publication date | Assignee | Title |
|---|---|---|---|---|
| CN114404054A (en) * | 2021-11-23 | 2022-04-29 | 中徽建技术有限公司 | Intelligent detection nursing system |
Citations (3)
| Publication number | Priority date | Publication date | Assignee | Title |
|---|---|---|---|---|
| CN107518864A (en) * | 2017-08-18 | 2017-12-29 | 朱彦红 | A kind of gynemetrics's clinic prospecting apparatus |
| CN108652571A (en) * | 2018-05-23 | 2018-10-16 | 汉中市中心医院 | A kind of medical system of long-range gynaecology |
| CN209863775U (en) * | 2019-03-29 | 2019-12-31 | 徐州市联创医疗设备有限公司 | High-definition electronic colposcope for gynecological examination |
-
2020
- 2020-07-22 CN CN202010713455.3A patent/CN111938556A/en active Pending
Patent Citations (3)
| Publication number | Priority date | Publication date | Assignee | Title |
|---|---|---|---|---|
| CN107518864A (en) * | 2017-08-18 | 2017-12-29 | 朱彦红 | A kind of gynemetrics's clinic prospecting apparatus |
| CN108652571A (en) * | 2018-05-23 | 2018-10-16 | 汉中市中心医院 | A kind of medical system of long-range gynaecology |
| CN209863775U (en) * | 2019-03-29 | 2019-12-31 | 徐州市联创医疗设备有限公司 | High-definition electronic colposcope for gynecological examination |
Cited By (1)
| Publication number | Priority date | Publication date | Assignee | Title |
|---|---|---|---|---|
| CN114404054A (en) * | 2021-11-23 | 2022-04-29 | 中徽建技术有限公司 | Intelligent detection nursing system |
Similar Documents
| Publication | Publication Date | Title |
|---|---|---|
| CN111134657B (en) | Portable 12-lead electrocardiosignal acquisition device and application method thereof | |
| CN104840192A (en) | Portable 12-lead electrocardiosignal collection detecting terminal | |
| CN206026335U (en) | Towards parkinson disease people's hand tremble aassessment intelligent ring | |
| CN108309282A (en) | A kind of ECG detecting foot ring and its detection method | |
| CN111938556A (en) | A remote gynecological consultation system | |
| RU2729430C1 (en) | Hardware-software system for life indicators monitoring | |
| CN205251537U (en) | Cardiovascular health monitoring device of hand -held type | |
| CN204181589U (en) | A kind of many vital sign monitoring headbands | |
| US20230018876A1 (en) | Wearable Nystagmus Detection Devices and Methods for Using the Same | |
| CN209091373U (en) | A kind of ECG detecting foot ring | |
| CN113558625A (en) | A wearable multi-lead Holter monitor | |
| CN110279412A (en) | A kind of paediatrics network hospital terminal device, system and method | |
| JP7435715B2 (en) | Biological information acquisition device and its manufacturing method | |
| CN113397502B (en) | Multimode data acquisition equipment based on neural feedback | |
| CN204683576U (en) | A kind of electrocardio monitoring monitor device | |
| CN204708818U (en) | A kind of medical sexual intercourse sign data recording equipment | |
| CN212187002U (en) | Urinary surgery is clinical with connecing urine device | |
| CN207949785U (en) | wearable intraocular pressure monitoring device | |
| CN220175098U (en) | Non-contact vital sign monitoring and evaluating device | |
| CN113729632A (en) | A mechanical device for pulse diagnosis wristband | |
| CN209661622U (en) | A kind of blue-tooth intelligence is felt the pulse bracelet | |
| CN221205449U (en) | Patch type electrocardiograph monitoring device | |
| CN222285453U (en) | Internet hospital vital sign acquisition node equipment | |
| CN212234424U (en) | Human body data acquisition system | |
| CN206880669U (en) | A kind of Multi-functional mercury sphygmomanometer |
Legal Events
| Date | Code | Title | Description |
|---|---|---|---|
| PB01 | Publication | ||
| PB01 | Publication | ||
| SE01 | Entry into force of request for substantive examination | ||
| SE01 | Entry into force of request for substantive examination | ||
| RJ01 | Rejection of invention patent application after publication |
Application publication date: 20201117 |
|
| RJ01 | Rejection of invention patent application after publication |
