CN111937735A - Atomized soilless planter and method of using the same - Google Patents
Atomized soilless planter and method of using the same Download PDFInfo
- Publication number
- CN111937735A CN111937735A CN202010842715.7A CN202010842715A CN111937735A CN 111937735 A CN111937735 A CN 111937735A CN 202010842715 A CN202010842715 A CN 202010842715A CN 111937735 A CN111937735 A CN 111937735A
- Authority
- CN
- China
- Prior art keywords
- water
- water tank
- cover body
- root
- flower
- Prior art date
- Legal status (The legal status is an assumption and is not a legal conclusion. Google has not performed a legal analysis and makes no representation as to the accuracy of the status listed.)
- Granted
Links
- 238000000034 method Methods 0.000 title claims abstract description 25
- XLYOFNOQVPJJNP-UHFFFAOYSA-N water Substances O XLYOFNOQVPJJNP-UHFFFAOYSA-N 0.000 claims abstract description 141
- 239000010865 sewage Substances 0.000 claims abstract description 40
- 230000001681 protective effect Effects 0.000 claims abstract description 29
- 229910000831 Steel Inorganic materials 0.000 claims abstract description 24
- 239000010959 steel Substances 0.000 claims abstract description 24
- 239000008233 hard water Substances 0.000 claims abstract description 21
- 239000002002 slurry Substances 0.000 claims description 39
- 239000000243 solution Substances 0.000 claims description 39
- 235000015097 nutrients Nutrition 0.000 claims description 37
- 239000007921 spray Substances 0.000 claims description 24
- 239000000499 gel Substances 0.000 claims description 23
- PEDCQBHIVMGVHV-UHFFFAOYSA-N glycerol group Chemical group OCC(O)CO PEDCQBHIVMGVHV-UHFFFAOYSA-N 0.000 claims description 18
- 239000003795 chemical substances by application Substances 0.000 claims description 15
- 239000006260 foam Substances 0.000 claims description 15
- 239000012188 paraffin wax Substances 0.000 claims description 15
- 239000000463 material Substances 0.000 claims description 14
- 238000002054 transplantation Methods 0.000 claims description 12
- 238000005507 spraying Methods 0.000 claims description 11
- 239000007788 liquid Substances 0.000 claims description 10
- 239000003595 mist Substances 0.000 claims description 9
- 229920001817 Agar Polymers 0.000 claims description 7
- 239000008272 agar Substances 0.000 claims description 7
- 239000011573 trace mineral Substances 0.000 claims description 6
- 235000013619 trace mineral Nutrition 0.000 claims description 6
- 235000013311 vegetables Nutrition 0.000 claims description 6
- 238000001914 filtration Methods 0.000 claims description 5
- 150000002505 iron Chemical class 0.000 claims description 5
- 239000012266 salt solution Substances 0.000 claims description 5
- 244000304337 Cuminum cyminum Species 0.000 claims description 4
- 235000007129 Cuminum cyminum Nutrition 0.000 claims description 4
- 229930006000 Sucrose Natural products 0.000 claims description 4
- CZMRCDWAGMRECN-UGDNZRGBSA-N Sucrose Chemical compound O[C@H]1[C@H](O)[C@@H](CO)O[C@@]1(CO)O[C@@H]1[C@H](O)[C@@H](O)[C@H](O)[C@@H](CO)O1 CZMRCDWAGMRECN-UGDNZRGBSA-N 0.000 claims description 4
- 239000000022 bacteriostatic agent Substances 0.000 claims description 4
- 235000013399 edible fruits Nutrition 0.000 claims description 4
- 238000011049 filling Methods 0.000 claims description 4
- ZDXPYRJPNDTMRX-UHFFFAOYSA-N glutamine Natural products OC(=O)C(N)CCC(N)=O ZDXPYRJPNDTMRX-UHFFFAOYSA-N 0.000 claims description 4
- 238000002156 mixing Methods 0.000 claims description 4
- 229910001220 stainless steel Inorganic materials 0.000 claims description 4
- 239000010935 stainless steel Substances 0.000 claims description 4
- KCXVZYZYPLLWCC-UHFFFAOYSA-N EDTA Chemical compound OC(=O)CN(CC(O)=O)CCN(CC(O)=O)CC(O)=O KCXVZYZYPLLWCC-UHFFFAOYSA-N 0.000 claims description 3
- 244000017020 Ipomoea batatas Species 0.000 claims description 3
- 235000002678 Ipomoea batatas Nutrition 0.000 claims description 3
- 238000004140 cleaning Methods 0.000 claims description 2
- 238000005086 pumping Methods 0.000 claims description 2
- CSNNHWWHGAXBCP-UHFFFAOYSA-L Magnesium sulfate Chemical compound [Mg+2].[O-][S+2]([O-])([O-])[O-] CSNNHWWHGAXBCP-UHFFFAOYSA-L 0.000 claims 3
- 238000000889 atomisation Methods 0.000 claims 3
- 229910021580 Cobalt(II) chloride Inorganic materials 0.000 claims 2
- 229920000742 Cotton Polymers 0.000 claims 2
- 238000009835 boiling Methods 0.000 claims 2
- ARUVKPQLZAKDPS-UHFFFAOYSA-L copper(II) sulfate Chemical compound [Cu+2].[O-][S+2]([O-])([O-])[O-] ARUVKPQLZAKDPS-UHFFFAOYSA-L 0.000 claims 2
- 229910000366 copper(II) sulfate Inorganic materials 0.000 claims 2
- 229910052943 magnesium sulfate Inorganic materials 0.000 claims 2
- FGIUAXJPYTZDNR-UHFFFAOYSA-N potassium nitrate Chemical compound [K+].[O-][N+]([O-])=O FGIUAXJPYTZDNR-UHFFFAOYSA-N 0.000 claims 2
- 238000002360 preparation method Methods 0.000 claims 2
- UXVMQQNJUSDDNG-UHFFFAOYSA-L Calcium chloride Chemical compound [Cl-].[Cl-].[Ca+2] UXVMQQNJUSDDNG-UHFFFAOYSA-L 0.000 claims 1
- 239000004831 Hot glue Substances 0.000 claims 1
- 239000007836 KH2PO4 Substances 0.000 claims 1
- 229910004619 Na2MoO4 Inorganic materials 0.000 claims 1
- 229910000148 ammonium phosphate Inorganic materials 0.000 claims 1
- KGBXLFKZBHKPEV-UHFFFAOYSA-N boric acid Chemical compound OB(O)O KGBXLFKZBHKPEV-UHFFFAOYSA-N 0.000 claims 1
- 239000001110 calcium chloride Substances 0.000 claims 1
- 229910001628 calcium chloride Inorganic materials 0.000 claims 1
- 239000004927 clay Substances 0.000 claims 1
- 238000001816 cooling Methods 0.000 claims 1
- 230000008878 coupling Effects 0.000 claims 1
- 238000010168 coupling process Methods 0.000 claims 1
- 238000005859 coupling reaction Methods 0.000 claims 1
- 238000005520 cutting process Methods 0.000 claims 1
- 230000000249 desinfective effect Effects 0.000 claims 1
- XLYOFNOQVPJJNP-ZSJDYOACSA-N heavy water Substances [2H]O[2H] XLYOFNOQVPJJNP-ZSJDYOACSA-N 0.000 claims 1
- SQQMAOCOWKFBNP-UHFFFAOYSA-L manganese(II) sulfate Chemical compound [Mn+2].[O-]S([O-])(=O)=O SQQMAOCOWKFBNP-UHFFFAOYSA-L 0.000 claims 1
- 229910000357 manganese(II) sulfate Inorganic materials 0.000 claims 1
- 229910052603 melanterite Inorganic materials 0.000 claims 1
- 229910000402 monopotassium phosphate Inorganic materials 0.000 claims 1
- 230000000149 penetrating effect Effects 0.000 claims 1
- GNSKLFRGEWLPPA-UHFFFAOYSA-M potassium dihydrogen phosphate Chemical compound [K+].OP(O)([O-])=O GNSKLFRGEWLPPA-UHFFFAOYSA-M 0.000 claims 1
- 239000011684 sodium molybdate Substances 0.000 claims 1
- TVXXNOYZHKPKGW-UHFFFAOYSA-N sodium molybdate (anhydrous) Chemical compound [Na+].[Na+].[O-][Mo]([O-])(=O)=O TVXXNOYZHKPKGW-UHFFFAOYSA-N 0.000 claims 1
- 229960004793 sucrose Drugs 0.000 claims 1
- 238000005303 weighing Methods 0.000 claims 1
- 229910000368 zinc sulfate Inorganic materials 0.000 claims 1
- 239000011686 zinc sulphate Substances 0.000 claims 1
- 239000004820 Pressure-sensitive adhesive Substances 0.000 abstract description 4
- 238000003898 horticulture Methods 0.000 abstract description 2
- 241000196324 Embryophyta Species 0.000 description 33
- 230000012010 growth Effects 0.000 description 10
- 241001495448 Impatiens <genus> Species 0.000 description 7
- 229930190166 impatien Natural products 0.000 description 7
- 235000011187 glycerol Nutrition 0.000 description 6
- 239000000443 aerosol Substances 0.000 description 5
- 239000003349 gelling agent Substances 0.000 description 4
- 239000012535 impurity Substances 0.000 description 4
- 238000009434 installation Methods 0.000 description 4
- 230000007246 mechanism Effects 0.000 description 4
- 230000029663 wound healing Effects 0.000 description 4
- 206010016807 Fluid retention Diseases 0.000 description 3
- 230000001070 adhesive effect Effects 0.000 description 3
- 238000005452 bending Methods 0.000 description 3
- 238000010586 diagram Methods 0.000 description 3
- 238000006073 displacement reaction Methods 0.000 description 3
- 239000003292 glue Substances 0.000 description 3
- 230000005484 gravity Effects 0.000 description 3
- 230000035876 healing Effects 0.000 description 3
- 239000012943 hotmelt Substances 0.000 description 3
- 230000006872 improvement Effects 0.000 description 3
- 230000001050 lubricating effect Effects 0.000 description 3
- 210000000056 organ Anatomy 0.000 description 3
- 239000002245 particle Substances 0.000 description 3
- 239000003375 plant hormone Substances 0.000 description 3
- 238000003756 stirring Methods 0.000 description 3
- 239000000126 substance Substances 0.000 description 3
- 239000005720 sucrose Substances 0.000 description 3
- 239000013589 supplement Substances 0.000 description 3
- 230000004083 survival effect Effects 0.000 description 3
- 238000003466 welding Methods 0.000 description 3
- TWFZGCMQGLPBSX-UHFFFAOYSA-N Carbendazim Natural products C1=CC=C2NC(NC(=O)OC)=NC2=C1 TWFZGCMQGLPBSX-UHFFFAOYSA-N 0.000 description 2
- 244000166124 Eucalyptus globulus Species 0.000 description 2
- 230000000844 anti-bacterial effect Effects 0.000 description 2
- 230000008901 benefit Effects 0.000 description 2
- ICSSIKVYVJQJND-UHFFFAOYSA-N calcium nitrate tetrahydrate Chemical compound O.O.O.O.[Ca+2].[O-][N+]([O-])=O.[O-][N+]([O-])=O ICSSIKVYVJQJND-UHFFFAOYSA-N 0.000 description 2
- JNPZQRQPIHJYNM-UHFFFAOYSA-N carbendazim Chemical compound C1=C[CH]C2=NC(NC(=O)OC)=NC2=C1 JNPZQRQPIHJYNM-UHFFFAOYSA-N 0.000 description 2
- 239000006013 carbendazim Substances 0.000 description 2
- 239000012141 concentrate Substances 0.000 description 2
- 238000012364 cultivation method Methods 0.000 description 2
- 230000007812 deficiency Effects 0.000 description 2
- 238000005265 energy consumption Methods 0.000 description 2
- 239000000843 powder Substances 0.000 description 2
- 230000008653 root damage Effects 0.000 description 2
- 241001290610 Abildgaardia Species 0.000 description 1
- 208000035143 Bacterial infection Diseases 0.000 description 1
- 235000009604 Chrysanthemum X morifolium Nutrition 0.000 description 1
- 244000189548 Chrysanthemum x morifolium Species 0.000 description 1
- 241000218158 Clematis Species 0.000 description 1
- 240000002834 Paulownia tomentosa Species 0.000 description 1
- 235000010678 Paulownia tomentosa Nutrition 0.000 description 1
- 208000022362 bacterial infectious disease Diseases 0.000 description 1
- 230000003385 bacteriostatic effect Effects 0.000 description 1
- 230000009286 beneficial effect Effects 0.000 description 1
- 230000008859 change Effects 0.000 description 1
- 230000000052 comparative effect Effects 0.000 description 1
- 238000005516 engineering process Methods 0.000 description 1
- 230000007613 environmental effect Effects 0.000 description 1
- 238000002474 experimental method Methods 0.000 description 1
- 230000036541 health Effects 0.000 description 1
- 235000001705 insufficient nutrition Nutrition 0.000 description 1
- 239000000203 mixture Substances 0.000 description 1
- 230000008635 plant growth Effects 0.000 description 1
- 239000002994 raw material Substances 0.000 description 1
- 230000002786 root growth Effects 0.000 description 1
- 241000894007 species Species 0.000 description 1
- 230000001954 sterilising effect Effects 0.000 description 1
- 238000004659 sterilization and disinfection Methods 0.000 description 1
Images
Classifications
-
- A—HUMAN NECESSITIES
- A01—AGRICULTURE; FORESTRY; ANIMAL HUSBANDRY; HUNTING; TRAPPING; FISHING
- A01G—HORTICULTURE; CULTIVATION OF VEGETABLES, FLOWERS, RICE, FRUIT, VINES, HOPS OR SEAWEED; FORESTRY; WATERING
- A01G31/00—Soilless cultivation, e.g. hydroponics
- A01G31/02—Special apparatus therefor
-
- A—HUMAN NECESSITIES
- A01—AGRICULTURE; FORESTRY; ANIMAL HUSBANDRY; HUNTING; TRAPPING; FISHING
- A01G—HORTICULTURE; CULTIVATION OF VEGETABLES, FLOWERS, RICE, FRUIT, VINES, HOPS OR SEAWEED; FORESTRY; WATERING
- A01G31/00—Soilless cultivation, e.g. hydroponics
-
- A—HUMAN NECESSITIES
- A01—AGRICULTURE; FORESTRY; ANIMAL HUSBANDRY; HUNTING; TRAPPING; FISHING
- A01G—HORTICULTURE; CULTIVATION OF VEGETABLES, FLOWERS, RICE, FRUIT, VINES, HOPS OR SEAWEED; FORESTRY; WATERING
- A01G31/00—Soilless cultivation, e.g. hydroponics
- A01G31/02—Special apparatus therefor
- A01G31/065—Special apparatus therefor with means for recycling the nutritive solution
-
- C—CHEMISTRY; METALLURGY
- C05—FERTILISERS; MANUFACTURE THEREOF
- C05B—PHOSPHATIC FERTILISERS
- C05B7/00—Fertilisers based essentially on alkali or ammonium orthophosphates
-
- C—CHEMISTRY; METALLURGY
- C05—FERTILISERS; MANUFACTURE THEREOF
- C05G—MIXTURES OF FERTILISERS COVERED INDIVIDUALLY BY DIFFERENT SUBCLASSES OF CLASS C05; MIXTURES OF ONE OR MORE FERTILISERS WITH MATERIALS NOT HAVING A SPECIFIC FERTILISING ACTIVITY, e.g. PESTICIDES, SOIL-CONDITIONERS, WETTING AGENTS; FERTILISERS CHARACTERISED BY THEIR FORM
- C05G3/00—Mixtures of one or more fertilisers with additives not having a specially fertilising activity
-
- C—CHEMISTRY; METALLURGY
- C05—FERTILISERS; MANUFACTURE THEREOF
- C05G—MIXTURES OF FERTILISERS COVERED INDIVIDUALLY BY DIFFERENT SUBCLASSES OF CLASS C05; MIXTURES OF ONE OR MORE FERTILISERS WITH MATERIALS NOT HAVING A SPECIFIC FERTILISING ACTIVITY, e.g. PESTICIDES, SOIL-CONDITIONERS, WETTING AGENTS; FERTILISERS CHARACTERISED BY THEIR FORM
- C05G3/00—Mixtures of one or more fertilisers with additives not having a specially fertilising activity
- C05G3/60—Biocides or preservatives, e.g. disinfectants, pesticides or herbicides; Pest repellants or attractants
-
- C—CHEMISTRY; METALLURGY
- C05—FERTILISERS; MANUFACTURE THEREOF
- C05G—MIXTURES OF FERTILISERS COVERED INDIVIDUALLY BY DIFFERENT SUBCLASSES OF CLASS C05; MIXTURES OF ONE OR MORE FERTILISERS WITH MATERIALS NOT HAVING A SPECIFIC FERTILISING ACTIVITY, e.g. PESTICIDES, SOIL-CONDITIONERS, WETTING AGENTS; FERTILISERS CHARACTERISED BY THEIR FORM
- C05G5/00—Fertilisers characterised by their form
- C05G5/10—Solid or semi-solid fertilisers, e.g. powders
- C05G5/18—Semi-solid fertilisers, e.g. foams or gels
-
- Y—GENERAL TAGGING OF NEW TECHNOLOGICAL DEVELOPMENTS; GENERAL TAGGING OF CROSS-SECTIONAL TECHNOLOGIES SPANNING OVER SEVERAL SECTIONS OF THE IPC; TECHNICAL SUBJECTS COVERED BY FORMER USPC CROSS-REFERENCE ART COLLECTIONS [XRACs] AND DIGESTS
- Y02—TECHNOLOGIES OR APPLICATIONS FOR MITIGATION OR ADAPTATION AGAINST CLIMATE CHANGE
- Y02P—CLIMATE CHANGE MITIGATION TECHNOLOGIES IN THE PRODUCTION OR PROCESSING OF GOODS
- Y02P60/00—Technologies relating to agriculture, livestock or agroalimentary industries
- Y02P60/20—Reduction of greenhouse gas [GHG] emissions in agriculture, e.g. CO2
- Y02P60/21—Dinitrogen oxide [N2O], e.g. using aquaponics, hydroponics or efficiency measures
Landscapes
- Life Sciences & Earth Sciences (AREA)
- Chemical & Material Sciences (AREA)
- Pest Control & Pesticides (AREA)
- Organic Chemistry (AREA)
- Environmental Sciences (AREA)
- Plant Pathology (AREA)
- Dispersion Chemistry (AREA)
- Cultivation Receptacles Or Flower-Pots, Or Pots For Seedlings (AREA)
Abstract
本发明涉及园艺技术领域,尤其是一种雾化式无土花槽及其使用方法;包括侧板、罩体、水槽、潜污泵、螺旋喷头、导向杆以及柔性夹,罩体左右两侧的下端与侧板顶部固接,所述罩体左右两侧设置有多个圆形通孔,圆形通孔处均插入有保护套,所述罩体顶部安装有若干个螺旋喷头,所述螺旋喷头包括出水端和进水端,所述出水端和进水端连通,出水端为逐渐缩小的空心螺旋锥,罩体竖直插入有硬质水管,硬质水管下端固接有一潜污泵,所述柔性夹包括钢圈、固定块和夹头,夹头为切有一条裂缝的压敏胶块,使用时可掰开夹头的裂缝夹住植物的主根末端,每个直根系植物的主根都被强行伸展,减少他们之间可能互相纠缠的可能。
The invention relates to the technical field of horticulture, in particular to an atomized soilless planter and a method for using the same; it comprises a side plate, a cover body, a water tank, a submersible sewage pump, a screw nozzle, a guide rod and a flexible clip. The lower end of the hood is fixedly connected to the top of the side plate, a plurality of circular through holes are arranged on the left and right sides of the cover body, protective sleeves are inserted into the circular through holes, and a number of spiral nozzles are installed on the top of the cover body. The spiral nozzle includes a water outlet end and a water inlet end, the water outlet end and the water inlet end are connected, the water outlet end is a hollow spiral cone that gradually shrinks, a hard water pipe is vertically inserted into the cover body, and a submersible sewage pump is fixedly connected to the lower end of the hard water pipe. , the flexible clip includes a steel ring, a fixing block and a collet, the collet is a pressure-sensitive adhesive block cut with a crack, and the crack of the collet can be opened to clamp the end of the main root of the plant. The taproots are forcibly stretched, reducing the possibility that they may become entangled with each other.
Description
技术领域technical field
本发明涉及园艺技术领域,尤其是一种雾化式无土花槽及其使用方法。The invention relates to the technical field of horticulture, in particular to an atomized soilless planter and a method for using the same.
背景技术Background technique
雾培是对无土栽培的进一步改进,尚处于推广阶段。所谓雾培,又称气雾栽培,是一种新型的栽培方式,它是利用喷雾装置将营养液雾化为小雾滴状,直接喷射到植物根系以提供植物生长所需的水分和养分的一种无土栽培技术。具体到园艺行业,雾培技术主要运用于花苗的培育,例如雾培花槽,也叫雾化式无土花槽。雾培的优点在于节约营养液,另外还因为将植物的根系脱离了水槽,大幅度降低了烂根的发生。Aeroponics is a further improvement of soilless culture and is still in the promotion stage. The so-called aerosol cultivation, also known as aerosol cultivation, is a new type of cultivation method. It uses a spray device to atomize the nutrient solution into small droplets and spray it directly to the roots of plants to provide the water and nutrients needed for plant growth. A soilless cultivation technique. Specific to the horticultural industry, aeroponics technology is mainly used in the cultivation of flower seedlings, such as aeroponics flower troughs, also known as atomized soilless flower troughs. The advantage of aeroponics is that it saves nutrient solution, and because the root system of the plant is removed from the water tank, the occurrence of rotten roots is greatly reduced.
现有技术的不足在于:1、需要营养液循环过滤系统,喷淋在植物根系上多余的营养液会滴落在水槽内,与此同时折断或者脱落的根须会随着液滴一起落下,经过循环过滤系统过滤后再次用于喷淋,耗费滤材;2、直根系植物的根系会随喷雾产生的乱流随机摆动,甚至相邻植物的根系会纠缠在一起(为了减少占地面积不可能将花苗的间隔设置的很大,例如图7中黑圈所示,相邻两棵植物的根系发生严重纠缠),不利于后续的移植(须根系植物通常根系蓬松且不定向,不容易发生大规模纠缠,即使发生纠缠也可直接剪开,而直根系植物的主根直接剪断则很容易造成生长缓慢),市面常见的花苗均为双子叶植物,也就是说大部分花苗是直根系植物,故现有无土花槽不适用。The deficiencies of the prior art are: 1, a nutrient solution circulation filtration system is required, and the excess nutrient solution sprayed on the plant root system will drop in the water tank, and the broken or fallen off roots will fall together with the droplets at the same time, After being filtered by the circulating filter system, it is used for spraying again, which consumes the filter material; 2. The roots of taproot plants will swing randomly with the turbulent flow generated by the spray, and even the roots of adjacent plants will be entangled together (in order to reduce the footprint The interval between flower and seedlings may be set very large, for example, as shown by the black circle in Figure 7, the roots of two adjacent plants are seriously entangled), which is not conducive to subsequent transplantation (fibrous root plants usually have fluffy and non-directional roots, which are not easy to occur. Large-scale entanglement, even if entanglement occurs, it can be cut directly, while the taproots of taproot plants are easily cut off, resulting in slow growth.) The common flower seedlings on the market are dicotyledonous plants, which means that most flower seedlings are taproot plants. Therefore, the existing soilless planters are not suitable.
发明内容SUMMARY OF THE INVENTION
针对现有技术的不足,本发明提供一种用于雾培的花槽,该花槽可通过雾培方式栽培花苗,还提供了该花槽的使用方法。Aiming at the deficiencies of the prior art, the present invention provides a flower trough for aeroponics, which can cultivate flower seedlings by aeroponics, and also provides a method for using the flower trough.
本发明的技术方案为:The technical scheme of the present invention is:
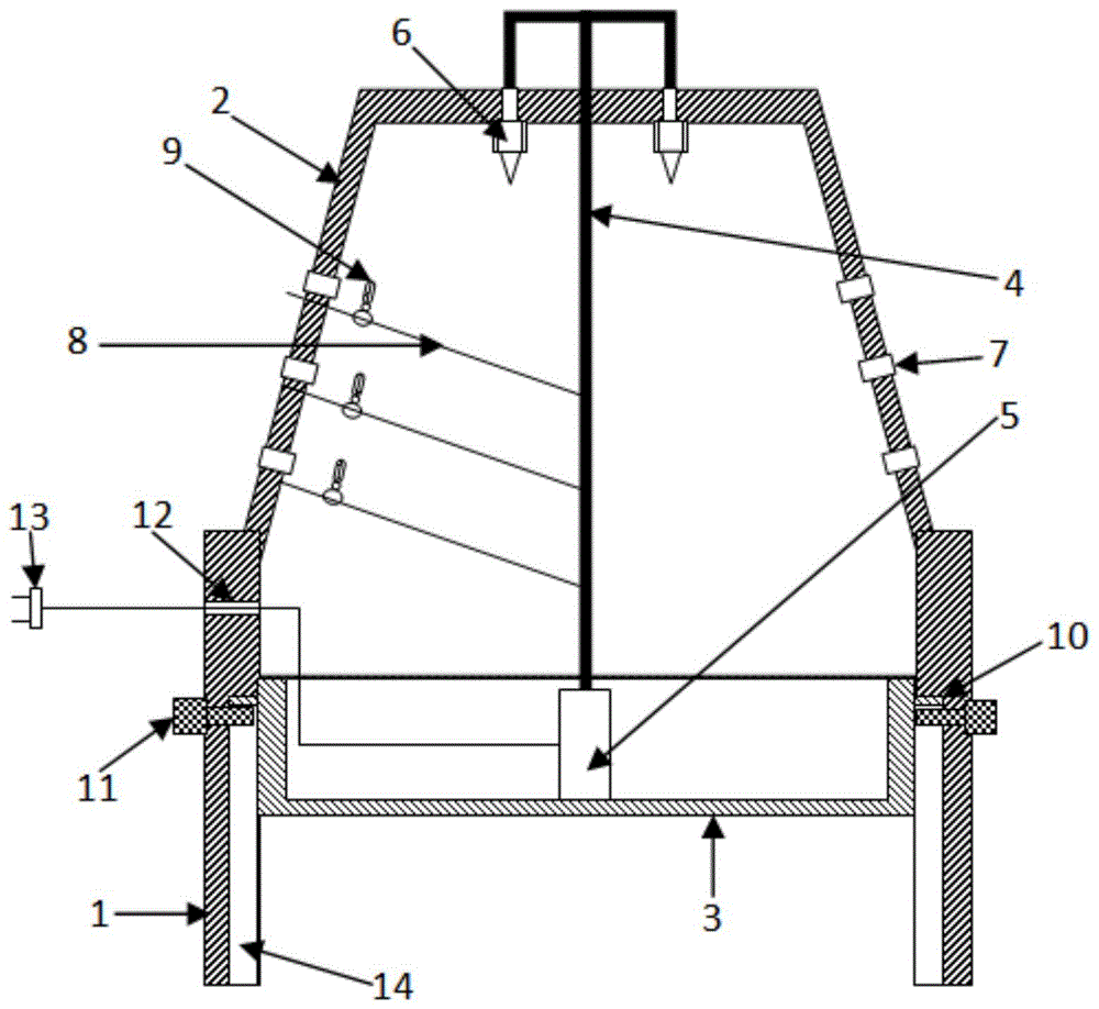
一种雾化式无土花槽,它包括侧板、罩体、水槽、潜污泵、螺旋喷头、导向杆以及柔性夹,侧板设置有两块,这两块侧板对向设置,罩体截面呈等腰梯形,罩体左右两侧的下端与侧板顶部固接,所述罩体左右两侧设置有多个圆形通孔,圆形通孔处均插入有保护套,保护套用于套住植物的茎部,使得根部在罩体内而叶、花、果实等器官在罩体的外面,并且植物不容易在圆形通孔处发生较大位移;所述水槽呈矩形,所述水槽两侧设置有凸缘,所述侧板内壁对应水槽的凸缘设置有用于水槽上下活动的滑槽,并且设置有用于固定凸缘的螺孔,螺孔内拧入有螺丝;所述罩体顶部安装有若干个螺旋喷头,所述螺旋喷头包括出水端和进水端,所述出水端和进水端连通,出水端为逐渐缩小的空心螺旋锥,由于不设过滤机构、阀门机构,该喷头几乎不存在堵塞的可能,螺旋喷头的出水端位于罩体内而进水端位于罩体外,罩体竖直插入有硬质水管,硬质水管下端固接有一潜污泵,硬质水管的顶端通过管道分别连接螺旋喷头的进水端,潜污泵直接将可能含有根须的营养液泵入螺旋喷头,减少循环路径,提高循环效率,摒弃现有的过滤装置,节省了过滤产生的能耗和滤材损耗;所述硬质水管的两侧朝向对应侧的各个圆形通孔的下侧均连接有导向杆,每根导向杆上均套设有一柔性夹(其重量不超过5g),用于夹持植物的主根末端,所述柔性夹包括钢圈、固定块和夹头,所述钢圈为钢丝弯曲而成的圆圈,固定块为热熔胶块,夹头为切有一条裂缝的压敏胶块,固定块将钢圈和夹头固定连接,使用时可掰开夹头的裂缝夹住植物的主根末端,而钢圈受到重力影响必然带动植物主根沿着导向杆斜向下移动,直至主根被伸展,每个直根系植物的主根都被强行伸展,减少他们之间可能互相纠缠的可能,特别适合诸如凤仙花、刺桐等主根较长的花苗使用。An atomized soilless flower trough, which comprises a side plate, a cover body, a water tank, a submersible sewage pump, a spiral nozzle, a guide rod and a flexible clip. The cross section of the body is an isosceles trapezoid, the lower ends of the left and right sides of the cover body are fixedly connected to the top of the side plate, a plurality of circular through holes are arranged on the left and right sides of the cover body, and protective sleeves are inserted into the circular through holes. In order to cover the stem of the plant, so that the root is inside the cover and the leaves, flowers, fruits and other organs are outside the cover, and the plant is not easy to have a large displacement at the circular through hole; the water tank is rectangular, the Flanges are provided on both sides of the water tank, the inner wall of the side plate is provided with a chute for the up and down movement of the water tank corresponding to the flange of the water tank, and is provided with screw holes for fixing the flanges, and screws are screwed into the screw holes; the cover There are several spiral nozzles installed on the top of the body. The spiral nozzles include a water outlet end and a water inlet end. The water outlet end and the water inlet end are connected. The water outlet end is a hollow spiral cone that gradually shrinks. There is almost no possibility of blockage of the nozzle. The water outlet end of the spiral nozzle is located in the cover body and the water inlet end is located outside the cover body. The cover body is vertically inserted with a hard water pipe. The lower end of the hard water pipe is fixed with a submersible sewage pump. The top is connected to the water inlet ends of the spiral nozzles through pipes, and the submersible sewage pump directly pumps the nutrient solution that may contain roots into the spiral nozzles, reducing the circulation path and improving the circulation efficiency. guide rods are connected to the lower side of each circular through hole on both sides of the hard water pipe facing the corresponding side, and each guide rod is sleeved with a flexible clip (its weight does not exceed 5g) , used to clamp the main root end of the plant, the flexible clamp includes a steel ring, a fixing block and a chuck, the steel ring is a circle formed by bending a steel wire, the fixing block is a hot melt glue block, and the chuck is cut with a The cracked pressure-sensitive adhesive block, the fixed block fixedly connects the steel ring and the collet, and the crack of the collet can be opened to clamp the end of the main root of the plant, and the steel ring will inevitably drive the main root of the plant along the guide rod due to the influence of gravity. Move down until the taproot is stretched, and the taproots of each taproot plant are forcibly stretched, reducing the possibility of entanglement between them, especially suitable for flower seedlings with long taproots such as impatiens and eucalyptus.
在一个实施例中,所述硬质水管材质为不锈钢管,导向杆为钢线,便于焊接。In one embodiment, the hard water pipe is made of stainless steel, and the guide rod is a steel wire, which is convenient for welding.
在一个实施例中,所述侧板顶部设置有一走线孔,所述潜污泵的电源线从走线孔穿出并外接市电,电源线与走线孔之间采用橡皮泥填充,防止雾气大量外泄。In one embodiment, a wiring hole is provided on the top of the side plate, the power cord of the submersible sewage pump is passed through the wiring hole and connected to the mains, and the power cord and the wiring hole are filled with plasticine to prevent A lot of fog leaked out.
在一个实施例中,所述保护套包括卷曲成筒状的泡沫绵以及涂覆在泡沫绵内壁上的石蜡层,其中石蜡层的厚度为0.5-2毫米。石蜡可以起到润滑的作用,当植株生长时伸长的茎部不容易将泡沫绵轴向撑裂。另外石蜡与泡沫绵相比具有较好的生物亲和性。In one embodiment, the protective cover comprises a foam sponge rolled into a cylindrical shape and a paraffin layer coated on the inner wall of the foam sponge, wherein the thickness of the paraffin layer is 0.5-2 mm. Paraffin can play a lubricating role, and when the plant grows, the elongated stem is not easy to crack the foam shaft. In addition, paraffin wax has better bioaffinity than foam sponge.
在一个实施例中,所述罩体顶部设置有若干个操作口,便于管理人员将手臂伸入罩体内进行操作,操作口均为矩形,所述操作口均放置有盖板,用于防止外界污染以及雾气大量外泄,所述水槽底部安装有多个万向轮,便于水槽推入侧板之间。In one embodiment, the top of the cover is provided with a number of operation ports, which are convenient for managers to extend their arms into the cover to operate. The operation ports are all rectangular, and the operation ports are placed with cover plates to prevent the outside world. A lot of pollution and mist leak out, and a plurality of universal wheels are installed at the bottom of the water tank to facilitate the water tank to be pushed between the side plates.
一种雾化式无土花槽的使用方法,它包括以下步骤:A method for using an atomized soilless planter, which comprises the following steps:
步骤一,配置移植预处理浆料,移植预处理浆料由凝胶剂和油剂组成;
其中凝胶剂的配置方法为每1000mL水中添加下述物质KNO3 1.9-3.5g、NH4NO30.65-1.7g、MgSO4 0.64-1.2g、KH2PO4 0.15-0.6g、CaCl2·H2O 0.3-1.2g、FeSO4·7H2O 0.2-0.4g、MnSO4·4H2O 0.017-0.085g、KI 0.004-0.02g、CuSO4 0.00003-0.00006g、CoCl20.00003-0.00006g、HBO3 0.007-0.0095g、NAA 2-10mg,KT 0.5-2mg、谷氨酰胺0.4-0.8g、琼脂2-5g、蔗糖19-20g和抑菌剂5-10g,混合均匀后煮沸调整pH为6,室温环境下放置降温到37摄氏度以下后倒入榨汁机15000转每分钟粉碎3分钟备用;显而易见的,凝胶剂含有NAA和KT,可促进花苗根系愈合以及生长,减少由于移植产生的根系损伤,另外千分之二到千分之五浓度的琼脂使得整个凝胶剂硬度、强度很低,容易搅拌粉碎成容易喷涂的膏状;The configuration method of the gelling agent is to add the following substances per 1000mL of water: KNO 3 1.9-3.5g, NH 4 NO 3 0.65-1.7g, MgSO 4 0.64-1.2g, KH 2 PO 4 0.15-0.6g, CaCl 2 · H 2 O 0.3-1.2g, FeSO 4 ·7H 2 O 0.2-0.4g, MnSO 4 ·4H 2 O 0.017-0.085g, KI 0.004-0.02g, CuSO 4 0.00003-0.00006g, CoCl 2 0.00003-0.00006g, HBO 3 0.007-0.0095g, NAA 2-10mg, KT 0.5-2mg, glutamine 0.4-0.8g, agar 2-5g, sucrose 19-20g and bacteriostatic agent 5-10g, mix well and boil to adjust pH to 6 , placed at room temperature and cooled to below 37 degrees Celsius, then poured into the juicer at 15,000 rpm and crushed for 3 minutes for use; obviously, the gel contains NAA and KT, which can promote the healing and growth of the root system of flower seedlings, and reduce the root system caused by transplantation. In addition, the agar with a concentration of two thousandths to five thousandths makes the whole gelling agent very low in hardness and strength, and it is easy to stir and pulverize into a paste that is easy to spray;
其中油剂为甘油;甘油的存在更加利于凝胶剂粉碎后小颗粒的水分保持;另外更为重要的是加强凝胶剂附着在根系上的能力;Wherein the oil is glycerol; the presence of glycerin is more conducive to the water retention of the small particles after the gel is pulverized; in addition, it is more important to strengthen the ability of the gel to adhere to the root system;
所述凝胶剂与油剂的重量比例为1000:139;将两者倒入搅拌机2000转每分钟混合10分钟得到移植预处理浆料;The weight ratio of the gel agent and the oil agent is 1000:139; the two are poured into a mixer at 2000 rpm and mixed for 10 minutes to obtain a pretreatment slurry for transplantation;
步骤二,将移植预处理浆料装填入喷壶;
步骤三,将移植预处理浆料喷涂在待移植花苗的根系处,喷涂时将花苗倒立(根朝上),从根尖往下喷,直至肉眼可见移植预处理浆料已经沿着主根流淌到茎部时停止喷涂,手握根系并将其侧根收拢在主根周围,由于有移植预处理浆料的粘合作用通常侧根不容易在短时间内张开,便于将根系插入并通过圆形通孔;移植预处理浆料中的凝胶剂对根系在潜污泵尚未开启前进行水分、营养的补充,并且通过植物激素刺激根系加速生长和伤口的愈合;另外具有抑菌功能的移植预处理浆料将根系中的大部分根须覆盖,相当于在花苗在移植后最脆弱的时候进行抑菌保护,大幅度降低烂根的发生;
步骤四,使用保护套套住花苗茎部与根部交界处;Step 4, use a protective sleeve to cover the junction between the stem and the root of the flower seedling;
步骤五,将根系和保护套插入圆形通孔,并将保护套留置在圆形通孔处;
步骤六,将柔性夹的夹头的裂缝夹住主根前端,柔性夹沿着导向杆斜向下运动直至将主根伸展后静置1-1.5小时;
步骤七,配置营养液,营养液倒入水槽内;
步骤八,将水槽推入两个侧板之间,使用工具将水槽抬升而后使用螺丝穿入侧板的螺孔并抵住水槽的凸缘,使得水槽固定在侧板内壁上部,此时潜污泵刚好位于水槽内;Step 8: Push the water tank between the two side plates, use the tool to lift the water tank, and then use the screw to penetrate the screw hole of the side plate and press against the flange of the water tank, so that the water tank is fixed on the upper part of the inner wall of the side plate. The pump is just inside the sink;
步骤九,将潜污泵的插头通电,潜污泵将水槽内的营养液不断泵入螺旋喷头,螺旋喷头将水流打碎形成水雾(高速水流撞击在螺旋喷头的出水端的空心螺旋锥上),即使营养液夹杂有烂根、根须等杂质也不需要过滤,节省了过滤滤材;营养液会将根系上的移植预处理浆料冲刷掉,花苗的培育转入正常雾培程序;
步骤十,雾培,直至花苗成长至预期形态,预期形态由工作人员指定,例如凤仙花通常培养至出现花蕾即可移植到成品花盆中;而后将花苗连通保护套一同取出,此时如果根系受到较大范围的损伤可再次使用喷壶喷涂移植预处理浆料后再移植,以保证移植成活率;Step 10: Aerosol cultivation until the flower seedlings grow to the expected shape. The expected shape is specified by the staff. For example, impatiens are usually cultivated until flower buds appear and then transplanted into finished flower pots; then the flower seedlings are taken out together with the protective cover. If the root system is damaged in a large range, the watering can can be used again to spray the pretreatment slurry before transplanting to ensure the survival rate of the transplant;
步骤十一,将潜污泵电源切断,将螺丝取出,将水槽取出并清洗和消毒。
在一个实施例中,所述营养液每1000mL水中含有Ca(NO3)2.4H2O 945mg、KNO3609mg、(NH4)3PO4·3H2O 115mg、MgSO4 493mg、铁盐溶液2.5mL、微量元素溶液5mL;In one embodiment, the nutrient solution contains Ca(NO 3 ) 2.4H 2 O 945 mg, KNO 3 609 mg, (NH 4 ) 3 PO 4 ·3H 2 O 115 mg, MgSO 4 493 mg, and iron salt solution 2.5 mg per 1000 mL of water. mL, trace element solution 5mL;
其中铁盐溶液的配置方法为将FeSO4·7H2O 2.78g与EDTA.Na 3.73g溶于500mL水中;The configuration method of the iron salt solution is to dissolve FeSO 4 ·7H 2 O 2.78g and EDTA.Na 3.73g in 500mL of water;
其中微量元素溶液的配置方法为将KI 0.83mg、H3BO3 6.2mg、MnSO 22.3mg、ZnSO48.6mg、Na2MoO4·2H2O 0.25mg、CuSO4 0.025mg、CoCl2 0.025mg溶于1000mL水中。The configuration method of the trace element solution is to dissolve KI 0.83 mg, H 3 BO 3 6.2 mg, MnSO 22.3 mg, ZnSO 4 8.6 mg, Na 2 MoO 4 ·2H 2 O 0.25 mg, CuSO 4 0.025 mg, and CoCl 2 0.025 mg. in 1000mL of water.
在一个实施例中,所述营养液的配置方法为:In one embodiment, the configuration method of the nutrient solution is:
S1将菜叶、菜根、树皮、果皮、番薯苗以及孜然种子按照重量比99:99:50:30:80:10称取;S1 weighs vegetable leaves, vegetable roots, bark, pericarp, sweet potato seedlings and cumin seeds in a weight ratio of 99:99:50:30:80:10;
S2将步骤一得到的物料通过粉碎机粉碎得到碎料;S2 pulverizes the material obtained in
S3将碎料加入其重量三倍重量的清水煮1小时;S3, add the scraps into water that is three times its weight and cook for 1 hour;
S4用100目筛网过滤得到清液;S4 is filtered with a 100-mesh sieve to obtain clear liquid;
S5将清液浓缩成步骤S4中清液重量的二分之一备用。S5 concentrates the clear liquid to half the weight of the clear liquid in step S4 for use.
在这个实施例中,由于采用了天然原料,更加符合现代人对于健康环保的追求,适合诸如食用菊等兼具观赏和食用价值的花卉使用。其中孜然种子水煮液具有抑菌作用,可减少根系的细菌感染。In this embodiment, due to the use of natural raw materials, it is more in line with modern people's pursuit of health and environmental protection, and is suitable for flowers with both ornamental and edible values, such as edible chrysanthemum. Among them, the boiled liquid of cumin seeds has antibacterial effect, which can reduce the bacterial infection of the root system.
本发明的有益效果为:利用潜污泵和螺旋喷头配合,使得从根系滴落的含有杂质的营养液可以直接循环利用,无需过滤,减少滤材的使用;设置有导向杆和柔性夹,利用柔性夹夹持主根前端,使得主根较为伸展,并且在水雾和气流的冲击下不容易与其他根系纠缠,利于后续整个花苗的取出;水槽为可拆卸结构,便于拆卸、清洗和消毒杀菌。The beneficial effects of the invention are as follows: using the cooperation of the submersible sewage pump and the spiral nozzle, the nutrient solution containing impurities dropped from the root system can be directly recycled without filtering, and the use of filter materials is reduced; The flexible clip clamps the front end of the main root, making the main root more stretched, and it is not easy to be entangled with other roots under the impact of water mist and air flow, which is conducive to the subsequent removal of the entire flower seedling; the water tank is a detachable structure, which is convenient for disassembly, cleaning and sterilization.
附图说明Description of drawings
图1为本发明的结构示意图;Fig. 1 is the structural representation of the present invention;
图2为柔性夹的结构示意图;Figure 2 is a schematic structural diagram of a flexible clip;
图3为保护套的截面图;Figure 3 is a cross-sectional view of the protective cover;
图4为螺旋喷头的结构示意图;Fig. 4 is the structural representation of spiral nozzle;
图5为水槽安装或拆卸的示意图;Figure 5 is a schematic diagram of the installation or removal of the sink;
图6为实施例2的结构示意图;Fig. 6 is the structural representation of
图7为现有技术中花苗根系发生相互纠缠的实物图。FIG. 7 is a physical diagram of the mutual entanglement of flower seedling roots in the prior art.
图中,1、侧板;2、罩体;3、水槽;4、硬质水管;5、潜污泵;6、螺旋喷头;7、保护套;8、导向杆;9、柔性夹;10、凸缘;11、螺丝;12、走线孔;13、电源线;14、滑槽;15、钢圈;16、固定块;17、夹头;18、泡沫绵;19、石蜡层;20、进水端;21、出水端;22、盖板;23、万向轮。In the figure, 1, side plate; 2, cover body; 3, water tank; 4, hard water pipe; 5, submersible sewage pump; 6, spiral nozzle; 7, protective cover; 8, guide rod; 9, flexible clip; 10 , flange; 11, screw; 12, wiring hole; 13, power cord; 14, chute; 15, steel ring; 16, fixing block; 17, chuck; 18, foam sponge; 19, paraffin layer; 20 , water inlet; 21, water outlet; 22, cover plate; 23, universal wheel.
具体实施方式Detailed ways
下面结合附图对本发明的具体实施方式作进一步说明:The specific embodiments of the present invention will be further described below in conjunction with the accompanying drawings:
实施例1Example 1
如图1-5所示,一种雾化式无土花槽,它包括侧板1、罩体2、水槽3、潜污泵5、螺旋喷头6、导向杆8以及柔性夹9,侧板1设置有两块,这两块侧板1对向设置,罩体2截面呈等腰梯形,罩体2左右两侧的下端与侧板1顶部固接,所述罩体2左右两侧设置有多个圆形通孔,圆形通孔处均插入有保护套7,保护套7用于套住植物的茎部,使得根部在罩体2内而叶、花、果实等器官在罩体2的外面,并且植物不容易在圆形通孔处发生较大位移;所述水槽3呈矩形,所述水槽3两侧设置有凸缘10,所述侧板1内壁对应水槽3的凸缘10设置有用于水槽3上下活动的滑槽14,并且设置有用于固定凸缘10的螺孔,螺孔内拧入有螺丝11;所述罩体2顶部安装有若干个螺旋喷头6,所述螺旋喷头6包括出水端21和进水端20,所述出水端21和进水端20连通,出水端21为逐渐缩小的空心螺旋锥,由于不设过滤机构、阀门机构,该喷头几乎不存在堵塞的可能,螺旋喷头6的出水端21位于罩体2内而进水端20位于罩体2外,罩体2竖直插入有硬质水管4,硬质水管4下端固接有一潜污泵5(潜污泵5此处采用小体积型号,故重量较小,其出水口直接与硬质水管4螺接,硬质水管4同时作为出水管道和固定机构),硬质水管4的顶端通过管道分别连接螺旋喷头6的进水端20,潜污泵5直接将可能含有根须的营养液泵入螺旋喷头6,减少循环路径,提高循环效率,摒弃现有的过滤装置,节省了过滤产生的能耗和滤材损耗;所述硬质水管4的两侧朝向对应侧的各个圆形通孔的下侧均连接有导向杆8,每根导向杆8上均套设有一柔性夹9,用于夹持植物的主根末端,所述柔性夹9包括钢圈15、固定块16和夹头17,所述钢圈15为钢丝弯曲而成的圆圈,固定块16为热熔胶块,夹头17为切有一条裂缝的压敏胶块,固定块16将钢圈15和夹头17固定连接,使用时可掰开夹头17的裂缝夹住植物的主根末端,而钢圈15受到重力影响必然带动植物主根沿着导向杆8斜向下移动,直至主根被伸展,每个直根系植物的主根都被强行伸展,减少他们之间可能互相纠缠的可能,特别适合诸如凤仙花、刺桐等主根较长的花苗使用。As shown in Figure 1-5, an atomized soilless planter includes a
所述硬质水管4材质为不锈钢管,导向杆8为钢线,便于焊接。The hard water pipe 4 is made of stainless steel, and the
所述侧板1顶部设置有一走线孔12,所述潜污泵5的电源线13从走线孔12穿出并外接市电,电源线13与走线孔12之间采用橡皮泥填充,防止雾气大量外泄。The top of the
所述保护套7包括卷曲成筒状的泡沫绵18以及涂覆在泡沫绵18内壁上的石蜡层19,其中石蜡层19的厚度为0.5-2毫米。石蜡可以起到润滑的作用,当植株生长时伸长的茎部不容易将泡沫绵18轴向撑裂。另外石蜡与泡沫绵18相比具有较好的生物亲和性。The
一种雾化式无土花槽的使用方法,它包括以下步骤:A method for using an atomized soilless planter, which comprises the following steps:
步骤一,配置移植预处理浆料,移植预处理浆料由凝胶剂和油剂组成;
其中凝胶剂的配置方法为每1000mL水中添加下述物质KNO3 3g、NH4NO3 1g、MgSO41g、KH2PO4 0.3g、CaCl2·H2O 0.6g、FeSO4·7H2O 0.3g、MnSO4·4H2O 0.05g、KI 0.001g、CuSO4 0.00004g、CoCl2 0.00004g、HBO3 0.008g、NAA 7mg,KT 1mg、谷氨酰胺0.5g、琼脂3g、蔗糖19g和抑菌剂7g(本实施例采用多菌灵粉剂),混合均匀后煮沸调整pH为6,室温环境下放置降温到37摄氏度以下后倒入榨汁机15000转每分钟粉碎3分钟备用;显而易见的,凝胶剂含有NAA和KT,可促进花苗根系愈合以及生长,减少由于移植产生的根系损伤,另外千分之二到千分之五浓度的琼脂使得整个凝胶剂硬度、强度很低,容易搅拌粉碎成容易喷涂的膏状;The configuration method of the gelling agent is to add the following substances per 1000mL of water: KNO 3 3g, NH 4 NO 3 1g, MgSO 4 1g, KH 2 PO 4 0.3g, CaCl 2 ·H 2 O 0.6g, FeSO 4 ·7H 2 O 0.3 g, MnSO 4 ·4H 2 O 0.05 g, KI 0.001 g, CuSO 4 0.00004 g, CoCl 2 0.00004 g, HBO 3 0.008 g,
其中油剂为甘油;甘油的存在更加利于凝胶剂粉碎后小颗粒的水分保持;另外更为重要的是加强凝胶剂附着在根系上的能力;Wherein the oil is glycerol; the presence of glycerin is more conducive to the water retention of the small particles after the gel is pulverized; in addition, it is more important to strengthen the ability of the gel to adhere to the root system;
所述凝胶剂与油剂的重量比例为1000:139;将两者倒入搅拌机2000转每分钟混合10分钟得到移植预处理浆料;The weight ratio of the gel agent and the oil agent is 1000:139; the two are poured into a mixer at 2000 rpm and mixed for 10 minutes to obtain a pretreatment slurry for transplantation;
步骤二,将移植预处理浆料装填入喷壶;
步骤三,将移植预处理浆料喷涂在待移植花苗的根系处,喷涂时将花苗倒立(根朝上),从根尖往下喷,直至肉眼可见移植预处理浆料已经沿着主根流淌到茎部时停止喷涂,手握根系并将其侧根收拢在主根周围,由于有移植预处理浆料的粘合作用通常侧根不容易在短时间内张开,便于将根系插入并通过圆形通孔;移植预处理浆料中的凝胶剂对根系在潜污泵尚未开启前进行水分、营养的补充,并且通过植物激素刺激根系加速生长和伤口的愈合;
步骤四,使用保护套套住花苗茎部与根部交界处;Step 4, use a protective sleeve to cover the junction between the stem and the root of the flower seedling;
步骤五,将根系和保护套插入圆形通孔,并将保护套留置在圆形通孔处;
步骤六,将柔性夹的夹头的裂缝夹住主根前端,柔性夹沿着导向杆斜向下运动直至将主根伸展后静置1.5小时;
步骤七,配置营养液,营养液倒入水槽内;
步骤八,将水槽推入两个侧板之间,使用工具将水槽抬升而后使用螺丝穿入侧板的螺孔并抵住水槽的凸缘,使得水槽固定在侧板内壁上部,此时潜污泵刚好位于水槽内;Step 8: Push the water tank between the two side plates, use the tool to lift the water tank, and then use the screw to penetrate the screw hole of the side plate and press against the flange of the water tank, so that the water tank is fixed on the upper part of the inner wall of the side plate. The pump is just inside the sink;
步骤九,将潜污泵的插头通电,潜污泵将水槽内的营养液不断泵入螺旋喷头,螺旋喷头将水流打碎形成水雾(高速水流撞击在螺旋喷头的出水端的空心螺旋锥上),即使营养液夹杂有烂根、根须等杂质也不需要过滤,节省了过滤滤材;营养液会将根系上的移植预处理浆料冲刷掉,花苗的培育转入正常雾培程序;
步骤十,雾培,直至花苗成长至预期形态,预期形态由工作人员指定,例如凤仙花通常培养至出现花蕾即可移植到成品花盆中;而后将花苗连通保护套一同取出,此时如果根系受到较大范围的损伤可再次使用喷壶喷涂移植预处理浆料后再移植,以保证移植成活率;Step 10: Aerosol cultivation until the flower seedlings grow to the expected shape. The expected shape is specified by the staff. For example, impatiens are usually cultivated until flower buds appear and then transplanted into finished flower pots; then the flower seedlings are taken out together with the protective cover. If the root system is damaged in a large range, the watering can can be used again to spray the pretreatment slurry before transplanting to ensure the survival rate of the transplant;
步骤十一,将潜污泵电源切断,将螺丝取出,将水槽取出并清洗和消毒。
所述营养液每1000mL水中含有Ca(NO3)2.4H2O 945mg、KNO3 609mg、(NH4)3PO4·3H2O 115mg、MgSO4 493mg、铁盐溶液2.5mL、微量元素溶液5mL;The nutrient solution contains Ca(NO 3 ) 2.4H 2 O 945 mg, KNO 3 609 mg, (NH 4 ) 3 PO 4 ·3H 2 O 115 mg, MgSO 4 493 mg, 2.5 mL of iron salt solution, and 5 mL of trace element solution per 1000 mL of water. ;
其中铁盐溶液的配置方法为将FeSO4·7H2O 2.78g与EDTA.Na 3.73g溶于500mL水中;The configuration method of the iron salt solution is to dissolve FeSO 4 ·7H 2 O 2.78g and EDTA.Na 3.73g in 500mL of water;
其中微量元素溶液的配置方法为将KI 0.83mg、H3BO3 6.2mg、MnSO 22.3mg、ZnSO48.6mg、Na2MoO4·2H2O 0.25mg、CuSO4 0.025mg、CoCl2 0.025mg溶于1000mL水中。The configuration method of the trace element solution is to dissolve KI 0.83 mg, H 3 BO 3 6.2 mg, MnSO 22.3 mg, ZnSO 4 8.6 mg, Na 2 MoO 4 ·2H 2 O 0.25 mg, CuSO 4 0.025 mg, and CoCl 2 0.025 mg. in 1000mL of water.
在本实施例中,所述潜污泵采用SAS-40液压渣浆泵。对于水槽的安装和拆卸,本实施例采用叉车来协助,安装时叉车的叉子托住水槽并将水槽插入两个侧板之间而后将水槽推入指定位置并上升使得水槽的凸缘上升到滑槽的最高处,最后使用螺丝拧入抵住水槽的凸缘即可实现固定水槽的固定,本实施例中,水槽安装好后潜污泵的底部刚好抵住水槽底板,潜污泵的底部是一个护罩,其外周均设有可进水的孔洞,不影响抽水,且有水槽的支撑可减少潜污泵工作期间的振动幅度。本实施例由于罩体没有用于操作的开口,故需要工作人员在水槽尚未安装前从罩体底部对柔性夹进行操作(使用柔性夹夹持花苗的主根)。每周对水槽内的营养液更换一次。In this embodiment, the submersible sewage pump adopts a SAS-40 hydraulic slurry pump. For the installation and removal of the water tank, this embodiment uses a forklift to assist. During installation, the fork of the forklift supports the water tank and inserts the water tank between the two side plates, then pushes the water tank into the designated position and rises so that the flange of the water tank rises to the sliding At the top of the tank, screw the flange against the tank to fix the tank. In this embodiment, after the tank is installed, the bottom of the submersible sewage pump just touches the bottom plate of the tank, and the bottom of the submersible sewage pump is A protective cover is provided with holes for water entry on its periphery, which does not affect pumping, and is supported by a water tank to reduce the vibration amplitude during the operation of the submersible sewage pump. In this embodiment, since the cover body has no opening for operation, it is necessary for the staff to operate the flexible clip from the bottom of the cover body before the water tank is installed (use the flexible clip to hold the main root of the flower seedling). Change the nutrient solution in the tank once a week.
另外,本实施例的硬质水管右侧没有设置导向杆和配套的柔性夹,意味着本实施例还可以同时兼容栽培须根系植物,例如莎草。In addition, the right side of the rigid water pipe in this embodiment is not provided with a guide rod and a matching flexible clip, which means that this embodiment can also be compatible with cultivating fibrous root plants, such as sedge.
实施例2Example 2
如图6所示,所述罩体2顶部设置有若干个操作口,便于管理人员将手臂伸入罩体2内进行操作(主要是手动将花苗的主根夹在柔性夹上),操作口均为矩形,所述操作口均放置有盖板22,用于防止外界污染以及雾气大量外泄,所述水槽3底部安装有多个万向轮23,便于水槽3推入侧板1之间。As shown in FIG. 6 , the top of the
本实施例的其他结构与实施例1相同。The other structures of this embodiment are the same as those of the first embodiment.
本实施例中,水槽的安装和拆卸使用堆高机来协助。由于水槽安装有万向轮,故可以手动将其推入两个侧板之间,而后使用堆高机的叉子将水槽升高,使得水槽的凸缘上升到滑槽的最高处,而后使用螺丝抵住凸缘,实现水槽的固定。In this embodiment, the installation and removal of the water tank is assisted by a stacker. Since the sink is equipped with a swivel wheel, it can be manually pushed between the two side plates, and then the fork of the stacker is used to raise the sink so that the flange of the sink rises to the highest point of the chute, and then use the screw Hold against the flange to secure the sink.
实施例3Example 3
一种雾化式无土花槽,它包括侧板1、罩体2、水槽3、潜污泵5、螺旋喷头6、导向杆8以及柔性夹9,侧板1设置有两块,这两块侧板1对向设置,罩体2截面呈等腰梯形,罩体2左右两侧的下端与侧板1顶部固接,所述罩体2左右两侧设置有多个圆形通孔,圆形通孔处均插入有保护套7,保护套7用于套住植物的茎部,使得根部在罩体2内而叶、花、果实等器官在罩体2的外面,并且植物不容易在圆形通孔处发生较大位移;所述水槽3呈矩形,所述水槽3两侧设置有凸缘10,所述侧板1内壁对应水槽3的凸缘10设置有用于水槽3上下活动的滑槽14,并且设置有用于固定凸缘10的螺孔,螺孔内拧入有螺丝11;所述罩体2顶部安装有若干个螺旋喷头6,所述螺旋喷头6包括出水端21和进水端20,所述出水端21和进水端20连通,出水端21为逐渐缩小的空心螺旋锥,由于不设过滤机构、阀门机构,该喷头几乎不存在堵塞的可能,螺旋喷头6的出水端21位于罩体2内而进水端20位于罩体2外,罩体2竖直插入有硬质水管4,硬质水管4下端固接有一潜污泵5(潜污泵5此处采用小体积型号,故重量较小,其出水口直接与硬质水管4螺接,硬质水管4同时作为出水管道和固定机构),硬质水管4的顶端通过管道分别连接螺旋喷头6的进水端20,潜污泵5直接将可能含有根须的营养液泵入螺旋喷头6,减少循环路径,提高循环效率,摒弃现有的过滤装置,节省了过滤产生的能耗和滤材损耗;所述硬质水管4的两侧朝向对应侧的各个圆形通孔的下侧均连接有导向杆8,每根导向杆8上均套设有一柔性夹9,用于夹持植物的主根末端,所述柔性夹9包括钢圈15、固定块16和夹头17,所述钢圈15为钢丝弯曲而成的圆圈,固定块16为热熔胶块,夹头17为切有一条裂缝的压敏胶块,固定块16将钢圈15和夹头17固定连接,使用时可掰开夹头17的裂缝夹住植物的主根末端,而钢圈15受到重力影响必然带动植物主根沿着导向杆8斜向下移动,直至主根被伸展,每个直根系植物的主根都被强行伸展,减少他们之间可能互相纠缠的可能,特别适合诸如凤仙花、刺桐等主根较长的花苗使用。An atomized soilless flower trough, which includes a
所述硬质水管4材质为不锈钢管,导向杆8为钢线,便于焊接。The hard water pipe 4 is made of stainless steel, and the
所述侧板1顶部设置有一走线孔12,所述潜污泵5的电源线13从走线孔12穿出并外接市电,电源线13与走线孔12之间采用橡皮泥填充,防止雾气大量外泄。The top of the
所述保护套7包括卷曲成筒状的泡沫绵18以及涂覆在泡沫绵18内壁上的石蜡层19,其中石蜡层19的厚度为0.5-2毫米。石蜡可以起到润滑的作用,当植株生长时伸长的茎部不容易将泡沫绵18轴向撑裂。另外石蜡与泡沫绵18相比具有较好的生物亲和性。The
一种雾化式无土花槽的使用方法,它包括以下步骤:A method for using an atomized soilless planter, which comprises the following steps:
步骤一,配置移植预处理浆料,移植预处理浆料由凝胶剂和油剂组成;
其中凝胶剂的配置方法为每1000mL水中添加下述物质KNO3 3g、NH4NO3 1g、MgSO41g、KH2PO4 0.3g、CaCl2·H2O 0.6g、FeSO4·7H2O 0.3g、MnSO4·4H2O 0.05g、KI 0.001g、CuSO4 0.00004g、CoCl2 0.00004g、HBO3 0.008g、NAA 7mg,KT 1mg、谷氨酰胺0.5g、琼脂3g、蔗糖19g和抑菌剂7g(本实施例采用多菌灵粉剂),混合均匀后煮沸调整pH为6,室温环境下放置降温到37摄氏度以下后倒入榨汁机15000转每分钟粉碎3分钟备用;显而易见的,凝胶剂含有NAA和KT,可促进花苗根系愈合以及生长,减少由于移植产生的根系损伤,另外千分之二到千分之五浓度的琼脂使得整个凝胶剂硬度、强度很低,容易搅拌粉碎成容易喷涂的膏状;The configuration method of the gelling agent is to add the following substances per 1000mL of water: KNO 3 3g, NH 4 NO 3 1g, MgSO 4 1g, KH 2 PO 4 0.3g, CaCl 2 ·H 2 O 0.6g, FeSO 4 ·7H 2 O 0.3 g, MnSO 4 ·4H 2 O 0.05 g, KI 0.001 g, CuSO 4 0.00004 g, CoCl 2 0.00004 g, HBO 3 0.008 g,
其中油剂为甘油;甘油的存在更加利于凝胶剂粉碎后小颗粒的水分保持;另外更为重要的是加强凝胶剂附着在根系上的能力;Wherein the oil is glycerol; the presence of glycerin is more conducive to the water retention of the small particles after the gel is pulverized; in addition, it is more important to strengthen the ability of the gel to adhere to the root system;
所述凝胶剂与油剂的重量比例为1000:139;将两者倒入搅拌机2000转每分钟混合10分钟得到移植预处理浆料;The weight ratio of the gel agent and the oil agent is 1000:139; the two are poured into a mixer at 2000 rpm and mixed for 10 minutes to obtain a pretreatment slurry for transplantation;
步骤二,将移植预处理浆料装填入喷壶;
步骤三,将移植预处理浆料喷涂在待移植花苗的根系处,喷涂时将花苗倒立(根朝上),从根尖往下喷,直至肉眼可见移植预处理浆料已经沿着主根流淌到茎部时停止喷涂,手握根系并将其侧根收拢在主根周围,由于有移植预处理浆料的粘合作用通常侧根不容易在短时间内张开,便于将根系插入并通过圆形通孔;移植预处理浆料中的凝胶剂对根系在潜污泵尚未开启前进行水分、营养的补充,并且通过植物激素刺激根系加速生长和伤口的愈合;
步骤四,使用保护套套住花苗茎部与根部交界处;Step 4, use a protective sleeve to cover the junction between the stem and the root of the flower seedling;
步骤五,将根系和保护套插入圆形通孔,并将保护套留置在圆形通孔处;
步骤六,将柔性夹的夹头的裂缝夹住主根前端,柔性夹沿着导向杆斜向下运动直至将主根伸展后静置1.5小时;
步骤七,配置营养液,营养液倒入水槽内;
步骤八,将水槽推入两个侧板之间,使用工具将水槽抬升而后使用螺丝穿入侧板的螺孔并抵住水槽的凸缘,使得水槽固定在侧板内壁上部,此时潜污泵刚好位于水槽内;Step 8: Push the water tank between the two side plates, use the tool to lift the water tank, and then use the screw to penetrate the screw hole of the side plate and press against the flange of the water tank, so that the water tank is fixed on the upper part of the inner wall of the side plate. The pump is just inside the sink;
步骤九,将潜污泵的插头通电,潜污泵将水槽内的营养液不断泵入螺旋喷头,螺旋喷头将水流打碎形成水雾(高速水流撞击在螺旋喷头的出水端的空心螺旋锥上),即使营养液夹杂有烂根、根须等杂质也不需要过滤,节省了过滤滤材;营养液会将根系上的移植预处理浆料冲刷掉,花苗的培育转入正常雾培程序;
步骤十,雾培,直至花苗成长至预期形态,预期形态由工作人员指定,例如凤仙花通常培养至出现花蕾即可移植到成品花盆中;而后将花苗连通保护套一同取出,此时如果根系受到较大范围的损伤可再次使用喷壶喷涂移植预处理浆料后再移植,以保证移植成活率;Step 10: Aerosol cultivation until the flower seedlings grow to the expected shape. The expected shape is specified by the staff. For example, impatiens are usually cultivated until flower buds appear and then transplanted into finished flower pots; then the flower seedlings are taken out together with the protective cover. If the root system is damaged in a large range, the watering can can be used again to spray the pretreatment slurry before transplanting to ensure the survival rate of the transplant;
步骤十一,将潜污泵电源切断,将螺丝取出,将水槽取出并清洗和消毒。
所述营养液的配置方法为:The configuration method of the nutrient solution is:
S1将菜叶、菜根、树皮、果皮、番薯苗以及孜然种子按照重量比99:99:50:30:80:10称取;S1 weighs vegetable leaves, vegetable roots, bark, pericarp, sweet potato seedlings and cumin seeds in a weight ratio of 99:99:50:30:80:10;
S2将步骤一得到的物料通过粉碎机粉碎得到碎料;S2 pulverizes the material obtained in
S3将碎料加入其重量三倍重量的清水煮1小时;S3, add the scraps into water that is three times its weight and cook for 1 hour;
S4用100目筛网过滤得到清液;S4 is filtered with a 100-mesh sieve to obtain clear liquid;
S5将清液浓缩成步骤S4中清液重量的二分之一备用。S5 concentrates the clear liquid to half the weight of the clear liquid in step S4 for use.
本实施例中,粉碎机采用9FQ-45饲料粉碎机。In this embodiment, the pulverizer adopts 9FQ-45 feed pulverizer.
对比实验Comparative Experiment
将同一品种同一批次的凤仙花幼苗各29株(地面部分长度均为6厘米,三周幼苗)运用实施例1、实施例3和普通雾培方法(参照一种金线莲的雾培方法,中国专利申请号201910828197.0)进行培育,每周记录一次花苗地面部分的平均长度(也就是突出于罩体外的长度,精确到厘米),数据如下表:Each 29 plants of the same batch of impatiens seedlings of the same species (the length of the ground part is 6 cm, seedlings in three weeks) are used in Example 1, Example 3 and the common mist cultivation method (with reference to the mist cultivation of a kind of clematis). Method, Chinese Patent Application No. 201910828197.0) is cultivated, and the average length of the ground part of the flower seedlings (that is, the length protruding outside the cover, accurate to centimeters) is recorded once a week. The data are as follows:
由上可知,由于本发明采用具有根系伤口愈合以及促进生长的移植预处理浆料,故在第1周本发明的两个实施例与普通雾培方法相比具有明显的优势,生长更为旺盛。但可以看出,本发明的实施例3可能由于采用全自然物料,对生长旺盛期的花苗可提供的营养不够,从第二周开始该方法培育的花苗的长势弱于其他方法培育的花苗。另外采用本发明培育的花苗均未出现根系相互纠缠的情况。As can be seen from the above, since the present invention adopts the transplant pretreatment slurry with root wound healing and growth promotion, in the first week, the two embodiments of the present invention have obvious advantages compared with the common aeroponics method, and the growth is more vigorous. . But it can be seen that the
上述实施例和说明书中描述的只是说明本发明的原理和最佳实施例,在不脱离本发明精神和范围的前提下,本发明还会有各种变化和改进,这些变化和改进都落入要求保护的本发明范围内。What is described in the above-mentioned embodiments and specification is only to illustrate the principle and best embodiment of the present invention. Without departing from the spirit and scope of the present invention, the present invention will also have various changes and improvements, and these changes and improvements all fall within the scope of the present invention. within the scope of the claimed invention.
Claims (8)
Priority Applications (1)
| Application Number | Priority Date | Filing Date | Title |
|---|---|---|---|
| CN202010842715.7A CN111937735B (en) | 2020-08-20 | 2020-08-20 | Atomized soilless planter and method of using the same |
Applications Claiming Priority (1)
| Application Number | Priority Date | Filing Date | Title |
|---|---|---|---|
| CN202010842715.7A CN111937735B (en) | 2020-08-20 | 2020-08-20 | Atomized soilless planter and method of using the same |
Publications (2)
| Publication Number | Publication Date |
|---|---|
| CN111937735A true CN111937735A (en) | 2020-11-17 |
| CN111937735B CN111937735B (en) | 2022-11-11 |
Family
ID=73358913
Family Applications (1)
| Application Number | Title | Priority Date | Filing Date |
|---|---|---|---|
| CN202010842715.7A Active CN111937735B (en) | 2020-08-20 | 2020-08-20 | Atomized soilless planter and method of using the same |
Country Status (1)
| Country | Link |
|---|---|
| CN (1) | CN111937735B (en) |
Cited By (3)
| Publication number | Priority date | Publication date | Assignee | Title |
|---|---|---|---|---|
| CN113951117A (en) * | 2021-10-09 | 2022-01-21 | 咸宁职业技术学院 | Efficient breeding technology of Martin grapes |
| CN118216587A (en) * | 2024-05-23 | 2024-06-21 | 云南农业大学 | A Pu'er tea tide water device |
| CN118216588A (en) * | 2024-05-23 | 2024-06-21 | 云南农业大学 | A kind of Pu'er tea production process |
Citations (11)
| Publication number | Priority date | Publication date | Assignee | Title |
|---|---|---|---|---|
| CN201509479U (en) * | 2009-07-06 | 2010-06-23 | 上海赋民农业科技有限公司 | Spray-type three-dimensional cultivation system of cylindrical three-dimensional implants |
| CN103611226A (en) * | 2013-11-26 | 2014-03-05 | 北京北机机电工业有限责任公司 | Extinguishment spraying device and fire extinguisher with same |
| CN203775857U (en) * | 2014-02-28 | 2014-08-20 | 徐箴言 | Household aeroponic culture equipment |
| CN105191722A (en) * | 2015-09-12 | 2015-12-30 | 阜阳市辉源果桑科技产业园有限公司 | Planting method of selenium-rich mulberry trees |
| CN205116187U (en) * | 2015-09-30 | 2016-03-30 | 浙江长兴盛大建设有限公司 | Rocky slope's revegetation structure |
| CN105918091A (en) * | 2016-05-16 | 2016-09-07 | 佛山市聚成生化技术研发有限公司 | Aeroponic type water culture technology for black tomatoes |
| CN205682115U (en) * | 2016-06-03 | 2016-11-16 | 郑州市蔬菜研究所 | A kind of household balcony that is applicable to is planted the hydroponic device of vegetable |
| TWM537792U (en) * | 2016-08-22 | 2017-03-11 | Jing-Jie Yang | Organic soil aerosol cultivation device |
| CN206851634U (en) * | 2017-06-29 | 2018-01-09 | 雷波县生产力促进中心 | A kind of mist training and matrix training set composite |
| CN109275485A (en) * | 2018-12-03 | 2019-01-29 | 桐城市宜春油茶种植专业合作社 | A kind of high viability oil tea implantation methods |
| CN209463096U (en) * | 2018-12-26 | 2019-10-08 | 湖北大学 | A soilless plant planter with a clamping device |
-
2020
- 2020-08-20 CN CN202010842715.7A patent/CN111937735B/en active Active
Patent Citations (11)
| Publication number | Priority date | Publication date | Assignee | Title |
|---|---|---|---|---|
| CN201509479U (en) * | 2009-07-06 | 2010-06-23 | 上海赋民农业科技有限公司 | Spray-type three-dimensional cultivation system of cylindrical three-dimensional implants |
| CN103611226A (en) * | 2013-11-26 | 2014-03-05 | 北京北机机电工业有限责任公司 | Extinguishment spraying device and fire extinguisher with same |
| CN203775857U (en) * | 2014-02-28 | 2014-08-20 | 徐箴言 | Household aeroponic culture equipment |
| CN105191722A (en) * | 2015-09-12 | 2015-12-30 | 阜阳市辉源果桑科技产业园有限公司 | Planting method of selenium-rich mulberry trees |
| CN205116187U (en) * | 2015-09-30 | 2016-03-30 | 浙江长兴盛大建设有限公司 | Rocky slope's revegetation structure |
| CN105918091A (en) * | 2016-05-16 | 2016-09-07 | 佛山市聚成生化技术研发有限公司 | Aeroponic type water culture technology for black tomatoes |
| CN205682115U (en) * | 2016-06-03 | 2016-11-16 | 郑州市蔬菜研究所 | A kind of household balcony that is applicable to is planted the hydroponic device of vegetable |
| TWM537792U (en) * | 2016-08-22 | 2017-03-11 | Jing-Jie Yang | Organic soil aerosol cultivation device |
| CN206851634U (en) * | 2017-06-29 | 2018-01-09 | 雷波县生产力促进中心 | A kind of mist training and matrix training set composite |
| CN109275485A (en) * | 2018-12-03 | 2019-01-29 | 桐城市宜春油茶种植专业合作社 | A kind of high viability oil tea implantation methods |
| CN209463096U (en) * | 2018-12-26 | 2019-10-08 | 湖北大学 | A soilless plant planter with a clamping device |
Cited By (5)
| Publication number | Priority date | Publication date | Assignee | Title |
|---|---|---|---|---|
| CN113951117A (en) * | 2021-10-09 | 2022-01-21 | 咸宁职业技术学院 | Efficient breeding technology of Martin grapes |
| CN118216587A (en) * | 2024-05-23 | 2024-06-21 | 云南农业大学 | A Pu'er tea tide water device |
| CN118216588A (en) * | 2024-05-23 | 2024-06-21 | 云南农业大学 | A kind of Pu'er tea production process |
| CN118216588B (en) * | 2024-05-23 | 2024-08-16 | 云南农业大学 | Pu' er tea production process |
| CN118216587B (en) * | 2024-05-23 | 2024-08-20 | 云南农业大学 | A Pu'er tea tide water device |
Also Published As
| Publication number | Publication date |
|---|---|
| CN111937735B (en) | 2022-11-11 |
Similar Documents
| Publication | Publication Date | Title |
|---|---|---|
| CN111937735A (en) | Atomized soilless planter and method of using the same | |
| CN101803561A (en) | Vertical ultrasonic aeroponic culture device | |
| CN110612907A (en) | Potato seed culture system of detoxication of potato | |
| CN106986690A (en) | A kind of Chinese rose of cut flower soilless culture method | |
| CN104041408A (en) | Potting domestication method of traditional Chinese medicinal material mint | |
| CN208402908U (en) | Cylindrical supporting unit multilayer organic regulation and control vegetable garden capable of being used outdoors and indoors | |
| CN100515183C (en) | Cultivation method of Chinese orchid with water roots and hydroponic induction pool thereof | |
| CN207476308U (en) | A kind of simple culture apparatus of interior succulent | |
| CN105601386B (en) | A kind of Microspore of Brassica napus seedling water planting culture solution and the method for more summer culture | |
| CN107360885A (en) | A kind of Mobile vegetable planting equipment | |
| CN207269442U (en) | A kind of Mobile vegetable planting equipment | |
| CN205667201U (en) | The oxygen-increasing device that a kind of hydroponic plant and fish ecology are supported altogether | |
| CN204482322U (en) | Gardens nursery dosing feedway | |
| CN206978321U (en) | A kind of culture apparatus of indoor succulent | |
| CN112471113A (en) | Flower nursery stock deinsectization device | |
| CN207927347U (en) | Novel bletilla striata multilayer nursery box | |
| CN208080179U (en) | A kind of vegetable soilless culture planting unit | |
| CN208783328U (en) | A kind of Chinese medicine plantation device for raising seedlings | |
| CN208691733U (en) | A kind of device for raising seedlings of growth of watermelon | |
| CN207927364U (en) | Bletilla striata nursery box | |
| CN208227822U (en) | The plantation carrier of convenient transportation living body vegetables | |
| CN216392344U (en) | Ecological high-quality breeding device of soft seed pomegranate of angel's red | |
| CN207476350U (en) | A kind of culture apparatus of macrophyte | |
| CN213662750U (en) | Prevent culture apparatus of peony root rot | |
| CN221554114U (en) | Chinese cabbage seed culture apparatus |
Legal Events
| Date | Code | Title | Description |
|---|---|---|---|
| PB01 | Publication | ||
| PB01 | Publication | ||
| SE01 | Entry into force of request for substantive examination | ||
| SE01 | Entry into force of request for substantive examination | ||
| GR01 | Patent grant | ||
| GR01 | Patent grant |

