CN111928689B - Printed circuit board type heat exchanger with noise elimination function - Google Patents
Printed circuit board type heat exchanger with noise elimination function Download PDFInfo
- Publication number
- CN111928689B CN111928689B CN202010718953.7A CN202010718953A CN111928689B CN 111928689 B CN111928689 B CN 111928689B CN 202010718953 A CN202010718953 A CN 202010718953A CN 111928689 B CN111928689 B CN 111928689B
- Authority
- CN
- China
- Prior art keywords
- inlet
- outlet
- elbow
- heat exchange
- channel
- Prior art date
- Legal status (The legal status is an assumption and is not a legal conclusion. Google has not performed a legal analysis and makes no representation as to the accuracy of the status listed.)
- Active
Links
- 230000008030 elimination Effects 0.000 title claims abstract description 23
- 238000003379 elimination reaction Methods 0.000 title claims abstract description 23
- 238000005452 bending Methods 0.000 claims abstract description 36
- 238000010521 absorption reaction Methods 0.000 claims abstract description 23
- 239000011247 coating layer Substances 0.000 claims abstract description 10
- 239000012530 fluid Substances 0.000 claims description 149
- 238000013016 damping Methods 0.000 claims description 4
- 238000001816 cooling Methods 0.000 abstract description 18
- 230000030279 gene silencing Effects 0.000 description 5
- 230000000694 effects Effects 0.000 description 4
- 238000000034 method Methods 0.000 description 4
- 238000005253 cladding Methods 0.000 description 3
- 230000008569 process Effects 0.000 description 3
- 238000003466 welding Methods 0.000 description 3
- 239000011248 coating agent Substances 0.000 description 2
- 238000000576 coating method Methods 0.000 description 2
- 238000010586 diagram Methods 0.000 description 2
- 239000002184 metal Substances 0.000 description 2
- 230000005540 biological transmission Effects 0.000 description 1
- 238000003486 chemical etching Methods 0.000 description 1
- 239000000498 cooling water Substances 0.000 description 1
- 230000001808 coupling effect Effects 0.000 description 1
- 238000009792 diffusion process Methods 0.000 description 1
- 238000005530 etching Methods 0.000 description 1
- 239000000446 fuel Substances 0.000 description 1
- 238000009434 installation Methods 0.000 description 1
- 239000007788 liquid Substances 0.000 description 1
- 238000012986 modification Methods 0.000 description 1
- 230000004048 modification Effects 0.000 description 1
- 238000010248 power generation Methods 0.000 description 1
- 230000009467 reduction Effects 0.000 description 1
- 238000006467 substitution reaction Methods 0.000 description 1
- 238000011144 upstream manufacturing Methods 0.000 description 1
Images
Classifications
-
- F—MECHANICAL ENGINEERING; LIGHTING; HEATING; WEAPONS; BLASTING
- F28—HEAT EXCHANGE IN GENERAL
- F28D—HEAT-EXCHANGE APPARATUS, NOT PROVIDED FOR IN ANOTHER SUBCLASS, IN WHICH THE HEAT-EXCHANGE MEDIA DO NOT COME INTO DIRECT CONTACT
- F28D1/00—Heat-exchange apparatus having stationary conduit assemblies for one heat-exchange medium only, the media being in contact with different sides of the conduit wall, in which the other heat-exchange medium is a large body of fluid, e.g. domestic or motor car radiators
- F28D1/02—Heat-exchange apparatus having stationary conduit assemblies for one heat-exchange medium only, the media being in contact with different sides of the conduit wall, in which the other heat-exchange medium is a large body of fluid, e.g. domestic or motor car radiators with heat-exchange conduits immersed in the body of fluid
- F28D1/03—Heat-exchange apparatus having stationary conduit assemblies for one heat-exchange medium only, the media being in contact with different sides of the conduit wall, in which the other heat-exchange medium is a large body of fluid, e.g. domestic or motor car radiators with heat-exchange conduits immersed in the body of fluid with plate-like or laminated conduits
- F28D1/0308—Heat-exchange apparatus having stationary conduit assemblies for one heat-exchange medium only, the media being in contact with different sides of the conduit wall, in which the other heat-exchange medium is a large body of fluid, e.g. domestic or motor car radiators with heat-exchange conduits immersed in the body of fluid with plate-like or laminated conduits the conduits being formed by paired plates touching each other
- F28D1/0325—Heat-exchange apparatus having stationary conduit assemblies for one heat-exchange medium only, the media being in contact with different sides of the conduit wall, in which the other heat-exchange medium is a large body of fluid, e.g. domestic or motor car radiators with heat-exchange conduits immersed in the body of fluid with plate-like or laminated conduits the conduits being formed by paired plates touching each other the plates having lateral openings therein for circulation of the heat-exchange medium from one conduit to another
- F28D1/0333—Heat-exchange apparatus having stationary conduit assemblies for one heat-exchange medium only, the media being in contact with different sides of the conduit wall, in which the other heat-exchange medium is a large body of fluid, e.g. domestic or motor car radiators with heat-exchange conduits immersed in the body of fluid with plate-like or laminated conduits the conduits being formed by paired plates touching each other the plates having lateral openings therein for circulation of the heat-exchange medium from one conduit to another the plates having integrated connecting members
- F28D1/0341—Heat-exchange apparatus having stationary conduit assemblies for one heat-exchange medium only, the media being in contact with different sides of the conduit wall, in which the other heat-exchange medium is a large body of fluid, e.g. domestic or motor car radiators with heat-exchange conduits immersed in the body of fluid with plate-like or laminated conduits the conduits being formed by paired plates touching each other the plates having lateral openings therein for circulation of the heat-exchange medium from one conduit to another the plates having integrated connecting members with U-flow or serpentine-flow inside the conduits
-
- F—MECHANICAL ENGINEERING; LIGHTING; HEATING; WEAPONS; BLASTING
- F28—HEAT EXCHANGE IN GENERAL
- F28F—DETAILS OF HEAT-EXCHANGE AND HEAT-TRANSFER APPARATUS, OF GENERAL APPLICATION
- F28F9/00—Casings; Header boxes; Auxiliary supports for elements; Auxiliary members within casings
- F28F9/005—Other auxiliary members within casings, e.g. internal filling means or sealing means
-
- F—MECHANICAL ENGINEERING; LIGHTING; HEATING; WEAPONS; BLASTING
- F28—HEAT EXCHANGE IN GENERAL
- F28F—DETAILS OF HEAT-EXCHANGE AND HEAT-TRANSFER APPARATUS, OF GENERAL APPLICATION
- F28F9/00—Casings; Header boxes; Auxiliary supports for elements; Auxiliary members within casings
- F28F9/26—Arrangements for connecting different sections of heat-exchange elements, e.g. of radiators
-
- F—MECHANICAL ENGINEERING; LIGHTING; HEATING; WEAPONS; BLASTING
- F28—HEAT EXCHANGE IN GENERAL
- F28F—DETAILS OF HEAT-EXCHANGE AND HEAT-TRANSFER APPARATUS, OF GENERAL APPLICATION
- F28F2265/00—Safety or protection arrangements; Arrangements for preventing malfunction
- F28F2265/28—Safety or protection arrangements; Arrangements for preventing malfunction for preventing noise
Landscapes
- Engineering & Computer Science (AREA)
- Physics & Mathematics (AREA)
- Thermal Sciences (AREA)
- Mechanical Engineering (AREA)
- General Engineering & Computer Science (AREA)
- Heat-Exchange Devices With Radiators And Conduit Assemblies (AREA)
Abstract
The embodiment of the invention provides a printed circuit board type heat exchanger with a noise elimination function, which comprises a plurality of heat exchange plates; the heat exchange plates are internally provided with a heat exchange channel, the heat exchange channel is internally provided with an inlet elbow and/or an outlet elbow, and an elbow sound absorption structure is arranged at the inlet elbow or the outlet elbow of at least one heat exchange plate; the elbow sound absorption structure comprises a plurality of flow guide arcs which are arranged in parallel and flow guide arc coating layers which are wrapped outside the flow guide arcs and have sound absorption performance; the distance between the diversion arcs arranged on the outer side in the bending direction is larger than the distance between the diversion arcs arranged on the inner side in the bending direction. According to the printed circuit board type heat exchanger provided by the invention, the elbow sound absorption structure is arranged at the inlet elbow or the outlet elbow of the heat exchange plate, the plurality of guide arcs and guide arc coating layers which are arranged in parallel are arranged by virtue of the arc guide principle, and the guide arc interval between the inner side and the outer side is adjusted according to the minimum resistance principle of a cooling working medium, so that the flow resistance of the cooling working medium and the vibration noise of driving equipment are effectively reduced.
Description
Technical Field
The invention relates to the technical field of compact heat exchanger design, in particular to a printed circuit board type heat exchanger with a noise elimination function.
Background
A Printed Circuit board Heat Exchanger (PCHE) is a novel Heat Exchanger with an integral Heat Exchanger core body assembled by stacking, diffusion, welding and bonding Heat exchange plates, wherein a fluid channel is formed on a metal Heat exchange plate by adopting a photoelectrochemical etching process, the inner diameter of the PCHE channel is 0.1-4.0mm, and the Heat exchange area per unit volume can reach 2500m2/m3The heat exchange efficiency is as high as 95 percent, and the heat exchange is the sameUnder power, the weight and the volume of the PCHE are only about 1/5 and 1/8 of the traditional shell-and-tube heat exchanger, the PCHE has the advantages of flexible channel arrangement of heat exchange plates, compact structure, small volume, high heat exchange efficiency, strong high-temperature and high-pressure adaptability and the like, and has potential application prospects in the fields of steam power systems, nuclear power, solar photo-thermal power generation, fuel cells and the like.
Typically, dynamic equipment such as fans, compressors and pumps are installed upstream on the cold fluid side of the printed circuit plate heat exchanger to drive the cold fluid working fluid. During operation, the dynamic devices generate flow noise due to the coupling effect between the rotating component and the flowing working medium, and the flow noise is transferred to the discharge port by taking cold fluid as a carrier, so that noise pollution is generated. On the other hand, the through-flow resistance of the printed circuit board type heat exchanger is larger than that of the traditional cooler, so that various dynamic devices are required to provide higher driving pressure heads, and the dynamic devices are higher in power and stronger in vibration noise.
Disclosure of Invention
The embodiment of the invention provides a printed circuit board type heat exchanger with a noise elimination function, which is used for solving the problem that the existing printed circuit board type heat exchanger with the noise elimination function has larger vibration noise.
The embodiment of the invention provides a printed circuit board type heat exchanger with a noise elimination function, which comprises:
a plurality of heat exchange plates; a heat exchange channel is arranged in the heat exchange plate, an inlet elbow and/or an outlet elbow are/is arranged in the heat exchange channel, and an elbow sound absorption structure is arranged at the inlet elbow or the outlet elbow of at least one heat exchange plate;
wherein, the elbow sound absorbing structure includes: the guide arc coating layer is wrapped outside the guide arc and has sound absorption performance; the distance between the flow guide arcs arranged on the outer side in the bending direction is larger than the distance between the flow guide arcs arranged on the inner side in the bending direction.
According to the printed circuit board type heat exchanger with the sound attenuation function, the heat exchange channel is also provided with a fluid inlet, an inlet distribution cavity, an outlet distribution cavity, an inlet shunting structure, an outlet shunting structure and a fluid outlet;
the fluid inlet is communicated with the fluid outlet sequentially through the inlet elbow, the inlet distribution cavity, the inlet distribution structure, the outlet distribution cavity and the outlet elbow.
According to the printed circuit board type heat exchanger with the sound eliminating function, the inlet shunt structure and the outlet shunt structure have the same structure and respectively comprise: a plurality of T-shaped plates;
the T-shaped plates are sequentially installed at intervals in a positive and negative alternate mode, and a flow distribution channel communicated with the inlet distribution cavity or the outlet distribution cavity is arranged between the T-shaped plates installed at intervals in the positive and negative alternate mode.
According to the printed circuit board type heat exchanger with the sound eliminating function, an inlet bending channel structure and an outlet bending channel structure are further arranged in the heat exchange channel;
the fluid inlet is communicated with the fluid outlet sequentially through the inlet elbow, the inlet distribution cavity, the inlet distribution structure, the inlet bending channel structure, the outlet distribution cavity and the outlet elbow.
According to the printed circuit board type heat exchanger with the sound eliminating function, the inlet bending channel structure and the outlet bending channel structure have the same structure and respectively comprise: a plurality of Z-shaped plates;
the Z-shaped plates are arranged at intervals, and bending channels communicated with the inlet shunting structure or the outlet shunting structure are arranged between the Z-shaped plates arranged at intervals.
According to the printed circuit board type heat exchanger with the sound eliminating function, a corrugated channel structure is further arranged in the heat exchange channel;
the fluid inlet is communicated with the fluid outlet through the inlet elbow, the inlet distribution cavity, the inlet distribution structure, the inlet bending channel structure, the corrugated channel structure, the outlet bending channel structure, the outlet distribution cavity and the outlet elbow.
According to one embodiment of the invention, the printed circuit plate heat exchanger with sound deadening function, the corrugated channel structure comprises:
the corrugated plate comprises a plurality of channel micro-ribs, a plurality of corrugated plates and a corrugated plate coating layer which is wrapped outside the corrugated plates and has sound absorption performance; the corrugated plates are arranged at intervals, and corrugated channels communicated with the inlet bending channel structure and the outlet bending channel structure are arranged between the corrugated plates which are arranged at intervals; and a plurality of channel micro-ribs arranged along the flow direction are arranged in the corrugated channel.
According to one embodiment of the invention, a printed circuit board heat exchanger with a sound-deadening function, the heat exchanger plate comprises: the cold fluid heat exchange plate and the hot fluid heat exchange plate are connected with each other in an overlapped mode;
the heat exchange channel is arranged in the cold fluid heat exchange plate, and the elbow sound absorption structure is arranged at the inlet elbow and the outlet elbow corresponding to the cold fluid heat exchange plate.
According to the printed circuit board type heat exchanger with the sound eliminating function, a hot fluid heat exchange channel is arranged in the hot fluid heat exchange plate, and a hot fluid inlet, a hot fluid outlet, a hot fluid inlet elbow, a hot fluid outlet elbow and a hot fluid corrugated channel structure are arranged in the hot fluid heat exchange channel; the hot fluid inlet is communicated with the hot fluid outlet sequentially through the hot fluid inlet elbow, the hot fluid corrugated channel structure and the hot fluid outlet elbow.
According to the printed circuit board heat exchanger with the noise elimination function, the number of the cold fluid heat exchange plates and the number of the hot fluid heat exchange plates are multiple, and the cold fluid heat exchange plates and the hot fluid heat exchange plates are sequentially and alternately connected in an overlapping mode.
According to the printed circuit board type heat exchanger with the noise elimination function, the elbow sound absorption structure is arranged at the inlet elbow or the outlet elbow of the heat exchange plate, the plurality of guide arcs and the guide arc coating layer which are arranged in parallel are arranged by means of the arc guide principle, the guide arc distance between the inner side and the outer side is adjusted according to the minimum resistance principle of a cooling working medium, and the flow resistance of the cooling working medium and the vibration noise of driving equipment are effectively reduced.
Drawings
In order to more clearly illustrate the embodiments of the present invention or the technical solutions in the prior art, the drawings used in the description of the embodiments or the prior art will be briefly described below, and it is obvious that the drawings in the following description are some embodiments of the present invention, and those skilled in the art can also obtain other drawings according to the drawings without creative efforts.
FIG. 1 is a schematic structural diagram of a heat exchange plate provided in an embodiment of the present invention;
FIG. 2 is a top view of an elbow sound absorbing structure provided by an embodiment of the present invention;
figure 3 is a side view of an elbow sound absorbing structure provided by an embodiment of the present invention;
FIG. 4 is a schematic structural diagram of an inlet flow splitting structure and an outlet flow splitting structure provided by an embodiment of the present invention;
FIG. 5 is a schematic structural view of an inlet bend channel structure and an outlet bend channel structure provided by an embodiment of the present invention;
FIG. 6 is a top view of a corrugated channel structure provided by an embodiment of the present invention;
FIG. 7 is a side view of a corrugated channel structure provided by an embodiment of the present invention;
fig. 8 is a front view of a printed circuit plate heat exchanger with sound dampening provided by an embodiment of the present invention;
fig. 9 is a side view of a printed circuit plate heat exchanger with sound dampening provided by an embodiment of the present invention;
FIG. 10 is a schematic structural view of a hot fluid heat exchanger plate according to an embodiment of the present invention;
reference numerals:
1. a fluid inlet; 2. a fluid outlet; 3. a hot fluid inlet; 4. a hot fluid outlet; 5. an inlet elbow; 6. an inlet distribution chamber; 7. an inlet flow splitting arrangement; 8. an inlet bend passage structure; 9. a corrugated channel structure; 10. an outlet bend channel structure; 11. an outlet flow splitting structure; 12. an outlet distribution chamber; 13. an outlet elbow; 14. a hot fluid outlet elbow; 15. a thermal fluid corrugated channel structure; 16. a hot fluid inlet elbow; 100. a cold fluid inlet flange; 200. a cold fluid outlet flange; 300. a hot fluid inlet flange; 400. a hot fluid outlet flange; 501. a flow guiding arc; 502. an inter-arc runner; 503. a flow guiding arc coating layer; 701. a T-shaped plate; 702. an inlet of the diversion channel; 703. a flow dividing channel; 704. an outlet of the diversion channel; 801. a Z-shaped plate; 802. bending the channel; 901. a corrugated plate; 902. a corrugated channel; 903. a corrugated board cladding; 904. channel micro-ribs.
Detailed Description
In order to make the objects, technical solutions and advantages of the embodiments of the present invention clearer, the technical solutions in the embodiments of the present invention will be clearly and completely described below with reference to the drawings in the embodiments of the present invention, and it is obvious that the described embodiments are some, but not all, embodiments of the present invention. All other embodiments, which can be derived by a person skilled in the art from the embodiments given herein without making any creative effort, shall fall within the protection scope of the present invention.
A printed circuit plate heat exchanger with a sound-deadening function according to an embodiment of the present invention is described below with reference to fig. 1, where the printed circuit plate heat exchanger with a sound-deadening function includes: a plurality of heat exchange plates; the heat exchange plate is provided with a heat exchange channel, and the heat exchange channel is provided with an inlet elbow 5 or an outlet elbow 13, or is provided with the inlet elbow 5 and the outlet elbow 13 at the same time. Wherein, an elbow sound absorption structure is arranged at the inlet elbow 5 or the outlet elbow 13 of at least one heat exchange plate.
As shown in fig. 2 and 3, the elbow sound absorbing structure includes: a plurality of guide arcs 501 arranged in parallel and a guide arc cladding 503 which wraps the guide arcs 501 and has sound absorption performance. The flow guiding arc coating 503 can enhance the sound attenuation effect of the inlet elbow 5. The distance between the guide arcs 501 arranged on the outer side of the bending direction is larger than the distance between the guide arcs 501 arranged on the inner side of the bending direction, namely, the width of the flow channel 502 between the arcs is arranged according to the minimum principle of the resistance of the cooling working medium, when liquid flows through the inlet elbow 5 or the outlet elbow 13, the flow resistance of the cooling working medium and the vibration noise of the driving equipment can be reduced by virtue of the arc flow guide principle through the elbow sound absorption structure, and the first silencing of the cooling working medium on the cold fluid heat exchange plate is realized.
According to the printed circuit board type heat exchanger with the noise elimination function, the elbow sound absorption structure is arranged at the inlet elbow or the outlet elbow of the heat exchange plate, the plurality of guide arcs and the guide arc coating layer which are arranged in parallel are arranged by means of the arc guide principle, the guide arc distance between the inner side and the outer side is adjusted according to the minimum resistance principle of a cooling working medium, and the flow resistance of the cooling working medium and the vibration noise of driving equipment are effectively reduced.
Based on the above embodiment, as shown in fig. 1, the invention further provides a printed circuit board heat exchanger with a noise elimination function, wherein a fluid inlet 1, an inlet distribution cavity 6, an outlet distribution cavity 12, an inlet shunting structure 7, an outlet shunting structure 11, and a fluid outlet 2 are further arranged in the heat exchange channel. The fluid inlet 1 is communicated with the fluid outlet 2 sequentially through an inlet elbow 5, an inlet distribution cavity 6, an inlet flow dividing structure 7, an outlet flow dividing structure 11, an outlet distribution cavity 12 and an outlet elbow 13. Fluid can enter from the fluid inlet 1, sequentially pass through the inlet elbow 5, the inlet distribution cavity 6, the inlet flow dividing structure 7, the outlet flow dividing structure 11, the outlet distribution cavity 12 and the outlet elbow 13, and flow out from the fluid outlet 2. And realizing secondary silencing by means of an expansion silencing principle.
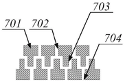
As shown in fig. 4, the inlet flow-splitting structure 7 and the outlet flow-splitting structure 11 have the same structure, and both include: a plurality of T-shaped plates 701. The T-shaped plates 701 are sequentially arranged in a positive and negative alternate interval mode, and a flow distribution channel 703 communicated with the inlet distribution cavity 6 or the outlet distribution cavity 12 is arranged between the T-shaped plates 701 arranged in the positive and negative alternate interval mode. The flow distribution channel 703 is provided with a flow distribution channel inlet 702 and a flow distribution channel outlet 704, the flow distribution channel inlet 702 being connected to the inlet distribution chamber 6, and the flow distribution channel outlet 704 being connected to the outlet distribution chamber 12. The flow dividing channel 703 is used for uniformly introducing the cooling working medium into each heat exchange channel, and the T-shaped labyrinth formed by the plurality of T-shaped plates 701 effectively absorbs the noise of the working medium flow. The third silencing can be realized by means of the T-shaped labyrinth passage formed by the T-shaped plate 701 while the cooling working medium is introduced into each heat exchange passage behind the T-shaped plate.
An inlet bending channel structure 8 and an outlet bending channel structure 10 are further arranged in the heat exchange channel. The fluid inlet 1 is communicated with the fluid outlet 2 sequentially through an inlet elbow 5, an inlet distribution cavity 6, an inlet flow distribution structure 7, an inlet bent channel structure 8, an outlet bent channel structure 10, an outlet flow distribution structure 11, an outlet distribution cavity 12 and an outlet elbow 13.
As shown in fig. 5, the inlet bend channel structure 8 and the outlet bend channel structure 10 are identical in structure and each include: a plurality of Z-shaped plates 801. The Z-shaped plates 801 are arranged at intervals, and a bent channel 802 communicated with the inlet shunt structure 7 or the outlet shunt structure 11 is arranged between the Z-shaped plates 801 arranged at intervals. Each bent channel 802 is communicated with the corresponding flow dividing channel 703, cooling working media are introduced into the bent channels 802, and the working media flow noise is effectively absorbed by means of a Z-shaped labyrinth formed by the Z-shaped plates 801, so that fourth noise elimination is realized.
A corrugated channel structure 9 is also arranged in the heat exchange channel. The fluid inlet 1 is communicated with the fluid outlet 2 through an inlet elbow 5, an inlet distribution cavity 6, an inlet distribution structure 7, an inlet bending channel structure 8, a corrugated channel structure 9, an outlet bending channel structure 10, an outlet distribution structure 11, an outlet distribution cavity 12 and an outlet elbow 13.
As shown in fig. 6 and 7, the corrugated channel structure 9 includes: a plurality of channel micro-ribs 904, a plurality of corrugated plates 901 and a corrugated plate coating 903 which is wrapped outside the corrugated plates 901 and has sound absorption performance. The corrugated sheet cladding 903 effectively reinforces the sound attenuation effect of the corrugated channel structure 9. Corrugated plates 901 are arranged at intervals, and corrugated channels 902 communicated with inlet bending channel structures 8 and outlet bending channel structures 10 are arranged between the corrugated plates 901 which are arranged at intervals. A plurality of channel micro-ribs 904 arranged along the flow direction are installed in the corrugated channel 902, the flow resistance of the cooling working medium is reduced by means of the resistance reduction principle of the channel micro-ribs 904, the lift and vibration noise of the dynamic driving equipment can be reduced, and fifth noise elimination is achieved.
In this embodiment, the printed circuit board heat exchanger with noise elimination function is formed by stacking and pressure welding a series of heat exchange plates containing micro grooves, wherein the heat exchange plates include a cold fluid heat exchange plate and a hot fluid heat exchange plate which are overlapped and connected with each other.
As shown in fig. 8 and 9, the printed circuit plate heat exchanger having the noise-canceling function includes a cold fluid inlet flange 100, a cold fluid outlet flange 200, a hot fluid inlet flange 300, a hot fluid outlet flange 400, and a cooler body. The cold fluid inlet flange 100 and the cold fluid outlet flange 200 are respectively arranged on the upper right side and the lower left side, and the hot fluid inlet flange 300 and the hot fluid outlet flange 400 are respectively arranged on the lower right side and the upper left side, so that cold and hot fluids flow in a mutually countercurrent manner, and the heat exchange effect is enhanced. Firstly, a heat exchange plate containing micro-grooves is manufactured on a metal thin plate by adopting methods such as laser, chemical etching and the like, and then the heat exchange plate is formed by stacking and pressure welding.
Because the drive device is often arranged on the cold fluid heat exchange plate, the cold end installation drive device is taken as an example in the embodiment, and the purpose of reducing the noise of the cooling working medium emission is realized by utilizing the elbow sound absorption structure in the cold fluid heat exchange plate.
As shown in fig. 1, a heat exchange channel is provided in the cold fluid heat exchange plate, and an elbow sound absorption structure is installed at the inlet elbow 5 and the outlet elbow 13 corresponding to the cold fluid heat exchange plate. The fluid inlet 1 is communicated with the fluid outlet 2 through an inlet elbow 5, an inlet distribution cavity 6, an inlet distribution structure 7, an inlet bending channel structure 8, a corrugated channel structure 9, an outlet bending channel structure 10, an outlet distribution structure 11, an outlet distribution cavity 12 and an outlet elbow 13. The fluid inlet 1 is connected to a cold fluid inlet flange 100 and the fluid outlet 2 is connected to a cold fluid outlet flange 200.
As shown in fig. 10, the hot fluid heat exchange plate at the hot end is provided with a hot fluid heat exchange channel, and the hot fluid heat exchange channel is provided with a hot fluid inlet 3, a hot fluid outlet 4, a hot fluid inlet elbow 16, a hot fluid outlet elbow 14 and a hot fluid corrugated channel structure 15. The hot fluid inlet 3 is communicated with the hot fluid outlet 4 through a hot fluid inlet elbow 16, a hot fluid corrugated channel structure 15 and a hot fluid outlet elbow 14 in sequence. The hot fluid heat exchange plate is different from the cold fluid heat exchange plate in that a hot fluid inlet 3 is connected with a hot fluid inlet flange 300, a hot fluid outlet is connected with a hot fluid outlet flange 400, only a hot fluid corrugated channel structure 15 needs to be arranged, and other noise elimination structures do not need to be arranged due to the fact that the driving equipment is completely arranged at the cold end.
In the working process, cold fluid enters the inlet elbow 5 through the fluid inlet 1, and the first silencing of the cooling working medium on the cold fluid heat exchange plate is realized through the elbow sound absorption structure. The cooling water passing through the elbow sound absorption structure enters the inlet distribution cavity 6, so that the function of distributing the cooling working medium is realized, and meanwhile, the secondary noise elimination is realized by means of the expansion noise elimination principle. And then enters the inlet flow dividing structure 7, cold fluid is introduced into each heat exchange channel behind the inlet flow dividing structure, and third noise elimination can be realized by virtue of a T-shaped labyrinth channel formed by the T-shaped plate 701. The cold fluid then effectively absorbs the noise of the working fluid in the zigzag labyrinth formed by the zigzag plates 801, so as to realize the fourth noise elimination. The cold fluid can then be damped a fifth time by means of the damping principle of the corrugated plate 901. And then the corresponding noise elimination effect is carried out through the outlet bending channel structure 10, the outlet shunting structure 11, the outlet distribution cavity 12 and the outlet elbow 13 in sequence, so that the transmission of flow noise generated by dynamic equipment along the printed circuit board type heat exchanger with the noise elimination function can be greatly inhibited. Meanwhile, the hot fluid enters the hot fluid inlet elbow 16 through the hot fluid inlet 3, and then enters the hot fluid outlet 4 through the hot fluid corrugated channel structure 15 and the hot fluid outlet elbow 14 in sequence. In the flowing process of the cold fluid and the hot fluid, the cold fluid and the hot fluid flow in a mutually countercurrent way, so that the cold fluid and the hot fluid can exchange heat quickly.
In other embodiments, the number of the cold fluid heat exchange plates and the hot fluid heat exchange plates can be multiple, and the cold fluid heat exchange plates and the hot fluid heat exchange plates are sequentially and alternately connected in an overlapping manner.
In summary, according to the printed circuit board heat exchanger with the noise elimination function provided by the invention, the elbow sound absorption structure is arranged at the inlet elbow or the outlet elbow of the heat exchange plate, the plurality of guide arcs and guide arc coating layers which are arranged in parallel are arranged by virtue of the arc guide principle, and the guide arc distance between the inner side and the outer side is adjusted according to the minimum resistance principle of the cooling working medium, so that the flow resistance of the cooling working medium and the vibration noise of the driving equipment are effectively reduced.
Finally, it should be noted that: the above examples are only intended to illustrate the technical solution of the present invention, but not to limit it; although the present invention has been described in detail with reference to the foregoing embodiments, it will be understood by those of ordinary skill in the art that: the technical solutions described in the foregoing embodiments may still be modified, or some technical features may be equivalently replaced; and such modifications or substitutions do not depart from the spirit and scope of the corresponding technical solutions of the embodiments of the present invention.
Claims (8)
1. A printed circuit plate heat exchanger with a sound-deadening function, comprising:
a plurality of heat exchange plates; the heat exchange plate is internally provided with a heat exchange channel, and the heat exchange channel is internally provided with an inlet elbow, an outlet elbow, a fluid inlet, an inlet distribution cavity, an outlet distribution cavity, an inlet flow distribution structure, an outlet flow distribution structure, a fluid outlet, an inlet bending channel structure and an outlet bending channel structure; an elbow sound absorption structure is arranged at the inlet elbow or the outlet elbow of at least one heat exchange plate;
wherein, the elbow sound absorbing structure includes: the guide arc coating layer is wrapped outside the guide arc and has sound absorption performance; the distance between the flow guide arcs arranged on the outer side in the bending direction is larger than the distance between the flow guide arcs arranged on the inner side in the bending direction; the fluid inlet is communicated with the fluid outlet sequentially through the inlet elbow, the inlet distribution cavity, the inlet distribution structure, the inlet bending channel structure, the outlet distribution cavity and the outlet elbow.
2. The printed circuit plate heat exchanger with sound damping according to claim 1, wherein the inlet and outlet flow dividing structures are structurally identical and each comprise: a plurality of T-shaped plates;
the T-shaped plates are sequentially installed at intervals in a positive and negative alternate mode, and a flow distribution channel communicated with the inlet distribution cavity or the outlet distribution cavity is arranged between the T-shaped plates installed at intervals in the positive and negative alternate mode.
3. The printed circuit plate heat exchanger with muffling function of claim 1, wherein the inlet bent channel structure and the outlet bent channel structure are identical in structure and each comprise: a plurality of Z-shaped plates;
the Z-shaped plates are arranged at intervals, and bending channels communicated with the inlet shunting structure or the outlet shunting structure are arranged between the Z-shaped plates arranged at intervals.
4. The printed circuit plate heat exchanger with a sound attenuation function according to claim 1, wherein a corrugated channel structure is further provided in the heat exchange channel;
the fluid inlet is communicated with the fluid outlet through the inlet elbow, the inlet distribution cavity, the inlet distribution structure, the inlet bending channel structure, the corrugated channel structure, the outlet bending channel structure, the outlet distribution cavity and the outlet elbow.
5. The printed circuit plate heat exchanger with muffling function of claim 4, wherein the corrugated channel structure comprises:
the corrugated plate comprises a plurality of channel micro-ribs, a plurality of corrugated plates and a corrugated plate coating layer which is wrapped outside the corrugated plates and has sound absorption performance; the corrugated plates are arranged at intervals, and corrugated channels communicated with the inlet bending channel structure and the outlet bending channel structure are arranged between the corrugated plates which are arranged at intervals; and a plurality of channel micro-ribs arranged along the flow direction are arranged in the corrugated channel.
6. A printed circuit plate heat exchanger with sound damping according to any of claims 1-5, characterized in that the heat exchanger plate comprises: the cold fluid heat exchange plate and the hot fluid heat exchange plate are connected with each other in an overlapped mode;
the heat exchange channel is arranged in the cold fluid heat exchange plate, and the elbow sound absorption structure is arranged at the inlet elbow and the outlet elbow corresponding to the cold fluid heat exchange plate.
7. The printed circuit board heat exchanger with a noise elimination function according to claim 6, wherein a hot fluid heat exchange channel is arranged in the hot fluid heat exchange plate, and a hot fluid inlet, a hot fluid outlet, a hot fluid inlet elbow, a hot fluid outlet elbow and a hot fluid corrugated channel structure are arranged in the hot fluid heat exchange channel; the hot fluid inlet is communicated with the hot fluid outlet sequentially through the hot fluid inlet elbow, the hot fluid corrugated channel structure and the hot fluid outlet elbow.
8. The printed circuit board heat exchanger with a sound damping function according to claim 7, wherein the number of the cold fluid heat exchange plates and the number of the hot fluid heat exchange plates are plural, and each of the cold fluid heat exchange plates and the hot fluid heat exchange plates are alternately connected in an overlapping manner in turn.
Priority Applications (1)
| Application Number | Priority Date | Filing Date | Title |
|---|---|---|---|
| CN202010718953.7A CN111928689B (en) | 2020-07-23 | 2020-07-23 | Printed circuit board type heat exchanger with noise elimination function |
Applications Claiming Priority (1)
| Application Number | Priority Date | Filing Date | Title |
|---|---|---|---|
| CN202010718953.7A CN111928689B (en) | 2020-07-23 | 2020-07-23 | Printed circuit board type heat exchanger with noise elimination function |
Publications (2)
| Publication Number | Publication Date |
|---|---|
| CN111928689A CN111928689A (en) | 2020-11-13 |
| CN111928689B true CN111928689B (en) | 2021-12-03 |
Family
ID=73314481
Family Applications (1)
| Application Number | Title | Priority Date | Filing Date |
|---|---|---|---|
| CN202010718953.7A Active CN111928689B (en) | 2020-07-23 | 2020-07-23 | Printed circuit board type heat exchanger with noise elimination function |
Country Status (1)
| Country | Link |
|---|---|
| CN (1) | CN111928689B (en) |
Families Citing this family (2)
| Publication number | Priority date | Publication date | Assignee | Title |
|---|---|---|---|---|
| CN113002746B (en) * | 2021-02-02 | 2022-03-08 | 中国船舶重工集团公司第七一九研究所 | Noise elimination cooler and ship cooling system |
| CN114353562B (en) * | 2021-11-30 | 2024-06-21 | 中国船舶重工集团公司第七一九研究所 | Heat exchange channel structure of printed circuit board heat exchanger and printed circuit board heat exchanger |
Citations (11)
| Publication number | Priority date | Publication date | Assignee | Title |
|---|---|---|---|---|
| JPH10246519A (en) * | 1997-03-07 | 1998-09-14 | Senkyoku Denki Kofun Yugenkoshi | Heat exchange type air conditioner |
| CN204083618U (en) * | 2014-07-17 | 2015-01-07 | 杭州宏升塑胶有限公司 | A kind of reducing Channel Group bend pipe tools |
| CN204114973U (en) * | 2014-08-21 | 2015-01-21 | 中国电力工程顾问集团中南电力设计院 | For the square-section energy-saving elbow of air and gas system |
| CN204164042U (en) * | 2014-09-30 | 2015-02-18 | 国网上海市电力公司 | A kind of air exhausting soundproofing elbow for 35kV transformer chamber |
| CN104637478A (en) * | 2013-11-07 | 2015-05-20 | 江苏宝信空调设备制造有限公司 | Silencing elbow |
| CN107388854A (en) * | 2017-07-26 | 2017-11-24 | 西安交通大学 | A kind of novel printed circuit board formula heat exchanger based on 3D printing technique |
| CN109215627A (en) * | 2017-07-05 | 2019-01-15 | 哈尔滨城林科技股份有限公司 | Efficient noise elimination elbow |
| CN110686550A (en) * | 2019-11-18 | 2020-01-14 | 西安热工研究院有限公司 | A compact uniform transition interface for printed circuit board heat exchanger and its preparation process |
| CN210110337U (en) * | 2019-04-11 | 2020-02-21 | 明阳智慧能源集团股份公司 | A muffler device for tower bottom radiator of wind turbine |
| CN210566911U (en) * | 2019-09-12 | 2020-05-19 | 无锡市轨道建设设计咨询有限公司 | Diversion type air pipe elbow |
| CN111412781A (en) * | 2020-04-27 | 2020-07-14 | 杭州沈氏节能科技股份有限公司 | Heat exchange plate, printed circuit board type heat exchanger and hydrogenation machine |
-
2020
- 2020-07-23 CN CN202010718953.7A patent/CN111928689B/en active Active
Patent Citations (11)
| Publication number | Priority date | Publication date | Assignee | Title |
|---|---|---|---|---|
| JPH10246519A (en) * | 1997-03-07 | 1998-09-14 | Senkyoku Denki Kofun Yugenkoshi | Heat exchange type air conditioner |
| CN104637478A (en) * | 2013-11-07 | 2015-05-20 | 江苏宝信空调设备制造有限公司 | Silencing elbow |
| CN204083618U (en) * | 2014-07-17 | 2015-01-07 | 杭州宏升塑胶有限公司 | A kind of reducing Channel Group bend pipe tools |
| CN204114973U (en) * | 2014-08-21 | 2015-01-21 | 中国电力工程顾问集团中南电力设计院 | For the square-section energy-saving elbow of air and gas system |
| CN204164042U (en) * | 2014-09-30 | 2015-02-18 | 国网上海市电力公司 | A kind of air exhausting soundproofing elbow for 35kV transformer chamber |
| CN109215627A (en) * | 2017-07-05 | 2019-01-15 | 哈尔滨城林科技股份有限公司 | Efficient noise elimination elbow |
| CN107388854A (en) * | 2017-07-26 | 2017-11-24 | 西安交通大学 | A kind of novel printed circuit board formula heat exchanger based on 3D printing technique |
| CN210110337U (en) * | 2019-04-11 | 2020-02-21 | 明阳智慧能源集团股份公司 | A muffler device for tower bottom radiator of wind turbine |
| CN210566911U (en) * | 2019-09-12 | 2020-05-19 | 无锡市轨道建设设计咨询有限公司 | Diversion type air pipe elbow |
| CN110686550A (en) * | 2019-11-18 | 2020-01-14 | 西安热工研究院有限公司 | A compact uniform transition interface for printed circuit board heat exchanger and its preparation process |
| CN111412781A (en) * | 2020-04-27 | 2020-07-14 | 杭州沈氏节能科技股份有限公司 | Heat exchange plate, printed circuit board type heat exchanger and hydrogenation machine |
Also Published As
| Publication number | Publication date |
|---|---|
| CN111928689A (en) | 2020-11-13 |
Similar Documents
| Publication | Publication Date | Title |
|---|---|---|
| US10801788B2 (en) | Lead-supercritical carbon dioxide intermediate heat exchanger | |
| CN111928689B (en) | Printed circuit board type heat exchanger with noise elimination function | |
| CN109682238B (en) | Ship heat exchanger with noise elimination function | |
| CN111591419B (en) | A thermal cabinet cooling system for deep-sea manned platforms | |
| CN210128640U (en) | Double-tube plate heat exchanger | |
| CN114322372B (en) | Double-fluid heat exchanger of electric automobile | |
| CN113790617B (en) | Compact elastic S-shaped copper pipe heat exchanger | |
| CN203454859U (en) | Novel laminated sheet type longitudinal flow heat exchanger | |
| CN113865384A (en) | Pressure-resistant plate heat exchanger with high heat exchange efficiency | |
| CN209263764U (en) | A kind of gas access even distribution device for heat-exchangers of the plate type | |
| CN114449871B (en) | Micro double-channel spiral boiling heat exchange type uniform temperature cooling plate | |
| JP2005147570A (en) | Double tube heat exchanger | |
| CN113804020B (en) | Baffling snakelike copper pipe heat transfer device | |
| CN217330817U (en) | Z-shaped baffle plate shell-and-tube heat exchanger for sewage source heat pump | |
| CN107166999B (en) | Heat exchanger and vehicle using same | |
| CN111489727B (en) | A sound-absorbing sheet | |
| CN201269705Y (en) | Heat exchange tube inner and outer fin composite enhanced heat transfer heat exchanger | |
| CN211400913U (en) | Composite radiator for vehicle | |
| CN210638549U (en) | A small spiral wound elastic tube heat exchanger | |
| CN114518052A (en) | Heat exchange core body containing compact laminated turning section structure and heat exchanger | |
| CN220083784U (en) | Improved spiral plate heat exchanger | |
| CN110986650B (en) | Composite radiator for vehicle | |
| CN221043649U (en) | Cooling device | |
| CN218994154U (en) | Edge drainage structure of heat exchanger with turning-back flow channel | |
| CN212006843U (en) | Dilatation formula amortization low temperature drainage heat supply network heater |
Legal Events
| Date | Code | Title | Description |
|---|---|---|---|
| PB01 | Publication | ||
| PB01 | Publication | ||
| SE01 | Entry into force of request for substantive examination | ||
| SE01 | Entry into force of request for substantive examination | ||
| GR01 | Patent grant | ||
| GR01 | Patent grant |