CN111926509B - Automatic material mixing and pulp supplying device of sizing machine - Google Patents
Automatic material mixing and pulp supplying device of sizing machine Download PDFInfo
- Publication number
- CN111926509B CN111926509B CN202010977916.8A CN202010977916A CN111926509B CN 111926509 B CN111926509 B CN 111926509B CN 202010977916 A CN202010977916 A CN 202010977916A CN 111926509 B CN111926509 B CN 111926509B
- Authority
- CN
- China
- Prior art keywords
- roller
- mounting groove
- cavity
- sizing
- mixing
- Prior art date
- Legal status (The legal status is an assumption and is not a legal conclusion. Google has not performed a legal analysis and makes no representation as to the accuracy of the status listed.)
- Active
Links
- 238000004513 sizing Methods 0.000 title claims abstract description 71
- 239000000463 material Substances 0.000 title claims abstract description 23
- 239000002002 slurry Substances 0.000 claims abstract description 105
- 230000005540 biological transmission Effects 0.000 claims abstract description 36
- 239000000523 sample Substances 0.000 claims abstract description 13
- 238000005485 electric heating Methods 0.000 claims abstract description 12
- 239000007788 liquid Substances 0.000 claims description 42
- 238000010438 heat treatment Methods 0.000 claims description 11
- 238000013329 compounding Methods 0.000 claims description 9
- 230000001105 regulatory effect Effects 0.000 claims description 9
- 230000008901 benefit Effects 0.000 claims description 4
- 238000003780 insertion Methods 0.000 claims description 3
- 230000037431 insertion Effects 0.000 claims description 3
- 210000004027 cell Anatomy 0.000 claims 4
- 210000002421 cell wall Anatomy 0.000 claims 1
- 238000007654 immersion Methods 0.000 abstract description 19
- 230000001376 precipitating effect Effects 0.000 abstract description 4
- 238000012423 maintenance Methods 0.000 abstract description 3
- 238000009991 scouring Methods 0.000 abstract 1
- 238000009434 installation Methods 0.000 description 20
- 230000001502 supplementing effect Effects 0.000 description 9
- 239000002244 precipitate Substances 0.000 description 6
- 238000007599 discharging Methods 0.000 description 3
- 239000000835 fiber Substances 0.000 description 3
- 230000009286 beneficial effect Effects 0.000 description 2
- 238000010276 construction Methods 0.000 description 2
- 238000004519 manufacturing process Methods 0.000 description 2
- 238000000034 method Methods 0.000 description 2
- 206010020112 Hirsutism Diseases 0.000 description 1
- 235000014676 Phragmites communis Nutrition 0.000 description 1
- 238000010521 absorption reaction Methods 0.000 description 1
- 238000005452 bending Methods 0.000 description 1
- 238000004140 cleaning Methods 0.000 description 1
- 230000007547 defect Effects 0.000 description 1
- 238000010586 diagram Methods 0.000 description 1
- 238000001125 extrusion Methods 0.000 description 1
- 238000012986 modification Methods 0.000 description 1
- 230000004048 modification Effects 0.000 description 1
- 238000012544 monitoring process Methods 0.000 description 1
- 239000000047 product Substances 0.000 description 1
- 238000005096 rolling process Methods 0.000 description 1
- 239000013049 sediment Substances 0.000 description 1
- 239000010865 sewage Substances 0.000 description 1
- 238000003756 stirring Methods 0.000 description 1
- 239000013589 supplement Substances 0.000 description 1
Images
Classifications
-
- D—TEXTILES; PAPER
- D06—TREATMENT OF TEXTILES OR THE LIKE; LAUNDERING; FLEXIBLE MATERIALS NOT OTHERWISE PROVIDED FOR
- D06B—TREATING TEXTILE MATERIALS USING LIQUIDS, GASES OR VAPOURS
- D06B23/00—Component parts, details, or accessories of apparatus or machines, specially adapted for the treating of textile materials, not restricted to a particular kind of apparatus, provided for in groups D06B1/00 - D06B21/00
- D06B23/20—Arrangements of apparatus for treating processing-liquids, -gases or -vapours, e.g. purification, filtration or distillation
-
- D—TEXTILES; PAPER
- D06—TREATMENT OF TEXTILES OR THE LIKE; LAUNDERING; FLEXIBLE MATERIALS NOT OTHERWISE PROVIDED FOR
- D06B—TREATING TEXTILE MATERIALS USING LIQUIDS, GASES OR VAPOURS
- D06B23/00—Component parts, details, or accessories of apparatus or machines, specially adapted for the treating of textile materials, not restricted to a particular kind of apparatus, provided for in groups D06B1/00 - D06B21/00
- D06B23/14—Containers, e.g. vats
-
- D—TEXTILES; PAPER
- D06—TREATMENT OF TEXTILES OR THE LIKE; LAUNDERING; FLEXIBLE MATERIALS NOT OTHERWISE PROVIDED FOR
- D06B—TREATING TEXTILE MATERIALS USING LIQUIDS, GASES OR VAPOURS
- D06B23/00—Component parts, details, or accessories of apparatus or machines, specially adapted for the treating of textile materials, not restricted to a particular kind of apparatus, provided for in groups D06B1/00 - D06B21/00
- D06B23/20—Arrangements of apparatus for treating processing-liquids, -gases or -vapours, e.g. purification, filtration or distillation
- D06B23/205—Arrangements of apparatus for treating processing-liquids, -gases or -vapours, e.g. purification, filtration or distillation for adding or mixing constituents of the treating material
-
- D—TEXTILES; PAPER
- D06—TREATMENT OF TEXTILES OR THE LIKE; LAUNDERING; FLEXIBLE MATERIALS NOT OTHERWISE PROVIDED FOR
- D06B—TREATING TEXTILE MATERIALS USING LIQUIDS, GASES OR VAPOURS
- D06B23/00—Component parts, details, or accessories of apparatus or machines, specially adapted for the treating of textile materials, not restricted to a particular kind of apparatus, provided for in groups D06B1/00 - D06B21/00
- D06B23/20—Arrangements of apparatus for treating processing-liquids, -gases or -vapours, e.g. purification, filtration or distillation
- D06B23/22—Arrangements of apparatus for treating processing-liquids, -gases or -vapours, e.g. purification, filtration or distillation for heating
-
- D—TEXTILES; PAPER
- D06—TREATMENT OF TEXTILES OR THE LIKE; LAUNDERING; FLEXIBLE MATERIALS NOT OTHERWISE PROVIDED FOR
- D06B—TREATING TEXTILE MATERIALS USING LIQUIDS, GASES OR VAPOURS
- D06B23/00—Component parts, details, or accessories of apparatus or machines, specially adapted for the treating of textile materials, not restricted to a particular kind of apparatus, provided for in groups D06B1/00 - D06B21/00
- D06B23/30—Means for cleaning apparatus or machines, or parts thereof
-
- D—TEXTILES; PAPER
- D06—TREATMENT OF TEXTILES OR THE LIKE; LAUNDERING; FLEXIBLE MATERIALS NOT OTHERWISE PROVIDED FOR
- D06B—TREATING TEXTILE MATERIALS USING LIQUIDS, GASES OR VAPOURS
- D06B3/00—Passing of textile materials through liquids, gases or vapours to effect treatment, e.g. washing, dyeing, bleaching, sizing, impregnating
- D06B3/04—Passing of textile materials through liquids, gases or vapours to effect treatment, e.g. washing, dyeing, bleaching, sizing, impregnating of yarns, threads or filaments
Landscapes
- Engineering & Computer Science (AREA)
- Textile Engineering (AREA)
- Paper (AREA)
Abstract
The invention discloses an automatic material mixing and supplying device of a sizing machine in the technical field of sizing machines, which comprises a circulating pump, a temperature control probe and a sizing tank, wherein the sizing tank is a special-shaped tank with an opening at the top, the front cavity wall and the rear cavity wall of a sizing tank cavity are respectively provided with a sizing roller mounting groove, a guide roller mounting groove, an immersion roller mounting groove, a guide roller mounting groove, an adjusting roller mounting groove, a transmission roller mounting groove and a material mixing roller mounting groove, the depth of a main cavity of the sizing tank is adjusted by adjusting the inclination angle of a dike plate, so that the time length of immersing warp yarns in size is changed, the immersion roller is not required to be replaced, the time is saved, the maintenance time cost is reduced, the size injected into the sizing tank can be uniformly mixed through the material mixing roller, and the arrangement of a flow guide pipe and an electric heating plate ensures that the size circularly injected into, scouring the bottom wall of the tank body to avoid the bottom slurry from precipitating.
Description
Technical Field
The invention relates to the technical field of sizing machines, in particular to an automatic material mixing and feeding device of a sizing machine.
Background
Slasher, i.e. a mechanical device used to size warp yarns. Slashing is a process of applying size to warp yarns to improve their weavability. The weavability refers to the property of the warp yarn on the loom that it can withstand the repeated rubbing, stretching, bending, etc. of the warp stop, heald, reed, etc. without much fuzzing or even breaking. The unsized single yarn fibers are not firmly clasped with each other, have more surface hairiness and are difficult to weave. After sizing, a part of the size penetrates into the fiber, and the other part is adhered to the surface of the warp yarn. The sizing in which the size penetrates mainly between fibers is called permeable sizing, and the sizing in which the size adheres mainly to the surface of warp is called covering sizing.
The size box is one of basic components of the sizing machine and is used for containing size. Roller bodies such as a guide roller, an immersion roller, a sizing roller and a squeezing roller are arranged in the size tank and used for sizing the warp yarns. Although the size box on the market can size warp yarns, the size box still has some defects:
the volume of a main tank of a size tank is a fixed value, the volume of the main tank of the size tank cannot be adjusted, and when the immersion time of warp yarns needs to be adjusted, the immersion rollers with different diameters are replaced according to requirements, so that the immersion time of the warp yarns in the main tank of the size tank is changed, and the replacement of the immersion rollers is troublesome and time-consuming;
in the size tank, the bottom layer of size is easy to precipitate, namely the concentration value of the upper layer of size to the bottom layer of size is gradually increased, the concentration of the size is uneven, and the quality of sizing is reduced;
when the immersion roller is replaced or the precipitate in the size tank is cleaned, the sizing machine needs to be shut down, the size in the size tank is emptied, the immersion roller is replaced or the precipitate in the size tank is cleaned, more time is occupied, the production efficiency is reduced, namely, the immersion roller is replaced or the precipitate in the size tank is cleaned, and the cost of the paid time is higher for a factory.
Based on the above, the invention designs an automatic material mixing and feeding device of a sizing machine, so as to solve the problems.
Disclosure of Invention
The invention aims to provide an automatic material mixing and pulp supplying device of a sizing machine, which aims to solve the problems that the volume of a main tank of a sizing tank is a fixed value, the volume of the main tank of the sizing tank cannot be adjusted, and when the immersion time of warp yarns needs to be adjusted, immersion rollers with different diameters are replaced according to requirements, so that the immersion time of the warp yarns in the main tank of the sizing tank is changed, and the replacement of the immersion rollers is troublesome and time-consuming; in the size tank, the bottom layer of size is easy to precipitate, namely the concentration value of the upper layer of size to the bottom layer of size is gradually increased, the concentration of the size is uneven, and the quality of sizing is reduced; when changing the submergence roller or clearing up the precipitate in the dressing trough, need shut down the dresser, empty the thick liquid in the dressing trough, change the submergence roller again or clear up the precipitate in the dressing trough, occupy more time, reduced production efficiency, change the submergence roller promptly or clear up the precipitate in the dressing trough to the mill, the higher problem of the time cost of paying out.
In order to achieve the purpose, the invention provides the following technical scheme: the utility model provides an automatic compounding of dresser supplies thick liquid device, includes circulating pump, control by temperature change probe and dressing trough, the dressing trough is open-top's heterotypic groove, dressing roll mounting groove, two mounting grooves of deflector roll, submergence roller mounting groove, a deflector roll mounting groove, regulating roller mounting groove, driving roller mounting groove, two mounting grooves of driving roller, three mounting grooves of driving roller and compounding roller mounting groove have all been seted up to two cavity walls around the dressing trough vallecular cavity, the vallecular cavity diapire intercommunication of dressing trough right part has the honeycomb duct, the vallecular cavity diapire intercommunication of dressing trough left part has row's thick liquid pipe one and row's thick liquid pipe two, the vallecular cavity antetheca intercommunication of dressing trough left part has the benefit thick liquid pipe, drive belt, deflector roll, dressing roll, driving roller, regulating roller, mixing roller, dyke board subassembly and electrical heating board are installed to the.
The deflector roll includes the deflector roll body, the deflector roll bearing is all installed at both ends around the deflector roll body, the thick liquid roller is including thick liquid roller roll body, thick liquid roller bearing frame and thick liquid roller sheave are all installed at both ends around the thick liquid roller roll body, and the thick liquid roller sheave is located the inboard side of thick liquid roller bearing frame, the circumference lateral wall of thick liquid roller bearing frame evenly is provided with the installation interface, the driving roller includes the driving roller roll body, transmission roller bearing and driving roller sheave are all installed at both ends around the driving roller roll body, and the driving roller sheave is located the inboard side of transmission roller bearing.
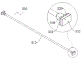
The adjusting roller comprises an adjusting roller body, sliding seats are installed at the front end and the rear end of the adjusting roller body respectively, the sliding seats are square blocks, bearings are installed in the middle of the sliding seats, end portions of the adjusting roller body are fixedly installed in shaft cavities of the bearings of the sliding seats, threaded holes are formed in the outer end walls of the sliding seats, fastening blocks are arranged on the outer end walls of the sliding seats, the fastening blocks are square blocks, rubber anti-slip pads are fixedly arranged on the inner side walls of the fastening blocks, jacks are evenly formed in the blocks of the fastening blocks, and the jacks are aligned with the threaded holes.
The mixing roller comprises a mixing roller body, the mixing roller body is a hollow pipe with an open front end, a mixing roller bearing and a mixing roller groove wheel are mounted at the front end and the rear end of the mixing roller body, the mixing roller groove wheel is located on the inner side of the mixing roller bearing, a mixing pipe is evenly connected to the roller surface of the mixing roller body, the mixing pipe is a U-shaped pipe, the two ends of the mixing pipe are communicated with the inner cavity of the mixing roller body, and holes are evenly formed in the pipe body of the mixing pipe.
The embankment plate assembly comprises an embankment plate, a limiting seat is welded on the surface of the embankment plate, an adjusting piece is installed on the limiting seat, the adjusting piece comprises a rotary drum, a rotary plate is installed on the outer end wall of the rotary drum, and a magnetic block is installed on the outer end wall of the rotary plate.
Preferably, the trough cavity of the pulp trough is an L-shaped trough cavity which is inclined by 90 degrees clockwise, the levee assembly divides the trough cavity of the pulp trough into a main trough cavity and an auxiliary trough cavity, the main groove cavity is positioned at the right side of the embankment plate component, the auxiliary groove cavity is positioned at the left side of the embankment plate component, the groove cavity of the pulp roller mounting groove is a square groove, the cavity wall of the pulp roll mounting groove is uniformly provided with bolt holes, the cavity of the adjusting roll mounting groove is a square groove, the adjusting roller mounting groove, the first driving roller mounting groove and the second driving roller mounting groove all penetrate through the groove wall of the pulp groove, the pulp roller mounting groove, the guide roller two mounting groove, the immersion roller mounting groove, the guide roller one mounting groove, the adjusting roller mounting groove and the driving roller one mounting groove are all positioned on the wall of the main cavity of the pulp tank, and the second driving roller mounting groove, the third driving roller mounting groove and the mixing roller mounting groove are all positioned on the wall of the auxiliary groove cavity of the slurry tank.
Preferably, the control by temperature change probe is installed on the main cell chamber diapire of dressing trough, and the control by temperature change probe runs through the main cell chamber diapire of dressing trough, the honeycomb duct is the pipeline that the E style of calligraphy was arranged, the body roof of honeycomb duct evenly is provided with the branch pipe, and the branch pipe is linked together with the main cell chamber of dressing trough, the thick liquid pump mouth and the honeycomb duct intercommunication of arranging of circulating pump, the thick liquid pump mouth and the thick liquid pipe intercommunication of arranging of circulating pump, the compounding roller mounting groove and the benefit thick liquid pipe of the vice cell chamber antetheca of dressing trough are linked together.
Preferably, the deflector roll is totally four groups, four groups the deflector roll is deflector roll one, submergence roller and deflector roll two respectively, deflector roll one and submergence roller are respectively a set of, deflector roll two are totally two sets ofly, the guide roller bearing of deflector roll one is installed in the vallecular cavity of a deflector roll mounting groove, the guide roller bearing of submergence roller is installed in the vallecular cavity of submergence roller mounting groove, the guide roller bearing of deflector roll two is installed in the vallecular cavity of two mounting grooves of deflector roll, and is two sets of the roll surface of deflector roll two rolls the roll extrusion each other.
Preferably, the pulp rollers are two groups, the two groups of pulp rollers are respectively a sizing roller and a squeezing roller, a pulp roller bearing seat of the sizing roller and a pulp roller bearing seat of the squeezing roller are both arranged in a groove cavity of a pulp roller mounting groove, the squeezing roller is positioned right above the sizing roller, and the roll surfaces of the squeezing roller and the sizing roller are mutually rolled.
Preferably, the driving roller is three groups, three groups the driving roller is driving roller one, driving roller two and driving roller three respectively, the driving roller bearing of driving roller one is installed in the vallecular cavity of driving roller one mounting groove, the driving roller bearing of driving roller two is installed in the vallecular cavity of driving roller two mounting grooves, the driving roller bearing of driving roller three is installed in the vallecular cavity of driving roller three mounting grooves.
Preferably, the sliding seat is located in a groove cavity of the adjusting roller mounting groove, the fastening block is located on the outer side of the adjusting roller mounting groove, the rubber anti-slip pad is abutted to the outer wall of the adjusting roller mounting groove, the hole cavity of the jack is spliced with a bolt, and the bolt is in threaded connection with the threaded hole of the sliding seat.
Preferably, the limiting seat comprises a limiting block, the limiting block is welded on the surface of the embankment plate, a screw rod is welded on the side wall of the limiting block of the limiting seat, the rotary drum is sleeved on the rod body of the screw rod in a threaded manner, a sliding ring is arranged on the outer end wall of the rotary drum, the rotary plate is a circular plate, an annular groove is formed in the inner side wall of the rotary plate, the sliding ring is located in a groove cavity of the annular groove, an embedded groove is formed in the outer side wall of the rotary plate, and the inner side of the magnetic block is embedded.
Preferably, the top of the heating plate body of the electric heating plate is an arc-shaped protruding surface, and the pipe orifice at the upper end of the branch pipe of the flow guide pipe is positioned below the heating plate body of the electric heating plate.
Compared with the prior art, the invention has the beneficial effects that: according to the invention, the depth of the main tank cavity of the slurry tank is adjusted by adjusting the inclination angle of the embankment plate, so that the time length of immersing warp yarns in slurry is changed, an immersion roller is not required to be replaced, time is saved, the time cost of maintenance is reduced, the slurry injected into the slurry tank can be uniformly mixed through the mixing roller, and the arrangement of the guide pipe and the electric heating plate enables the slurry circularly injected into the main tank cavity of the slurry tank to be transversely diffused at the bottom of the main tank cavity, so that the bottom wall of the main tank cavity is washed away, the bottom slurry is prevented from precipitating, the requirement on cleaning the tank cavity of the slurry tank is reduced, and the time cost of maintenance is saved.
Of course, it is not necessary for any product in which the invention is practiced to achieve all of the above-described advantages at the same time.
Drawings
In order to more clearly illustrate the technical solutions of the embodiments of the present invention, the drawings used in the description of the embodiments will be briefly introduced below, and it is obvious that the drawings in the following description are only some embodiments of the present invention, and it is obvious for those skilled in the art that other drawings can be obtained according to the drawings without creative efforts.
FIG. 1 is a first schematic structural diagram of the present invention;
FIG. 2 is a second schematic structural view of the present invention;
FIG. 3 is a schematic view of the internal structure of the present invention;
FIG. 4 is a schematic view of the structure of a stock tank of the present invention;
FIG. 5 is a schematic view of the structure of the guide roller of the present invention;
FIG. 6 is a schematic view of the construction of a pulp roll of the present invention;
FIG. 7 is a schematic view of the end construction of the pulp roll of the present invention;
FIG. 8 is a schematic view of the structure of the driving roller of the present invention;
FIG. 9 is a schematic view of a conditioner roll of the present invention;
FIG. 10 is a schematic view of a sliding seat structure according to the present invention;
FIG. 11 is a schematic view of the mixing roll of the present invention;
fig. 12 is a schematic view of the structure of a bank assembly of the present invention;
FIG. 13 is an assembly view of a spacing block and an adjustment member of the present invention;
FIG. 14 is a schematic representation of the warp sizing circuit of the present invention.
In the drawings, the components represented by the respective reference numerals are listed below:
001-circulating pump, 002-driving belt, 003-temperature control probe, 100-slurry tank, 101-slurry roller installation groove, 102-guide roller two installation groove, 103-immersion roller installation groove, 104-guide roller one installation groove, 105-adjusting roller installation groove, 106-drive roller one installation groove, 107-drive roller two installation groove, 108-drive roller three installation groove, 109-mixing roller installation groove, 110-guide pipe, 120-slurry discharge pipe I, 130-slurry discharge pipe II, 140-slurry supplement pipe, 200-guide roller, 201-guide roller body, 202-guide roller bearing, 210-guide roller I, 220-immersion roller, 230-guide roller II, 300-slurry roller, 301-slurry roller body, 302-slurry roller bearing seat, 303-slurry roller grooved wheel, 304-installation inserting port, 310-sizing roller, 320-squeezing roller, 400-driving roller, 401-driving roller body, 402-driving roller bearing, 403-driving roller sheave, 410-driving roller I, 420-driving roller II, 430-driving roller III, 500-adjusting roller, 510-adjusting roller body, 520-sliding seat, 501-threaded hole, 530-fastening block, 531-rubber anti-slip pad, 532-jack, 600-mixing roller, 610-mixing roller body, 620-mixing roller bearing, 630-mixing roller sheave, 640-mixing pipe, 700-dyke plate component, 710-dyke plate, 720-limiting seat, 730-adjusting piece, 731-rotating cylinder, 732-rotating plate, 733-magnetic block and 800-electric heating plate.
Detailed Description
The technical solutions in the embodiments of the present invention will be clearly and completely described below with reference to the drawings in the embodiments of the present invention, and it is obvious that the described embodiments are only a part of the embodiments of the present invention, and not all of the embodiments. All other embodiments, which can be derived by a person skilled in the art from the embodiments given herein without making any creative effort, shall fall within the protection scope of the present invention.
Referring to fig. 1-14, the present invention provides a technical solution: an automatic material mixing and pulp feeding device of a sizing machine comprises a circulating pump 001, a transmission belt 002, a temperature control probe 003, a pulp tank 100, a guide roller 200, a pulp roller 300, a transmission roller 400, an adjusting roller 500, a material mixing roller 600, a dike plate assembly 700 and an electric heating plate 800.
The circulating pump 001 is a commercially available slurry pump with an inlet and an outlet, that is, a slurry pump having a slurry suction pump port (nozzle) and a slurry discharge pump port (nozzle) for circulating the slurry in the slurry tank 100. The transmission belt 002 is a transmission belt on the market and is used for driving the pulp roller 300, the transmission roller 400, the adjusting roller 500 and the mixing roller 600 to rotate. The temperature control probe 003 is a commercially available temperature control probe for monitoring the temperature of the slurry in the slurry tank 100.
The stock trough 100 is a special-shaped trough with an opening at the top, and a trough cavity of the stock trough 100 is an L-shaped trough cavity which is inclined by 90 degrees clockwise. The bank assembly 700 divides the tank cavity of the slurry tank 100 into a main tank cavity located at the right side of the bank assembly 700 and an auxiliary tank cavity located at the left side of the bank assembly 700.
Further, the front and rear cavity walls of the main cavity of the slurry tank 100 are provided with a slurry roller mounting groove 101, a guide roller mounting groove 102, an immersion roller mounting groove 103, a guide roller mounting groove 104, a regulating roller mounting groove 105 and a driving roller mounting groove 106. Two sets of altogether, two sets of thick liquid roller mounting grooves 101 are the longitudinal symmetry form and set up respectively on the middle part wall body in two chamber walls around the main cavity of thick liquid groove 100, and submergence roller mounting groove 103 is located the left side below of thick liquid roller mounting groove 101, and a deflector roll mounting groove 104 is located the upper left side of submergence roller mounting groove 103, and driving roller mounting groove 106 is located a deflector roll mounting groove 104 directly over, and regulating roller mounting groove 105 is located driving roller mounting groove 106 directly right-hand. Two mounting grooves 107 of driving roller, three mounting grooves 108 of driving roller and mounting groove 109 of compounding roller have all been seted up to the front and back both sides chamber wall in 100 vice vallecular cavities of dressing trough. The material mixing roller mounting grooves 109 are two sets, the two sets of material mixing roller mounting grooves 109 are symmetrical front and back and are respectively arranged on the middle wall bodies of the front and back two cavity walls of the lower part of the auxiliary cavity of the slurry tank 100, the three driving roller mounting grooves 108 are located in the material mixing roller mounting grooves 109, and the two driving roller mounting grooves 107 are located right above the three driving roller mounting grooves 108. Wherein, the vallecular cavity of thick liquid roller mounting groove 101 and the vallecular cavity of dancer roll mounting groove 105 are square groove, and the vallecular cavity of thick liquid roller mounting groove 101 is vertical setting, makes things convenient for the upper and lower regulation of thick liquid roller 300, and the vallecular cavity of dancer roll mounting groove 105 is horizontal setting, makes things convenient for adjust about dancer roll 500 to adjust, and the bolt hole has evenly been seted up in the vallecular cavity wall of thick liquid roller mounting groove 101. The adjusting roller mounting groove 105, the first driving roller mounting groove 106 and the second driving roller mounting groove 107 all penetrate through the groove wall of the stock chest 100.
Further, the bottom wall of the main chamber of the slurry tank 100 is provided with a draft tube 110. The honeycomb duct 110 is a pipeline arranged in an E shape, branch pipes are evenly arranged on the top wall of the honeycomb duct 110, the top ends of the branch pipes penetrate through the bottom wall of the main trough cavity of the stock trough 100, and the top pipe orifices of the branch pipes are communicated with the main trough cavity of the stock trough 100.
Further, the bottom wall of the auxiliary cavity of the stock chest 100 is provided with a first stock discharge pipe 120 and a second stock discharge pipe 130, and the first stock discharge pipe 120 and the second stock discharge pipe 130 are communicated with the auxiliary cavity of the stock chest 100. The slurry discharging pump port of the circulating pump 001 is communicated with the flow guide pipe 110, the slurry sucking pump port of the circulating pump 001 is communicated with the first slurry discharging pipe 120, and the second slurry discharging pipe 130 is externally connected with a stop valve in the market and is communicated with an external sewage discharge pipeline through the externally connected stop valve. The outer side wall of the auxiliary cavity of the stock chest 100 is provided with a stock supplementing pipe 140, the stock supplementing pipe 140 is communicated with the auxiliary cavity of the stock chest 100, the stock supplementing pipe 140 is externally connected with a stop valve on the market and is communicated with an external stock conveying pipeline through the externally connected stop valve and the external stock conveying pipeline, and the external stock conveying pipeline is communicated with an external stock container and is used for supplementing the auxiliary cavity of the stock chest 100 with the stock.
Further, the temperature control probe 003 is installed on the bottom wall of the main cavity of the stock trough 100, and the temperature control probe 003 penetrates through the bottom wall of the main cavity of the stock trough 100. The mixing roller mounting groove 109 of the front wall of the auxiliary cavity of the slurry tank 100 is communicated with the slurry supplementing pipe 140, and the mixing roller mounting groove 109 and the slurry supplementing pipe 140 are coaxially arranged.
The guide roller 200 includes a guide roller body 201, and guide roller bearings 202 are installed at both front and rear ends of the guide roller body 201. The guide rollers 200 are four groups, and the four groups of guide rollers 200 are a group of first guide rollers 210, a group of submerged rollers 220 and two groups of second guide rollers 230.
Further, a guide roller bearing 202 of a guide roller one 210 is installed in a pocket of the guide roller one installation groove 104 for guiding the input of the warp yarn.
Further, the immersing roller 220 is immersed in the slurry in the main tank chamber of the slurry tank 100. The guide roller bearing 202 of the immersing roller 220 is installed in the cavity of the immersing roller installing groove 103 and is used for guiding warp yarns into the slurry in the main cavity of the slurry tank 100 to soak the warp yarns.
Further, the guide roller bearing 202 of the guide roller two 230 is installed in the cavity of the guide roller two installation groove 102 for guiding the output of the warp yarn. The roll surfaces of the two groups of guide rollers 230 are mutually rolled, and the warp yarns pass between the two groups of guide rollers 230 and are extruded by the two groups of guide rollers 230 which are mutually rolled, so that residual size in the warp yarns is pressed.
The pulp roll 300 includes a pulp roll body 301, a pulp roll bearing housing 302 and a pulp roll sheave 303 are installed at both the front and rear ends of the pulp roll body 301, and the pulp roll sheave 303 is located at the inner side of the pulp roll bearing housing 302. The pulp rolls 300 are divided into two groups, and the two groups of pulp rolls 300 are a sizing roll 310 and a squeezing roll 320.
Further, the pulp roll bearing block 302 of the sizing roll 310 and the pulp roll bearing block 302 of the sizing roll 320 are both installed in the groove cavity of the pulp roll installation groove 101, the sizing roll 320 is positioned right above the sizing roll 310, and the roll surfaces of the sizing roll 320 and the sizing roll 310 are rolled with each other.
Further, the slurry level in the main cavity of the slurry tank 100 can be adjusted by the bank assembly 700 described below, and after the slurry level is adjusted, the axis of the sizing roller 310 can be adjusted by sliding the cavity of the slurry roller mounting groove 101 up and down, so that the axis of the sizing roller 310 is flush with the slurry level in the main cavity of the slurry tank 100, and the sizing roller 310 rotates clockwise to bring the slurry above the surface of the roller, thereby maintaining the sizing of the warp threads. The residual size of the warp is pressed out by the rolling of the sizing roller 310 and the squeezing roller 320.
Further, the pulp roll bearing housing 302 of the upper pulp roll 310 and the pulp roll bearing housing 302 of the squeeze roll 320 are each provided with a mounting socket 304, and the mounting sockets 304 are aligned with the bolt holes of the pulp roll mounting groove 101. The installation of the pulp roll 300 is completed by inserting a bolt into the installation insertion opening 304 of the pulp roll bearing housing 302 and then screwing the bolt into the bolt hole cavity of the pulp roll installation groove 101 for fastening. The pulp roll 300 can be slidably adjusted up and down along the cavity of the pulp roll mounting groove 101.
The driving roller 400 includes a driving roller body 401, a driving roller bearing 402 and a driving roller sheave 403 are installed at both ends of the driving roller body 401, and the driving roller sheave 403 is located at the inner side of the driving roller bearing 402. The driving rollers 400 have three groups, and the three groups of driving rollers 400 are respectively a first driving roller 410, a second driving roller 420 and a third driving roller 430.
Further, the driving roller bearing 402 of the driving roller one 410 is installed in the pocket of the driving roller one installation groove 106. The front end of the first driving roller 410 penetrates through the first driving roller mounting groove 106 and is fixedly connected with an external motor output shaft through a coupler, and the first driving roller 410 is driven by an external motor to rotate clockwise. The driving roller sheave 403 of the first driving roller 410 is in driving connection with the pulp roller sheave 303 of the sizing roller 310 through a driving belt 002.
Further, the driving roller bearing 402 of the driving roller two 420 is installed in the groove cavity of the driving roller two installation groove 107. The driving roller grooved wheel 403 of the driving roller II 420 is in driving connection with the driving roller grooved wheel 403 of the driving roller I410 through a driving belt 002.
Further, the drive roller bearing 402 of drive roller three 430 is mounted in the pocket of drive roller three mounting groove 108. The driving roller sheave 403 of the driving roller three 430 is in driving connection with the driving roller sheave 403 of the driving roller two 420 through a driving belt 002.
The dancer 500 is comprised of a set of dancer rollers 510, two sets of sliding shoes 520, and two sets of fastening blocks 530. Two sets of sliding seats 520 are respectively disposed at both ends of the dancer roll body 510, and two sets of fastening blocks 530 are respectively disposed on outer sidewalls of the two sets of sliding seats 520.
Further, the sliding seat 520 is a square block, and the sliding seat 520 is located in the groove cavity of the adjusting roller mounting groove 105 and can slide and adjust left and right along the groove cavity of the adjusting roller mounting groove 105. The middle part of sliding seat 520 installs the bearing, and the tip fixed mounting of adjusting roller roll body 510 is in the shaft cavity of sliding seat 520 bearing, makes things convenient for adjusting roller roll body 510's rotation. The outer end wall of the sliding seat 520 is provided with a threaded hole 501.
Further, the fastening block 530 is a square block, the fastening block 530 is located outside the adjusting roller mounting groove 105, the inner side wall of the fastening block 530 is fixedly provided with a rubber non-slip pad 531, the rubber non-slip pad 531 is located outside the adjusting roller mounting groove 105, and the rubber non-slip pad 531 is abutted to the outer wall of the adjusting roller mounting groove 105. The block body of the fastening block 530 is evenly provided with a jack 532, the jack 532 penetrates through the rubber non-slip mat, and the jack 532 is aligned with the threaded hole 501. The plug hole 532 is inserted with a bolt, and the bolt is screwed with the threaded hole 501.
The mixing roll 600 is composed of a group of mixing roll bodies 610, two groups of mixing roll bearings 620, two groups of mixing roll sheaves 630 and four groups of mixing pipes 640. Two sets of mixing roller bearings 620 and two sets of mixing roller sheaves 630 are both installed at the both ends of mixing roller body 610 respectively to mixing roller sheaves 630 is located the inboard side of mixing roller bearings 620.
Further, a mixing roller bearing 620 is fixedly installed in the cavity of the mixing roller installation groove 109. The mixing roller body 610 is a hollow pipe with an open front end and is coaxially arranged with the mixing roller mounting groove 109. The pipe orifice of the material roller body 610 is communicated with the slurry supplementing pipe 140.
Further, four groups of mixing pipes 640 are uniformly connected to the surface of the mixing roller body 610. The mixing pipe 640 is a U-shaped pipe, the two ends of the mixing pipe 640 are communicated with the inner cavity of the mixing roller body 610, and holes are uniformly formed in the pipe body of the mixing pipe 640, so that slurry is conveniently supplied.
The bank assembly 700 is composed of a set of banks 710, two sets of stoppers 720, and two sets of adjusting members 730.
Further, the dike 710 is a square plate, and the bottom of the dike 710 is hinged with the left end side of the bottom wall of the main tank cavity of the pulp tank 100.
Further, the limiting seats 720 comprise limiting blocks, the limiting blocks are welded on the plate surface of the embankment plate 710, screws are welded on the side walls of the limiting blocks of the limiting seats 720, and the two groups of limiting seats 720 are symmetrically arranged on the same side plate surface on the upper portion of the plate body of the embankment plate 710.
Further, the adjusting member 730 includes a rotary cylinder 731, a rotary plate 732, and a magnetic block 733. The rotating cylinder 731 is a conical cylinder with two open ends, and the rotating cylinder 731 is sleeved on the rod body of the screw rod in a threaded manner. The outer side wall of the rotating cylinder 731 is provided with a slip ring, the rotating plate 732 is a circular plate, the inner side wall of the rotating plate 732 is provided with a ring groove, and the slip ring is embedded in the ring groove and can rotate in a groove cavity of the ring groove. The outer side wall of the rotating plate 732 is provided with a caulking groove, and the inner side of the magnet 733 is embedded in the caulking groove.
The top of the heating plate body of the electric heating plate 800 is an arc-shaped protruding surface, which is beneficial to avoiding more sediments deposited on the heating plate body. The pipe orifice at the upper end of the branch pipe of the flow guide pipe 110 is positioned below the heating plate body of the electric heating plate 800, and the bottom of the heating plate body of the electric heating plate 800 is a plane, so that the slurry discharged into the main cavity of the slurry tank 100 through the flow guide pipe 110 is blocked, and the slurry is prevented from directly flowing upwards to form a slurry surface.
In the present invention, the guide roller bearing 202, the bearing of the paddle roller bearing housing 302, the drive roller bearing, the bearing of the sliding housing 520, and the mixing roller bearing 602 are all commercially available watertight bearings.
In the present invention, the pulp roller sheave 303 and the mixing roller sheave 603 are both single-groove sheaves, and the driving roller sheave 403 is a double-groove sheave. The pulp roller grooved wheel 303 is in transmission connection with a transmission roller grooved wheel 403 of a first transmission roller 410 through a transmission belt 002, the transmission roller grooved wheel 403 of the first transmission roller 410 is in transmission connection with a transmission roller grooved wheel 403 of a second transmission roller 420 through a transmission belt 002, the transmission roller grooved wheel 403 of the second transmission roller 420 is in transmission connection with a transmission roller grooved wheel 403 of a third transmission roller 430 through a transmission belt 002, and the transmission roller grooved wheel 403 of the third transmission roller 430 is in transmission connection with a material mixing roller grooved wheel 603 through a transmission belt 002.
In the invention, warp yarns enter from the left side of the auxiliary groove cavity of the size box 100, wind downwards from the roller surface at the upper part of the first guide roller 210 to the roller surface at the bottom of the submerged roller 220, then wind upwards to the roller surface at the top of the sizing roller 310, and finally wind out of the main groove cavity of the size box 100 between the two groups of second guide rollers 230.
In the invention, the external slurry container conveys the slurry contained in the external slurry container to an external slurry conveying pipeline through a slurry pump, the slurry is conveyed to the slurry supplementing pipe 140 through the external slurry conveying pipeline, enters the pipe cavity of the mixing roller body 610 through the slurry supplementing pipe 140, is dispersed to the mixing pipe 640 through the pipe cavity of the mixing roller body 610, and is finally discharged into the bottom cavity of the auxiliary cavity of the slurry tank 100 through the hole of the mixing pipe 640. Thus, when the slurry is required to be supplied to the slurry tank 100, the slurry supply pipe 140 supplies the slurry from the outside to the slurry tank 100. The intelligent liquid level meter on the market can be additionally arranged in the auxiliary tank cavity of the stock tank 100, when the liquid level of the slurry in the auxiliary tank cavity of the stock tank 100 is lower than a set value, the intelligent liquid level meter feeds information back to a processor of an external control cabinet, the processor controls an external slurry pump to pump the slurry in an external slurry container, and the slurry is supplied to the stock tank 100 through the slurry supply pipe 140.
In the invention, the slurry in the auxiliary tank cavity of the slurry tank 100 enters the circulating pump 001 through the first slurry discharge pipe 120, is input into the flow guide pipe 110 by the circulating pump 001, is uniformly discharged into the main tank cavity of the slurry tank 100 through the branch pipes of the flow guide pipe 110, and overflows from the top of the embankment plate assembly 700 to the auxiliary tank cavity of the slurry tank 100, so that the slurry circulation of the slurry tank 100 is realized.
Meanwhile, when the slurry is discharged into the main tank cavity of the slurry tank 100 through the branch pipes of the draft tube 110, the slurry is blocked by the heating plate body of the electric heating plate 800 during the upward flow process, so that the slurry is mainly diffused horizontally and backflushed downwards, and the scattered slurry overflows upwards uniformly. Therefore, the slurry at the bottom of the main cavity of the slurry tank 100 is driven to flow actively, and the slurry is prevented from precipitating. Meanwhile, the slurry surface slurry flow of the main tank cavity of the slurry tank 100 is smooth.
In the invention, the motor externally connected with the first driving roller 410 drives the first driving roller 410 to rotate clockwise, the first driving roller 410 drives the sizing roller 310 to rotate clockwise through the driving belt 002, and the sizing roller 310 and the sizing roller 320 perform auxiliary transmission on warp yarns. The first driving roller 410 drives the second driving roller 420 to rotate clockwise through the driving belt 002, the second driving roller 420 drives the third driving roller 430 to rotate clockwise through the driving belt 002, and the third driving roller 430 drives the mixing roller 600 to rotate clockwise through the driving belt 002. So that the mixing roller 600 stirs the auxiliary tank cavity of the slurry tank 100 to prevent the slurry from precipitating in the auxiliary tank cavity of the slurry tank 100. Meanwhile, when the mixing roller 600 supplies the slurry to the auxiliary tank cavity of the slurry tank 100, the rotating mixing roller 600 can be uniformly dispersed into the slurry in the auxiliary tank cavity of the slurry tank 100 through the holes of the rotating mixing pipe 640, and mixing is completed.
In the present invention, by rotating the rotating cylinder 731, the whole adjusting member 730 moves outward along the screw of the limiting seat 720, and the magnetic block 733 abuts against the cavity wall of the slurry tank 100, so that the angle of the dyke 710 is fixed, and the magnetic absorption of the magnetic block 733 can improve the firmness of the dyke 710.
In the description of the present invention, it should be noted that, unless otherwise explicitly specified or limited, the terms "mounted," "connected," and "disposed" are to be construed broadly, e.g., as meaning either a fixed connection, a removable connection, or an integral connection; may be mechanically coupled, may be directly coupled, or may be indirectly coupled through an intermediary. To those of ordinary skill in the art, the specific meanings of the above terms in the present invention are understood according to specific situations. In the description herein, references to the description of "one embodiment," "an example," "a specific example" or the like are intended to mean that a particular feature, structure, material, or characteristic described in connection with the embodiment or example is included in at least one embodiment or example of the invention. In this specification, the schematic representations of the terms used above do not necessarily refer to the same embodiment or example. Furthermore, the particular features, structures, materials, or characteristics described may be combined in any suitable manner in any one or more embodiments or examples.
The preferred embodiments of the invention disclosed above are intended to be illustrative only. The preferred embodiments are not intended to be exhaustive or to limit the invention to the precise embodiments disclosed. Obviously, many modifications and variations are possible in light of the above teaching. The embodiments were chosen and described in order to best explain the principles of the invention and the practical application, to thereby enable others skilled in the art to best utilize the invention. The invention is limited only by the claims and their full scope and equivalents.
Claims (7)
1. The utility model provides an automatic compounding of dresser supplies thick liquid device, includes circulating pump (001), control by temperature change probe (003) and dressing trough (100), its characterized in that: dressing trough (100) is open-top's profiled groove, dressing trough (100) both sides wall has all been seted up in the front and back of dressing trough (100) vallecular cavity and has been seted up dressing roller mounting groove (101), two mounting grooves of deflector roll (102), submergence roller mounting groove (103), a deflector roll mounting groove (104), regulating roller mounting groove (105), a driving roller mounting groove (106), two mounting grooves of driving roller (107), three mounting grooves of driving roller (108) and compounding roller mounting groove (109), the vallecular cavity diapire intercommunication of dressing trough (100) right part has honeycomb duct (110), the vallecular cavity diapire intercommunication of dressing trough (100) left part has row's thick liquid pipe one (120) and row's thick liquid pipe two (130), the vallecular cavity antetheca intercommunication of dressing trough (100) left part has mended thick liquid pipe (140), drive belt (002), deflector roll (200), thick liquid roller (300), driving roller (400), regulating roller (500), compounding roller (600) are installed to the inner chamber, A bank assembly (700) and an electrical heating plate (800);
the guide roller (200) comprises a guide roller body (201), guide roller bearings (202) are mounted at the front end and the rear end of the guide roller body (201), the pulp roller (300) comprises a pulp roller body (301), a pulp roller bearing seat (302) and a pulp roller sheave (303) are mounted at the front end and the rear end of the pulp roller body (301), the pulp roller sheave (303) is located on the inner side of the pulp roller bearing seat (302), mounting insertion ports (304) are uniformly formed in the circumferential side wall of the pulp roller bearing seat (302), the transmission roller (400) comprises a transmission roller body (401), transmission roller bearings (402) and transmission roller sheaves (403) are mounted at the front end and the rear end of the transmission roller body (401), and the transmission roller sheaves (403) are located on the inner side of the transmission roller bearings (402);
the adjusting roller (500) comprises an adjusting roller body (510), sliding seats (520) are mounted at the front end and the rear end of the adjusting roller body (510), the sliding seats (520) are square blocks, a bearing is mounted in the middle of each sliding seat (520), the end of the adjusting roller body (510) is fixedly mounted in a shaft cavity of the bearing of each sliding seat (520), a threaded hole (501) is formed in the outer end wall of each sliding seat (520), a fastening block (530) is arranged on the outer end wall of each sliding seat (520), each fastening block (530) is a square block, a rubber anti-skid pad (531) is fixedly arranged on the inner side wall of each fastening block (530), jacks (532) are uniformly formed in the block bodies of the fastening blocks (530), and the jacks (532) are aligned with the threaded holes (501);
the mixing roller (600) comprises a mixing roller body (610), the mixing roller body (610) is a hollow pipe with an opening at the front end, a mixing roller bearing (620) and a mixing roller sheave (630) are mounted at the front end and the rear end of the mixing roller body (610), the mixing roller sheave (630) is located on the inner side of the mixing roller bearing (620), a mixing pipe (640) is uniformly connected to the roller surface of the mixing roller body (610), the mixing pipe (640) is a U-shaped pipe, the two ends of the mixing pipe (640) are communicated with the inner cavity of the mixing roller body (610), and holes are uniformly formed in the pipe body of the mixing pipe (640);
the dyke plate assembly (700) comprises a dyke plate (710), a limiting seat (720) is welded on the plate surface of the dyke plate (710), an adjusting piece (730) is installed on the limiting seat (720), the adjusting piece (730) comprises a rotating cylinder (731), a rotating plate (732) is installed on the outer end wall of the rotating cylinder (731), and a magnetic block (733) is installed on the outer end wall of the rotating plate (732);
the trough cavity of the slurry trough (100) is an L-shaped trough cavity which is inclined by 90 degrees clockwise, the trough cavity of the slurry trough (100) is divided into a main trough cavity and an auxiliary trough cavity by the embankment plate assembly (700), the main trough cavity is positioned on the right side of the embankment plate assembly (700), and the auxiliary trough cavity is positioned on the left side of the embankment plate assembly (700);
the limiting seat (720) comprises a limiting block, the limiting block is welded on the plate surface of the embankment plate (710), a screw rod is welded on the side wall of the limiting block of the limiting seat (720), the rotary drum (731) is sleeved on the rod body of the screw rod in a threaded manner, a sliding ring is arranged on the outer end wall of the rotary drum (731), the rotary plate (732) is a circular plate, a ring groove is formed in the inner side wall of the rotary plate (732), the sliding ring is located in a groove cavity of the ring groove, an embedded groove is formed in the outer side wall of the rotary plate (732), and the inner side of the magnetic block (733) is embedded in the embedded;
the top of the heating plate body of the electric heating plate (800) is an arc-shaped protruding surface, and the pipe orifice at the upper end of the branch pipe of the flow guide pipe (110) is positioned below the heating plate body of the electric heating plate (800).
2. The automatic material mixing and feeding device of the sizing machine as claimed in claim 1, characterized in that: the vallecular cavity of thick liquid roller mounting groove (101) is square groove, the bollecular cavity wall of thick liquid roller mounting groove (101) has evenly seted up the bolt hole, the vallecular cavity of regulating roller mounting groove (105) is square groove, regulating roller mounting groove (105), driving roller mounting groove (106) and two mounting grooves of driving roller (107) all run through the cell wall of thick liquid groove (100), thick liquid roller mounting groove (101), two mounting grooves of deflector roll (102), submergence roller mounting groove (103), a deflector roll mounting groove (104), regulating roller mounting groove (105) and driving roller mounting groove (106) all are located the main vallecular cavity wall of thick liquid groove (100), two mounting grooves of driving roller (107), three mounting grooves of driving roller (108) and compounding roller mounting groove (109) all are located the vice vallecular cavity wall of thick liquid groove (100).
3. The automatic material mixing and feeding device of the sizing machine as claimed in claim 2, characterized in that: temperature control probe (003) are installed on the main cell chamber diapire of dressing trough (100), and temperature control probe (003) run through the main cell chamber diapire of dressing trough (100), pipeline that honeycomb duct (110) were arranged for the E style of calligraphy, the body roof of honeycomb duct (110) evenly is provided with the branch pipe, and the main cell chamber of branch pipe and dressing trough (100) is linked together, the row's thick liquid pump mouth and honeycomb duct (110) intercommunication of circulating pump (001), the thick liquid pump mouth of inhaling of circulating pump (001) and arrange thick liquid pipe (120) intercommunication, compounding roller mounting groove (109) and the benefit thick liquid pipe (140) of the vice cell chamber antetheca of dressing trough (100) are linked together.
4. The automatic material mixing and feeding device of the sizing machine as claimed in claim 1, characterized in that: guide roller (200) are totally four groups, four groups guide roller (200) are guide roller (210), submergence roller (220) and guide roller two (230) respectively, guide roller (210) and submergence roller (220) are each a set of, guide roller two (230) are totally two sets of, install in the vallecular cavity of a guide roller mounting groove (104) guide roller bearing (202) of guide roller (210), install in the vallecular cavity of submergence roller mounting groove (103) guide roller bearing (202) of submergence roller (220), install in the vallecular cavity of two mounting grooves of guide roller (102) guide roller bearing (202) of guide roller two (230), and are two sets of the roll surface of guide roller two (230) rolls each other.
5. The automatic material mixing and feeding device of the sizing machine as claimed in claim 1, characterized in that: the sizing rollers (300) are divided into two groups, the two groups of sizing rollers (300) are respectively a sizing roller (310) and a sizing roller (320), a sizing roller bearing seat (302) of the sizing roller (310) and a sizing roller bearing seat (302) of the sizing roller (320) are both arranged in a groove cavity of a sizing roller mounting groove (101), the sizing roller (320) is positioned right above the sizing roller (310), and the roller surfaces of the sizing roller (320) and the sizing roller (310) are mutually rolled.
6. The automatic material mixing and feeding device of the sizing machine as claimed in claim 1, characterized in that: the driving roller (400) is three groups in total, three groups driving roller (400) is driving roller one (410), driving roller two (420) and driving roller three (430) respectively, driving roller bearing (402) of driving roller one (410) are installed in the slot cavity of driving roller one mounting groove (106), driving roller bearing (402) of driving roller two (420) are installed in the slot cavity of driving roller two mounting groove (107), driving roller bearing (402) of driving roller three (430) are installed in the slot cavity of driving roller three mounting groove (108).
7. The automatic material mixing and feeding device of the sizing machine as claimed in claim 1, characterized in that: the sliding seat (520) is located in a groove cavity of the adjusting roller mounting groove (105), the fastening block (530) is located on the outer side of the adjusting roller mounting groove (105), the rubber anti-skid pad (531) is abutted to the outer wall of the adjusting roller mounting groove (105), a bolt is inserted into a hole cavity of the insertion hole (532), and the bolt is in threaded connection with a threaded hole (501) of the sliding seat (520).
Priority Applications (1)
| Application Number | Priority Date | Filing Date | Title |
|---|---|---|---|
| CN202010977916.8A CN111926509B (en) | 2020-09-17 | 2020-09-17 | Automatic material mixing and pulp supplying device of sizing machine |
Applications Claiming Priority (1)
| Application Number | Priority Date | Filing Date | Title |
|---|---|---|---|
| CN202010977916.8A CN111926509B (en) | 2020-09-17 | 2020-09-17 | Automatic material mixing and pulp supplying device of sizing machine |
Publications (2)
| Publication Number | Publication Date |
|---|---|
| CN111926509A CN111926509A (en) | 2020-11-13 |
| CN111926509B true CN111926509B (en) | 2021-01-05 |
Family
ID=73335275
Family Applications (1)
| Application Number | Title | Priority Date | Filing Date |
|---|---|---|---|
| CN202010977916.8A Active CN111926509B (en) | 2020-09-17 | 2020-09-17 | Automatic material mixing and pulp supplying device of sizing machine |
Country Status (1)
| Country | Link |
|---|---|
| CN (1) | CN111926509B (en) |
Families Citing this family (1)
| Publication number | Priority date | Publication date | Assignee | Title |
|---|---|---|---|---|
| CN115012138B (en) * | 2022-05-21 | 2024-06-14 | 平顶山市锦华新材料科技有限公司 | Automatic mixing and sizing device of sizing machine |
Citations (9)
| Publication number | Priority date | Publication date | Assignee | Title |
|---|---|---|---|---|
| CN103952877A (en) * | 2014-03-28 | 2014-07-30 | 吴江龙升纺织有限公司 | Novel sizing device |
| CN203904672U (en) * | 2014-06-16 | 2014-10-29 | 潼南县炫吉中绸有限公司 | Warp yarn starching device |
| CN106732016A (en) * | 2016-11-18 | 2017-05-31 | 广西大学 | A kind of multichannel vertical type chemical industry coating dilutes mixer |
| CN207143522U (en) * | 2017-08-10 | 2018-03-27 | 山东新力环保材料有限公司 | A kind of slurry concentration adjusting means |
| CN108330636A (en) * | 2018-04-18 | 2018-07-27 | 许敏华 | The pond of dying cloth that can quickly heat |
| CN208829933U (en) * | 2018-09-11 | 2019-05-07 | 温州欧飞包装有限公司 | A kind of cloth stack device |
| CN208979573U (en) * | 2018-09-21 | 2019-06-14 | 上海海鼎实业发展有限公司 | A kind of floating type leveling device |
| CN210368289U (en) * | 2019-07-02 | 2020-04-21 | 苏州市织布鸟纺织品有限公司 | Dyeing device for knitted fabric |
| CN211005943U (en) * | 2019-11-12 | 2020-07-14 | 绍兴天普纺织有限公司 | Novel sizing device of textile machine |
-
2020
- 2020-09-17 CN CN202010977916.8A patent/CN111926509B/en active Active
Patent Citations (9)
| Publication number | Priority date | Publication date | Assignee | Title |
|---|---|---|---|---|
| CN103952877A (en) * | 2014-03-28 | 2014-07-30 | 吴江龙升纺织有限公司 | Novel sizing device |
| CN203904672U (en) * | 2014-06-16 | 2014-10-29 | 潼南县炫吉中绸有限公司 | Warp yarn starching device |
| CN106732016A (en) * | 2016-11-18 | 2017-05-31 | 广西大学 | A kind of multichannel vertical type chemical industry coating dilutes mixer |
| CN207143522U (en) * | 2017-08-10 | 2018-03-27 | 山东新力环保材料有限公司 | A kind of slurry concentration adjusting means |
| CN108330636A (en) * | 2018-04-18 | 2018-07-27 | 许敏华 | The pond of dying cloth that can quickly heat |
| CN208829933U (en) * | 2018-09-11 | 2019-05-07 | 温州欧飞包装有限公司 | A kind of cloth stack device |
| CN208979573U (en) * | 2018-09-21 | 2019-06-14 | 上海海鼎实业发展有限公司 | A kind of floating type leveling device |
| CN210368289U (en) * | 2019-07-02 | 2020-04-21 | 苏州市织布鸟纺织品有限公司 | Dyeing device for knitted fabric |
| CN211005943U (en) * | 2019-11-12 | 2020-07-14 | 绍兴天普纺织有限公司 | Novel sizing device of textile machine |
Also Published As
| Publication number | Publication date |
|---|---|
| CN111926509A (en) | 2020-11-13 |
Similar Documents
| Publication | Publication Date | Title |
|---|---|---|
| CN111926509B (en) | Automatic material mixing and pulp supplying device of sizing machine | |
| CN211498129U (en) | Textile sizing and dyeing machine capable of realizing automatic tension adjustment | |
| CN201099754Y (en) | Slasher stock flume sizing control device | |
| CN213417271U (en) | Filament sizing machine for producing chemical fiber cloth | |
| CN211005943U (en) | Novel sizing device of textile machine | |
| CN115404609B (en) | Carbon fiber sizing equipment and control method | |
| CN113235248B (en) | Yarn production equipment and production process thereof | |
| CN215103956U (en) | Stable sizing device with stirring structure | |
| CN113373623A (en) | Homogenizing equipment for production and processing of chemical fiber fabric textile fabric and using method thereof | |
| CN220057484U (en) | Overflow dynamic circulation voltage type continuous wet forming paper making equipment | |
| CN111350038A (en) | Internal circulation light spinning sizing device | |
| CN209722493U (en) | A yarn count sizing machine | |
| CN115928356B (en) | Oiling agent supplementing system for polyacrylonitrile-based carbon fiber precursor and control method thereof | |
| CN217579346U (en) | Warp sizing machine | |
| CN218422214U (en) | Dresser mixing arrangement is used in production and processing of all-cotton slub cloth | |
| CN217298293U (en) | Pad dyeing machine for textile printing and dyeing | |
| CN219032598U (en) | Sizing machine capable of sizing uniformly | |
| CN212451915U (en) | Oiling device for polyethylene fibers | |
| CN211645656U (en) | Mass textile fabric decolorizing device | |
| CN212834500U (en) | Warp waxing machine for spinning | |
| CN218989606U (en) | A kind of sizing machine for cotton gray cloth production | |
| CN211586306U (en) | Raw material stirring device for textile dyeing | |
| CN214219072U (en) | Oil ship device convenient to add auxiliary agent | |
| CN210420334U (en) | Fine warper electrostatic elimination device of glass | |
| CN209854364U (en) | Loose fiber continuous washing finishing machine |
Legal Events
| Date | Code | Title | Description |
|---|---|---|---|
| PB01 | Publication | ||
| PB01 | Publication | ||
| SE01 | Entry into force of request for substantive examination | ||
| SE01 | Entry into force of request for substantive examination | ||
| GR01 | Patent grant | ||
| GR01 | Patent grant | ||
| PE01 | Entry into force of the registration of the contract for pledge of patent right |
Denomination of invention: An automatic mixing and feeding device for sizing machine Effective date of registration: 20220513 Granted publication date: 20210105 Pledgee: China Co. truction Bank Corp Foshan branch Pledgor: FOSHAN NANHAI DEYAO TEXTILE INDUSTRIAL CO.,LTD. Registration number: Y2022980005592 |
|
| PE01 | Entry into force of the registration of the contract for pledge of patent right |