CN111906374A - Novel hydraulic gate type plate shearing machine with high precision - Google Patents
Novel hydraulic gate type plate shearing machine with high precision Download PDFInfo
- Publication number
- CN111906374A CN111906374A CN202010856157.XA CN202010856157A CN111906374A CN 111906374 A CN111906374 A CN 111906374A CN 202010856157 A CN202010856157 A CN 202010856157A CN 111906374 A CN111906374 A CN 111906374A
- Authority
- CN
- China
- Prior art keywords
- fixedly connected
- protective shell
- shearing machine
- rod
- new type
- Prior art date
- Legal status (The legal status is an assumption and is not a legal conclusion. Google has not performed a legal analysis and makes no representation as to the accuracy of the status listed.)
- Pending
Links
Images
Classifications
-
- B—PERFORMING OPERATIONS; TRANSPORTING
- B23—MACHINE TOOLS; METAL-WORKING NOT OTHERWISE PROVIDED FOR
- B23D—PLANING; SLOTTING; SHEARING; BROACHING; SAWING; FILING; SCRAPING; LIKE OPERATIONS FOR WORKING METAL BY REMOVING MATERIAL, NOT OTHERWISE PROVIDED FOR
- B23D33/00—Accessories for shearing machines or shearing devices
- B23D33/02—Arrangements for holding, guiding, and/or feeding work during the operation
-
- B—PERFORMING OPERATIONS; TRANSPORTING
- B23—MACHINE TOOLS; METAL-WORKING NOT OTHERWISE PROVIDED FOR
- B23D—PLANING; SLOTTING; SHEARING; BROACHING; SAWING; FILING; SCRAPING; LIKE OPERATIONS FOR WORKING METAL BY REMOVING MATERIAL, NOT OTHERWISE PROVIDED FOR
- B23D15/00—Shearing machines or shearing devices cutting by blades which move parallel to themselves
- B23D15/06—Sheet shears
- B23D15/08—Sheet shears with a blade moved in one plane, e.g. perpendicular to the surface of the sheet
-
- B—PERFORMING OPERATIONS; TRANSPORTING
- B23—MACHINE TOOLS; METAL-WORKING NOT OTHERWISE PROVIDED FOR
- B23D—PLANING; SLOTTING; SHEARING; BROACHING; SAWING; FILING; SCRAPING; LIKE OPERATIONS FOR WORKING METAL BY REMOVING MATERIAL, NOT OTHERWISE PROVIDED FOR
- B23D33/00—Accessories for shearing machines or shearing devices
Landscapes
- Engineering & Computer Science (AREA)
- Mechanical Engineering (AREA)
- Shearing Machines (AREA)
Abstract
本发明涉及剪板机技术领域,具体为一种新型高精度的液压闸式剪板机,包括剪板机本体,所述剪板机本体包括保护壳,所述保护壳的正面固定连接有防护板,所述保护壳的底端固定连接有底座,所述保护壳的内部连接有支撑紧固机构,所述支撑紧固机构包括滚筒,所述保护壳的正面连接有调节杆,所述调节杆的顶端固定连接有夹持限位杆,所述保护壳的正面固定连接有滑槽,所述滑槽的内部嵌入有齿条,所述夹持限位杆的内壁连接有连接杆。本发明能对不同厚度的板材进行夹持,使得适用范围更加的广泛,通过收集仓的收集,操作更加的简单,减轻了工作人员的劳动负担,加快了工作进度,另外在进行收集时,能对板块进行分开存放,在拿取时更加的便捷。
The invention relates to the technical field of shearing machines, in particular to a new type of high-precision hydraulic gate shearing machine, comprising a shearing machine body, and the shearing machine body includes a protective shell, the front of the protective shell is fixedly connected with a protective shield The bottom end of the protective shell is fixedly connected with a base, the inner part of the protective shell is connected with a supporting and fastening mechanism, and the supporting and fastening mechanism includes a roller; The top end of the rod is fixedly connected with a clamping limit rod, the front surface of the protective shell is fixedly connected with a chute, the inside of the chute is embedded with a rack, and the inner wall of the clamping limit rod is connected with a connecting rod. The invention can clamp plates of different thicknesses, so that the scope of application is wider. Through the collection in the collection bin, the operation is simpler, the labor burden of the staff is reduced, and the work progress is accelerated. The plates are stored separately for easier access.
Description
技术领域technical field
本发明涉及剪板机技术领域,具体为一种新型高精度的液压闸式剪板机。The invention relates to the technical field of shearing machines, in particular to a novel high-precision hydraulic gate shearing machine.
背景技术Background technique
闸式剪板机采用框架结构采用全钢焊接;四角八面直角导轨、精度高,刚性好,并采用液压预紧。液压系统采用二通插装集成阀;整个系统采用;并可配置行程数显、光电保护装置及移动工作台闸式剪板机具有上滑块及下液压垫的双动功能,工作压力行程可在规定范围内按工艺要求调节,操作简便采用按钮集中控制。The gate type shearing machine adopts the frame structure of all-steel welding; the four-corner and eight-sided right-angle guide rails have high precision and good rigidity, and are hydraulically preloaded. The hydraulic system adopts a two-way cartridge integrated valve; the whole system adopts; and can be equipped with digital display of stroke, photoelectric protection device and mobile worktable. It can be adjusted according to the process requirements within the specified range, and the operation is easy to use centralized control of buttons.
在现有技术中,剪板机在加工处理时,代加工的板件长度过程,在加工时,一端固定会并不能很牢固的固定,导致剪切时出现晃动,直接的影响的板材的剪切质量,另外板材剪断后末端的板材掉落到地面上会存在一定的危险。In the prior art, during the processing of the shearing machine, the length of the plate to be processed may not be fixed firmly at one end during processing, resulting in shaking during shearing, which directly affects the shearing of the plate. In addition, there is a certain danger that the board at the end of the board will fall to the ground after the board is cut.
发明内容SUMMARY OF THE INVENTION
本发明的目的在于提供一种新型高精度的液压闸式剪板机,以解决上述背景技术中提出的板材加工晃动影响剪切质量的问题。The purpose of the present invention is to provide a new type of high-precision hydraulic gate type shearing machine, so as to solve the problem in the above-mentioned background technology that the plate processing shaking affects the shearing quality.
为实现上述目的,本发明提供如下技术方案:一种新型高精度的液压闸式剪板机,包括剪板机本体,所述剪板机本体包括保护壳,所述保护壳的正面固定连接有防护板,所述保护壳的底端固定连接有底座,所述保护壳的内部连接有支撑紧固机构,所述支撑紧固机构包括滚筒,所述保护壳的正面连接有调节杆,所述调节杆的顶端固定连接有夹持限位杆,所述保护壳的正面固定连接有滑槽,所述滑槽的内部嵌入有齿条,所述夹持限位杆的内壁连接有连接杆,所述连接杆的外壁固定连接有齿轮筒,所述保护壳的背面固定连接有收集机构,所述收集机构包括导向槽,所述保护壳的背面固定连接有导向槽,所述保护壳的背面固定连接有活动槽,所述活动槽的顶端连接有收集仓,所述收集仓的内部固定连接有卡槽,所述卡槽的内部嵌入连接有分隔板,所述收集仓的一端固定连接有转动杆,所述转动杆的外壁连接有支撑缓冲板,所述收集仓的顶端固定连接有支撑块。In order to achieve the above purpose, the present invention provides the following technical solutions: a new type of high-precision hydraulic gate shearing machine, including a shearing machine body, the shearing machine body includes a protective shell, the front of the protective shell is fixedly connected with a protective plate, the bottom end of the protective shell is fixedly connected with a base, the inner part of the protective shell is connected with a supporting and fastening mechanism, the supporting and fastening mechanism comprises a roller, the front of the protective shell is connected with an adjusting rod, the The top end of the adjustment rod is fixedly connected with a clamping limit rod, the front of the protective shell is fixedly connected with a chute, the inside of the chute is embedded with a rack, and the inner wall of the clamping limit rod is connected with a connecting rod, The outer wall of the connecting rod is fixedly connected with a gear cylinder, the back of the protective shell is fixedly connected with a collecting mechanism, the collecting mechanism includes a guide groove, the back of the protective shell is fixedly connected with a guiding groove, and the back of the protective shell is fixedly connected with a guide groove. A movable slot is fixedly connected, the top of the movable slot is connected with a collection bin, the interior of the collection bin is fixedly connected with a card slot, the interior of the card slot is embedded and connected with a partition plate, and one end of the collection bin is fixedly connected There is a rotating rod, the outer wall of the rotating rod is connected with a support buffer plate, and the top end of the collecting bin is fixedly connected with a support block.
优选的,所述滚筒通过转动轴的连接,所述滚筒的两端直径大于中端的直径。Preferably, the drum is connected by a rotating shaft, and the diameters of both ends of the drum are larger than the diameter of the middle end.
优选的,所述夹持限位杆设置成L形状,所述调节杆的外部开设有外螺纹,所述保护壳的顶端固定连接有套环,所述调节杆贯穿套环的内部延伸至夹持限位杆的底端。Preferably, the clamping limit rod is set in an L shape, the outside of the adjustment rod is provided with an external thread, the top end of the protective shell is fixedly connected with a collar, and the adjustment rod extends through the interior of the collar to the clamp Hold the bottom end of the limit lever.
优选的,所述连接杆上开设有外螺纹,所述齿轮筒的内部中空,所述齿轮筒的两端开设有内螺纹。Preferably, the connecting rod is provided with external threads, the inside of the gear barrel is hollow, and the two ends of the gear barrel are provided with internal threads.
优选的,所述转动杆和支撑缓冲板活动连接,所述支撑块底端固定连接有弹簧,且弹簧的一端固定连接在支撑块上,弹簧的另外一端固定连接在支撑缓冲板上。Preferably, the rotating rod is movably connected to the support buffer plate, the bottom end of the support block is fixedly connected with a spring, one end of the spring is fixedly connected to the support block, and the other end of the spring is fixedly connected to the support buffer plate.
优选的,所述卡槽等距开设在收集仓的内部,所述收集仓的底端固定连接有减震棉。Preferably, the card slots are equidistantly opened inside the collection bin, and shock-absorbing cotton is fixedly connected to the bottom end of the collection bin.
与现有技术相比,本发明的有益效果是:Compared with the prior art, the beneficial effects of the present invention are:
1、该新型高精度的液压闸式剪板机在进行加工期间,通过夹持限位杆对板材的末端进行固定,加大了操作的安全性,另外在固定的同时使得板材加工更加的精准,同时通过夹持限位杆和滚筒之间的相互配合,使的能对不同厚度的板材进行夹持,使得适用范围更加的广泛。1. During the processing of this new type of high-precision hydraulic gate shearing machine, the end of the plate is fixed by clamping the limit rod, which increases the safety of operation, and makes the plate processing more accurate while fixing. At the same time, through the mutual cooperation between the clamping limit rod and the roller, the plate can be clamped with different thicknesses, so that the scope of application is more extensive.
2、该新型高精度的液压闸式剪板机在对加工后的板材进行收集,在收集时能是对掉落的板材进行缓冲,避免了板材的边角和地面的直接接触导致边角的磨损,使得板材加工更加的完善,另外在转移时,通过收集仓的收集,操作更加的简单,减轻了工作人员的劳动负担,加快了工作进度,另外在进行收集时,能对板块进行分开存放,在拿取时更加的便捷。2. The new type of high-precision hydraulic gate shears collects the processed plates, and can buffer the falling plates during collection, avoiding the direct contact between the corners of the plates and the ground. Wear and tear makes the plate processing more perfect. In addition, when transferring, through the collection of the collection bin, the operation is simpler, the labor burden of the staff is reduced, and the work progress is accelerated. In addition, the plates can be stored separately during collection. , which is more convenient to take.
附图说明Description of drawings
图1为本发明的正视结构示意图;Fig. 1 is the front view structure schematic diagram of the present invention;
图2为本发明滑槽和齿条的俯视结构示意图;Fig. 2 is the top-view structure schematic diagram of the chute and the rack of the present invention;
图3为本发明的侧视结构示意图;Fig. 3 is the side view structure schematic diagram of the present invention;
图4为本发明导向槽和收集仓的俯视结构示意图。FIG. 4 is a schematic top view of the structure of the guide groove and the collection bin according to the present invention.
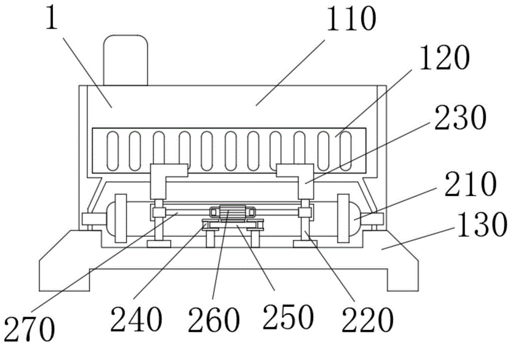
图中:1、剪板机本体;110、保护壳;120、防护板;130、底座;2、支撑紧固机构;210、滚筒;220、调节杆;230、夹持限位杆;240、滑槽;250、齿条;260、齿轮筒;270、连接杆;3、收集机构;310、导向槽;320、收集仓;330、卡槽;340、转动杆;350、支撑缓冲板;360、分隔板;370、支撑块;380、活动槽。In the figure: 1. The body of the shearing machine; 110, the protective shell; 120, the protective plate; 130, the base; 2, the supporting and fastening mechanism; 210, the roller; 220, the adjusting rod; Chute; 250, rack; 260, gear cylinder; 270, connecting rod; 3, collecting mechanism; 310, guide groove; 320, collecting bin; 330, card slot; 340, rotating rod; 350, supporting buffer plate; 360 , dividing plate; 370, support block; 380, movable groove.
具体实施方式Detailed ways
下面将结合本发明实施例中的附图,对本发明实施例中的技术方案进行清楚、完整地描述,显然,所描述的实施例仅仅是本发明一部分实施例,而不是全部的实施例。基于本发明中的实施例,本领域普通技术人员在没有做出创造性劳动前提下所获得的所有其他实施例,都属于本发明保护的范围。The technical solutions in the embodiments of the present invention will be clearly and completely described below with reference to the accompanying drawings in the embodiments of the present invention. Obviously, the described embodiments are only a part of the embodiments of the present invention, but not all of the embodiments. Based on the embodiments of the present invention, all other embodiments obtained by those of ordinary skill in the art without creative efforts shall fall within the protection scope of the present invention.
请参阅图1-4,本发明提供的一种实施例:Please refer to Figures 1-4, an embodiment provided by the present invention:
一种新型高精度的液压闸式剪板机,包括剪板机本体1,剪板机本体1包括保护壳110,保护壳110的正面固定连接有防护板120,保护壳110的底端固定连接有底座130,保护壳110的内部连接有支撑紧固机构2,支撑紧固机构2包括滚筒210,保护壳110的正面连接有调节杆220,调节杆220的顶端固定连接有夹持限位杆230,保护壳110的正面固定连接有滑槽240,滑槽240的内部嵌入有齿条250,夹持限位杆230的内壁连接有连接杆270,连接杆270的外壁固定连接有齿轮筒260,在加工时,通过夹持对板件的末端进行支撑,加大了夹持限位杆230和板件之间的连接,使得在剪切时,板件更加的稳定,避免出现晃动,进而使板件剪切精度更高。A new type of high-precision hydraulic gate shearing machine includes a shearing machine body 1, the shearing machine body 1 includes a
保护壳110的背面固定连接有收集机构3,收集机构3包括导向槽310,保护壳110的背面固定连接有导向槽310,保护壳110的背面固定连接有活动槽380,活动槽380的顶端连接有收集仓320,收集仓320的内部固定连接有卡槽330,卡槽330的内部嵌入连接有分隔板360,收集仓320的一端固定连接有转动杆340,转动杆340的外壁连接有支撑缓冲板350,收集仓320的顶端固定连接有支撑块370,在对加工后板件进行收集时,通收集仓320的收集,降低了工作人员的劳动负担,另外通过卡槽330和分隔板360之间的相互配合使得能对板件进行分开存放,具有一定功能的收纳能力。The
进一步的,滚筒210通过转动轴的连接,滚筒210的两端直径大于中端的直径,能加大对板件位置的限定。Further, the
进一步的,夹持限位杆230设置成L形状,调节杆220的外部开设有外螺纹,保护壳110的顶端固定连接有套环,调节杆220贯穿套环的内部延伸至夹持限位杆230的底端,通过转动调节杆220和套环之间的配和,使得在转动调节杆220的时候带动了夹持限位杆230升高和降低。Further, the
进一步的,连接杆270上开设有外螺纹,齿轮筒260的内部中空,齿轮筒260的两端开设有内螺纹,通过螺纹的连接,使的连接更加的紧凑,加大了连接,通过齿轮筒260的转动带动了夹持限位杆230之间的相互靠近,实现了对不同尺寸大小的板件进行夹持,通过夹持避免了剪切期间发生的一系列晃动,加大了剪切的精准度。Further, the connecting
进一步的,转动杆340和支撑缓冲板350活动连接,支撑块370底端固定连接有弹簧,且弹簧的一端固定连接在支撑块370上,弹簧的另外一端固定连接在支撑缓冲板350上,通过弹簧的作用,起到了对分隔板360复位的作用,当板件掉落到支撑缓冲板350的顶端,下压了支撑缓冲板350进而减缓了冲击力。Further, the rotating
进一步的,卡槽330等距开设在收集仓320的内部,收集仓320的底端固定连接有减震棉,起到了减震了作用,避免了板碰撞发生损伤。Further, the
工作原理:在工作时,通过将板件放置在滚筒210的顶端,通过推动板件带动了滚筒210进而到保护壳110的内部进行剪切,通过将板件放置在夹持限位杆230的内部,通过调节调节杆220,使其夹持限位杆230夹持在板件的上端,进而实现了板件的固定,这样在加工时,更加的紧固,另外当板件的宽度较小时,通过调节夹持限位杆230之间的间距,开方便工作人员对板件的夹持,在调节时,通过推动齿条250带动了齿轮筒260的转动,当齿轮筒260的转动带动了连接杆270之间的相互靠近,实现了调节,另外当板件剪切后,通过收集仓320的滑动使板件掉落到收集仓320的内部,当板件的接触到支撑缓冲板350时,在重力的作用下下压支撑缓冲板350,通过支撑缓冲板350缓冲冲击力,另外在整理时,通过将板件放置在收集仓320的内部,通过卡槽330和分隔板360之间的相互配合实现了分隔的作用。Working principle: When working, by placing the plate on the top of the
对于本领域技术人员而言,显然本发明不限于上述示范性实施例的细节,而且在不背离本发明的精神或基本特征的情况下,能够以其他的具体形式实现本发明。因此,无论从哪一点来看,均应将实施例看作是示范性的,而且是非限制性的,本发明的范围由所附权利要求而不是上述说明限定,因此旨在将落在权利要求的等同要件的含义和范围内的所有变化囊括在本发明内。不应将权利要求中的任何附图标记视为限制所涉及的权利要求。It will be apparent to those skilled in the art that the present invention is not limited to the details of the above-described exemplary embodiments, but that the present invention may be embodied in other specific forms without departing from the spirit or essential characteristics of the invention. Therefore, the embodiments are to be regarded in all respects as illustrative and not restrictive, and the scope of the invention is to be defined by the appended claims rather than the foregoing description, which are therefore intended to fall within the scope of the claims. All changes within the meaning and scope of the equivalents of , are included in the present invention. Any reference signs in the claims shall not be construed as limiting the involved claim.
Claims (6)
Priority Applications (1)
| Application Number | Priority Date | Filing Date | Title |
|---|---|---|---|
| CN202010856157.XA CN111906374A (en) | 2020-08-24 | 2020-08-24 | Novel hydraulic gate type plate shearing machine with high precision |
Applications Claiming Priority (1)
| Application Number | Priority Date | Filing Date | Title |
|---|---|---|---|
| CN202010856157.XA CN111906374A (en) | 2020-08-24 | 2020-08-24 | Novel hydraulic gate type plate shearing machine with high precision |
Publications (1)
| Publication Number | Publication Date |
|---|---|
| CN111906374A true CN111906374A (en) | 2020-11-10 |
Family
ID=73279824
Family Applications (1)
| Application Number | Title | Priority Date | Filing Date |
|---|---|---|---|
| CN202010856157.XA Pending CN111906374A (en) | 2020-08-24 | 2020-08-24 | Novel hydraulic gate type plate shearing machine with high precision |
Country Status (1)
| Country | Link |
|---|---|
| CN (1) | CN111906374A (en) |
Cited By (2)
| Publication number | Priority date | Publication date | Assignee | Title |
|---|---|---|---|---|
| CN112548187A (en) * | 2020-12-25 | 2021-03-26 | 温州桑盾信息科技有限公司 | Hinge is plate shearing machine for hinge processing convenient to maintain |
| CN114905086A (en) * | 2022-07-05 | 2022-08-16 | 长春电子科技学院 | Self-balancing metal plate shearing device and method |
Citations (5)
| Publication number | Priority date | Publication date | Assignee | Title |
|---|---|---|---|---|
| CN210059968U (en) * | 2019-05-31 | 2020-02-14 | 成都磐龙机械设备有限公司 | Auxiliary support for plate shearing machine |
| CN210208831U (en) * | 2019-07-02 | 2020-03-31 | 沈剑峰 | Plate shearing machine dust removal mechanism |
| CN210703573U (en) * | 2019-07-10 | 2020-06-09 | 重庆市一可金属制品有限公司 | High-precision hydraulic gate type plate shearing machine |
| AU2020100971A4 (en) * | 2020-06-09 | 2020-07-23 | Shenghuan Wang | Guiding mechanism of energy-saving and environment-friendly cutting device for machine manufacturing |
| CN212552027U (en) * | 2020-08-24 | 2021-02-19 | 江苏久日数控机床有限公司 | Novel hydraulic gate type plate shearing machine with high precision |
-
2020
- 2020-08-24 CN CN202010856157.XA patent/CN111906374A/en active Pending
Patent Citations (5)
| Publication number | Priority date | Publication date | Assignee | Title |
|---|---|---|---|---|
| CN210059968U (en) * | 2019-05-31 | 2020-02-14 | 成都磐龙机械设备有限公司 | Auxiliary support for plate shearing machine |
| CN210208831U (en) * | 2019-07-02 | 2020-03-31 | 沈剑峰 | Plate shearing machine dust removal mechanism |
| CN210703573U (en) * | 2019-07-10 | 2020-06-09 | 重庆市一可金属制品有限公司 | High-precision hydraulic gate type plate shearing machine |
| AU2020100971A4 (en) * | 2020-06-09 | 2020-07-23 | Shenghuan Wang | Guiding mechanism of energy-saving and environment-friendly cutting device for machine manufacturing |
| CN212552027U (en) * | 2020-08-24 | 2021-02-19 | 江苏久日数控机床有限公司 | Novel hydraulic gate type plate shearing machine with high precision |
Cited By (3)
| Publication number | Priority date | Publication date | Assignee | Title |
|---|---|---|---|---|
| CN112548187A (en) * | 2020-12-25 | 2021-03-26 | 温州桑盾信息科技有限公司 | Hinge is plate shearing machine for hinge processing convenient to maintain |
| CN112548187B (en) * | 2020-12-25 | 2024-03-08 | 温州桑盾信息科技有限公司 | Hinge processing is with plate shearing machine convenient to maintain |
| CN114905086A (en) * | 2022-07-05 | 2022-08-16 | 长春电子科技学院 | Self-balancing metal plate shearing device and method |
Similar Documents
| Publication | Publication Date | Title |
|---|---|---|
| CN102683753B (en) | Laminated battery pole piece input device and piece lamination prevention material taking mechanism | |
| CN111906374A (en) | Novel hydraulic gate type plate shearing machine with high precision | |
| CN208374333U (en) | A kind of plate shearing machine material collecting device | |
| CN117463874A (en) | A punching device for multi-station seat processing | |
| CN217393861U (en) | An easy-to-adjust mechanical shearing machine | |
| CN108115423A (en) | A kind of blade disc power source positioning structure for hole drilling tapping machine | |
| CN212552027U (en) | Novel hydraulic gate type plate shearing machine with high precision | |
| CN217990614U (en) | Punching device with waste collection function for steel pipe machining | |
| CN203529435U (en) | Automatic feeding and discharging device of printing window glass protection screen | |
| CN109346559B (en) | A device for quickly sorting battery sheets | |
| CN206405495U (en) | a shearing machine | |
| CN217166299U (en) | Auxiliary thread rolling device for bolt | |
| CN116945675A (en) | A composite rolling machine for battery pole pieces | |
| CN211915277U (en) | Plate bending machine | |
| CN211162050U (en) | Punching equipment for sheet metal part machining | |
| CN221833095U (en) | A mechanical design, manufacturing and processing equipment | |
| CN207154594U (en) | Sheet stock pressing equipment and its feed arrangement | |
| CN220497562U (en) | Feeding mechanism for plate bending machine | |
| CN223129459U (en) | Composite board processing cutting device | |
| CN215434714U (en) | Blanking mechanism of injection molding product | |
| CN217533744U (en) | Transport case of steel processing usefulness | |
| CN215549277U (en) | Automatic die cutting machine | |
| CN210968258U (en) | A high-precision CNC bearing outer ring groove grinder | |
| CN220698966U (en) | Feeding device for cutting of roller shaft | |
| CN217942025U (en) | Plate shearing machine mechanism of rectifying for steel construction production |
Legal Events
| Date | Code | Title | Description |
|---|---|---|---|
| PB01 | Publication | ||
| PB01 | Publication | ||
| SE01 | Entry into force of request for substantive examination | ||
| SE01 | Entry into force of request for substantive examination | ||
| WD01 | Invention patent application deemed withdrawn after publication | ||
| WD01 | Invention patent application deemed withdrawn after publication |
Application publication date: 20201110 |
