CN111904155A - A portable environment design workbench - Google Patents
A portable environment design workbench Download PDFInfo
- Publication number
- CN111904155A CN111904155A CN202010772191.9A CN202010772191A CN111904155A CN 111904155 A CN111904155 A CN 111904155A CN 202010772191 A CN202010772191 A CN 202010772191A CN 111904155 A CN111904155 A CN 111904155A
- Authority
- CN
- China
- Prior art keywords
- wall
- fixedly connected
- rod
- movable
- connecting plate
- Prior art date
- Legal status (The legal status is an assumption and is not a legal conclusion. Google has not performed a legal analysis and makes no representation as to the accuracy of the status listed.)
- Pending
Links
- 230000007246 mechanism Effects 0.000 claims abstract description 32
- 241000190070 Sarracenia purpurea Species 0.000 claims description 25
- 238000010422 painting Methods 0.000 claims 6
- 230000000694 effects Effects 0.000 claims 1
- 238000009434 installation Methods 0.000 description 25
- 238000000034 method Methods 0.000 description 15
- 230000008569 process Effects 0.000 description 14
- 230000007613 environmental effect Effects 0.000 description 13
- 238000010586 diagram Methods 0.000 description 7
- 230000009286 beneficial effect Effects 0.000 description 1
- 238000010276 construction Methods 0.000 description 1
- 238000012986 modification Methods 0.000 description 1
- 230000004048 modification Effects 0.000 description 1
Images
Classifications
-
- A—HUMAN NECESSITIES
- A47—FURNITURE; DOMESTIC ARTICLES OR APPLIANCES; COFFEE MILLS; SPICE MILLS; SUCTION CLEANERS IN GENERAL
- A47B—TABLES; DESKS; OFFICE FURNITURE; CABINETS; DRAWERS; GENERAL DETAILS OF FURNITURE
- A47B27/00—Drawing desks or tables; Carriers for drawing-boards
- A47B27/02—Adjustable drawing tables without balancing means
-
- A—HUMAN NECESSITIES
- A47—FURNITURE; DOMESTIC ARTICLES OR APPLIANCES; COFFEE MILLS; SPICE MILLS; SUCTION CLEANERS IN GENERAL
- A47B—TABLES; DESKS; OFFICE FURNITURE; CABINETS; DRAWERS; GENERAL DETAILS OF FURNITURE
- A47B27/00—Drawing desks or tables; Carriers for drawing-boards
- A47B27/14—Adjustable underframes
-
- A—HUMAN NECESSITIES
- A47—FURNITURE; DOMESTIC ARTICLES OR APPLIANCES; COFFEE MILLS; SPICE MILLS; SUCTION CLEANERS IN GENERAL
- A47B—TABLES; DESKS; OFFICE FURNITURE; CABINETS; DRAWERS; GENERAL DETAILS OF FURNITURE
- A47B3/00—Folding or stowable tables
- A47B3/08—Folding or stowable tables with legs pivoted to top or underframe
- A47B3/091—Folding or stowable tables with legs pivoted to top or underframe with struts supporting the legs
-
- B—PERFORMING OPERATIONS; TRANSPORTING
- B43—WRITING OR DRAWING IMPLEMENTS; BUREAU ACCESSORIES
- B43L—ARTICLES FOR WRITING OR DRAWING UPON; WRITING OR DRAWING AIDS; ACCESSORIES FOR WRITING OR DRAWING
- B43L5/00—Drawing boards
- B43L5/005—Drawing boards with magnetic action
-
- B—PERFORMING OPERATIONS; TRANSPORTING
- B43—WRITING OR DRAWING IMPLEMENTS; BUREAU ACCESSORIES
- B43L—ARTICLES FOR WRITING OR DRAWING UPON; WRITING OR DRAWING AIDS; ACCESSORIES FOR WRITING OR DRAWING
- B43L5/00—Drawing boards
- B43L5/02—Drawing boards having means for clamping sheets of paper thereto
- B43L5/022—Drawing boards having means for clamping sheets of paper thereto with magnets
-
- A—HUMAN NECESSITIES
- A47—FURNITURE; DOMESTIC ARTICLES OR APPLIANCES; COFFEE MILLS; SPICE MILLS; SUCTION CLEANERS IN GENERAL
- A47B—TABLES; DESKS; OFFICE FURNITURE; CABINETS; DRAWERS; GENERAL DETAILS OF FURNITURE
- A47B2200/00—General construction of tables or desks
- A47B2200/0035—Tables or desks with features relating to adjustability or folding
- A47B2200/004—Top adjustment
- A47B2200/0042—Height and inclination adjustable desktop, either separately or simultaneously
Landscapes
- Tables And Desks Characterized By Structural Shape (AREA)
Abstract
本发明公开了一种便携式环境设计工作台,包括装置底座、伸缩杆、底部活动固定杆和连接板,装置底座的顶部固定连接有伸缩杆,伸缩杆的顶部固定连接有连接板,伸缩杆的底部一侧固定连接有底部活动固定杆,伸缩杆的顶部一侧固定连接有顶部活动固定杆,顶部活动固定杆的一端贯穿连接有紧固螺栓,连接板的正面中间部位固定连接有卡槽,卡槽方便了工作人员安装便捷拉杆,锁止万向轮提高了装置主体的便捷性,磁性固定块提高了装置主体的稳定性,伸缩便携机构提高了装置主体的便携性,方便了工作人员携带装置,临时置物机构方便了工作人员工作过程中存放物品,提高了装置主体的功能性,适用于设计工作台的使用,在未来具有广泛的发展前景。
The invention discloses a portable environment design workbench, comprising a device base, a telescopic rod, a bottom movable fixed rod and a connecting plate. The top of the device base is fixedly connected with a telescopic rod, and the top of the telescopic rod is fixedly connected with a connecting plate. The bottom side is fixedly connected with a bottom movable fixing rod, the top side of the telescopic rod is fixedly connected with a top movable fixing rod, one end of the top movable fixing rod is connected with a fastening bolt, and the front middle part of the connecting plate is fixedly connected with a card slot. The card slot is convenient for the staff to install the convenient pull rod, the locking universal wheel improves the convenience of the main body of the device, the magnetic fixing block improves the stability of the main body of the device, and the telescopic portable mechanism improves the portability of the main body of the device, which is convenient for the staff to carry The device and the temporary storage mechanism are convenient for staff to store items during work, improve the functionality of the main body of the device, are suitable for the use of design workbenches, and have broad development prospects in the future.
Description
技术领域technical field
本发明属于工作台技术领域,具体为一种便携式环境设计工作台。The invention belongs to the technical field of workbenches, in particular to a portable environment design workbench.
背景技术Background technique
环境设计(Environment design),属艺术学学科门类的设计学类。是指对于某一或一些主体的客观环境,以设计的手法进行整合创造的实用艺术。是一种新兴的设计门类,包含的学科相当广泛,包括建筑学、城市规划学、人类工程学、环境心理学、设计美学、社会学、文学、史学、考古学、宗教学、环境生态学、环境行为学等学科。主要由:建筑设计,室内设 计、公共艺术设计、景观设计等内容组成。Environment design is a design category of art disciplines. It refers to the practical art of integrating and creating the objective environment of one or some subjects by means of design. It is an emerging design category that covers a wide range of disciplines, including architecture , urban planning , ergonomics , environmental psychology , design aesthetics , sociology, literature, history , archaeology, religion, environmental ecology , Environmental Behavior and other disciplines. Mainly consists of: architectural design , interior design , public art design , landscape design and other contents.
现有的环境设计工作台便携性不佳,工作人员不方便对工作台进行携带,现有的环境设计用工作台没有设置临时置物机构,然而相关工作人员在工作过程中往往会携带一些物品,现有的环境设计工作台灵活性不佳,在使用过程中相关工作人员无法根据实际情况调节画板的角度,给工作人员的绘图工作带来了不便。The existing environmental design workbench is not portable, and it is inconvenient for staff to carry the workbench. The existing environmental design workbench does not have a temporary storage mechanism, but the relevant staff often carry some items during the work process. The existing environment design workbench has poor flexibility, and the relevant staff cannot adjust the angle of the drawing board according to the actual situation during use, which brings inconvenience to the staff's drawing work.
发明内容SUMMARY OF THE INVENTION
本发明的目的在于:为了解决(便携性不佳、没有置物架、画板角度不可调)的问题,提供一种便携式环境设计工作台。The purpose of the present invention is to provide a portable environment design workbench in order to solve the problems (poor portability, no shelf, and inability to adjust the angle of the drawing board).
本发明采用的技术方案如下:一种便携式环境设计工作台,包括装置底座、伸缩杆、底部活动固定杆和连接板,所述装置底座的顶部固定连接有伸缩杆,所述伸缩杆的底部外壁与装置底座的顶部外壁相连,所述伸缩杆的顶部固定连接有连接板,所述连接板的底部外壁与伸缩杆的顶部外壁相连,所述伸缩杆的底部一侧固定连接有底部活动固定杆,所述底部活动固定杆的底部外壁与装置底座的顶部外壁相连;The technical scheme adopted in the present invention is as follows: a portable environment design workbench, comprising a device base, a telescopic rod, a bottom movable fixed rod and a connecting plate, the top of the device base is fixedly connected with a telescopic rod, and the bottom outer wall of the telescopic rod is It is connected with the top outer wall of the device base, the top of the telescopic rod is fixedly connected with a connecting plate, the bottom outer wall of the connecting plate is connected with the top outer wall of the telescopic rod, and the bottom side of the telescopic rod is fixedly connected with a bottom movable fixing rod , the bottom outer wall of the bottom movable fixing rod is connected with the top outer wall of the device base;
所述伸缩杆的顶部一侧固定连接有顶部活动固定杆,所述顶部活动固定杆的顶部外壁与连接板的底部外壁相连,所述顶部活动固定杆的一端贯穿连接有紧固螺栓,所述紧固螺栓的外壁与顶部活动固定杆的内壁相连,所述连接板的正面中间部位固定连接有卡槽,所述卡槽的外壁与连接板的外壁相连,所述卡槽的内部固定连接有便捷拉杆,所述便捷拉杆的外壁与卡槽的内壁相连;The top side of the telescopic rod is fixedly connected with a top movable fixing rod, the top outer wall of the top movable fixing rod is connected with the bottom outer wall of the connecting plate, and one end of the top movable fixing rod is connected with a fastening bolt. The outer wall of the fastening bolt is connected with the inner wall of the top movable fixing rod, the front middle part of the connecting plate is fixedly connected with a card slot, the outer wall of the card slot is connected with the outer wall of the connecting plate, and the inside of the card slot is fixedly connected with a convenient pull rod, the outer wall of the convenient pull rod is connected with the inner wall of the card slot;
所述连接板的另一侧固定连接有安装槽,所述安装槽的外壁与连接板的外壁相连,所述安装槽的内部固定连接有异型卡块,所述异型卡块的外壁与安装槽的内壁相连,所述安装槽的顶部嵌入连接有固定栓,所述固定栓的外壁与安装槽的内壁相连,所述异型卡块的另一侧固定连接有临时置物板,所述临时置物板的一侧外壁与异型卡块的外壁相连,所述临时置物板的底部固定连接有稿纸放置架,所述稿纸放置架的外壁与临时置物板的内壁相连,所述临时置物板的表面一侧固定连接有画笔卡槽,所述画笔卡槽的外壁与临时置物板的内壁相连,所述画笔卡槽的另一侧固定连接有大物件放置槽,所述大物件放置槽的外壁与临时置物板的内壁相连,所述大物件放置槽的前面固定连接有水杯卡槽,所述水杯卡槽的外壁与临时置物板的内壁相连;The other side of the connecting plate is fixedly connected with an installation groove, the outer wall of the installation groove is connected with the outer wall of the connecting plate, the inside of the installation groove is fixedly connected with a special-shaped block, and the outer wall of the special-shaped block is connected with the installation groove. The top of the installation slot is embedded and connected with a fixing bolt, the outer wall of the fixing bolt is connected with the inner wall of the installation slot, and the other side of the special-shaped block is fixedly connected with a temporary storage board. The temporary storage board The outer wall of one side is connected with the outer wall of the special-shaped block, the bottom of the temporary storage board is fixedly connected with a manuscript paper placement rack, the outer wall of the manuscript paper placement rack is connected with the inner wall of the temporary storage board, and the surface side of the temporary storage board is A brush card slot is fixedly connected, the outer wall of the brush card slot is connected with the inner wall of the temporary storage board, the other side of the brush card slot is fixedly connected with a large object storage slot, and the outer wall of the large object storage slot is connected with the temporary storage. The inner walls of the boards are connected, the front of the large object placement slot is fixedly connected with a water cup clamping slot, and the outer wall of the water cup clamping slot is connected with the inner wall of the temporary storage board;
所述连接板的顶部固定连接有活动槽,所述活动槽的底部外壁与底连接板的顶部外壁相连,所述活动槽的内部底部一侧活动连接有定位杆,所述定位杆的一侧外壁与活动槽的内壁相连,所述活动槽的内部顶部另一侧固定连接有活动座,所述活动座的外壁与活动槽的内壁相连,所述活动座的一侧活动连接有画板主体,所述画板主体的一端外壁与活动座的一侧外壁相连,所述画板主体的表面固定连接有磁性面,所述磁性面的底部外壁与画板主体的表面外壁相连,所述画板主体的底部固定连接有定位孔,所述定位孔的外壁与画板主体的底部内壁相连,所述画板主体的一端固定连接有调节拉块,所述调节拉块的外壁与画板主体的外壁相连。The top of the connecting plate is fixedly connected with a movable groove, the bottom outer wall of the movable groove is connected with the top outer wall of the bottom connecting plate, the inner bottom side of the movable groove is movably connected with a positioning rod, and one side of the positioning rod is movably connected. The outer wall is connected with the inner wall of the movable slot, the other side of the inner top of the movable slot is fixedly connected with a movable seat, the outer wall of the movable seat is connected with the inner wall of the movable slot, and one side of the movable seat is movably connected with the drawing board main body, One end outer wall of the drawing board main body is connected with one side outer wall of the movable seat, the surface of the drawing board main body is fixedly connected with a magnetic surface, the bottom outer wall of the magnetic surface is connected with the surface outer wall of the drawing board main body, and the bottom of the drawing board main body is fixed A positioning hole is connected, the outer wall of the positioning hole is connected with the bottom inner wall of the drawing board main body, and one end of the drawing board main body is fixedly connected with an adjustment pull block, and the outer wall of the adjustment pull block is connected with the outer wall of the drawing board main body.
优选的,所述装置底座的底部两侧固定连接有锁止万向轮,所述锁止万向轮的顶部外壁与装置底座的底部外壁相连。Preferably, locking universal wheels are fixedly connected on both sides of the bottom of the device base, and the top outer wall of the locking universal wheel is connected with the bottom outer wall of the device base.
优选的,所述装置底座的顶部两侧固定连接有磁性固定块,所述磁性固定块的底部外壁与装置底座的顶部外壁相连。Preferably, magnetic fixing blocks are fixedly connected on both sides of the top of the device base, and the bottom outer wall of the magnetic fixing block is connected with the top outer wall of the device base.
优选的,所述固定栓的顶端固定连接有旋转块,所述旋转块的底部外壁与固定栓的顶端外壁相连。Preferably, the top end of the fixing bolt is fixedly connected with a rotating block, and the bottom outer wall of the rotating block is connected with the top outer wall of the fixing bolt.
优选的,所述水杯卡槽的内部底部固定连接有橡胶防滑垫,所述橡胶防滑垫的外壁与水杯卡槽的内壁相连。Preferably, a rubber anti-skid pad is fixedly connected to the inner bottom of the water cup slot, and the outer wall of the rubber anti-slip pad is connected to the inner wall of the water cup slot.
优选的,所述画板主体的表面一端活动连接有磁性稿纸压杆,所述磁性稿纸压杆的一端底部外壁与画板主体的内壁相连。Preferably, one end of the surface of the drawing board main body is movably connected with a magnetic manuscript paper pressing rod, and the bottom outer wall of one end of the magnetic manuscript paper pressing rod is connected with the inner wall of the drawing board main body.
优选的,所述装置底座顶部的伸缩杆,伸缩杆顶部的连接板,伸缩杆底部一侧的底部活动固定杆,伸缩杆顶部一侧的顶部活动固定杆,顶部活动固定杆一端的紧固螺栓,连接板正面中间部位的卡槽,卡槽内部的便捷拉杆共同组成伸缩便携机构。Preferably, the telescopic rod on the top of the base of the device, the connecting plate on the top of the telescopic rod, the bottom movable fixed rod on the bottom side of the telescopic rod, the top movable fixed rod on the top side of the telescopic rod, and the fastening bolt at one end of the top movable fixed rod , The card slot in the middle part of the front of the connecting plate and the convenient pull rod inside the card slot together form a telescopic portable mechanism.
优选的,所述连接板另一侧的安装槽,安装槽内部的异型卡块,安装槽顶部的固定栓,异型卡块另一侧的临时置物板,临时置物板底部的稿纸放置架,临时置物板表面一侧的画笔卡槽,画笔卡槽另一侧的大物件放置槽,大物件放置槽前面的水杯卡槽共同组成临时置物机构。Preferably, the installation groove on the other side of the connecting plate, the special-shaped clamping block inside the installation groove, the fixing bolt at the top of the installation groove, the temporary storage board on the other side of the special-shaped clamping block, the manuscript paper placing rack at the bottom of the temporary storage board, the temporary storage board The brush card slot on one side of the surface of the storage board, the large object storage slot on the other side of the brush card slot, and the water cup slot in front of the large object storage slot together form a temporary storage mechanism.
优选的,所述连接板顶部的活动槽,活动槽内部底部一侧的定位杆,活动槽内部顶部另一侧的活动座,活动座一侧的画板主体,画板主体表面的磁性面,画板主体底部的定位孔共同组成可调绘图机构。Preferably, the movable groove on the top of the connecting plate, the positioning rod on one side of the bottom of the movable groove, the movable seat on the other side of the top of the movable groove, the main body of the drawing board on one side of the movable seat, the magnetic surface on the surface of the main body of the drawing board, the main body of the drawing board The positioning holes at the bottom together form an adjustable drawing mechanism.
综上所述,由于采用了上述技术方案,本发明的有益效果是:To sum up, due to the adoption of the above-mentioned technical solutions, the beneficial effects of the present invention are:
1、本发明中,装置底座顶部的伸缩杆,伸缩杆顶部的连接板,伸缩杆底部一侧的底部活动固定杆,伸缩杆顶部一侧的顶部活动固定杆,顶部活动固定杆一端的紧固螺栓,连接板正面中间部位的卡槽,卡槽内部的便捷拉杆共同组成伸缩便携机构,现有的环境设计工作台便携性不佳,工作人员不方便对工作台进行携带,通过设置伸缩便携机构,当工作人员需要将装置转移至较远的地方时,工作人员可先将底部活动固定杆和顶部活动固定杆一端的紧固螺栓旋出,紧固螺栓旋出后工作人员可将底部活动固定杆和顶部活动固定杆向两侧拉,底部活动固定杆和顶部活动固定杆向两侧拉处后,工作人员可将连接板向下压,在将连接板向下压的过程中,伸缩杆会顶部和底部会逐渐靠拢,直至磁性固定块吸附在一起,完成了装置的折叠后,工作人员将便捷拉杆插入卡槽中即可轻松的提起装置,伸缩便携机构提高了装置主体的便携性,方便了工作人员携带装置。1. In the present invention, the telescopic rod on the top of the base of the device, the connecting plate on the top of the telescopic rod, the bottom movable fixed rod on the bottom side of the telescopic rod, the top movable fixed rod on the top side of the telescopic rod, and the fastening of one end of the top movable fixed rod The bolt, the card slot in the middle part of the front of the connecting plate, and the convenient pull rod inside the card slot together form a telescopic portable mechanism. The existing environmental design workbench is not portable, and it is inconvenient for the staff to carry the workbench. By setting a telescopic portable mechanism , when the staff needs to transfer the device to a farther place, the staff can first unscrew the fastening bolts at one end of the bottom movable fixing rod and the top movable fixing rod. After the fastening bolts are unscrewed, the staff can fix the bottom movable The rod and the top movable fixed rod are pulled to both sides, and the bottom movable fixed rod and the top movable fixed rod are pulled to both sides, and the staff can press the connecting plate down. The top and bottom will gradually move closer together until the magnetic fixing blocks are absorbed together. After the device is folded, the staff can easily lift the device by inserting the convenient lever into the card slot. The telescopic portable mechanism improves the portability of the device body. It is convenient for the staff to carry the device.
2、本发明中,连接板另一侧的安装槽,安装槽内部的异型卡块,安装槽顶部的固定栓,异型卡块另一侧的临时置物板,临时置物板底部的稿纸放置架,临时置物板表面一侧的画笔卡槽,画笔卡槽另一侧的大物件放置槽,大物件放置槽前面的水杯卡槽共同组成临时置物机构,现有的环境设计用工作台没有设置临时置物机构,然而相关工作人员在工作过程中往往会携带一些物品,通过设置临时置物机构,临时置物板通过异型卡块和固定栓安装在安装槽中,工作人员可根据实际的工作需求来安装或拆卸临时置物板,临时置物板表面上设有大物件放置槽、画笔卡槽和水杯卡槽等置物槽,工作人员在工作过程中可将相关的物品临时放置在临时置物板表面对应的置物槽上,临时置物机构方便了工作人员工作过程中存放物品,提高了装置主体的功能性。2. In the present invention, the installation groove on the other side of the connecting plate, the special-shaped block inside the installation groove, the fixing bolt at the top of the installation groove, the temporary storage board on the other side of the special-shaped block, and the manuscript paper storage rack at the bottom of the temporary storage board, The brush card slot on the surface of the temporary storage board, the large object storage slot on the other side of the brush card slot, and the water cup slot in front of the large object storage slot together form a temporary storage mechanism. The existing workbench for environmental design is not provided with temporary storage. However, relevant staff often carry some items during the work process. By setting up a temporary storage mechanism, the temporary storage board is installed in the installation slot through special-shaped blocks and fixing bolts, and the staff can install or remove according to actual work needs. Temporary storage board. The surface of the temporary storage board is provided with storage slots such as large object storage slot, brush card slot and water cup slot. During the working process, the staff can temporarily place related items on the storage slot corresponding to the surface of the temporary storage board. , the temporary storage mechanism facilitates the staff to store items during the work process, and improves the functionality of the main body of the device.
3、本发明中,连接板顶部的活动槽,活动槽内部底部一侧的定位杆,活动槽内部顶部另一侧的活动座,活动座一侧的画板主体,画板主体表面的磁性面,画板主体底部的定位孔共同组成可调绘图机构,现有的环境设计工作台灵活性不佳,在使用过程中相关工作人员无法根据实际情况调节画板的角度,给工作人员的绘图工作带来了不便,通过设置可调绘图机构,在相关工作人员开始设计绘图前,工作人员可将画板主体拉起,待画板主体拉至合适位置时,再拉起定位杆,使定位杆的一端插入画板主体底部的定位孔中,画板主体底部设有多个定位孔,工作人员可根据实际需求来选择定位孔,可调绘图机构使工作人员可根据实际的工作需求来调节画板主体的角度,给相关工作人员的工作带来了便捷,提高了相关工作人员的工作效率。3. In the present invention, the movable groove on the top of the connecting plate, the positioning rod on one side of the bottom of the movable groove, the movable seat on the other side of the inner top of the movable groove, the main body of the drawing board on one side of the movable seat, the magnetic surface of the main surface of the drawing board, the drawing board The positioning holes at the bottom of the main body together form an adjustable drawing mechanism. The existing environmental design workbench has poor flexibility. During the use process, the relevant staff cannot adjust the angle of the drawing board according to the actual situation, which brings inconvenience to the staff's drawing work. , By setting the adjustable drawing mechanism, before the relevant staff starts to design and draw, the staff can pull up the main body of the drawing board, and when the main body of the drawing board is pulled to a suitable position, then pull up the positioning rod, so that one end of the positioning rod is inserted into the bottom of the main body of the drawing board. Among the positioning holes in the drawing board, there are multiple positioning holes at the bottom of the main body of the drawing board. The staff can choose the positioning holes according to the actual needs. The adjustable drawing mechanism enables the staff to adjust the angle of the main body of the drawing board according to the actual work needs. The work brings convenience and improves the work efficiency of the relevant staff.
4、本发明中,装置底座的顶部两侧固定连接有磁性固定块,磁性固定块的底部外壁与装置底座的顶部外壁相连,通过设置磁性固定块,在工作人员将装置主体折叠后,装置顶部和底部的磁性固定块可相互吸附将连接板和装置底座吸附在一起,防止在工作人员提起装置时连接板与装置底座分离,提高了装置主体的稳定性。4. In the present invention, magnetic fixing blocks are fixedly connected on both sides of the top of the device base, and the bottom outer wall of the magnetic fixing block is connected with the top outer wall of the device base. The magnetic fixing block at the bottom can attract each other to adsorb the connecting plate and the base of the device together, preventing the connecting plate and the base of the device from being separated when the staff lifts the device, and improving the stability of the main body of the device.
5、本发明中,画板主体的表面一端活动连接有磁性稿纸压杆,磁性稿纸压杆的一端底部外壁与画板主体的内壁相连,现有的环境设计用工作台表面没有设置稿纸压杆,导致工作人员在作设计图时还需按住稿纸,通过设置磁性稿纸压杆,画板主体的表面为磁性面,当相关工作人员将稿纸放在磁性面上后,工作人员可将磁性稿纸压杆压在磁性面上,这样即可将稿纸固定,防止了工作人员在作图的过程中稿纸移动,提高了装置主体的实用性。5. In the present invention, one end of the surface of the main body of the drawing board is movably connected with a magnetic manuscript paper pressing rod, and the bottom outer wall of one end of the magnetic manuscript paper pressing rod is connected with the inner wall of the main body of the drawing board. The staff also needs to hold down the manuscript paper when making the design drawings. By setting the magnetic manuscript paper pressing rod, the surface of the main body of the drawing board is a magnetic surface. When the relevant staff puts the manuscript paper on the magnetic surface, the staff can press the magnetic manuscript paper pressing rod. On the magnetic surface, the manuscript paper can be fixed in this way, which prevents the staff from moving the manuscript paper during the drawing process, and improves the practicability of the main body of the device.
附图说明Description of drawings
图1为本发明的整体结构示意图;Fig. 1 is the overall structure schematic diagram of the present invention;
图2为本发明的整体折叠状态的结构示意图;2 is a schematic structural diagram of the overall folded state of the present invention;
图3为本发明的画板主体的侧面剖面结构示意图;Fig. 3 is the side sectional structure schematic diagram of the drawing board main body of the present invention;
图4为本发明的临时置物板的俯视剖面结构示意图;4 is a schematic top view sectional structure diagram of the temporary storage board of the present invention;
图5为本发明的A处放大结构示意图;Fig. 5 is the enlarged structural schematic diagram of A place of the present invention;
图6为本发明的B处放大结构示意图;Fig. 6 is the enlarged schematic diagram of the B place of the present invention;
图7为本发明的C处放大结构示意图。FIG. 7 is a schematic diagram of the enlarged structure of the position C of the present invention.
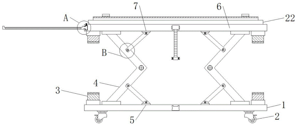
图中标记:1、装置底座,2、锁止万向轮,3、磁性固定块,4、伸缩杆,5、底部活动固定杆,6、连接板,7、顶部活动固定杆,8、卡槽,9、便捷拉杆,10、调节拉块,11、紧固螺栓,12、安装槽,13、固定栓,14、旋转块,15、异型卡块,16、临时置物板,17、稿纸放置架,18、大物件放置槽,19、画笔卡槽,20、水杯卡槽,21、橡胶防滑垫,22、活动槽,23、定位杆,24、活动座,25、画板主体,26、定位孔,27、磁性面,28、磁性稿纸压杆。Markings in the picture: 1. Device base, 2. Locking universal wheel, 3. Magnetic fixing block, 4. Telescopic rod, 5. Bottom movable fixing rod, 6. Connecting plate, 7. Top movable fixing rod, 8. Card Slot, 9, convenient pull rod, 10, adjusting pull block, 11, fastening bolt, 12, installation slot, 13, fixing bolt, 14, rotating block, 15, special-shaped clamping block, 16, temporary storage board, 17, manuscript paper placement Rack, 18, Large object placement slot, 19, Brush slot, 20, Water cup slot, 21, Rubber anti-skid pad, 22, Active slot, 23, Positioning rod, 24, Active seat, 25, Drawing board body, 26, Positioning Hole, 27, magnetic surface, 28, magnetic paper press rod.
具体实施方式Detailed ways
为了使本发明的目的、技术方案及优点更加清楚明白,以下结合附图及实施例,对本发明进行进一步详细说明。应当理解,此处所描述的具体实施例仅用以解释本发明,并不用于限定本发明。In order to make the objectives, technical solutions and advantages of the present invention clearer, the present invention will be further described in detail below with reference to the accompanying drawings and embodiments. It should be understood that the specific embodiments described herein are only used to explain the present invention, but not to limit the present invention.
在本发明的描述中,需要说明的是,术语“中心”、“上”、“下”、“左”、“右”、“竖直”、“水平”、“内”、“外”等指示的方位或位置关系为基于附图所示的方位或位置关系,仅是为了便于描述本发明和简化描述,而不是指示或暗示所指的装置或元件必须具有特定的方位、以特定的方位构造和操作,因此不能理解为对本发明的限制;术语“第一”、“第二”、“第三”仅用于描述目的,而不能理解为指示或暗示相对重要性;此外,除非另有明确的规定和限定,术语“安装”、“相连”、“连接”应做广义理解,例如,可以是固定连接,也可以是可拆卸连接,或一体地连接;可以是机械连接,也可以是电连接;可以是直接相连,也可以通过中间媒介间接相连,可以是两个元件内部的连通。对于本领域的普通技术人员而言,可以具体情况理解上述术语在本发明中的具体含义。In the description of the present invention, it should be noted that the terms "center", "upper", "lower", "left", "right", "vertical", "horizontal", "inner", "outer", etc. The indicated orientation or positional relationship is based on the orientation or positional relationship shown in the accompanying drawings, which is only for the convenience of describing the present invention and simplifying the description, rather than indicating or implying that the indicated device or element must have a specific orientation or a specific orientation. construction and operation, and therefore should not be construed as limiting the invention; the terms "first", "second", "third" are used for descriptive purposes only and should not be construed as indicating or implying relative importance; furthermore, unless otherwise Clearly stipulated and defined, the terms "installed", "connected" and "connected" should be understood in a broad sense, for example, it may be a fixed connection, a detachable connection, or an integral connection; it may be a mechanical connection or a Electrical connection; it can be directly connected, or indirectly connected through an intermediate medium, and it can be the internal connection of two components. For those of ordinary skill in the art, the specific meanings of the above terms in the present invention can be understood in specific situations.
请参阅图1-7,本发明提供一种技术方案:一种便携式环境设计工作台,包括装置底座1、伸缩杆4、底部活动固定杆5和连接板6,装置底座1的顶部固定连接有伸缩杆4,伸缩杆4的底部外壁与装置底座1的顶部外壁相连,伸缩杆4的顶部固定连接有连接板6,连接板6的底部外壁与伸缩杆4的顶部外壁相连,伸缩杆4的底部一侧固定连接有底部活动固定杆5,底部活动固定杆5的底部外壁与装置底座1的顶部外壁相连;1-7, the present invention provides a technical solution: a portable environment design workbench, comprising a device base 1, a
伸缩杆4的顶部一侧固定连接有顶部活动固定杆7,顶部活动固定杆7的顶部外壁与连接板6的底部外壁相连,顶部活动固定杆7的一端贯穿连接有紧固螺栓11,紧固螺栓11的外壁与顶部活动固定杆7的内壁相连,连接板6的正面中间部位固定连接有卡槽8,卡槽8的外壁与连接板6的外壁相连,卡槽8的内部固定连接有便捷拉杆9,便捷拉杆9的外壁与卡槽8的内壁相连;The top side of the
连接板6的另一侧固定连接有安装槽12,安装槽12的外壁与连接板6的外壁相连,安装槽12的内部固定连接有异型卡块15,异型卡块15的外壁与安装槽12的内壁相连,安装槽12的顶部嵌入连接有固定栓13,固定栓13的外壁与安装槽12的内壁相连,异型卡块15的另一侧固定连接有临时置物板16,临时置物板16的一侧外壁与异型卡块15的外壁相连,临时置物板16的底部固定连接有稿纸放置架17,稿纸放置架17的外壁与临时置物板16的内壁相连,临时置物板16的表面一侧固定连接有画笔卡槽19,画笔卡槽19的外壁与临时置物板16的内壁相连,画笔卡槽19的另一侧固定连接有大物件放置槽18,大物件放置槽18的外壁与临时置物板16的内壁相连,大物件放置槽18的前面固定连接有水杯卡槽20,水杯卡槽20的外壁与临时置物板16的内壁相连;The other side of the connecting
连接板6的顶部固定连接有活动槽22,活动槽22的底部外壁与底连接板6的顶部外壁相连,活动槽22的内部底部一侧活动连接有定位杆23,定位杆23的一侧外壁与活动槽22的内壁相连,活动槽22的内部顶部另一侧固定连接有活动座24,活动座24的外壁与活动槽22的内壁相连,活动座24的一侧活动连接有画板主体25,画板主体25的一端外壁与活动座24的一侧外壁相连,画板主体25的表面固定连接有磁性面27,磁性面27的底部外壁与画板主体25的表面外壁相连,画板主体25的底部固定连接有定位孔26,定位孔26的外壁与画板主体25的底部内壁相连,画板主体25的一端固定连接有调节拉块10,调节拉块10的外壁与画板主体25的外壁相连。The top of the connecting
优选的,装置底座1的底部两侧固定连接有锁止万向轮2,锁止万向轮2的顶部外壁与装置底座1的底部外壁相连,现有的环境设计工作台便捷性不佳,相关工作人员无法根据实际的工作需求来移动装置,通过设置锁止万向轮2,锁止万向轮2设置在装置底座1的底部两侧,在工作人员需要移动工作台时,工作人员可打开锁止万向轮2,锁止万向轮2打开后,工作人员即可轻松的移动装置,提高了装置主体的便捷性。Preferably, two sides of the bottom of the device base 1 are fixedly connected with locking universal wheels 2, and the top outer wall of the locking universal wheel 2 is connected with the bottom outer wall of the device base 1, and the existing environmental design workbench is not convenient. Relevant staff cannot move the device according to the actual work requirements. By setting the locking universal wheel 2, the locking universal wheel 2 is arranged on both sides of the bottom of the device base 1. When the staff needs to move the workbench, the staff can The locking universal wheel 2 is opened, and after the locking universal wheel 2 is opened, the staff can easily move the device, which improves the convenience of the device main body.
优选的,装置底座1的顶部两侧固定连接有磁性固定块3,磁性固定块3的底部外壁与装置底座1的顶部外壁相连,通过设置磁性固定块3,在工作人员将装置主体折叠后,装置顶部和底部的磁性固定块3可相互吸附将连接板6和装置底座1吸附在一起,防止在工作人员提起装置时连接板6与装置底座1分离,提高了装置主体的稳定性。Preferably, magnetic fixing blocks 3 are fixedly connected on both sides of the top of the device base 1, and the bottom outer wall of the
优选的,固定栓13的顶端固定连接有旋转块14,旋转块14的底部外壁与固定栓13的顶端外壁相连,现有的螺栓、螺丝等物件在旋紧或旋松的过程中,相关工作人员都需使用到辅助工具,给工作人员带来了不便,通过设置旋转块14,旋转块14设置在固定栓13的顶端,给了相关工作人员一个着力点,相关工作人员可徒手握住旋转块14来直接转动固定栓13,无需使用到其它的辅助工具,进一步提高了装置主体的便捷性。Preferably, the top end of the fixing
优选的,水杯卡槽20的内部底部固定连接有橡胶防滑垫21,橡胶防滑垫21的外壁与水杯卡槽20的内壁相连,通过设置橡胶防滑垫21,橡胶防滑垫21设置在水杯卡槽20的地面,增大了水杯卡槽20底面的粗糙程度,当水杯放置在水杯卡槽20中时,增大了水杯与水杯卡槽20底面之间的摩擦力,防止了水杯从水杯卡槽20中滑落。Preferably, a
优选的,画板主体25的表面一端活动连接有磁性稿纸压杆28,磁性稿纸压杆28的一端底部外壁与画板主体25的内壁相连,现有的环境设计用工作台表面没有设置稿纸压杆,导致工作人员在作设计图时还需按住稿纸,通过设置磁性稿纸压杆28,画板主体25的表面为磁性面27,当相关工作人员将稿纸放在磁性面27上后,工作人员可将磁性稿纸压杆28压在磁性面27上,这样即可将稿纸固定,防止了工作人员在作图的过程中稿纸移动,提高了装置主体的实用性。Preferably, one end of the surface of the drawing board
优选的,装置底座1顶部的伸缩杆4,伸缩杆4顶部的连接板6,伸缩杆4底部一侧的底部活动固定杆5,伸缩杆4顶部一侧的顶部活动固定杆7,顶部活动固定杆7一端的紧固螺栓11,连接板6正面中间部位的卡槽8,卡槽8内部的便捷拉杆9共同组成伸缩便携机构,现有的环境设计工作台便携性不佳,工作人员不方便对工作台进行携带,通过设置伸缩便携机构,当工作人员需要将装置转移至较远的地方时,工作人员可先将底部活动固定杆5和顶部活动固定杆7一端的紧固螺栓11旋出,紧固螺栓11旋出后工作人员可将底部活动固定杆5和顶部活动固定杆7向两侧拉,底部活动固定杆5和顶部活动固定杆7向两侧拉处后,工作人员可将连接板6向下压,在将连接板向下压的过程中,伸缩杆4会顶部和底部会逐渐靠拢,直至磁性固定块3吸附在一起,完成了装置的折叠后,工作人员将便捷拉杆9插入卡槽8中即可轻松的提起装置,伸缩便携机构提高了装置主体的便携性,方便了工作人员携带装置。Preferably, the
优选的,连接板6另一侧的安装槽12,安装槽12内部的异型卡块15,安装槽12顶部的固定栓13,异型卡块15另一侧的临时置物板16,临时置物板16底部的稿纸放置架17,临时置物板16表面一侧的画笔卡槽19,画笔卡槽19另一侧的大物件放置槽18,大物件放置槽18前面的水杯卡槽20共同组成临时置物机构,现有的环境设计用工作台没有设置临时置物机构,然而相关工作人员在工作过程中往往会携带一些物品,通过设置临时置物机构,临时置物板16通过异型卡块15和固定栓13安装在安装槽12中,工作人员可根据实际的工作需求来安装或拆卸临时置物板16,临时置物板16表面上设有大物件放置槽18、画笔卡槽19和水杯卡槽20等置物槽,工作人员在工作过程中可将相关的物品临时放置在临时置物板16表面对应的置物槽上,临时置物机构方便了工作人员工作过程中存放物品,提高了装置主体的功能性。Preferably, the
优选的,连接板6顶部的活动槽22,活动槽22内部底部一侧的定位杆23,活动槽22内部顶部另一侧的活动座24,活动座24一侧的画板主体25,画板主体25表面的磁性面27,画板主体25底部的定位孔26共同组成可调绘图机构,现有的环境设计工作台灵活性不佳,在使用过程中相关工作人员无法根据实际情况调节画板的角度,给工作人员的绘图工作带来了不便,通过设置可调绘图机构,在相关工作人员开始设计绘图前,工作人员可将画板主体25拉起,待画板主体25拉至合适位置时,再拉起定位杆23,使定位杆23的一端插入画板主体25底部的定位孔26中,画板主体25底部设有多个定位孔26,工作人员可根据实际需求来选择定位孔26,可调绘图机构使工作人员可根据实际的工作需求来调节画板主体25的角度,给相关工作人员的工作带来了便捷,提高了相关工作人员的工作效率。Preferably, the
工作原理:首先,通过设置伸缩便携机构,当工作人员需要将装置转移至较远的地方时,工作人员可先将底部活动固定杆5和顶部活动固定杆7一端的紧固螺栓11旋出,紧固螺栓11旋出后工作人员可将底部活动固定杆5和顶部活动固定杆7向两侧拉,底部活动固定杆5和顶部活动固定杆7向两侧拉处后,工作人员可将连接板6向下压,在将连接板向下压的过程中,伸缩杆4会顶部和底部会逐渐靠拢,直至磁性固定块3吸附在一起,完成了装置的折叠后,工作人员将便捷拉杆9插入卡槽8中即可轻松的提起装置,伸缩便携机构提高了装置主体的便携性,方便了工作人员携带装置;Working principle: First, by setting up a telescopic portable mechanism, when the staff needs to transfer the device to a far place, the staff can first unscrew the
然后,通过设置临时置物机构,临时置物板16通过异型卡块15和固定栓13安装在安装槽12中,工作人员可根据实际的工作需求来安装或拆卸临时置物板16,临时置物板16表面上设有大物件放置槽18、画笔卡槽19和水杯卡槽20等置物槽,工作人员在工作过程中可将相关的物品临时放置在临时置物板16表面对应的置物槽上,临时置物机构方便了工作人员工作过程中存放物品,提高了装置主体的功能性;Then, by setting the temporary storage mechanism, the
接着,通过设置可调绘图机构,在相关工作人员开始设计绘图前,工作人员可将画板主体25拉起,待画板主体25拉至合适位置时,再拉起定位杆23,使定位杆23的一端插入画板主体25底部的定位孔26中,画板主体25底部设有多个定位孔26,工作人员可根据实际需求来选择定位孔26,可调绘图机构使工作人员可根据实际的工作需求来调节画板主体25的角度,给相关工作人员的工作带来了便捷,提高了相关工作人员的工作效率;Then, by setting the adjustable drawing mechanism, before the relevant staff starts to design and draw, the staff can pull up the
紧接着,通过设置磁性稿纸压杆28,画板主体25的表面为磁性面27,当相关工作人员将稿纸放在磁性面27上后,工作人员可将磁性稿纸压杆28压在磁性面27上,这样即可将稿纸固定,防止了工作人员在作图的过程中稿纸移动,提高了装置主体的实用性;Next, by setting the magnetic manuscript
最后,通过设置磁性固定块3,在工作人员将装置主体折叠后,装置顶部和底部的磁性固定块3可相互吸附将连接板6和装置底座1吸附在一起,防止在工作人员提起装置时连接板6与装置底座1分离,提高了装置主体的稳定性,这就是该种便携式环境设计工作台的工作原理。Finally, by setting the
以上所述仅为本发明的较佳实施例而已,并不用以限制本发明,凡在本发明的精神和原则之内所作的任何修改、等同替换和改进等,均应包含在本发明的保护范围之内。The above descriptions are only preferred embodiments of the present invention and are not intended to limit the present invention. Any modifications, equivalent replacements and improvements made within the spirit and principles of the present invention shall be included in the protection of the present invention. within the range.
Claims (10)
Priority Applications (1)
| Application Number | Priority Date | Filing Date | Title |
|---|---|---|---|
| CN202010772191.9A CN111904155A (en) | 2020-08-04 | 2020-08-04 | A portable environment design workbench |
Applications Claiming Priority (1)
| Application Number | Priority Date | Filing Date | Title |
|---|---|---|---|
| CN202010772191.9A CN111904155A (en) | 2020-08-04 | 2020-08-04 | A portable environment design workbench |
Publications (1)
| Publication Number | Publication Date |
|---|---|
| CN111904155A true CN111904155A (en) | 2020-11-10 |
Family
ID=73288075
Family Applications (1)
| Application Number | Title | Priority Date | Filing Date |
|---|---|---|---|
| CN202010772191.9A Pending CN111904155A (en) | 2020-08-04 | 2020-08-04 | A portable environment design workbench |
Country Status (1)
| Country | Link |
|---|---|
| CN (1) | CN111904155A (en) |
Cited By (3)
| Publication number | Priority date | Publication date | Assignee | Title |
|---|---|---|---|---|
| CN112572028A (en) * | 2020-12-30 | 2021-03-30 | 重庆水利电力职业技术学院 | A supplementary drawing device for indoor decoration |
| CN112998403A (en) * | 2021-04-14 | 2021-06-22 | 李海芳 | Novel office equipment |
| CN113273805A (en) * | 2021-05-24 | 2021-08-20 | 朱利 | Table for designing indoor furnishing products |
Citations (12)
| Publication number | Priority date | Publication date | Assignee | Title |
|---|---|---|---|---|
| KR100865274B1 (en) * | 2007-06-07 | 2008-10-24 | 듀오백코리아 주식회사 | desk |
| CN203913930U (en) * | 2014-06-19 | 2014-11-05 | 华东交通大学 | A kind of can multistage adjusting desktop inclination angle and the Multifunctional drawing desk of height |
| CN206579388U (en) * | 2017-02-07 | 2017-10-24 | 河南工程学院 | A kind of Art Design Portable drawing board |
| CN108402679A (en) * | 2018-01-22 | 2018-08-17 | 赵武 | A kind of portable architectural design map board holder |
| CN108813955A (en) * | 2018-07-24 | 2018-11-16 | 合肥爱玩动漫有限公司 | A kind of cartoon design workbench |
| CN208550371U (en) * | 2017-12-28 | 2019-03-01 | 延安大学 | Portable field measurement drawing table for interior design |
| CN109645679A (en) * | 2018-12-29 | 2019-04-19 | 安徽职业技术学院 | A kind of Art Design multifunctional drawing equipment |
| CN208891846U (en) * | 2018-07-31 | 2019-05-24 | 潘炳银 | A kind of note computer desk being easily installed |
| CN209346311U (en) * | 2018-09-30 | 2019-09-06 | 武汉灵敏度园艺科技有限公司 | Plotting unit is used in a kind of design of gardening |
| CN209825675U (en) * | 2019-04-25 | 2019-12-24 | 中煤长江地质集团有限公司 | Portable geological exploration auxiliary drawing frame |
| CN210124432U (en) * | 2019-05-30 | 2020-03-06 | 河南城建学院 | Portable Architecture Sketching Table |
| CN210941158U (en) * | 2019-08-24 | 2020-07-07 | 湖南城建职业技术学院 | Easel is used in fine arts field |
-
2020
- 2020-08-04 CN CN202010772191.9A patent/CN111904155A/en active Pending
Patent Citations (12)
| Publication number | Priority date | Publication date | Assignee | Title |
|---|---|---|---|---|
| KR100865274B1 (en) * | 2007-06-07 | 2008-10-24 | 듀오백코리아 주식회사 | desk |
| CN203913930U (en) * | 2014-06-19 | 2014-11-05 | 华东交通大学 | A kind of can multistage adjusting desktop inclination angle and the Multifunctional drawing desk of height |
| CN206579388U (en) * | 2017-02-07 | 2017-10-24 | 河南工程学院 | A kind of Art Design Portable drawing board |
| CN208550371U (en) * | 2017-12-28 | 2019-03-01 | 延安大学 | Portable field measurement drawing table for interior design |
| CN108402679A (en) * | 2018-01-22 | 2018-08-17 | 赵武 | A kind of portable architectural design map board holder |
| CN108813955A (en) * | 2018-07-24 | 2018-11-16 | 合肥爱玩动漫有限公司 | A kind of cartoon design workbench |
| CN208891846U (en) * | 2018-07-31 | 2019-05-24 | 潘炳银 | A kind of note computer desk being easily installed |
| CN209346311U (en) * | 2018-09-30 | 2019-09-06 | 武汉灵敏度园艺科技有限公司 | Plotting unit is used in a kind of design of gardening |
| CN109645679A (en) * | 2018-12-29 | 2019-04-19 | 安徽职业技术学院 | A kind of Art Design multifunctional drawing equipment |
| CN209825675U (en) * | 2019-04-25 | 2019-12-24 | 中煤长江地质集团有限公司 | Portable geological exploration auxiliary drawing frame |
| CN210124432U (en) * | 2019-05-30 | 2020-03-06 | 河南城建学院 | Portable Architecture Sketching Table |
| CN210941158U (en) * | 2019-08-24 | 2020-07-07 | 湖南城建职业技术学院 | Easel is used in fine arts field |
Cited By (4)
| Publication number | Priority date | Publication date | Assignee | Title |
|---|---|---|---|---|
| CN112572028A (en) * | 2020-12-30 | 2021-03-30 | 重庆水利电力职业技术学院 | A supplementary drawing device for indoor decoration |
| CN112998403A (en) * | 2021-04-14 | 2021-06-22 | 李海芳 | Novel office equipment |
| CN112998403B (en) * | 2021-04-14 | 2023-08-25 | 北京都市安达办公家具有限公司 | Novel office equipment |
| CN113273805A (en) * | 2021-05-24 | 2021-08-20 | 朱利 | Table for designing indoor furnishing products |
Similar Documents
| Publication | Publication Date | Title |
|---|---|---|
| CN111904155A (en) | A portable environment design workbench | |
| CN207957676U (en) | A kind of power engineering workbench | |
| CN214279463U (en) | Digital media display screen convenient to outdoor use | |
| CN111789386B (en) | Detachable drawing device for environmental design | |
| CN215519856U (en) | Scaffold frame of joint formula supports base | |
| CN206614501U (en) | A kind of multifunctional saw stool with parcel tray | |
| CN210295837U (en) | corporate image bulletin board | |
| CN211524683U (en) | Elevator construction overhauls with foldable frame of ascending a height | |
| CN211163848U (en) | Mechanical equipment supports overhauls device | |
| CN211491964U (en) | Plate clamping and positioning tool for furniture processing | |
| CN217488054U (en) | Workstation convenient to drawing is fixed | |
| CN220613957U (en) | Electronic equipment production overhauls platform | |
| CN207522542U (en) | A kind of portable work bench | |
| CN210643103U (en) | Board clamping frame for architectural design | |
| CN213550354U (en) | A telescopic callus on sole for desk | |
| CN223013107U (en) | A foldable wall-mounted workbench for hydropower stations | |
| CN210200249U (en) | Culture and art exchanges with collapsible show board | |
| CN211703896U (en) | Animation design workstation | |
| CN216854109U (en) | A workbench for college art design that is easy to adjust the angle | |
| CN112027331A (en) | Automatic hidden roof storage device and system go up and down | |
| CN211833382U (en) | Drawing desk that ring skill design was used | |
| CN219306239U (en) | Drawing supporting device for engineering design | |
| CN220882221U (en) | Portable lifting error-proofing workbench for lean pipe | |
| CN209738618U (en) | Be applied to architectural design's special drawing appurtenance | |
| CN112982932B (en) | An adjustable building platform for interior decoration buildings |
Legal Events
| Date | Code | Title | Description |
|---|---|---|---|
| PB01 | Publication | ||
| PB01 | Publication | ||
| SE01 | Entry into force of request for substantive examination | ||
| SE01 | Entry into force of request for substantive examination | ||
| RJ01 | Rejection of invention patent application after publication |
Application publication date: 20201110 |
|
| RJ01 | Rejection of invention patent application after publication |
