CN111877556A - Assembly building bracket connecting piece - Google Patents
Assembly building bracket connecting piece Download PDFInfo
- Publication number
- CN111877556A CN111877556A CN202010903617.XA CN202010903617A CN111877556A CN 111877556 A CN111877556 A CN 111877556A CN 202010903617 A CN202010903617 A CN 202010903617A CN 111877556 A CN111877556 A CN 111877556A
- Authority
- CN
- China
- Prior art keywords
- arch
- groove
- bucket
- bucket arch
- building
- Prior art date
- Legal status (The legal status is an assumption and is not a legal conclusion. Google has not performed a legal analysis and makes no representation as to the accuracy of the status listed.)
- Pending
Links
- 229910000831 Steel Inorganic materials 0.000 claims abstract description 27
- 239000010959 steel Substances 0.000 claims abstract description 27
- 229910001208 Crucible steel Inorganic materials 0.000 claims abstract description 6
- 238000000034 method Methods 0.000 abstract description 12
- 238000003466 welding Methods 0.000 abstract description 10
- 238000005452 bending Methods 0.000 abstract description 7
- 230000008569 process Effects 0.000 abstract description 7
- 238000010438 heat treatment Methods 0.000 abstract description 5
- 238000003754 machining Methods 0.000 abstract description 4
- 230000009286 beneficial effect Effects 0.000 abstract description 2
- 238000005246 galvanizing Methods 0.000 abstract description 2
- 238000007598 dipping method Methods 0.000 abstract 1
- 238000009434 installation Methods 0.000 description 6
- 238000013461 design Methods 0.000 description 5
- 238000005516 engineering process Methods 0.000 description 4
- 239000006096 absorbing agent Substances 0.000 description 2
- 239000004567 concrete Substances 0.000 description 2
- 238000010276 construction Methods 0.000 description 2
- 238000004519 manufacturing process Methods 0.000 description 2
- 238000012545 processing Methods 0.000 description 2
- 230000035939 shock Effects 0.000 description 2
- 235000017166 Bambusa arundinacea Nutrition 0.000 description 1
- 235000017491 Bambusa tulda Nutrition 0.000 description 1
- 241001330002 Bambuseae Species 0.000 description 1
- 235000015334 Phyllostachys viridis Nutrition 0.000 description 1
- 230000009471 action Effects 0.000 description 1
- 239000011425 bamboo Substances 0.000 description 1
- 238000005266 casting Methods 0.000 description 1
- 230000008859 change Effects 0.000 description 1
- 238000010586 diagram Methods 0.000 description 1
- 230000005484 gravity Effects 0.000 description 1
- 239000000463 material Substances 0.000 description 1
- 238000005259 measurement Methods 0.000 description 1
- 238000012986 modification Methods 0.000 description 1
- 230000004048 modification Effects 0.000 description 1
- 230000009467 reduction Effects 0.000 description 1
- 239000011150 reinforced concrete Substances 0.000 description 1
Images
Classifications
-
- E—FIXED CONSTRUCTIONS
- E04—BUILDING
- E04B—GENERAL BUILDING CONSTRUCTIONS; WALLS, e.g. PARTITIONS; ROOFS; FLOORS; CEILINGS; INSULATION OR OTHER PROTECTION OF BUILDINGS
- E04B1/00—Constructions in general; Structures which are not restricted either to walls, e.g. partitions, or floors or ceilings or roofs
- E04B1/18—Structures comprising elongated load-supporting parts, e.g. columns, girders, skeletons
- E04B1/24—Structures comprising elongated load-supporting parts, e.g. columns, girders, skeletons the supporting parts consisting of metal
- E04B1/2403—Connection details of the elongated load-supporting parts
-
- E—FIXED CONSTRUCTIONS
- E04—BUILDING
- E04B—GENERAL BUILDING CONSTRUCTIONS; WALLS, e.g. PARTITIONS; ROOFS; FLOORS; CEILINGS; INSULATION OR OTHER PROTECTION OF BUILDINGS
- E04B1/00—Constructions in general; Structures which are not restricted either to walls, e.g. partitions, or floors or ceilings or roofs
- E04B1/38—Connections for building structures in general
- E04B1/48—Dowels, i.e. members adapted to penetrate the surfaces of two parts and to take the shear stresses
-
- E—FIXED CONSTRUCTIONS
- E04—BUILDING
- E04B—GENERAL BUILDING CONSTRUCTIONS; WALLS, e.g. PARTITIONS; ROOFS; FLOORS; CEILINGS; INSULATION OR OTHER PROTECTION OF BUILDINGS
- E04B1/00—Constructions in general; Structures which are not restricted either to walls, e.g. partitions, or floors or ceilings or roofs
- E04B1/18—Structures comprising elongated load-supporting parts, e.g. columns, girders, skeletons
- E04B1/24—Structures comprising elongated load-supporting parts, e.g. columns, girders, skeletons the supporting parts consisting of metal
- E04B1/2403—Connection details of the elongated load-supporting parts
- E04B2001/2415—Brackets, gussets, joining plates
Landscapes
- Engineering & Computer Science (AREA)
- Architecture (AREA)
- Physics & Mathematics (AREA)
- Electromagnetism (AREA)
- Civil Engineering (AREA)
- Structural Engineering (AREA)
- Joining Of Building Structures In Genera (AREA)
Abstract
本发明涉及一种装配建筑斗拱连接件,属于装配建筑领域。本发明采用的技术方案是:包括上拱和下拱,上拱和下拱上下配合,上拱和下拱的结合面设有H型钢插入的梁固定槽,并且上拱的榫插到下拱的梁固定槽榫卯内,形成十字拱和榫卯结合。本发明的有益效果:本装置采用适配圆形立柱的斗拱连接件作为装配建筑的立柱横梁连接件,取代H型立柱存在的抗弯抗拉应力不足的问题;本装置斗拱连接件连接标准化的H型钢及圆形立柱,替代焊接,连接强度满足抗震要求;解决了钢结构建筑焊缝于焊件抗弯曲力不相等的这一技术难题。本装置斗拱连接件可以进行标准化的生产,可以采用铸钢后机加工制造,再经热处理、热镀锌、浸塑工艺,产品质量稳定。
The invention relates to an assembly building bucket arch connector, belonging to the field of assembly building. The technical scheme adopted in the present invention is: including upper arch and lower arch, the upper arch and lower arch are matched up and down, the joint surface of the upper arch and the lower arch is provided with a beam fixing groove into which H-shaped steel is inserted, and the tenon of the upper arch is inserted into the lower arch The beam is fixed in the groove and mortise, forming a cross arch and mortise and tenon combination. The beneficial effects of the present invention: the device adopts the bucket arch connector adapted to the circular column as the column beam connector of the assembled building to replace the problem of insufficient bending and tensile stress existing in the H-type column; H-beams and circular columns can replace welding, and the connection strength can meet the seismic requirements; it solves the technical problem that the bending force of the welding seam of the steel structure building is not equal to that of the weldment. The bucket arch connector of the device can be produced in a standardized manner, and can be manufactured by machining after cast steel, and then through the processes of heat treatment, hot-dip galvanizing, and dipping, and the product quality is stable.
Description
技术领域technical field
本发明涉及一种装配建筑斗拱连接件,属于装配建筑领域。The invention relates to an assembly building bucket arch connector, belonging to the field of assembly building.
背景技术Background technique
现代钢结构建筑主要由型钢作为整体建筑框架,由预制板作为墙壁和楼板层组成。各构件或部件之间通常采用焊接焊缝、螺丝、铆钉连接,钢结构连接过程中,起主要作用的是钢梁和立柱,是形成整个钢结构框架建筑的主体。Modern steel structure buildings are mainly composed of section steel as the overall building frame, and prefabricated panels as walls and floor layers. The components or parts are usually connected by welding seams, screws and rivets. In the process of steel structure connection, steel beams and columns play a major role, which form the main body of the entire steel structure frame building.
本申请人发现H型钢,由于壁厚大、规格多、型材大、承载能力大、抗扭矩能力大、跨距大等,是高层建筑最理想的梁柱选材。但是现代钢结构建筑中使用的比例却很低,原因就在H型钢的壁厚大,在焊接中很难达到全部优良保证系数。由于在设计时未设计热处理工艺,体现不到H型钢的优越性,在钢结构建筑连接技术领域上,至今未找到一种好的方法代替焊接工艺。The applicant found that H-beams are the most ideal beam-column materials for high-rise buildings due to their large wall thickness, many specifications, large profiles, large bearing capacity, large torque resistance, and large span. However, the proportion used in modern steel structure buildings is very low. The reason is that the wall thickness of H-beam is large, and it is difficult to achieve all the excellent guarantee factors in welding. Since the heat treatment process was not designed in the design, the advantages of H-beams cannot be reflected. In the field of steel structure building connection technology, a good method has not been found to replace the welding process.
本申请人申报过一种H型钢的斗拱连接件(申请号201811415969X),但是其立柱采用H型钢,立柱的支撑侧面抗拉抗弯性能略差,研究发现采用圆筒无缝钢管作为立柱能有效提升整体的抗拉抗弯性能,降低加工难度和成本。The applicant has applied for a bucket arch connector of H-shaped steel (application number 201811415969X), but the column is made of H-shaped steel, and the supporting side of the column has slightly poor tensile and flexural performance. Improve the overall tensile and bending performance, reduce processing difficulty and cost.
发明内容SUMMARY OF THE INVENTION
针对上述问题,我们提出一种装配建筑斗拱连接件,采用无缝钢柱作为立柱替代H型钢,解决圆形立柱与H型钢梁间的连接问题。In view of the above problems, we propose an assembly building bucket arch connector, which uses seamless steel columns as columns to replace H-beams to solve the connection problem between circular columns and H-beams.
为实现上述目的,本发明采用的技术方案是:装配建筑斗拱连接件,包括上拱和下拱,上拱和下拱上下配合,上拱和下拱的结合面设有H型钢插入的梁固定槽,并且上拱的榫插到下拱的梁固定槽榫卯内,形成十字拱和榫卯结合。In order to achieve the above-mentioned purpose, the technical scheme adopted in the present invention is: assembling a building bucket arch connector, including an upper arch and a lower arch, the upper arch and the lower arch are matched up and down, and the joint surface of the upper arch and the lower arch is provided with an H-shaped steel inserted beam for fixing. groove, and the tenon of the upper arch is inserted into the beam fixing groove of the lower arch to form a cross arch and tenon-and-mortise combination.
上拱的上侧面及下拱的下侧面分别设有立柱圆筒,立柱圆筒中部孔作为立柱插槽为斗,圆形立柱下端插入上斗的立柱插槽内;圆形立柱上部插入下斗的立柱插槽内。拱和斗是同一个铸钢件上,所以为斗拱连接件。而上下斗拱连接件是旋转90度拱的部分榫卯相互扣合形成的十字形或T字形的斗拱件,因此没有上下之分,只有型材规格之分。The upper side of the upper arch and the lower side of the lower arch are respectively provided with upright cylinders, the central hole of the upright cylinder is used as the upright slot for the bucket, the lower end of the circular upright is inserted into the upright slot of the upper bucket; the upper part of the circular upright is inserted into the lower bucket in the column slot. The arch and the bucket are on the same steel casting, so it is the bucket arch connection. The upper and lower bucket arch connectors are cross-shaped or T-shaped bucket arch parts formed by partial tenon and mortise rotation of the 90-degree arch, so there is no upper and lower distinction, only the profile specification.
作为优选,上拱的下侧面和下拱上侧面分别设有相互交叉的表面槽和深沟槽,立柱圆筒在上拱及下拱的表面槽和深沟槽交叉位置背面,表面槽和深沟槽之间设有水平筋,表面槽向外凸出高于水平筋平面,深沟槽向内凹陷水平筋平面,深沟槽侧边带有用于与表面槽侧边相配合的卡槽,立柱圆筒外侧面与表面槽和深沟槽的背面之间带有竖直筋,上拱的表面槽嵌入下拱的深沟槽内,下拱的表面槽嵌入上拱的深沟槽内,H型钢插入深沟槽和表面槽组成的方形插槽孔内。Preferably, the lower side of the upper arch and the upper side of the lower arch are respectively provided with mutually intersecting surface grooves and deep grooves, and the column cylinder is on the back of the intersection of the surface grooves and the deep grooves of the upper arch and the lower arch. There are horizontal ribs between the grooves, the surface grooves protrude outwards higher than the plane of the horizontal ribs, the deep grooves concave the plane of the horizontal ribs inward, and the sides of the deep grooves are provided with card grooves for matching with the sides of the surface grooves. There are vertical ribs between the outer side of the column cylinder and the surface groove and the back of the deep groove. The surface groove of the upper arch is embedded in the deep groove of the lower arch, and the surface groove of the lower arch is embedded in the deep groove of the upper arch. The H-beam is inserted into the square slot hole formed by the deep groove and the surface groove.
作为优选,表面槽和深沟槽底部均带有若干个用于与大梁或副梁连接的水平固定螺孔,表面槽和深沟槽为相互交叉成垂直布置。Preferably, the bottoms of the surface grooves and the deep grooves are provided with several horizontal fixing screw holes for connecting with the main beam or the sub-beam, and the surface grooves and the deep grooves are mutually intersected and arranged vertically.
作为优选,水平筋、竖直筋的外轮廓为圆弧形,竖直筋的中部带有用于与交叉柱或斜柱连接的固定孔位,水平筋中部也带有用于与交叉梁或斜梁连接的固定孔位。Preferably, the outer contour of the horizontal bar and the vertical bar is arc-shaped, the middle of the vertical bar is provided with a fixing hole for connecting with the cross column or the inclined column, and the middle part of the horizontal bar is also provided with the cross beam or the inclined beam. Connected fixing holes.
作为优选,上拱和下拱分别为铸钢后机加工出的一体结构。Preferably, the upper arch and the lower arch are respectively an integral structure machined after cast steel.
本发明的有益效果:本装置采用适配圆形立柱的斗拱连接件作为装配建筑的立柱横梁连接件,取代H型立柱存在的抗弯抗拉应力不足的问题;Beneficial effects of the present invention: the device adopts the bucket arch connector adapted to the circular column as the column beam connector of the assembled building, which replaces the problem of insufficient bending and tensile stress existing in the H-shaped column;
本装置斗拱连接件连接标准化的H型钢及圆形立柱,替代焊接,连接强度满足抗震要求;解决了钢结构建筑焊缝于焊件抗弯曲力不相等的这一技术难题。The bucket arch connector of the device connects the standardized H-beam and the circular column instead of welding, and the connection strength meets the seismic requirements; it solves the technical problem that the bending force of the welding seam of the steel structure building is not equal to the bending force of the welding part.
本装置斗拱连接件可以进行标准化的生产,可以采用铸钢后机加工制造,再经热处理、热镀锌、热浸塑工艺生产,产品质量稳定。The bucket arch connector of the device can be produced in a standardized manner, and can be manufactured by machining after cast steel, and then produced by heat treatment, hot-dip galvanizing, and hot-dip plastic processes, and the product quality is stable.
附图说明Description of drawings
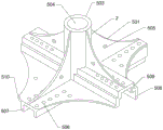
图1为斗拱连接件与圆形立柱及H型梁的装配示意图。Figure 1 is a schematic diagram of the assembly of a bucket arch connector, a circular column and an H-beam.
图2为上拱立体图。Figure 2 is a perspective view of the upper arch.
图3为下拱立体图。Figure 3 is a perspective view of the lower arch.
图4为上拱或下拱俯视图。Figure 4 is a top view of the upper arch or the lower arch.
图5为上拱或下斗剖面图。Figure 5 is a sectional view of the upper arch or lower bucket.
附图中:1、上圆形立柱; 2、副梁; 3、大梁; 4、下圆形立柱; 5、上拱; 6、下拱;501、竖直筋; 502、水平筋; 503、立柱圆筒;504、立柱插槽;505、固定孔位;506、水平固定螺孔;507、表面槽;508、卡槽;509、深沟槽; 510、倒角 。In the accompanying drawings: 1. Upper circular column; 2. Sub-beam; 3. Main beam; 4. Lower circular column; 5. Upper arch; 6. Lower arch; 501, Vertical bar; 502, Horizontal bar; 503, Column cylinder; 504, column slot; 505, fixed hole position; 506, horizontal fixing screw hole; 507, surface groove; 508, card groove; 509, deep groove; 510, chamfer.
具体实施方式Detailed ways
本发明装配建筑斗拱连接件,用于采用H型钢为横梁、圆形立柱作为支撑立柱的连接,实现装配式建筑的各部件的整体安装。本发明装配建筑斗拱连接件采用中国传统的四梁八柱、斗拱、榫卯为主要特点,连接节点位置无焊点焊缝,主要依靠斗拱连接件扣住梁与柱,再通过螺栓把梁柱与斗拱连接件固定,但螺栓固定斗拱连接件和梁与柱本身不承载,主要由梁承载本层的重量,柱通过斗拱连接件承载本层以上的重量。The present invention assembles the building bucket arch connector, which is used for the connection of the H-shaped steel as the beam and the circular column as the support column, so as to realize the integral installation of the components of the prefabricated building. The present invention adopts the traditional Chinese four beams and eight columns, bucket arch and tenon and tenon as the main features, and there is no welding spot welding seam at the connecting node position. The connector is fixed, but the bolt-fixed bucket arch connector and the beam and column themselves do not carry the load. The beam mainly bears the weight of the layer, and the column carries the weight above the layer through the bucket arch connector.
如图1所示,本装置结构包括上拱和下拱,上拱和下拱上下配合,上拱和下拱的结合面设有H型钢插入的方形梁固定槽。As shown in Figure 1, the device structure includes an upper arch and a lower arch, the upper arch and the lower arch are matched up and down, and the joint surface of the upper arch and the lower arch is provided with a square beam fixing slot into which H-shaped steel is inserted.
上拱的上侧面及下拱的下侧面分别设有立柱圆筒,立柱圆筒中部开圆孔槽作为立柱插槽,圆形立柱下端插入上拱的立柱插槽内;圆形立柱上部插入下拱的立柱插槽内。The upper side of the upper arch and the lower side of the lower arch are respectively provided with a column cylinder, a circular hole slot is opened in the middle of the column cylinder as a column slot, the lower end of the circular column is inserted into the column slot of the upper arch; the upper part of the circular column is inserted into the lower column. in the upright slot of the arch.
如图2和3所示,上拱的下侧面和下拱上侧面分别设有相互交叉的表面槽和深沟槽,立柱圆筒在上拱及下拱的表面槽和深沟槽交叉位置背面,表面槽和深沟槽之间设有水平筋,表面槽507向外凸出高于水平筋平面,深沟槽509向内凹陷水平筋平面,深沟槽509侧边带有用于与表面槽507侧边相配合的卡槽508,立柱圆筒外侧面与表面槽和深沟槽的背面之间带有竖直筋501;上拱的表面槽嵌入下拱的深沟槽内,下拱的表面槽嵌入上拱的深沟槽内,H型钢插入深沟槽和表面槽组成的方形梁固定槽内。As shown in Figures 2 and 3, the lower side of the upper arch and the upper side of the lower arch are respectively provided with intersecting surface grooves and deep grooves, and the column cylinder is on the back of the intersection of the surface grooves and the deep grooves of the upper and lower arches. , a horizontal rib is arranged between the surface groove and the deep groove, the
表面槽和深沟槽底部均带有若干个用于与大梁或副梁连接的水平固定螺孔,表面槽和深沟槽为相互交叉成垂直布置。The bottom of the surface groove and the deep groove are provided with several horizontal fixing screw holes for connecting with the frame or sub-beam, and the surface groove and the deep groove are arranged vertically by crossing each other.
水平筋502、竖直筋501的外轮廓为圆弧形,竖直筋501的中部带有用于与交叉柱或斜柱连接的固定孔位505,水平筋502中部也带有用于与交叉梁或斜梁连接的固定孔位。The outer contours of the
上拱和下拱分别为铸钢后机加工出的一体结构,具体为先铸钢出带有加工尺寸的毛坯件,然后采用数控机床进行精细加工,方便安装时的各位置尺寸匹配。The upper arch and the lower arch are one-piece structures machined after cast steel respectively. Specifically, the blanks with the machining dimensions are cast from steel first, and then the CNC machine tools are used for fine machining, which is convenient for the size matching of each position during installation.
本装置的安装及加工要求,The installation and processing requirements of this device,
如图1所示,H型钢组成的大梁3和副梁2插入斗拱连接件的方形梁固定槽内,两者成“十字”交叉布置,且由于横竖向的方形梁固定槽上下错位布置,避免分割H型钢。As shown in Figure 1, the
圆形立柱的长度根据楼层的高度,减去大梁、副梁及斗拱连接件内垫高度就是立柱的长度;圆形立柱使用无缝钢管的尺寸型号是根据楼体的重量确定,圆形立柱厚度由承载力由大梁与副梁强力之和而设定。The length of the circular column is based on the height of the floor, minus the height of the inner pad of the girder, sub-beam and bucket arch connector is the length of the column; the size and model of the seamless steel pipe used for the circular column is determined according to the weight of the building, and the thickness of the circular column is determined by the weight of the building. The bearing capacity is set by the sum of the strength of the main beam and the sub-beam.
图1中大梁与副梁交叉90度安装,也可根据设计要求成不同度数和不同坡度的安装。In Figure 1, the main beam and the sub-beam are installed at a 90-degree cross, and can also be installed in different degrees and different slopes according to the design requirements.
在每根梁的翼板面和腹板面上根据技术标准定位尺寸,加工有两排用于与斗拱连接件连接的平面固定螺孔。平面固定螺孔的数量、尺寸规格根据整体装配式建筑的高度重量进行专门规范化标准化设计。本斗拱连接件连接的梁、柱都必须经过热处理加工,提高抗弯曲强度。On the flange and web surfaces of each beam, the dimensions are positioned according to technical standards, and two rows of plane fixing screw holes for connecting with bucket arch connectors are machined. The number and size of the plane fixing screw holes are specially standardized and standardized according to the height and weight of the overall prefabricated building. The beams and columns connected by the bucket arch connector must be processed by heat treatment to improve the bending strength.
表面槽和深沟槽在交叉位置的同一水平面上带有四个外轮廓边界为圆弧形的水平筋502,形成一个平面筋,增强整体强度。The surface groove and the deep groove are provided with four
斗拱连接件是上下两件,结构相同,上下旋转90配套使用,上斗拱表面槽与下斗拱的深沟槽配合,上斗拱深沟槽与下斗拱的表面槽配合,The bucket arch connector is two pieces up and down with the same structure. It is used to rotate 90 degrees up and down. The surface groove of the upper bucket arch is matched with the deep groove of the lower bucket arch, and the deep groove of the upper bucket arch is matched with the surface groove of the lower bucket arch.
如图3中下拱连接件的表面槽外凸出的榫边,就插在上侧斗拱连接件深沟槽509铆边的卡槽508内,形成榫卯配合。这样4个边槽经过上下两个斗拱连接件相互配合,就形成了四个带榫卯配合的方管形槽以卡住大梁与副梁,再通过每个卡槽水平平面上的水平固定螺孔506,用螺栓贯穿H钢,把上下两个斗拱连接件与梁固定在一起。As shown in Fig. 3, the tenon edge protruding from the surface groove of the lower arch connector is inserted into the
斗拱连接件也可以制成成丁字形的连接件;也可制成少两个卡槽成拐角型非直角的斗拱连接件,也可制成不同坡度的斜形斗拱连接件,这主要根据楼体设计的用途,只要改变铸钢模具即可实现安装位置变化的设计。The bucket arch connector can also be made into a T-shaped connector; it can also be made into a corner-shaped non-right-angle bucket arch connector with less than two slots, and it can also be made into an oblique bucket arch connector with different slopes. For the purpose of body design, as long as the cast steel mold is changed, the design of the installation position change can be realized.
如图5所示,立柱圆筒的底部为封闭形状,用于安装承托上圆形立柱。由于立柱承担了立柱以上的楼体重量,其立柱承载的重力通过斗拱连接件的整体再传到副梁、大梁和下侧的圆形立柱上,以增大梁柱的承载面积能力。As shown in Figure 5, the bottom of the column cylinder is in a closed shape, which is used to install and support the upper circular column. Since the column bears the weight of the building above the column, the gravity carried by the column is transmitted to the sub-beam, the main beam and the circular column on the lower side through the whole of the bucket arch connector to increase the bearing area capacity of the beam and column.
在工地现场安装时,通过可移动卧式液压机,把上下两个斗拱连接件和圆柱立柱的两端压在一起,过盈配合。During installation at the construction site, the upper and lower bucket arch connectors and the two ends of the cylindrical column are pressed together by a movable horizontal hydraulic press to form an interference fit.
如图1所示的斗拱连接件与上下两个圆形立柱、大梁、副梁装配后,这种连接装配方式在整栋建筑每个立柱上全部装配形成合力。当地震强力波动或平行推动摇摆时,立柱抵抗了杠杆力,梁抵抗了剪切力和波动力,再配合交叉柱、斜柱和蝶式摆动减震器相结合。大梁、副梁都是贯通构造,楼层板、墙板都是贯通竹排相扣合形成整体剪切力楼层板,剪切力墙板。而且楼体重量只有现有建筑的七分之一,在蝶式摆动减震器(专利申请号2018109477866)作用下这就能实现无论多大的强力,多强的地震也就像摇篮一样摇几下而已,所以说斗拱连接件是H型钢建筑的技术核心,决定了H型钢建筑的抗震能力,是人们居住家园的最核心的安全保障。After the bucket arch connector shown in Figure 1 is assembled with the upper and lower circular columns, the main beam and the sub-beam, this connection and assembly method is fully assembled on each column of the entire building to form a resultant force. When the earthquake strongly fluctuates or parallel pushes the swing, the column resists the lever force, the beam resists the shear force and the wave force, and is combined with the cross column, the inclined column and the butterfly swing shock absorber. The girders and sub-beams are all through structures, and the floor slabs and wall panels are all through the bamboo rafts to form an overall shear force floor slab and shear force wall panel. Moreover, the weight of the building is only one-seventh of the existing building. Under the action of the butterfly swing shock absorber (Patent Application No. 2018109477866), no matter how strong it is, the earthquake can be shaken like a cradle. That's all, so the bucket arch connector is the technical core of the H-shaped steel building, which determines the earthquake resistance of the H-shaped steel building, and is the core safety guarantee for people's living homes.
本装置能够在车间自动化流水线上按产品技术标准、质量标准、工艺标准、计量标准生产,现场只是积木化的安装,有着现有混凝土建筑十倍的速度、十倍的精度、十分之一的用工量、七分之一的重量、百年以上的使用期。This device can be produced on the automated assembly line of the workshop according to product technical standards, quality standards, process standards, and measurement standards. The site is only a building block installation. It has ten times the speed, ten times the accuracy, and one tenth of the existing concrete buildings. The amount of labor, one-seventh of the weight, and the service life of more than 100 years.
装配式建筑中的斗拱连接件等车间生产,经过热处理工艺加工,其强度抗拉力是普通Q235型钢的5倍,主体结构用钢量不到100公斤。整栋如30层建筑毛坯楼的建筑成本只有钢筋混泥土建筑的一半;如果按百年以上使用期时间成本换算的话,只有混凝土建筑的百分之二十,实现了现代建筑整体成本的大幅降低。The bucket arch connectors in prefabricated buildings are produced in workshops and processed by heat treatment process. Their tensile strength is five times that of ordinary Q235 steel, and the amount of steel used for the main structure is less than 100 kg. The construction cost of a 30-storey rough building is only half that of a reinforced concrete building; if it is converted into a 100-year-life time cost, it is only 20% of that of a concrete building, achieving a substantial reduction in the overall cost of modern buildings.
本装配建筑斗拱连接件技术是采用顶梁柱的方式,以H型钢及圆形立柱为框架,以斗拱连接件为技术核心,实现了装配建筑的整体规范化设计制造,是工厂化生产必不可少的关键技术。This assembly building bucket arch connector technology adopts the method of top beam and column, takes H-beam and circular column as the frame, and takes the bucket arch connector as the technical core, which realizes the overall standardized design and manufacture of the assembly building, which is an indispensable key to factory production. technology.
以上所述实施方式、实施方法,仅仅是对本发明的优先实施方式进行描述,并非对本发明的范围进行限定,在不脱离本发明技术的精神前提下,本领域工程技术人员对本发明的技术方案推出的各种变形和改进,均应落入本发明的权利要求书确定的保护范围内。The above-mentioned embodiments and implementation methods are only to describe the preferred embodiments of the present invention, and do not limit the scope of the present invention. On the premise of not departing from the spirit of the technology of the present invention, engineers and technicians in the field can deduce the technical solutions of the present invention. Various modifications and improvements of the invention should fall within the protection scope determined by the claims of the present invention.
Claims (5)
Priority Applications (1)
| Application Number | Priority Date | Filing Date | Title |
|---|---|---|---|
| CN202010903617.XA CN111877556A (en) | 2020-09-01 | 2020-09-01 | Assembly building bracket connecting piece |
Applications Claiming Priority (1)
| Application Number | Priority Date | Filing Date | Title |
|---|---|---|---|
| CN202010903617.XA CN111877556A (en) | 2020-09-01 | 2020-09-01 | Assembly building bracket connecting piece |
Publications (1)
| Publication Number | Publication Date |
|---|---|
| CN111877556A true CN111877556A (en) | 2020-11-03 |
Family
ID=73198857
Family Applications (1)
| Application Number | Title | Priority Date | Filing Date |
|---|---|---|---|
| CN202010903617.XA Pending CN111877556A (en) | 2020-09-01 | 2020-09-01 | Assembly building bracket connecting piece |
Country Status (1)
| Country | Link |
|---|---|
| CN (1) | CN111877556A (en) |
Cited By (2)
| Publication number | Priority date | Publication date | Assignee | Title |
|---|---|---|---|---|
| CN113622537A (en) * | 2021-08-23 | 2021-11-09 | 柏林 | Shock absorption steel structure connecting piece connected with column foundation shock absorber |
| CN116607627A (en) * | 2023-07-06 | 2023-08-18 | 中国人民解放军军事科学院国防工程研究院 | Split type beam column connecting joint of composite material member |
Citations (9)
| Publication number | Priority date | Publication date | Assignee | Title |
|---|---|---|---|---|
| JP2004027655A (en) * | 2002-06-26 | 2004-01-29 | Masakatsu Uchida | Column-beam joint part intersecting method for building steel structure |
| CN202099881U (en) * | 2011-05-05 | 2012-01-04 | 杨东佐 | A kind of connector of building frame structure and building frame structure |
| CN108532777A (en) * | 2018-04-20 | 2018-09-14 | 青岛理工大学 | Fully assembled circular steel frame concrete connection node and installation method |
| CN208023722U (en) * | 2018-03-23 | 2018-10-30 | 柏林 | A kind of assembling structure of assembling type steel structure building |
| CN109322393A (en) * | 2018-11-26 | 2019-02-12 | 柏林 | A kind of sets of brackets on top of the columns connector of H profile steel building |
| CN109914600A (en) * | 2019-04-28 | 2019-06-21 | 柏林 | Fixtures in H-beam buildings |
| CN209429266U (en) * | 2018-11-26 | 2019-09-24 | 柏林 | A kind of sets of brackets on top of the columns connector of H profile steel building |
| CN110629879A (en) * | 2019-08-22 | 2019-12-31 | 广东玖米空间科技有限公司 | Assembly type building structure system and upright post and cross beam connecting device thereof |
| CN212295062U (en) * | 2020-09-01 | 2021-01-05 | 柏林 | Assembly building bracket connecting piece |
-
2020
- 2020-09-01 CN CN202010903617.XA patent/CN111877556A/en active Pending
Patent Citations (9)
| Publication number | Priority date | Publication date | Assignee | Title |
|---|---|---|---|---|
| JP2004027655A (en) * | 2002-06-26 | 2004-01-29 | Masakatsu Uchida | Column-beam joint part intersecting method for building steel structure |
| CN202099881U (en) * | 2011-05-05 | 2012-01-04 | 杨东佐 | A kind of connector of building frame structure and building frame structure |
| CN208023722U (en) * | 2018-03-23 | 2018-10-30 | 柏林 | A kind of assembling structure of assembling type steel structure building |
| CN108532777A (en) * | 2018-04-20 | 2018-09-14 | 青岛理工大学 | Fully assembled circular steel frame concrete connection node and installation method |
| CN109322393A (en) * | 2018-11-26 | 2019-02-12 | 柏林 | A kind of sets of brackets on top of the columns connector of H profile steel building |
| CN209429266U (en) * | 2018-11-26 | 2019-09-24 | 柏林 | A kind of sets of brackets on top of the columns connector of H profile steel building |
| CN109914600A (en) * | 2019-04-28 | 2019-06-21 | 柏林 | Fixtures in H-beam buildings |
| CN110629879A (en) * | 2019-08-22 | 2019-12-31 | 广东玖米空间科技有限公司 | Assembly type building structure system and upright post and cross beam connecting device thereof |
| CN212295062U (en) * | 2020-09-01 | 2021-01-05 | 柏林 | Assembly building bracket connecting piece |
Cited By (2)
| Publication number | Priority date | Publication date | Assignee | Title |
|---|---|---|---|---|
| CN113622537A (en) * | 2021-08-23 | 2021-11-09 | 柏林 | Shock absorption steel structure connecting piece connected with column foundation shock absorber |
| CN116607627A (en) * | 2023-07-06 | 2023-08-18 | 中国人民解放军军事科学院国防工程研究院 | Split type beam column connecting joint of composite material member |
Similar Documents
| Publication | Publication Date | Title |
|---|---|---|
| CN104912190B (en) | Dry type joggle frame structure | |
| CN111962949B (en) | A middle node of a steel tube concrete column-H-shaped steel beam-steel support-π-shaped connector combined middle column and its construction method | |
| CN109537726B (en) | Rectangular steel pipe column-H steel beam full-bolt connection semi-rigid joint and construction method | |
| WO2019178905A1 (en) | Assembling structure for assembled steel structure building | |
| CN106149880A (en) | Use the assembling room of new architecture | |
| CN211548042U (en) | Connector Insertion Type Steel Tube Column and Steel Beam Connection Node | |
| CN108589971A (en) | A kind of closed-section steel deck combined concrete shear wall connecting node and production method | |
| CN213297357U (en) | Concrete column-H steel beam-steel support-π combined middle column middle node | |
| CN107989180A (en) | A kind of accentric support frame | |
| CN111877556A (en) | Assembly building bracket connecting piece | |
| CN111962953B (en) | A steel tube concrete column-H-shaped steel beam-steel support-π-shaped connector combined side column middle node and its construction method | |
| CN215716245U (en) | An assembled composite wall panel horizontal joint connection structure | |
| CN111962950B (en) | A composite corner column middle node of steel tube concrete column-H-shaped steel beam-steel support-π-shaped connector and its construction method | |
| CN110541478A (en) | Steel pipe column and steel beam connecting joint with internally inserted connecting piece | |
| CN110924538B (en) | Concrete column node zone steel bushing and concrete column beam node connection structure | |
| CN209339326U (en) | A steel-concrete composite node | |
| CN209585270U (en) | Rectangle steel tubing string-H girder steel is bolted structures with semi-rigid joints entirely | |
| CN212927239U (en) | A CFST column-H steel beam-support-π-shaped combined corner column bottom node | |
| CN105888101A (en) | Modular assembly type T-shaped cold-formed thin-walled steel combined wall and connecting mode thereof | |
| CN201250449Y (en) | Cast steel joints suitable for double-cable tensioning of string trusses | |
| CN210767220U (en) | Assembled steel structure | |
| CN212295062U (en) | Assembly building bracket connecting piece | |
| CN220058300U (en) | A frame component connection structure for prefabricated buildings | |
| CN209099519U (en) | An assembled prestressed reinforced concrete frame structure | |
| CN213539882U (en) | A CFST column H steel beam supports the middle node of the π-shaped connecting side column |
Legal Events
| Date | Code | Title | Description |
|---|---|---|---|
| PB01 | Publication | ||
| PB01 | Publication | ||
| SE01 | Entry into force of request for substantive examination | ||
| SE01 | Entry into force of request for substantive examination |
