CN111877106B - 一种道路施工用定位抹水泥装置 - Google Patents
一种道路施工用定位抹水泥装置 Download PDFInfo
- Publication number
- CN111877106B CN111877106B CN202010691531.5A CN202010691531A CN111877106B CN 111877106 B CN111877106 B CN 111877106B CN 202010691531 A CN202010691531 A CN 202010691531A CN 111877106 B CN111877106 B CN 111877106B
- Authority
- CN
- China
- Prior art keywords
- transmission
- sides
- material box
- plate
- smearing
- Prior art date
- Legal status (The legal status is an assumption and is not a legal conclusion. Google has not performed a legal analysis and makes no representation as to the accuracy of the status listed.)
- Active
Links
- 239000004568 cement Substances 0.000 title claims abstract description 31
- 238000010276 construction Methods 0.000 title claims abstract description 18
- 230000005540 biological transmission Effects 0.000 claims abstract description 94
- 239000000463 material Substances 0.000 claims abstract description 41
- 238000003756 stirring Methods 0.000 claims abstract description 16
- 230000000903 blocking effect Effects 0.000 claims description 3
- 239000011440 grout Substances 0.000 description 5
- 239000002002 slurry Substances 0.000 description 3
- 230000000694 effects Effects 0.000 description 2
- 238000000034 method Methods 0.000 description 2
- 230000007547 defect Effects 0.000 description 1
- 238000012986 modification Methods 0.000 description 1
- 230000004048 modification Effects 0.000 description 1
- 239000003973 paint Substances 0.000 description 1
- 238000006467 substitution reaction Methods 0.000 description 1
Images
Classifications
-
- E—FIXED CONSTRUCTIONS
- E01—CONSTRUCTION OF ROADS, RAILWAYS, OR BRIDGES
- E01C—CONSTRUCTION OF, OR SURFACES FOR, ROADS, SPORTS GROUNDS, OR THE LIKE; MACHINES OR AUXILIARY TOOLS FOR CONSTRUCTION OR REPAIR
- E01C19/00—Machines, tools or auxiliary devices for preparing or distributing paving materials, for working the placed materials, or for forming, consolidating, or finishing the paving
- E01C19/48—Machines, tools or auxiliary devices for preparing or distributing paving materials, for working the placed materials, or for forming, consolidating, or finishing the paving for laying-down the materials and consolidating them, or finishing the surface, e.g. slip forms therefor, forming kerbs or gutters in a continuous operation in situ
- E01C19/4866—Machines, tools or auxiliary devices for preparing or distributing paving materials, for working the placed materials, or for forming, consolidating, or finishing the paving for laying-down the materials and consolidating them, or finishing the surface, e.g. slip forms therefor, forming kerbs or gutters in a continuous operation in situ with solely non-vibratory or non-percussive pressing or smoothing means for consolidating or finishing
- E01C19/4873—Apparatus designed for railless operation
-
- E—FIXED CONSTRUCTIONS
- E01—CONSTRUCTION OF ROADS, RAILWAYS, OR BRIDGES
- E01C—CONSTRUCTION OF, OR SURFACES FOR, ROADS, SPORTS GROUNDS, OR THE LIKE; MACHINES OR AUXILIARY TOOLS FOR CONSTRUCTION OR REPAIR
- E01C19/00—Machines, tools or auxiliary devices for preparing or distributing paving materials, for working the placed materials, or for forming, consolidating, or finishing the paving
- E01C19/02—Machines, tools or auxiliary devices for preparing or distributing paving materials, for working the placed materials, or for forming, consolidating, or finishing the paving for preparing the materials
- E01C19/10—Apparatus or plants for premixing or precoating aggregate or fillers with non-hydraulic binders, e.g. with bitumen, with resins, i.e. producing mixtures or coating aggregates otherwise than by penetrating or surface dressing; Apparatus for premixing non-hydraulic mixtures prior to placing or for reconditioning salvaged non-hydraulic compositions
- E01C19/1013—Plant characterised by the mode of operation or the construction of the mixing apparatus; Mixing apparatus
- E01C19/104—Mixing by means of movable members in a non-rotating mixing enclosure, e.g. stirrers
Landscapes
- Engineering & Computer Science (AREA)
- Architecture (AREA)
- Civil Engineering (AREA)
- Structural Engineering (AREA)
- Preparation Of Clay, And Manufacture Of Mixtures Containing Clay Or Cement (AREA)
Abstract
本发明涉及一种抹水泥装置,尤其涉及一种道路施工用定位抹水泥装置。本发明要解决的技术问题是如何提供一种降低人工操作难度,并且提高人工工作效率的道路施工用定位抹水泥装置。为了解决上述技术问题,本发明提供了这样一种道路施工用定位抹水泥装置,包括:底板,其两侧底部均连接有滚轮,其侧部连接有把手;料箱,底板上连接有料箱,料箱两侧均设有料槽;涂抹机构,底板和料箱之间连接有涂抹机构;搅拌机构,涂抹机构与料箱之间连接有搅拌机构,搅拌机构与涂抹机构传动配合。本发明通过涂抹机构无需人工用抹泥板手动将水泥抹平,减轻了人工的操作难度,提高了人工的工作效率,通过搅拌机构对水泥浆进行二次搅拌。
Description
技术领域
本发明涉及一种抹水泥装置,尤其涉及一种道路施工用定位抹水泥装置。
背景技术
道路,是通达城市的各地区,供城市内交通运输及行人使用,便于居民生活、工作及文化娱乐活动,并与市外道路连接负担着对外交通的道路,在进行道路施工过程中,需要在道路施工的路段上抹水泥,目前通常是由人工用抹泥板手动将铺在道路施工路段的水泥浆抹平,通过人工手动操作难度高,劳动强度大,工作效率低。
因此亟需研发一种降低人工操作难度,并且提高人工工作效率的道路施工用定位抹水泥装置。
发明内容
(1)要解决的技术问题
本发明为了克服通过人工手动用抹泥板将水泥浆抹平,操作难度大,工作效率低的缺点,本发明要解决的技术问题是提供一种降低人工操作难度,并且提高人工工作效率的道路施工用定位抹水泥装置。
(2)技术方案
为了解决上述技术问题,本发明提供了这样一种道路施工用定位抹水泥装置,包括:底板,其两侧底部均连接有滚轮,其侧部连接有把手;料箱,底板上连接有料箱,料箱两侧均开有料槽;涂抹机构,底板和料箱之间连接有涂抹机构;搅拌机构,涂抹机构与料箱之间连接有搅拌机构,搅拌机构与涂抹机构传动配合。
优选地,涂抹机构包括:电机,底板远离料箱的一侧连接有电机;第一传动杆,电机的输出轴上连接有第一传动杆;Z型曲轴,料箱的两侧均转动式连接有Z型曲轴;皮带传动组,Z型曲轴与第一传动杆之间连接有皮带传动组;限位板,料箱的两侧上部均开有一字槽,一字槽内滑动式连接有限位板;竖槽板,限位板上连接有竖槽板,Z型曲轴位于竖槽板内,Z型曲轴与竖槽板滑动配合;第一限位框,料箱两侧的底部均连接有第一限位框,第一限位框下部开有滑槽;涂抹板,两侧竖槽板的底端之间连接有涂抹板,涂抹板与滑槽滑动配合。
优选地,搅拌机构包括:传动齿条,涂抹板顶部的两侧均连接有传动齿条;第二传动杆,料箱底部转动式连接有两根第二传动杆,两根第二传动杆呈对称设置,第二传动杆贯穿料箱底部;第一传动齿轮,两根第二传动杆的底端均连接有第一传动齿轮,第一传动齿轮与传动齿条啮合;扇形轮,两根第二传动杆的顶端均连接有扇形轮。
优选地,还包括有平整机构,平整机构包括:第二传动齿轮,第一传动杆的中部连接有第二传动齿轮;安装板,料箱远离把手一侧的外侧面上有两块安装板,两块安装板呈对称设置;第三传动杆,两块安装板之间转动式连接有第三传动杆,第三传动杆贯穿两块安装板;第三传动齿轮,第三传动杆的中部连接有第三传动齿轮,第三传动齿轮与第二传动齿轮啮合;半齿轮,第三传动杆的两端均连接有半齿轮;第二限位框,底板靠近把手一侧的两侧均连接有第二限位框;第四传动杆,两侧的第二限位框内均滑动式连接有第四传动杆;齿条框,两侧的第四传动杆的顶部均连接有齿条框,齿条框与半齿轮啮合;滚筒,两侧的第四传动杆的底端之间连接有滚筒。
优选地,还包括:挡板,料箱的两侧均滑动式连接有用于挡住料槽的挡板;拉杆,挡板上连接有拉杆。
(3)有益效果
1.本发明通过涂抹机构无需人工用抹泥板手动将水泥抹平,减轻了人工的操作难度,提高了人工的工作效率,通过搅拌机构对水泥浆进行二次搅拌,提高了水泥浆的均匀性。
2.通过平整机构提高了水泥浆的平整度。
3.通过挡板人工无需将料箱内多余的水泥浆进行收集,进一步的减轻了人工的操作难度。
附图说明
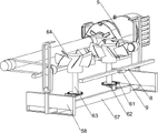
图1为本发明的第一种立体结构示意图。
图2为本发明涂抹机构和平整机构局部结构示意图。
图3为本发明的第二种立体结构示意图。
图4为本发明搅拌机构的局部结构示意图。
附图中的标记为:1-底板,2-滚轮,3-把手,4-料箱,5-涂抹机构,51-电机,52-第一传动杆,53-皮带传动组,54-Z型曲轴,55-竖槽板,56-限位板,57-涂抹板,58-第一限位框,6-搅拌机构,61-传动齿条,62-第一传动齿轮,63-第二传动杆,64-扇形轮,7-平整机构,71-第二传动齿轮,72-安装板,73-第三传动杆,74-第三传动齿轮,75-半齿轮,76-齿条框,77-第四传动杆,78-第二限位框,79-滚筒,8-挡板,9-拉杆。
具体实施方式
下面结合附图和实施例对本发明作进一步的说明。
实施例1
一种道路施工用定位抹水泥装置,如图1-4所示,包括有底板1、滚轮2、把手3、料箱4、涂抹机构5和搅拌机构6,底板1前后两侧底部均连接有滚轮2,底板1左侧连接有把手3,底板1上后部连接有料箱4,料箱4左右两侧均设有料槽,底板1和料箱4之间连接有涂抹机构5,涂抹机构5与料箱4之间连接有搅拌机构6,搅拌机构6与涂抹机构5传动配合。
涂抹机构5包括有电机51、第一传动杆52、皮带传动组53、Z型曲轴54、竖槽板55、限位板56、涂抹板57和第一限位框58,底板1前部右侧连接有电机51,电机51的输出轴上连接有第一传动杆52,料箱4的前后两侧均转动式连接有Z型曲轴54,Z型曲轴54与第一传动杆52之间均连接有皮带传动组53,料箱4前后两侧上部均开有一字槽,一字槽内滑动式连接有限位板56,限位板56前后两侧上部均连接有竖槽板55,Z型曲轴54分别位于竖槽板55内,Z型曲轴54均与竖槽板55滑动配合,料箱4前后两侧的底部均连接有第一限位框58,第一限位框58下部开有滑槽,前后两侧竖槽板55的底端之间连接有涂抹板57,涂抹板57与滑槽滑动配合。
搅拌机构6包括有传动齿条61、第一传动齿轮62、第二传动杆63和扇形轮64,涂抹板57顶部的前后两侧均连接有传动齿条61,料箱4底部转动式连接有两根第二传动杆63,两根第二传动杆63呈前后对称设置,第二传动杆63贯穿料箱4底部,两根第二传动杆63的底端均连接有第一传动齿轮62,第一传动齿轮62与传动齿条61啮合,两根第二传动杆63的顶端均连接有扇形轮64。
当需要对施工道路抹水泥时,通过把手3将本装置推至施工道路上,将水泥浆倒入料箱4内,水泥浆从料箱4左右两侧的料槽流落至施工道路上,人工推动本装置,启动电机51,电机51转动带动第一传动杆52转动,第一传动杆52转动通过皮带传动组53带动Z型曲轴54转动,Z型曲轴54转动带动竖槽板55和限位板56左右往复移动,竖槽板55左右往复移动带动涂抹板57左右往复移动,涂抹板57左右往复移动随之对流落下来的水泥浆进行涂抹,涂抹板57左右往复移动的同时带动传动齿条61左右往复移动,传动齿条61左右往复移动带动第一传动齿轮62转动,第一传动齿轮62转动通过第二传动杆63带动扇形轮64转动,扇形轮64转动可对水泥浆进行二次搅拌,如此,通过涂抹机构5无需人工用抹泥板手动将水泥抹平,减轻了人工的操作难度,提高了人工的工作效率,通过搅拌机构6对水泥浆进行二次搅拌,提高了水泥浆的均匀性。
实施例2
在实施例1的基础之上,如图2所示,还包括有平整机构7,平整机构7包括有第二传动齿轮71、安装板72、第三传动杆73、第三传动齿轮74、半齿轮75、齿条框76、第四传动杆77、第二限位框78和滚筒79,第一传动杆52的中部连接有第二传动齿轮71,料箱4右侧的外侧面上有两块安装板72,两块安装板72呈前后对称设置,两块安装板72之间转动式连接有第三传动杆73,第三传动杆73贯穿两块安装板72,第三传动杆73的中部连接有第三传动齿轮74,第三传动齿轮74与第二传动齿轮71啮合,第三传动杆73的前后两端均连接有半齿轮75,底板1右侧的前后两侧均连接有第二限位框78,前后两侧的第二限位框78内均滑动式连接有第四传动杆77,前后两侧的第四传动杆77的顶部均连接有齿条框76,齿条框76与半齿轮75啮合,前后两侧的第四传动杆77的底端之间连接有滚筒79。
第一传动杆52转动的同时带动第二传动齿轮71转动,第二传动齿轮71转动带动第三传动齿轮74转动,第三传动齿轮74转动通过第三传动杆73带动半齿轮75转动,半齿轮75转动通过齿条框76带动第四传动杆77左右往复移动,第四传动杆77左右往复移动随之带动滚筒79左右往复移动,滚筒79左右往复移动即可对抹平的水泥浆进行二次平整,如此,通过平整机构7提高了水泥浆的平整度。
如图3所示,还包括有挡板8和拉杆9,料箱4左右两侧均滑动式连接有用于挡住料槽的挡板8,挡板8上连接有拉杆9。
通过挡板8挡住料箱4上的料槽,料箱4内的水泥浆不再流落至施工道路上,当人工需要继续工作时,通过拉杆9将挡板8拉出不再挡住料槽,如此,通过挡板8人工可控制水泥浆是否下落,进一步的减轻了人工的操作难度。
以上所述实施例仅表达了本发明的优选实施方式,其描述较为具体和详细,但并不能因此而理解为对本发明专利范围的限制。应当指出的是,对于本领域的普通技术人员来说,在不脱离本发明构思的前提下,还可以做出若干变形、改进及替代,这些都属于本发明的保护范围。因此,本发明专利的保护范围应以所附权利要求为准。
Claims (1)
1.一种道路施工用定位抹水泥装置,其特征在于,包括:
底板(1),其两侧底部均连接有滚轮(2),其侧部连接有把手(3);
料箱(4),底板(1)上连接有料箱(4),料箱(4)两侧均开有料槽;
涂抹机构(5),底板(1)和料箱(4)之间连接有涂抹机构(5);
搅拌机构(6),涂抹机构(5)与料箱(4)之间连接有搅拌机构(6),搅拌机构(6)与涂抹机构(5)传动配合;
涂抹机构(5)包括:
电机(51),底板(1)远离料箱(4)的一侧连接有电机(51);
第一传动杆(52),电机(51)的输出轴上连接有第一传动杆(52);
Z型曲轴(54),料箱(4)的两侧均转动式连接有Z型曲轴(54);
皮带传动组(53),Z型曲轴(54)与第一传动杆(52)之间连接有皮带传动组(53);
限位板(56),料箱(4)的两侧上部均开有一字槽,一字槽内滑动式连接有限位板(56);
竖槽板(55),限位板(56)上连接有竖槽板(55),Z型曲轴(54)位于竖槽板(55)内,Z型曲轴(54)与竖槽板(55)滑动配合;
第一限位框(58),料箱(4)两侧的底部均连接有第一限位框(58),第一限位框(58)下部开有滑槽;
涂抹板(57),两侧竖槽板(55)的底端之间连接有涂抹板(57),涂抹板(57)与滑槽滑动配合;
搅拌机构(6)包括:
传动齿条(61),涂抹板(57)顶部的两侧均连接有传动齿条(61);
第二传动杆(63),料箱(4)底部转动式连接有两根第二传动杆(63),两根第二传动杆(63)呈对称设置,第二传动杆(63)贯穿料箱(4)底部;
第一传动齿轮(62),两根第二传动杆(63)的底端均连接有第一传动齿轮(62),第一传动齿轮(62)与传动齿条(61)啮合;
扇形轮(64),两根第二传动杆(63)的顶端均连接有扇形轮(64);
还包括有平整机构(7),平整机构(7)包括:第二传动齿轮(71),第一传动杆(52)的中部连接有第二传动齿轮(71);
安装板(72),料箱(4)远离把手(3)一侧的外侧面上有两块安装板(72),两块安装板(72)呈对称设置;
第三传动杆(73),两块安装板(72)之间转动式连接有第三传动杆(73),第三传动杆(73)贯穿两块安装板(72);
第三传动齿轮(74),第三传动杆(73)的中部连接有第三传动齿轮(74),第三传动齿轮(74)与第二传动齿轮(71)啮合;
半齿轮(75),第三传动杆(73)的两端均连接有半齿轮(75);
第二限位框(78),底板(1)靠近把手(3)一侧的两侧均连接有第二限位框(78);
第四传动杆(77),两侧的第二限位框(78)内均滑动式连接有第四传动杆(77);
齿条框(76),两侧的第四传动杆(77)的顶部均连接有齿条框(76),齿条框(76)与半齿轮(75)啮合;
滚筒(79),两侧的第四传动杆(77)的底端之间连接有滚筒(79);
还包括:挡板(8),料箱(4)的两侧均滑动式连接有用于挡住料槽的挡板(8);
拉杆(9),挡板(8)上连接有拉杆(9)。
Priority Applications (1)
| Application Number | Priority Date | Filing Date | Title |
|---|---|---|---|
| CN202010691531.5A CN111877106B (zh) | 2020-07-17 | 2020-07-17 | 一种道路施工用定位抹水泥装置 |
Applications Claiming Priority (1)
| Application Number | Priority Date | Filing Date | Title |
|---|---|---|---|
| CN202010691531.5A CN111877106B (zh) | 2020-07-17 | 2020-07-17 | 一种道路施工用定位抹水泥装置 |
Publications (2)
| Publication Number | Publication Date |
|---|---|
| CN111877106A CN111877106A (zh) | 2020-11-03 |
| CN111877106B true CN111877106B (zh) | 2022-06-24 |
Family
ID=73155997
Family Applications (1)
| Application Number | Title | Priority Date | Filing Date |
|---|---|---|---|
| CN202010691531.5A Active CN111877106B (zh) | 2020-07-17 | 2020-07-17 | 一种道路施工用定位抹水泥装置 |
Country Status (1)
| Country | Link |
|---|---|
| CN (1) | CN111877106B (zh) |
Families Citing this family (1)
| Publication number | Priority date | Publication date | Assignee | Title |
|---|---|---|---|---|
| CN116116263A (zh) * | 2023-04-13 | 2023-05-16 | 山西丹源新材料科技股份有限公司 | 一种石墨化阴极生产定量配比混料装置 |
Citations (12)
| Publication number | Priority date | Publication date | Assignee | Title |
|---|---|---|---|---|
| CA2357132A1 (en) * | 2001-02-24 | 2002-08-24 | Cmi Corporation | Concrete curing machine |
| CN205776023U (zh) * | 2016-05-04 | 2016-12-07 | 李秉京 | 一种高速公路上灰尘处理装置 |
| CN107263714A (zh) * | 2017-07-12 | 2017-10-20 | 胡沛 | 一种具有振捣抹平功能的道路建设用混凝土搅拌机 |
| CN108103902A (zh) * | 2017-12-21 | 2018-06-01 | 郑州国知网络技术有限公司 | 一种水泥路施工用摊平装置 |
| CN108301292A (zh) * | 2017-12-19 | 2018-07-20 | 山西云度知识产权服务有限公司 | 一种道路施工用路面抹平装置 |
| CN108360341A (zh) * | 2018-05-17 | 2018-08-03 | 王小明 | 一种建筑用水泥地面抹平装置 |
| CN208072147U (zh) * | 2018-01-15 | 2018-11-09 | 新昌县儒岙镇高天机械厂 | 一种用于市政工程的路面水泥铺展装置 |
| CN109778641A (zh) * | 2019-02-25 | 2019-05-21 | 泉州市华祥工业设计有限公司 | 建筑工程用混凝土高效摊平装置 |
| CN110106767A (zh) * | 2019-05-24 | 2019-08-09 | 赣州市兴顺辉科技有限公司 | 一种道路施工用混凝土铺设振捣一体装置 |
| CN110388059A (zh) * | 2019-08-09 | 2019-10-29 | 滨州职业学院 | 一种建筑施工混凝土自动浇灌装置 |
| CN210288043U (zh) * | 2019-07-03 | 2020-04-10 | 李春香 | 一种水泥混凝土路面抹面机 |
| CN210636269U (zh) * | 2019-07-06 | 2020-05-29 | 刘雪琳 | 一种公路路基整平装置 |
Family Cites Families (6)
| Publication number | Priority date | Publication date | Assignee | Title |
|---|---|---|---|---|
| WO2003031751A2 (en) * | 2001-10-09 | 2003-04-17 | Delaware Capital Formation, Inc. | Lightweight apparatus for screeding and vibrating uncured concrete surfaces |
| RU2325993C1 (ru) * | 2006-11-14 | 2008-06-10 | Государственное образовательное учреждение высшего профессионального образования "Тверской государственный технический университет" | Устройство для приготовления сухой строительной смеси |
| DE102013007061B4 (de) * | 2013-01-28 | 2021-09-02 | Bomag Gmbh | Höhenverstellvorrichtung für eine Ausfahrbohle eines Straßenfertigers sowie Straßenfertiger mit einer derartigen Höhenverstellvorrichtung |
| ITUA20161455A1 (it) * | 2016-03-08 | 2017-09-08 | Sirti Spa | Macchina per la preparazione e posa di un tappeto bituminoso per la chiusura di micro-trincee. |
| CN107558336A (zh) * | 2017-09-08 | 2018-01-09 | 广州林腾生物科技有限公司 | 一种市政水泥地面铺设装置 |
| CN111409194B (zh) * | 2020-04-03 | 2021-07-23 | 重庆公共运输职业学院 | 一种道路桥梁用材料混合装置 |
-
2020
- 2020-07-17 CN CN202010691531.5A patent/CN111877106B/zh active Active
Patent Citations (12)
| Publication number | Priority date | Publication date | Assignee | Title |
|---|---|---|---|---|
| CA2357132A1 (en) * | 2001-02-24 | 2002-08-24 | Cmi Corporation | Concrete curing machine |
| CN205776023U (zh) * | 2016-05-04 | 2016-12-07 | 李秉京 | 一种高速公路上灰尘处理装置 |
| CN107263714A (zh) * | 2017-07-12 | 2017-10-20 | 胡沛 | 一种具有振捣抹平功能的道路建设用混凝土搅拌机 |
| CN108301292A (zh) * | 2017-12-19 | 2018-07-20 | 山西云度知识产权服务有限公司 | 一种道路施工用路面抹平装置 |
| CN108103902A (zh) * | 2017-12-21 | 2018-06-01 | 郑州国知网络技术有限公司 | 一种水泥路施工用摊平装置 |
| CN208072147U (zh) * | 2018-01-15 | 2018-11-09 | 新昌县儒岙镇高天机械厂 | 一种用于市政工程的路面水泥铺展装置 |
| CN108360341A (zh) * | 2018-05-17 | 2018-08-03 | 王小明 | 一种建筑用水泥地面抹平装置 |
| CN109778641A (zh) * | 2019-02-25 | 2019-05-21 | 泉州市华祥工业设计有限公司 | 建筑工程用混凝土高效摊平装置 |
| CN110106767A (zh) * | 2019-05-24 | 2019-08-09 | 赣州市兴顺辉科技有限公司 | 一种道路施工用混凝土铺设振捣一体装置 |
| CN210288043U (zh) * | 2019-07-03 | 2020-04-10 | 李春香 | 一种水泥混凝土路面抹面机 |
| CN210636269U (zh) * | 2019-07-06 | 2020-05-29 | 刘雪琳 | 一种公路路基整平装置 |
| CN110388059A (zh) * | 2019-08-09 | 2019-10-29 | 滨州职业学院 | 一种建筑施工混凝土自动浇灌装置 |
Also Published As
| Publication number | Publication date |
|---|---|
| CN111877106A (zh) | 2020-11-03 |
Similar Documents
| Publication | Publication Date | Title |
|---|---|---|
| CN113958103B (zh) | 一种室内地面施工装置 | |
| CN206487154U (zh) | 一种建筑地面整平装置 | |
| CN111877106B (zh) | 一种道路施工用定位抹水泥装置 | |
| CN109025215B (zh) | 一种全自动铺地砖机 | |
| CN111877716B (zh) | 一种建筑地面施工装置 | |
| CN103437537A (zh) | 墙体整平机 | |
| CN114319027B (zh) | 一种公路施工混凝土路面平整装置 | |
| CN111794050A (zh) | 一种道路施工用水泥找平车 | |
| CN110439287B (zh) | 金刚砂楼面一次成型工艺 | |
| CN203452353U (zh) | 墙体整平机 | |
| CN111663443A (zh) | 一种道路桥梁施工用整平装置 | |
| CN213329848U (zh) | 一种地面施工车 | |
| CN213681589U (zh) | 一种市政道路施工用的水泥抹平装置 | |
| CN213476545U (zh) | 一种小型市政道路用抹平设备 | |
| CN212176354U (zh) | 一种用于屋面泡沫混凝土的刮平装置 | |
| CN211321937U (zh) | 一种可调节平底面积的平地机 | |
| CN213653117U (zh) | 摊铺装置 | |
| CN211340299U (zh) | 一种公路养护用沥青铺平装置 | |
| CN213115409U (zh) | 一种透水混凝土施工用摊平装置 | |
| CN210975458U (zh) | 一种建筑公路施工用石灰粉铺设装置 | |
| CN202577915U (zh) | 抹灰机 | |
| CN216239591U (zh) | 一种室内地面施工辅助设备 | |
| CN223061404U (zh) | 一种发光混凝土施工用摊平设备 | |
| CN222021893U (zh) | 一种地砖铺设用水泥砂浆混合装置 | |
| CN220036195U (zh) | 一种可调节砌筑简易铺灰器 |
Legal Events
| Date | Code | Title | Description |
|---|---|---|---|
| PB01 | Publication | ||
| PB01 | Publication | ||
| SE01 | Entry into force of request for substantive examination | ||
| SE01 | Entry into force of request for substantive examination | ||
| TA01 | Transfer of patent application right |
Effective date of registration: 20220607 Address after: 231100 room 103, building B26, aoqingcheng phase II, Shuangdun Town, Changfeng County, Hefei City, Anhui Province Applicant after: Xinzheng Construction Group Co.,Ltd. Address before: 510700 room 304, No. 7, Zhuyuan Road, Xinlong Town, Huangpu District, Guangzhou City, Guangdong Province Applicant before: Chen Jianjun |
|
| TA01 | Transfer of patent application right | ||
| GR01 | Patent grant | ||
| GR01 | Patent grant |