CN111853692A - A lamp holder, lighting module and vehicle - Google Patents
A lamp holder, lighting module and vehicle Download PDFInfo
- Publication number
- CN111853692A CN111853692A CN201911242767.4A CN201911242767A CN111853692A CN 111853692 A CN111853692 A CN 111853692A CN 201911242767 A CN201911242767 A CN 201911242767A CN 111853692 A CN111853692 A CN 111853692A
- Authority
- CN
- China
- Prior art keywords
- circuit board
- heat sink
- connector
- pin
- radiator
- Prior art date
- Legal status (The legal status is an assumption and is not a legal conclusion. Google has not performed a legal analysis and makes no representation as to the accuracy of the status listed.)
- Pending
Links
Images
Classifications
-
- F—MECHANICAL ENGINEERING; LIGHTING; HEATING; WEAPONS; BLASTING
- F21—LIGHTING
- F21S—NON-PORTABLE LIGHTING DEVICES; SYSTEMS THEREOF; VEHICLE LIGHTING DEVICES SPECIALLY ADAPTED FOR VEHICLE EXTERIORS
- F21S41/00—Illuminating devices specially adapted for vehicle exteriors, e.g. headlamps
- F21S41/10—Illuminating devices specially adapted for vehicle exteriors, e.g. headlamps characterised by the light source
- F21S41/14—Illuminating devices specially adapted for vehicle exteriors, e.g. headlamps characterised by the light source characterised by the type of light source
- F21S41/141—Light emitting diodes [LED]
-
- F—MECHANICAL ENGINEERING; LIGHTING; HEATING; WEAPONS; BLASTING
- F21—LIGHTING
- F21S—NON-PORTABLE LIGHTING DEVICES; SYSTEMS THEREOF; VEHICLE LIGHTING DEVICES SPECIALLY ADAPTED FOR VEHICLE EXTERIORS
- F21S41/00—Illuminating devices specially adapted for vehicle exteriors, e.g. headlamps
- F21S41/10—Illuminating devices specially adapted for vehicle exteriors, e.g. headlamps characterised by the light source
- F21S41/19—Attachment of light sources or lamp holders
-
- F—MECHANICAL ENGINEERING; LIGHTING; HEATING; WEAPONS; BLASTING
- F21—LIGHTING
- F21S—NON-PORTABLE LIGHTING DEVICES; SYSTEMS THEREOF; VEHICLE LIGHTING DEVICES SPECIALLY ADAPTED FOR VEHICLE EXTERIORS
- F21S43/00—Signalling devices specially adapted for vehicle exteriors, e.g. brake lamps, direction indicator lights or reversing lights
- F21S43/10—Signalling devices specially adapted for vehicle exteriors, e.g. brake lamps, direction indicator lights or reversing lights characterised by the light source
- F21S43/13—Signalling devices specially adapted for vehicle exteriors, e.g. brake lamps, direction indicator lights or reversing lights characterised by the light source characterised by the type of light source
- F21S43/14—Light emitting diodes [LED]
-
- F—MECHANICAL ENGINEERING; LIGHTING; HEATING; WEAPONS; BLASTING
- F21—LIGHTING
- F21S—NON-PORTABLE LIGHTING DEVICES; SYSTEMS THEREOF; VEHICLE LIGHTING DEVICES SPECIALLY ADAPTED FOR VEHICLE EXTERIORS
- F21S43/00—Signalling devices specially adapted for vehicle exteriors, e.g. brake lamps, direction indicator lights or reversing lights
- F21S43/10—Signalling devices specially adapted for vehicle exteriors, e.g. brake lamps, direction indicator lights or reversing lights characterised by the light source
- F21S43/19—Attachment of light sources or lamp holders
-
- F—MECHANICAL ENGINEERING; LIGHTING; HEATING; WEAPONS; BLASTING
- F21—LIGHTING
- F21S—NON-PORTABLE LIGHTING DEVICES; SYSTEMS THEREOF; VEHICLE LIGHTING DEVICES SPECIALLY ADAPTED FOR VEHICLE EXTERIORS
- F21S45/00—Arrangements within vehicle lighting devices specially adapted for vehicle exteriors, for purposes other than emission or distribution of light
- F21S45/40—Cooling of lighting devices
- F21S45/47—Passive cooling, e.g. using fins, thermal conductive elements or openings
- F21S45/48—Passive cooling, e.g. using fins, thermal conductive elements or openings with means for conducting heat from the inside to the outside of the lighting devices, e.g. with fins on the outer surface of the lighting device
-
- F—MECHANICAL ENGINEERING; LIGHTING; HEATING; WEAPONS; BLASTING
- F21—LIGHTING
- F21S—NON-PORTABLE LIGHTING DEVICES; SYSTEMS THEREOF; VEHICLE LIGHTING DEVICES SPECIALLY ADAPTED FOR VEHICLE EXTERIORS
- F21S8/00—Lighting devices intended for fixed installation
-
- F—MECHANICAL ENGINEERING; LIGHTING; HEATING; WEAPONS; BLASTING
- F21—LIGHTING
- F21V—FUNCTIONAL FEATURES OR DETAILS OF LIGHTING DEVICES OR SYSTEMS THEREOF; STRUCTURAL COMBINATIONS OF LIGHTING DEVICES WITH OTHER ARTICLES, NOT OTHERWISE PROVIDED FOR
- F21V23/00—Arrangement of electric circuit elements in or on lighting devices
- F21V23/003—Arrangement of electric circuit elements in or on lighting devices the elements being electronics drivers or controllers for operating the light source, e.g. for a LED array
-
- F—MECHANICAL ENGINEERING; LIGHTING; HEATING; WEAPONS; BLASTING
- F21—LIGHTING
- F21V—FUNCTIONAL FEATURES OR DETAILS OF LIGHTING DEVICES OR SYSTEMS THEREOF; STRUCTURAL COMBINATIONS OF LIGHTING DEVICES WITH OTHER ARTICLES, NOT OTHERWISE PROVIDED FOR
- F21V29/00—Protecting lighting devices from thermal damage; Cooling or heating arrangements specially adapted for lighting devices or systems
- F21V29/50—Cooling arrangements
- F21V29/502—Cooling arrangements characterised by the adaptation for cooling of specific components
- F21V29/508—Cooling arrangements characterised by the adaptation for cooling of specific components of electrical circuits
-
- F—MECHANICAL ENGINEERING; LIGHTING; HEATING; WEAPONS; BLASTING
- F21—LIGHTING
- F21V—FUNCTIONAL FEATURES OR DETAILS OF LIGHTING DEVICES OR SYSTEMS THEREOF; STRUCTURAL COMBINATIONS OF LIGHTING DEVICES WITH OTHER ARTICLES, NOT OTHERWISE PROVIDED FOR
- F21V29/00—Protecting lighting devices from thermal damage; Cooling or heating arrangements specially adapted for lighting devices or systems
- F21V29/50—Cooling arrangements
- F21V29/70—Cooling arrangements characterised by passive heat-dissipating elements, e.g. heat-sinks
- F21V29/71—Cooling arrangements characterised by passive heat-dissipating elements, e.g. heat-sinks using a combination of separate elements interconnected by heat-conducting means, e.g. with heat pipes or thermally conductive bars between separate heat-sink elements
- F21V29/717—Cooling arrangements characterised by passive heat-dissipating elements, e.g. heat-sinks using a combination of separate elements interconnected by heat-conducting means, e.g. with heat pipes or thermally conductive bars between separate heat-sink elements using split or remote units thermally interconnected, e.g. by thermally conductive bars or heat pipes
-
- F—MECHANICAL ENGINEERING; LIGHTING; HEATING; WEAPONS; BLASTING
- F21—LIGHTING
- F21W—INDEXING SCHEME ASSOCIATED WITH SUBCLASSES F21K, F21L, F21S and F21V, RELATING TO USES OR APPLICATIONS OF LIGHTING DEVICES OR SYSTEMS
- F21W2107/00—Use or application of lighting devices on or in particular types of vehicles
- F21W2107/10—Use or application of lighting devices on or in particular types of vehicles for land vehicles
-
- F—MECHANICAL ENGINEERING; LIGHTING; HEATING; WEAPONS; BLASTING
- F21—LIGHTING
- F21Y—INDEXING SCHEME ASSOCIATED WITH SUBCLASSES F21K, F21L, F21S and F21V, RELATING TO THE FORM OR THE KIND OF THE LIGHT SOURCES OR OF THE COLOUR OF THE LIGHT EMITTED
- F21Y2115/00—Light-generating elements of semiconductor light sources
- F21Y2115/10—Light-emitting diodes [LED]
Landscapes
- Engineering & Computer Science (AREA)
- General Engineering & Computer Science (AREA)
- Microelectronics & Electronic Packaging (AREA)
- Physics & Mathematics (AREA)
- Optics & Photonics (AREA)
- Arrangement Of Elements, Cooling, Sealing, Or The Like Of Lighting Devices (AREA)
Abstract
本发明提供一种灯座、照明模组和车辆,该灯座包括接插件壳体(1)和散热器,所述散热器包括散热器本体(4),所述散热器本体(4)的一端适于与所述接插件壳体(1)的一端进行卡接,所述接插件壳体(1)嵌套在所述散热器本体(4)内,所述接插件壳体(1)上与所述散热器本体(4)卡接的一端和/或所述散热器本体(4)与所述上层电路板(2)接触的一侧设有第一凹槽(17),所述第一凹槽(17)内设有散热体(18),所述下层电路板(3)和/或上层电路板(2)与所述散热体(18)接触。在接插件壳体和/或散热器本体上增设与下层电路板和/或上层电路板接触的散热体,进一步加快灯座的散热速度。
The invention provides a lamp holder, a lighting module and a vehicle, the lamp holder comprises a connector housing (1) and a radiator, the radiator comprises a radiator body (4), and the radiator body (4) has a One end is adapted to be clamped with one end of the connector housing (1), the connector housing (1) is nested in the radiator body (4), and the connector housing (1) A first groove (17) is provided on the end of the upper body that is clamped to the radiator body (4) and/or the side of the radiator body (4) that is in contact with the upper circuit board (2). A heat sink (18) is arranged in the first groove (17), and the lower circuit board (3) and/or the upper circuit board (2) are in contact with the heat sink (18). A heat sink contacting the lower layer circuit board and/or the upper layer circuit board is added on the connector housing and/or the heat sink body to further accelerate the heat dissipation speed of the lamp holder.
Description
技术领域technical field
本发明涉及照明装置,具体地,涉及一种灯座、照明模组和车辆。The present invention relates to a lighting device, in particular, to a lamp holder, a lighting module and a vehicle.
背景技术Background technique
LED具有亮度高、颜色种类丰富、低功耗、寿命长的特点,被广泛应用于汽车领域,如前大灯、后组合灯、汽车阅读灯等。LED灯座是一种将LED光源、电路和安装结构做成一体的标准化的可拆卸式LED光源,使用时,可以直接将其旋入并固定在灯体或反射镜上,通过其尾部的接插件结构与外部实现电连接,并便于拆卸更换。由于其标准化的结构,可以被各种车型的灯具借用,从而降低设计与制造成本。根据不同的LED型号,可以设计成尾灯、制动灯、转向灯、倒车灯和雾灯等多种功能的LED灯座。LED has the characteristics of high brightness, rich color, low power consumption and long life, and is widely used in the automotive field, such as headlights, rear combination lights, car reading lights, etc. The LED lamp holder is a standardized detachable LED light source that integrates the LED light source, circuit and installation structure. When in use, it can be directly screwed in and fixed on the lamp body or reflector. The plug-in structure is electrically connected to the outside, and is easy to disassemble and replace. Due to its standardized structure, it can be borrowed by lamps of various models, thereby reducing design and manufacturing costs. According to different LED models, it can be designed into LED lamp sockets with various functions such as tail lights, brake lights, turn signals, reversing lights and fog lights.
由于LED灯座的外形尺寸大小受法规限制,并且为了实现车辆用照明装置的小型化和多功能化,需要在空间有限的基板上既要布置LED,又要布置数量和种类众多的元器件。此外,产品结构小意味着LED光源和元器件的散热相对会更困难,发热区域过于集中有可能会使LED温度升高,从而导致其寿命缩短,或者光通量下降不能满足法规等问题。因此,亟需提供一种在满足产品小型化和多功能化的同时,能够增大基板面积或元器件布置空间,并且能将LED光源和元器件产生的热量高效地散发到外部的LED灯座。Because the size of the LED lamp holder is limited by regulations, and in order to achieve the miniaturization and multi-function of the vehicle lighting device, it is necessary to arrange both the LED and a large number and variety of components on the substrate with limited space. In addition, the small product structure means that the heat dissipation of the LED light source and components will be relatively more difficult, and the excessive concentration of the heating area may increase the temperature of the LED, which will shorten its life, or the luminous flux will not meet the regulations and other problems. Therefore, there is an urgent need to provide an LED lamp holder that can increase the substrate area or component arrangement space while satisfying the miniaturization and multi-function of the product, and can efficiently dissipate the heat generated by the LED light source and the components to the outside. .
发明内容SUMMARY OF THE INVENTION
本发明一方面所要解决的问题是提供一种灯座,该灯座能够在实现灯座基本功能的基础上,提升散热效果。The problem to be solved in one aspect of the present invention is to provide a lamp holder, which can improve the heat dissipation effect on the basis of realizing the basic function of the lamp holder.
本发明还要解决的技术问题是提供一种照明模组,该照明模组在实现照明的基础上,具有更加完善的散热功能。The technical problem to be solved by the present invention is to provide a lighting module, which has a more perfect heat dissipation function on the basis of realizing lighting.
进一步地,本发明所要解决的技术问题是提供一种车辆,该车辆的照明模组在实现照明的基础上,散热效果更好。Further, the technical problem to be solved by the present invention is to provide a vehicle whose lighting module has better heat dissipation effect on the basis of realizing lighting.
为了实现上述目的,本发明一方面提供一种灯座,该灯座包括接插件壳体和散热器,所述散热器包括散热器本体,所述散热器本体的一端适于与所述接插件壳体的一端进行卡接,所述接插件壳体嵌套在所述散热器本体内,所述接插件壳体上的与所述散热器本体卡接的一端设有下层电路板,所述散热器本体上与所述接插件壳体卡接的一端外侧设有上层电路板;所述上层电路板与所述下层电路板电连接,所述下层电路板与电信号输出装置电连接;所述接插件壳体上与所述散热器本体卡接的一端和/或所述散热器本体与所述上层电路板接触的一侧设有第一凹槽,所述第一凹槽内设有散热体,所述下层电路板和/或上层电路板与所述散热体接触。In order to achieve the above object, one aspect of the present invention provides a lamp socket, which includes a connector housing and a radiator, the radiator includes a radiator body, and one end of the radiator body is suitable for connecting with the connector One end of the shell is clamped, the connector shell is nested in the radiator body, the end of the connector shell that is clamped with the radiator body is provided with a lower circuit board, the An upper-layer circuit board is arranged on the outer side of one end of the radiator body that is clamped with the connector housing; the upper-layer circuit board is electrically connected with the lower-layer circuit board, and the lower-layer circuit board is electrically connected with an electrical signal output device; One end of the connector housing that is clamped with the radiator body and/or the side of the radiator body that is in contact with the upper circuit board is provided with a first groove, and the first groove is provided with a first groove. A heat sink, the lower circuit board and/or the upper circuit board are in contact with the heat sink.
优选地,所述散热体为铝制散热体。Preferably, the heat sink is an aluminum heat sink.
具体地,所述散热体为上下表面平整的块状体;或者所述散热体上表面平整、下表面设有若干散热柱。Specifically, the heat dissipation body is a block body with flat upper and lower surfaces; or the heat dissipation body has a flat upper surface and a plurality of heat dissipation columns on the lower surface.
优选地,所述第一凹槽和散热体之间设有导热胶。Preferably, thermal conductive glue is provided between the first groove and the heat sink.
优选地,所述上层电路板的靠近所述散热器本体的一侧板面上设有上导热胶,所述下层电路板的两侧板面上设有下导热胶。Preferably, an upper thermally conductive adhesive is provided on one side of the upper circuit board close to the radiator body, and a lower thermally conductive adhesive is provided on both sides of the lower circuit board.
优选地,所述接插件壳体的侧壁上设有第一散热片,所述散热器本体的侧壁上设有第二散热片。Preferably, the side wall of the connector housing is provided with a first heat sink, and the side wall of the radiator body is provided with a second heat sink.
优选地,所述上层电路板与所述下层电路板通过板间PIN针电连接,所述下层电路板与所述电信号输出装置通过接插件PIN针电连接。Preferably, the upper-layer circuit board and the lower-layer circuit board are electrically connected through inter-board PIN pins, and the lower-layer circuit board and the electrical signal output device are electrically connected through a connector PIN pin.
具体地,所述板间PIN针和所述接插件PIN针均为金属嵌件,所述板间PIN针的下端头以及所述接插件PIN针的中部均被包埋在所述接插件壳体中,所述板间PIN针和接插件PIN针被包埋在所述接插件壳体中的部分均设有孔、槽、缺口或凸起。Specifically, the inter-board PIN pins and the connector PIN pins are both metal inserts, and the lower ends of the inter-board PIN pins and the middle of the connector PIN pins are both embedded in the connector housing The parts of the inter-board PIN pins and the connector PIN pins embedded in the connector housing are all provided with holes, grooves, notches or protrusions.
优选地,所述板间PIN针分别与所述上层电路板、所述下层电路板焊接,所述接插件PIN针与所述下层电路板焊接。Preferably, the inter-board PIN pins are respectively welded with the upper-layer circuit board and the lower-layer circuit board, and the connector PIN pins are welded with the lower-layer circuit board.
具体地,所述孔为圆孔、方孔或腰形孔。Specifically, the hole is a round hole, a square hole or a waist-shaped hole.
优选地,所述接插件壳体上在与所述散热器本体的卡接处设有第一密封面,所述散热器本体上在与所述接插件壳体的卡接处设有第二密封面,所述第一密封面与所述第二密封面密封连接。Preferably, the connector housing is provided with a first sealing surface at the engagement with the radiator body, and the radiator body is provided with a second sealing surface at the engagement with the connector housing A sealing surface, the first sealing surface is in sealing connection with the second sealing surface.
优选地,所述上层电路板上设有定位孔,所述散热器本体上设有定位柱,所述定位孔与所述定位柱相匹配。Preferably, the upper circuit board is provided with positioning holes, the heat sink body is provided with positioning posts, and the positioning holes are matched with the positioning posts.
优选地,所述下层电路板上设有电路板避让槽,所述接插件壳体与所述散热器本体卡接的一端依次设有壳体导向槽和壳体限位槽,所述散热器本体上设有固定筋,所述电路板避让槽、所述壳体导向槽、所述壳体限位槽均与所述固定筋相匹配。Preferably, a circuit board avoidance groove is provided on the lower circuit board, and a casing guide groove and a casing limit groove are arranged at one end of the connector housing and the radiator body in sequence, and the radiator The main body is provided with a fixing rib, and the circuit board avoiding groove, the casing guide groove and the casing limiting groove are all matched with the fixing rib.
本发明另一方面还提供一种照明模组,该照明模组包括上述任意一项所述的灯座,所述上层电路板上设有发光元件,所述下层电路板上设有电子元器件。Another aspect of the present invention also provides a lighting module, the lighting module includes the lamp holder described in any one of the above, the upper circuit board is provided with light-emitting elements, and the lower circuit board is provided with electronic components .
进一步地,该照明模组还包括灯体配合结构,所述灯体配合结构和所述灯座连接,所述散热器本体上设有灯座卡脚,所述灯座卡脚与所述灯体配合结构相匹配。Further, the lighting module further includes a lamp body matching structure, the lamp body matching structure is connected with the lamp socket, the radiator body is provided with a lamp socket clip, and the lamp socket clip is connected to the lamp body matching structure.
优选地,所述散热器本体和灯座卡脚为双色注塑一体件。Preferably, the radiator body and the lamp socket clip are two-color injection molded integral parts.
优选地,所述散热器本体上设有凸出于所述散热器本体侧面的凸起,所述灯座的灯座卡脚内侧设有能够与所述凸起配合的凹腔。Preferably, the radiator body is provided with a protrusion protruding from the side surface of the radiator body, and the inner side of the lamp socket clip of the lamp socket is provided with a concave cavity that can cooperate with the protrusion.
优选地,所述散热器本体上设有环形槽,所述散热器本体上形成有环形凸缘,所述灯座卡脚上设有能够与所述散热器本体相互嵌入的第二凹槽。Preferably, an annular groove is formed on the radiator body, an annular flange is formed on the radiator body, and a second groove that can be mutually embedded with the radiator body is formed on the lamp socket clip.
进一步优选地,所述环形凸缘上设有至少一个通槽,所述灯座卡脚上设有能够嵌入所述通槽的第一凸块。Further preferably, at least one through groove is formed on the annular flange, and a first protrusion that can be inserted into the through groove is formed on the lamp socket clip.
进一步优选地,所述环形槽内设有第三凹槽,所述灯座卡脚的内侧设有能够插入所述第三凹槽的第二凸块。Further preferably, a third groove is provided in the annular groove, and a second protrusion that can be inserted into the third groove is provided on the inner side of the lamp socket clip.
优选地,所述散热器本体上与所述灯体配合结构连接的一端设有密封圈,所述密封圈与所述灯体配合结构过盈配合。Preferably, a sealing ring is provided on the end of the heat sink body connected with the matching structure of the lamp body, and the sealing ring is in an interference fit with the matching structure of the lamp body.
进一步地,该照明模组还包括线端接插件,所述线端接插件和所述灯座连接,所述接插件壳体的侧壁上设有防错结构和防脱卡扣,所述线端接插件上设有防错限位槽和防脱卡口,所述防错结构和所述防错限位槽相匹配,所述防脱卡扣与所述防脱卡口相匹配。Further, the lighting module also includes a wire end connector, the wire end connector is connected to the lamp socket, and the side wall of the connector housing is provided with an error-proof structure and an anti-drop buckle. The wire end connector is provided with an error-proof limit slot and an anti-drop-off bayonet, the error-proof structure is matched with the error-proof limit slot, and the drop-proof clip is matched with the drop-off bayonet.
本发明第三方面还提供一种车辆,该车辆包括上述任意一项所述的照明模组。A third aspect of the present invention further provides a vehicle, which includes the lighting module described in any one of the above.
通过上述技术方案,本发明的有益效果为:Through the above-mentioned technical scheme, the beneficial effects of the present invention are:
1、将发光元件设置在上层电路板上,电子元器件设置在下层电路板上,使光源电板和控制电板进行分离设置,使得控制电板具有较大的空间,方便多种电子元器件的设置实现灯座的多功能控制,或者可以通过设置低成本、大体积的电子元器件降低照明设备的成本,同时使灯座具备充足的设计余量;1. The light-emitting element is arranged on the upper circuit board, and the electronic components are arranged on the lower circuit board, so that the light source board and the control board are separated and arranged, so that the control board has a large space and is convenient for various electronic components. The multi-function control of the lamp holder can be realized by the setting of the lamp holder, or the cost of the lighting equipment can be reduced by setting low-cost and large-volume electronic components, and the lamp holder has sufficient design margin;
2、将上层电路板上发光元件产生的热量直接通过散热器进行散热,下层电路板上电子元器件产生热量通过接插件壳体和散热器同时进行散热,降低电子元器件的耐温要求,可进一步降低生产成本;2. The heat generated by the light-emitting elements on the upper circuit board is directly dissipated through the radiator, and the heat generated by the electronic components on the lower circuit board is dissipated through the connector shell and the radiator at the same time, which reduces the temperature resistance requirements of the electronic components. further reduce production costs;
3、在接插件壳体和/或散热器本体上增设与下层电路板和/或上层电路板接触的散热体,可以进一步加快灯座的散热速度,散热体可以为上表面平整、下表面设有若干散热柱的异形体,各散热柱设置在各发热的电子元器件的下方,可根据各电子元器件发热量,设置各散热柱的长度,从而使得各电子元器件热量散发速度基本一致。3. Adding a heat sink in contact with the lower circuit board and/or the upper circuit board on the connector housing and/or the radiator body can further accelerate the heat dissipation speed of the lamp holder. The heat sink can have a flat upper surface and a lower surface. There are several special-shaped bodies of heat dissipation columns, each heat dissipation column is arranged below each heat-generating electronic component, and the length of each heat dissipation column can be set according to the heat generated by each electronic component, so that the heat dissipation speed of each electronic component is basically the same.
附图说明Description of drawings
图1是本发明灯座的一个实施例的立体结构图;1 is a perspective structural view of an embodiment of a lamp holder of the present invention;
图2是图1所示的灯座的仰视图;Fig. 2 is the bottom view of the lamp holder shown in Fig. 1;
图3是图1所示的灯座的侧视图;Figure 3 is a side view of the lamp holder shown in Figure 1;
图4是图1所示的灯座的俯视图;Fig. 4 is the top view of the lamp holder shown in Fig. 1;
图5是图4的A-A向的剖视图;Fig. 5 is the sectional view of the A-A direction of Fig. 4;
图6是本发明中散热体的一个实施例的立体结构图;6 is a perspective structural view of an embodiment of a heat sink in the present invention;
图7是图1中灯座的电路分布图;Fig. 7 is the circuit distribution diagram of the lamp holder in Fig. 1;
图8是本发明中接插件壳体的一个实施例的俯视图;Figure 8 is a top view of an embodiment of the connector housing of the present invention;
图9是本发明中散热器本体的一个实施例的仰视图;9 is a bottom view of an embodiment of a heat sink body in the present invention;
图10是本发明中灯座一个实施例中板间PIN针、接插件PIN针、散热体与接插件壳体形成的总成A的结构示意图;10 is a schematic structural diagram of an assembly A formed by an inter-board PIN pin, a connector PIN pin, a heat sink, and a connector housing in an embodiment of the lamp holder of the present invention;
图11是图10所示的总成A与下层电路板形成的总成B的结构示意图;FIG. 11 is a schematic structural diagram of the assembly B formed by the assembly A shown in FIG. 10 and the lower circuit board;
图12是图11所示的总成B与散热器本体、上层电路板形成的总成C的结构示意图;FIG. 12 is a schematic structural diagram of the assembly C formed by the assembly B shown in FIG. 11 , the radiator body and the upper circuit board;
图13是本发明中照明模组的一个实施例的安装示意图;13 is a schematic view of the installation of an embodiment of the lighting module of the present invention;
图14是本发明中接插件壳体的一个实施例的立体结构图;14 is a perspective structural view of an embodiment of the connector housing in the present invention;
图15是本发明中散热器本体和灯座卡脚双色注塑的第一种实施例的俯视示意图;15 is a schematic top view of the first embodiment of the two-color injection molding of the radiator body and the lamp socket clip according to the present invention;
图16是本发明中散热器本体和灯座卡脚双色注塑的第二种实施例的结构示意图;16 is a schematic structural diagram of the second embodiment of the two-color injection molding of the radiator body and the lamp socket clips in the present invention;
图17是图16中散热器本体和灯座卡脚的分解结构示意图;Figure 17 is a schematic diagram of the exploded structure of the radiator body and the lamp socket clip in Figure 16;
图18是本发明中散热器本体和灯座卡脚双色注塑的第三种实施例的结构示意图;FIG. 18 is a schematic structural diagram of the third embodiment of the two-color injection molding of the radiator body and the lamp socket clip according to the present invention;
图19是图18中散热器本体和灯座卡脚的分解结构示意图;Figure 19 is a schematic diagram of the exploded structure of the radiator body and the lamp socket clip in Figure 18;
图20是本发明中散热器本体和灯座卡脚双色注塑的第四种实施例的结构示意图;FIG. 20 is a schematic structural diagram of the fourth embodiment of the two-color injection molding of the radiator body and the lamp socket clip according to the present invention;
图21是图20中散热器本体和灯座卡脚的分解结构示意图。FIG. 21 is a schematic diagram of the exploded structure of the heat sink body and the lamp socket clip in FIG. 20 .
附图标记说明Description of reference numerals
1接插件壳体 11壳体导向槽1
12防错结构 13防脱卡扣12 Error-
14壳体限位槽 15第一散热片14
16第一密封面 17第一凹槽16 The
18散热体 181散热柱18
2上层电路板 21发光元件2
22定位孔 23上导热胶22
3下层电路板 31电子元器件3
32下导热胶 33电路板避让槽32 Lower
4散热器本体 41第二散热片4
42灯座卡脚 43定位柱42
44固定筋 45第二密封面44 Fixing
46凸起 47环形槽46 Raised 47 Ring Groove
48环形凸缘 481通槽48
49第二凹槽 410第一凸块49 The
411第三凹槽 412第二凸块411 The
5板间PIN针 51第一通孔5 PIN pins between
6插件PIN针 61第二通孔6 plug-in PIN pins 61 second through hole
7灯体配合结构 8线端接插件7 lamp body matching structure 8-wire terminal connector
81防错限位槽 9密封圈81 Error-
10隔板10 partitions
具体实施方式Detailed ways
以下结合附图对本发明的具体实施方式进行详细说明,应当理解的是,此处所描述的具体实施方式仅用于说明和解释本发明,本发明的保护范围并不局限于下述的具体实施方式。The specific embodiments of the present invention will be described in detail below with reference to the accompanying drawings. It should be understood that the specific embodiments described herein are only used to illustrate and explain the present invention, and the protection scope of the present invention is not limited to the following specific embodiments. .
术语“上”、“下”、“内”、“外”等指示的方位或位置关系为基于附图所示的方位或位置关系,仅是为了便于描述本发明和简化描述,而不是指示或暗示所指的装置或元件必须具有特定的方位、以特定的方位构造和操作,因此不能理解为对本发明的限制。The orientation or positional relationship indicated by the terms "upper", "lower", "inner", "outer", etc. is based on the orientation or positional relationship shown in the drawings, and is only for the convenience of describing the present invention and simplifying the description, rather than indicating or It is implied that the device or element referred to must have a particular orientation, be constructed and operate in a particular orientation, and therefore should not be construed as limiting the invention.
在本发明的描述中,需要说明的是,除非另有明确的规定和限定,术语“连接”、“卡接”应做广义理解,例如,可以是固定连接,也可以是可拆卸连接,或者是一体连接;可以是直接连接,也可以是通过中间媒介间接连接,可以是两个元件内部的连通或两个元件的相互作用关系。对于本领域的普通技术人员而言,可以根据具体情况理解上述术语在本发明中的具体含义。In the description of the present invention, it should be noted that, unless otherwise expressly specified and limited, the terms "connection" and "clamping" should be understood in a broad sense, for example, it may be a fixed connection or a detachable connection, or It is an integral connection; it can be a direct connection or an indirect connection through an intermediate medium, and it can be the internal communication of two elements or the interaction relationship between the two elements. For those of ordinary skill in the art, the specific meanings of the above terms in the present invention can be understood according to specific situations.
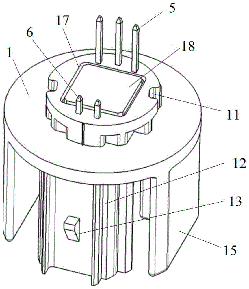
本发明第一方面提供的一种灯座,如图1-图5所示,包括接插件壳体1和散热器,所述散热器包括散热器本体4,散热器本体4的一端适于与接插件壳体1的一端进行卡接,接插件壳体1嵌套在散热器本体4内,接插件壳体1上与散热器本体4卡接的一端设有下层电路板3,散热器本体4上与接插件壳体1卡接的一端外侧设有上层电路板2;其中,上层电路板2与下层电路板3电连接,下层电路板3与电信号输出装置电连接。A lamp holder provided by the first aspect of the present invention, as shown in Figures 1-5, includes a
需要说明的是,散热器本体4上与接插件壳体1卡接的一端可以设有隔板10,隔板10远离接插件壳体1的一侧设置上层电路板2,隔板10与接插件壳体1之间设置下层电路板3。本发明中散热器本体4与接插件壳体1的卡接,可以是散热器本体4和接插件壳体1相互插入旋转卡接后,再将两者通过密封胶密封固定,也可以是散热器本体4和接插件壳体1上设置相配合的卡扣和卡槽,或者其他可以实现散热器本体4与接插件壳体1卡接的方式。本发明中灯座的接插件壳体1、上层电路板2、下层电路板3、散热器本体4等部件可以通过一体注塑、灌胶、焊接等方式进行紧固,接插件壳体1由导热塑料[导热塑料主要成分包括基体材料和填料,基体材料包括PPS((聚苯硫醚)、PA6/PA66(尼龙6/尼龙66)、LCP(液晶聚合物)、TPE(热塑性弹性体)、PC(聚碳酸酯)、PP(聚丙烯)、PPA(聚邻苯二酰胺)、PEEK(聚醚醚酮)等;填料包括AlN、SiC、Al2O3、石墨、纤维状高导热碳粉、鳞片状高导热碳粉等]成型,散热器本体4由散热材料成型。It should be noted that the end of the
通过本发明上述基本技术方案的灯座,将接插件壳体1与下层电路板3连接后,将接插件壳体1卡接到散热器本体4上,再将上层电路板2与散热器本体4连接,并将上层电路板2与下层电路板3电连接,下层电路板3与电信号输出装置电连接,使用时,如图5所示,在上层电路板2上设置发光元件21,在下层电路板3上设置控制发光元件21的电子元器件31以及其他功能的电子元器件31,电信号从电信号输出装置输入到下层电路板3,下层电路板3根据输入的电信号进行逻辑运算,再传递到上层电路板2,控制上层电路板2上的发光元件21。此时,上层电路板2上发光元件21产生的热量可直接传递给散热器本体4,从散热器本体4扩散到外界环境,下层电路板3上的电子元器件31产生的热量可传递至接插件壳体1和散热器本体4,同时进行散热,降低电子元器件31的耐温要求。Through the lamp holder of the above basic technical solution of the present invention, after connecting the
作为本发明的一种实施方式,如图5、图10所示,接插件壳体1上与所述散热器本体4卡接的一端设有第一凹槽17,第一凹槽17内设有散热体18,所述散热体18与所述下层电路板3接触。散热体18可以加快位于下层电路板3上的电子元器件31的散热速度,优选地,该散热体18的材质可以采用散热性能良好的铝。As an embodiment of the present invention, as shown in FIG. 5 and FIG. 10 , the end of the
该散热体18的形状可根据下层电路板3上的热量分布而定,当下层电路板3上的热量分布均匀时,散热体18可以为上下表面平整的块状体;当下层电路板3上的各电子元器件31的发热量差别很大,导致下层电路板3上的热量分布不均匀时,散热体18可以为上表面平整、下表面设有若干散热柱181的异形体,如图6所示,各散热柱181设置在各发热的电子元器件31的下方,根据各电子元器件31发热量的不同,各散热柱181的长度也不同,各散热柱181的长度与对应的电子元器件31的发热功率成正比。The shape of the
进一步地,第一凹槽17和散热体18之间设有导热胶,以进一步提高散热效率。Further, thermally conductive glue is provided between the
作为本发明的一种实施方式,散热器本体4与上层电路板2接触的一侧(即上述隔板10上)也可以开设第一凹槽17,第一凹槽17内设置散热体18,散热体18与上层电路板2接触,散热体18的作用和形式与在接插件壳体1上设置散热体18的作用和形式相同,此处不再赘述。As an embodiment of the present invention, the side of the
作为本发明的一种实施方式,如图5所示,上层电路板2与下层电路板3通过板间PIN针5电连接,下层电路板3与电信号输出装置通过接插件PIN针6电连接,提高上层电路板2与下层电路板3、下层电路板3与电信号输出装置之间电信号传输的效率。板间PIN针5的长度根据上层电路板2与下层电路板3之间的距离而定,数量根据不同的控制电路进行设定。As an embodiment of the present invention, as shown in FIG. 5 , the upper-
板间PIN针5和接插件PIN针6可以采用金属嵌件,例如锡青铜合金,其板间PIN针5的下端头和接插件PIN针6的中部被包埋在接插件壳体1中。在加工时,板间PIN针5和接插件PIN针6被装入接插件壳体1的模具中,再与接插件壳体1一起注塑成型,使得板间PIN针5、接插件PIN针6和接插件壳体1之间具有一定的结合力。但是,由于灯座的结构空间有限,板间PIN针5和接插件PIN针6只能做成笔直的杆状结构,而不能做成弯折的结构,在灯座安装过程中,板间PIN针5、接插件PIN针6和接插件壳体1之间因结合力较小还是容易发生松动甚至脱出的情况,存在安全隐患。鉴于此,如图5和图7所示,在板间PIN针5和接插件PIN针6被包埋在接插件壳体1中的部分设孔或槽或缺口或凸起。使得在将板间PIN针5、接插件PIN针6与接插件壳体1一体注塑时,接插件壳体1的注塑材料可以进入孔或槽或缺口内(或者注塑材料包覆凸起),最终与板间PIN针5、接插件PIN针6一体成型为一个零件,此时,沿板间PIN针5和接插件PIN针6的延伸方向,板间PIN针5和接插件PIN针6不仅受到被接插件壳体1包裹的包结力,还受到因孔或槽或缺口内外均有注塑材料而产生的结构力(或者凸起对注塑材料产生结构力),使得两者很难松脱,除非结构破坏使PIN针断裂才可能脱出。板间PIN针5和接插件PIN针6的这种结构小巧灵活,在有限的空间内没有过多地增大PIN针结构,就能够大幅提高其与接插件壳体1之间的结合力,使PIN针和接插件壳体1之间可以实现有效固定。The
优选地,上述孔的形状可以为圆孔、方孔或腰形孔等形状。作为本发明的一种实施方式,板间PIN针5上的孔为第一通孔51,接插件PIN针6上的孔为第二通孔61(如图5所示),第一通孔51和第二通孔61的形状可以相同也可以不同。Preferably, the shape of the above-mentioned hole may be a round hole, a square hole or a waist-shaped hole or the like. As an embodiment of the present invention, the hole on the
进一步地,板间PIN针5分别与上层电路板2、下层电路板3焊接,接插件PIN针6与下层电路板3焊接。板间PIN针5、接插件PIN针6的牢固连接,避免PIN针与各部件形成松动。Further, the inter-board PIN pins 5 are respectively welded with the upper
作为本发明的一种实施方式,如图8和图9所示,接插件壳体1上在与散热器本体4的卡接处设有第一密封面16,散热器本体4上在与接插件壳体1的卡接处设有第二密封面45,第一密封面16与第二密封面45密封连接。第一密封面16与第二密封面45可以通过密封胶粘接固定并密封,以增强接插件壳体1与散热器本体4连接的密封稳定性。此处,密封胶可以是仅具有密封粘接功能的密封胶,也可以根据导热需要,使用兼具密封粘接和导热功能的导热粘接剂。As an embodiment of the present invention, as shown in FIG. 8 and FIG. 9 , the
作为本发明的一种实施方式,如图1所示,上层电路板2上设有定位孔22,散热器本体4上设有定位柱43,定位孔22与定位柱43相匹配,保证上层电路板2与散热器本体4之间的位置精度,稳定连接,避免发生错位的现象。As an embodiment of the present invention, as shown in FIG. 1 , the
作为本发明的一种实施方式,如图9、图11所示,下层电路板3上设有电路板避让槽33,所述接插件壳体1与散热器本体4卡接的一端依次设有壳体导向槽11和壳体限位槽14,散热器本体4上设有固定筋44,电路板避让槽33、壳体导向槽11、壳体限位槽14均与固定筋44相匹配,使得接插件壳体1与散热器本体4安装时下层电路板3与散热器本体4不会发生干涉,散热器本体4上的固定筋44穿过壳体导向槽11抵达壳体限位槽14后进行旋转,使得固定筋44卡入壳体限位槽14内,限制固定筋44的轴向移动,防止接插件壳体1从散热器本体4下方脱出。As an embodiment of the present invention, as shown in FIG. 9 and FIG. 11 , the
上层电路板2和下层电路板3的基板根据型号不同、发热量会不同,可以是陶瓷基板、嵌陶瓷基板或者双层FR4基板。作为本发明的一种实施方式,如图5所示,上层电路板2靠近散热器本体4的一侧板面上设有上导热胶23,下层电路板3的两侧板面上设有下导热胶32。上导热胶23采用导热粘接剂,实现上层电路板2与散热器本体4之间导热和粘接固定的作用,下层电路板3靠近接插件壳体1的一侧面板上的下导热胶32可以采用导热粘接剂,也可以采用普通导热胶,下层电路板3靠近散热器本体4的一侧面板上的下导热胶32采用导热率较高的普通导热胶,增强下层电路板3与接插件壳体1、散热器本体4之间的热传递效果,提高散热的速率。The substrates of the upper-
作为本发明的一种实施方式,如图10-图12所示,接插件壳体1的侧壁上设有第一散热片15,散热器本体4的侧壁上设有第二散热片41。第一散热片15和第二散热片41可扩大散热面积,增强散热效果,同时可以加强灯座的强度。As an embodiment of the present invention, as shown in FIGS. 10-12 , the side wall of the
在本发明的一个相对优化的实施例中,灯座的装配过程如图10-图12所示,具体的装配过程为:将板间PIN针5、接插件PIN针6与接插件壳体1进行一体注塑,并在接插件壳体1的第一凹槽17内涂覆导热胶后安装散热体18,形成一个总成A;将下层电路板3的下表面涂覆下导热胶32后,将板间PIN针5、接插件PIN针6穿过下层电路板3上的焊接孔,将下层电路板3安装在总成A的接插件壳体1上并与散热体紧密贴合。通过电焊将下层电路板3与板间PIN针5、接插件PIN针6焊牢,形成总成B;将总成B装入散热器本体4内,再对接插件壳体1和散热器本体4之间进行灌胶形成下导热胶32,将上层电路板2的下表面涂覆上导热胶23,使板间PIN针5穿过上层电路板2上的焊接孔,将上层电路板2安装在散热器本体4上,接着将上层电路板2与板间PIN针5焊牢,形成总成C。使用时,在上层电路板2上设置发光元件21,在下层电路板3上设置控制发光元件21的电子元器件31以及其他功能的电子元器件31,电信号从电信号输出装置输入到下层电路板3,下层电路板3根据输入的电信号进行逻辑运算,再传递到上层电路板2,控制上层电路板2上的发光元件21,同时可以在总成C的散热器本体4上设置密封圈9形成如图1所示的总成D,用于与照明装置的其他组件进行连接。In a relatively optimized embodiment of the present invention, the assembly process of the lamp holder is shown in Figures 10-12. The specific assembly process is as follows: connect the
由以上描述可以看出,本发明的灯座的优点在于:第一方面,将发光元件21设置在上层电路板2上,电子元器件31设置在下层电路板3上,使光源电板和控制电板进行分离设置,使得控制电板具有较大的空间,方便多种电子元器件31的设置实现灯座的多功能控制,或者可以通过设置低成本、大体积的电子元器件31降低灯座的成本,使灯座具备充足的设计余量;第二方面,将上层电路板2上发光元件21产生的热量直接通过散热器本体4进行散热,下层电路板3上电子元器件31产生的大部分热量被散热体18吸收,并最终通过接插件壳体1和散热器本体4散热,大大降低电子元器件31的耐温要求,可进一步降低生产成本;上层电路板2的散热性能良好,具有较大的散热冗余,可以布置高功率的发光元件21;第三方面,在接插件壳体1和/或散热器本体4上增设与下层电路板3和/或上层电路板2接触的散热体18,可以进一步加快灯座的散热速度;散热体18可以为上表面平整、下表面设有若干散热柱181的异形体,各散热柱181设置在各发热的电子元器件31的下方,可根据各电子元器件31发热量,设置各散热柱181的长度,从而使得各电子元器件131热量散发功率基本一致。It can be seen from the above description that the advantages of the lamp holder of the present invention lie in that: in the first aspect, the light-emitting
在本发明上述的灯座的基础上,本发明第二方面提供了一种照明模组,该照明模组包括上述的灯座,上层电路板2上设有发光元件21,下层电路板3上设有电子元器件31。需要说明的是,根据照明模组的设计情况,上层电路板2上除设有发光元件21外,也可以设置少量的电子元器件。On the basis of the above-mentioned lamp holder of the present invention, the second aspect of the present invention provides a lighting module, the lighting module comprises the above-mentioned lamp holder, the
进一步地,如图13所示,该照明模组还包括灯体配合结构7,灯体配合结构7固定在灯体上,其和灯座连接,散热器本体4上设有灯座卡脚42,灯座卡脚42与灯体配合结构7相匹配以将灯座和灯体配合结构7连接。灯座卡脚42的形状及分布根据不同类型的灯体配合结构7而不同,防止错装。Further, as shown in FIG. 13 , the lighting module further includes a lamp
为了满足振动法规要求,实现灯座与灯体的牢固安装,灯座卡脚42需要具有足够的强度,由于灯座卡脚42一体成型在散热器本体4上,若散热器本体4材质为金属材料,灯座卡脚42的强度可以保证,但会增加灯座的重量;当散热器本体4材质为导热塑料时,灯体重量会减轻,但导热塑料强度不高,在与灯体配合结构7装配或者在灯体使用过程中,灯座卡脚42有发生断裂的风险。因此,作为本发明的一种实施方式,灯座卡脚42与散热器本体4为双色注塑一体件,散热器本体4的材质可选用导热性能好的材料,例如导热塑料,灯座卡脚42的材质可选用强度高的材料,例如30%玻纤增强聚丙烯[PP+30%GF(玻纤)],这样,既保证了散热器的散热性能,又保证了灯座卡脚42的机械性能。In order to meet the requirements of vibration regulations and realize the firm installation of the lamp holder and the lamp body, the
进一步地,为了增强灯座卡脚42和散热器本体4两种材质之间的结合强度,散热器本体4与灯座卡脚42双色注塑有多种表现形式。需要说明的是,图15-图21中的散热器本体4与灯座卡脚42均为一体双色注塑,两者为一体件,图17、图19、图21均是为了显示两者之间的结合形式而示的分解示意图,下述描述内容也是基于两者在假想分离的情况下的详细结构描述。Further, in order to enhance the bonding strength between the two materials of the
作为第一种表现形式,如图15所示,散热器本体4上形成有凸出于散热器本体4侧面的凸起46,灯座卡脚42内侧形成有能够与凸起46配合的凹腔,凸起46外表面与凹腔内表面完全接触。As a first form of expression, as shown in FIG. 15 , a
作为第二种表现形式,如图16、图17所示,散热器本体4上形成有环形槽47,该环形槽47在散热器本体4上形成有环形凸缘48,灯座卡脚42上形成有能够与散热器本体4相互嵌入的第二凹槽49,即环形凸缘48的上下表面分别与灯座卡脚4的第二凹槽49的上下表面接触,灯座卡脚42的下表面与散热器本体4的环形槽47的下表面接触。As a second form of expression, as shown in FIGS. 16 and 17 , an
进一步地,为了加强散热器本体4和灯座卡脚42两种材质之间的结合强度,环形凸缘48上形成有两个通槽481,灯座卡脚42上形成有能够嵌入该通槽481的第一凸块410,第一凸块410的外表面与通槽481的内表面接触。Further, in order to strengthen the bonding strength between the two materials of the
作为第三种表现形式,如图18、图19所示,其与上述第二种表现形式的不同在于,环形凸缘48上形成有四个通槽481,灯座卡脚42上形成有四个第一凸块410,通槽481和第一凸块410数量的增加可以提高灯座卡脚42和散热器本体4两种材质之间的结合强度。As a third form of expression, as shown in FIGS. 18 and 19 , the difference from the second form of expression above is that four through
作为第四种表现形式,如图20、图21所示,其与上述第二种表现形式的不同在于,在环形槽47内形成有第三凹槽411,相应地,灯座卡脚42内侧形成有能够插入该第三凹槽411的第二凸块412,第二凸块412的外表面能够和第三凹槽411的内表面接触,以进一步增加灯座卡脚42和散热器本体4两种材质之间的结合强度。As a fourth expression form, as shown in FIG. 20 and FIG. 21 , the difference from the second expression form above is that a
作为本发明的一种实施方式,如图13、图14所示,该照明模组还包括线端接插件8,灯座与线端接插件8连接,接插件壳体1的侧壁上设有防错结构12和防脱卡扣13,线端接插件8上设有防错限位槽81和防脱卡口(图中未示出),其中,防错结构12与防错限位槽81相匹配,防脱卡扣13与防脱卡口相匹配,防脱卡扣13与防脱卡口可防止灯座与线端接插件8配合时产生脱落,防错结构12与防错限位槽81可防止灯座与线端接插件8配合时反插或非对配接插件插入。As an embodiment of the present invention, as shown in FIG. 13 and FIG. 14 , the lighting module further includes a wire end connector 8 , the lamp holder is connected with the wire end connector 8 , and the side wall of the
作为本发明的一种实施方式,如图13所示,散热器本体4上与灯体配合结构7连接的一端设有密封圈9,密封圈9与灯体配合结构7过盈配合,保证照明模块的密封性。As an embodiment of the present invention, as shown in FIG. 13 , the end of the
在本发明上述的照明模组的基础上,本发明第三方面提供了一种车辆,该车辆包括上述的照明模组。因此至少具有上述灯座和照明模组实施例的技术方案所带来的所有有益效果,在此不再赘述。On the basis of the above-mentioned lighting module of the present invention, a third aspect of the present invention provides a vehicle, which includes the above-mentioned lighting module. Therefore, it has at least all the beneficial effects brought by the technical solutions of the above-mentioned embodiments of the lamp holder and the lighting module, which will not be repeated here.
以上结合附图详细描述了本发明的优选实施方式,但是,本发明并不限于此。在本发明的技术构思范围内,可以对本发明的技术方案进行多种简单变型,包括各个具体技术特征以任何合适的方式进行组合,为了避免不必要的重复,本发明对各种可能的组合方式不再另行说明。但这些简单变型和组合同样应当视为本发明所公开的内容,均属于本发明的保护范围。The preferred embodiments of the present invention have been described above in detail with reference to the accompanying drawings, however, the present invention is not limited thereto. Within the scope of the technical concept of the present invention, a variety of simple modifications can be made to the technical solutions of the present invention, including combining various specific technical features in any suitable manner. No further explanation is required. However, these simple modifications and combinations should also be regarded as the contents disclosed in the present invention, and all belong to the protection scope of the present invention.
Claims (23)
Priority Applications (1)
| Application Number | Priority Date | Filing Date | Title |
|---|---|---|---|
| CN201911242767.4A CN111853692A (en) | 2019-12-06 | 2019-12-06 | A lamp holder, lighting module and vehicle |
Applications Claiming Priority (1)
| Application Number | Priority Date | Filing Date | Title |
|---|---|---|---|
| CN201911242767.4A CN111853692A (en) | 2019-12-06 | 2019-12-06 | A lamp holder, lighting module and vehicle |
Publications (1)
| Publication Number | Publication Date |
|---|---|
| CN111853692A true CN111853692A (en) | 2020-10-30 |
Family
ID=72970701
Family Applications (1)
| Application Number | Title | Priority Date | Filing Date |
|---|---|---|---|
| CN201911242767.4A Pending CN111853692A (en) | 2019-12-06 | 2019-12-06 | A lamp holder, lighting module and vehicle |
Country Status (1)
| Country | Link |
|---|---|
| CN (1) | CN111853692A (en) |
Cited By (2)
| Publication number | Priority date | Publication date | Assignee | Title |
|---|---|---|---|---|
| CN111853694A (en) * | 2019-12-06 | 2020-10-30 | 华域视觉科技(上海)有限公司 | Lamp holder, lighting module and vehicle |
| US12152753B2 (en) * | 2021-03-29 | 2024-11-26 | Osram Gmbh | Lamp |
Citations (8)
| Publication number | Priority date | Publication date | Assignee | Title |
|---|---|---|---|---|
| CN201655842U (en) * | 2010-04-20 | 2010-11-24 | 杭州威利广光电科技股份有限公司 | Packaging structure of a high heat dissipation surface type light emitting diode |
| CN203413397U (en) * | 2013-07-16 | 2014-01-29 | 浙江聚光科技有限公司 | LED (Light-Emitting Diode) PAR lamp |
| CN104716509A (en) * | 2015-03-11 | 2015-06-17 | 宁波晨翔电子有限公司 | Connector with protrusions and hooks |
| JP2015220035A (en) * | 2014-05-15 | 2015-12-07 | スタンレー電気株式会社 | Led module and vehicle lamp fitting including the same |
| JP2016143634A (en) * | 2015-02-05 | 2016-08-08 | スタンレー電気株式会社 | LED module |
| CN108980776A (en) * | 2018-07-11 | 2018-12-11 | 常州星宇车灯股份有限公司 | A kind of automobile-used light source of New LED |
| CN208299141U (en) * | 2018-05-21 | 2018-12-28 | 东莞市和旺电器有限公司 | A New Type of Conductive Terminal for Circuit Board Connector |
| CN211600556U (en) * | 2019-12-06 | 2020-09-29 | 华域视觉科技(上海)有限公司 | Lamp holder, lighting module and vehicle |
-
2019
- 2019-12-06 CN CN201911242767.4A patent/CN111853692A/en active Pending
Patent Citations (8)
| Publication number | Priority date | Publication date | Assignee | Title |
|---|---|---|---|---|
| CN201655842U (en) * | 2010-04-20 | 2010-11-24 | 杭州威利广光电科技股份有限公司 | Packaging structure of a high heat dissipation surface type light emitting diode |
| CN203413397U (en) * | 2013-07-16 | 2014-01-29 | 浙江聚光科技有限公司 | LED (Light-Emitting Diode) PAR lamp |
| JP2015220035A (en) * | 2014-05-15 | 2015-12-07 | スタンレー電気株式会社 | Led module and vehicle lamp fitting including the same |
| JP2016143634A (en) * | 2015-02-05 | 2016-08-08 | スタンレー電気株式会社 | LED module |
| CN104716509A (en) * | 2015-03-11 | 2015-06-17 | 宁波晨翔电子有限公司 | Connector with protrusions and hooks |
| CN208299141U (en) * | 2018-05-21 | 2018-12-28 | 东莞市和旺电器有限公司 | A New Type of Conductive Terminal for Circuit Board Connector |
| CN108980776A (en) * | 2018-07-11 | 2018-12-11 | 常州星宇车灯股份有限公司 | A kind of automobile-used light source of New LED |
| CN211600556U (en) * | 2019-12-06 | 2020-09-29 | 华域视觉科技(上海)有限公司 | Lamp holder, lighting module and vehicle |
Cited By (2)
| Publication number | Priority date | Publication date | Assignee | Title |
|---|---|---|---|---|
| CN111853694A (en) * | 2019-12-06 | 2020-10-30 | 华域视觉科技(上海)有限公司 | Lamp holder, lighting module and vehicle |
| US12152753B2 (en) * | 2021-03-29 | 2024-11-26 | Osram Gmbh | Lamp |
Similar Documents
| Publication | Publication Date | Title |
|---|---|---|
| CN101454610B (en) | Automotive light modules and lighting units with LED lighting elements | |
| CN102084180B (en) | Lighting unit for automotive headlamps and automotive headlamps | |
| JP5409217B2 (en) | Vehicle lighting | |
| CN102640581B (en) | Overmolded LED light assembly and method of manufacture | |
| CN102159885B (en) | Led interconnect assembly | |
| US20120217870A1 (en) | LED Light Assembly | |
| CN101268305A (en) | LED lighting module | |
| CN102102838A (en) | Vehicular lamp and light source assembly | |
| US8690404B2 (en) | Headlamp LED lighting device and headlamp | |
| CN106338043B (en) | Light source unit, lighting device, and vehicle | |
| US20150098229A1 (en) | Illumination device | |
| CN105143754A (en) | Base for electric lamp and method for assembling the base for electric lamp | |
| CN111853692A (en) | A lamp holder, lighting module and vehicle | |
| CN111853694A (en) | Lamp holder, lighting module and vehicle | |
| CN211600555U (en) | Lamp holder, lighting module and vehicle | |
| CN211600554U (en) | Lamp holder, lighting module and vehicle | |
| CN211600556U (en) | Lamp holder, lighting module and vehicle | |
| KR101414764B1 (en) | Led lamp having terminals connectable to fluorescent lamp socket | |
| CN111853693A (en) | A lamp holder, lighting module and vehicle | |
| CN212085399U (en) | Lamp holder, lighting module and vehicle | |
| CN210135544U (en) | Lamp holder, lighting module and lighting device | |
| KR102713868B1 (en) | Electro-optical assembly having heat dissipation, and method for producing such an assembly | |
| CN213453454U (en) | Lamp holder, lighting module and vehicle | |
| CN111780058B (en) | Lamp holder, lighting module and lighting device | |
| TW201219695A (en) | A LED lamp |
Legal Events
| Date | Code | Title | Description |
|---|---|---|---|
| PB01 | Publication | ||
| PB01 | Publication | ||
| SE01 | Entry into force of request for substantive examination | ||
| SE01 | Entry into force of request for substantive examination |
