CN111841366A - A preparation device and method of polyurethane concrete repair material in cold area - Google Patents
A preparation device and method of polyurethane concrete repair material in cold area Download PDFInfo
- Publication number
- CN111841366A CN111841366A CN202010845595.6A CN202010845595A CN111841366A CN 111841366 A CN111841366 A CN 111841366A CN 202010845595 A CN202010845595 A CN 202010845595A CN 111841366 A CN111841366 A CN 111841366A
- Authority
- CN
- China
- Prior art keywords
- gear
- top cover
- box body
- stirring rod
- repair material
- Prior art date
- Legal status (The legal status is an assumption and is not a legal conclusion. Google has not performed a legal analysis and makes no representation as to the accuracy of the status listed.)
- Pending
Links
Images
Classifications
-
- B—PERFORMING OPERATIONS; TRANSPORTING
- B01—PHYSICAL OR CHEMICAL PROCESSES OR APPARATUS IN GENERAL
- B01F—MIXING, e.g. DISSOLVING, EMULSIFYING OR DISPERSING
- B01F27/00—Mixers with rotary stirring devices in fixed receptacles; Kneaders
- B01F27/80—Mixers with rotary stirring devices in fixed receptacles; Kneaders with stirrers rotating about a substantially vertical axis
- B01F27/85—Mixers with rotary stirring devices in fixed receptacles; Kneaders with stirrers rotating about a substantially vertical axis with two or more stirrers on separate shafts
-
- B—PERFORMING OPERATIONS; TRANSPORTING
- B01—PHYSICAL OR CHEMICAL PROCESSES OR APPARATUS IN GENERAL
- B01F—MIXING, e.g. DISSOLVING, EMULSIFYING OR DISPERSING
- B01F27/00—Mixers with rotary stirring devices in fixed receptacles; Kneaders
- B01F27/05—Stirrers
- B01F27/11—Stirrers characterised by the configuration of the stirrers
- B01F27/19—Stirrers with two or more mixing elements mounted in sequence on the same axis
- B01F27/191—Stirrers with two or more mixing elements mounted in sequence on the same axis with similar elements
-
- B—PERFORMING OPERATIONS; TRANSPORTING
- B01—PHYSICAL OR CHEMICAL PROCESSES OR APPARATUS IN GENERAL
- B01F—MIXING, e.g. DISSOLVING, EMULSIFYING OR DISPERSING
- B01F27/00—Mixers with rotary stirring devices in fixed receptacles; Kneaders
- B01F27/21—Mixers with rotary stirring devices in fixed receptacles; Kneaders characterised by their rotating shafts
- B01F27/213—Mixers with rotary stirring devices in fixed receptacles; Kneaders characterised by their rotating shafts characterised by the connection with the drive
-
- B—PERFORMING OPERATIONS; TRANSPORTING
- B01—PHYSICAL OR CHEMICAL PROCESSES OR APPARATUS IN GENERAL
- B01F—MIXING, e.g. DISSOLVING, EMULSIFYING OR DISPERSING
- B01F27/00—Mixers with rotary stirring devices in fixed receptacles; Kneaders
- B01F27/23—Mixers with rotary stirring devices in fixed receptacles; Kneaders characterised by the orientation or disposition of the rotor axis
- B01F27/232—Mixers with rotary stirring devices in fixed receptacles; Kneaders characterised by the orientation or disposition of the rotor axis with two or more rotation axes
- B01F27/2322—Mixers with rotary stirring devices in fixed receptacles; Kneaders characterised by the orientation or disposition of the rotor axis with two or more rotation axes with parallel axes
-
- B—PERFORMING OPERATIONS; TRANSPORTING
- B01—PHYSICAL OR CHEMICAL PROCESSES OR APPARATUS IN GENERAL
- B01F—MIXING, e.g. DISSOLVING, EMULSIFYING OR DISPERSING
- B01F27/00—Mixers with rotary stirring devices in fixed receptacles; Kneaders
- B01F27/80—Mixers with rotary stirring devices in fixed receptacles; Kneaders with stirrers rotating about a substantially vertical axis
- B01F27/90—Mixers with rotary stirring devices in fixed receptacles; Kneaders with stirrers rotating about a substantially vertical axis with paddles or arms
-
- B—PERFORMING OPERATIONS; TRANSPORTING
- B01—PHYSICAL OR CHEMICAL PROCESSES OR APPARATUS IN GENERAL
- B01F—MIXING, e.g. DISSOLVING, EMULSIFYING OR DISPERSING
- B01F27/00—Mixers with rotary stirring devices in fixed receptacles; Kneaders
- B01F27/80—Mixers with rotary stirring devices in fixed receptacles; Kneaders with stirrers rotating about a substantially vertical axis
- B01F27/95—Mixers with rotary stirring devices in fixed receptacles; Kneaders with stirrers rotating about a substantially vertical axis with stirrers having planetary motion, i.e. rotating about their own axis and about a sun axis
- B01F27/951—Mixers with rotary stirring devices in fixed receptacles; Kneaders with stirrers rotating about a substantially vertical axis with stirrers having planetary motion, i.e. rotating about their own axis and about a sun axis with at least one stirrer mounted on the sun axis
-
- B—PERFORMING OPERATIONS; TRANSPORTING
- B01—PHYSICAL OR CHEMICAL PROCESSES OR APPARATUS IN GENERAL
- B01F—MIXING, e.g. DISSOLVING, EMULSIFYING OR DISPERSING
- B01F35/00—Accessories for mixers; Auxiliary operations or auxiliary devices; Parts or details of general application
- B01F35/10—Maintenance of mixers
- B01F35/145—Washing or cleaning mixers not provided for in other groups in this subclass; Inhibiting build-up of material on machine parts using other means
- B01F35/1452—Washing or cleaning mixers not provided for in other groups in this subclass; Inhibiting build-up of material on machine parts using other means using fluids
-
- B—PERFORMING OPERATIONS; TRANSPORTING
- B01—PHYSICAL OR CHEMICAL PROCESSES OR APPARATUS IN GENERAL
- B01F—MIXING, e.g. DISSOLVING, EMULSIFYING OR DISPERSING
- B01F35/00—Accessories for mixers; Auxiliary operations or auxiliary devices; Parts or details of general application
- B01F35/45—Closures or doors specially adapted for mixing receptacles; Operating mechanisms therefor
Landscapes
- Chemical & Material Sciences (AREA)
- Chemical Kinetics & Catalysis (AREA)
- Preparation Of Clay, And Manufacture Of Mixtures Containing Clay Or Cement (AREA)
Abstract
本发明公开了一种寒区聚氨酯混凝土修复材料的制备装置及方法,包括箱体、第一齿轮和第一搅拌杆,所述箱体的上方安装有顶盖,且顶盖的中心位置开设有进料口,所述第一齿轮安装在箱体的底部位置,且搅拌轴的外表面连接有第二搅拌杆,所述箱体的左侧安装有水箱,且水箱的内部贯穿安装有连接管,所述连接管的外侧安装有抽水泵,所述顶盖的内部开设有腔室,且顶盖的底部连接有出水管,所述出水管的外侧安装有滚轮,所述顶盖的右侧连接有第三齿轮,且第三齿轮的底部连接有第二电机。该寒区聚氨酯混凝土修复材料的制备装置,不仅能够避免物料堵塞箱体的底部,而且混匀效果较好,同时能够对内壁进行清洗。
The invention discloses a preparation device and method for a polyurethane concrete repair material in cold regions, comprising a box body, a first gear and a first stirring rod. A top cover is installed above the box body, and a center position of the top cover is provided with In the feeding port, the first gear is installed at the bottom of the box body, and the outer surface of the stirring shaft is connected with a second stirring rod, a water tank is installed on the left side of the box body, and a connecting pipe is installed through the inside of the water tank , a suction pump is installed on the outside of the connecting pipe, a chamber is opened inside the top cover, and a water outlet pipe is connected to the bottom of the top cover, a roller is installed on the outside of the water outlet pipe, and a right side of the top cover is installed A third gear is connected, and a second motor is connected to the bottom of the third gear. The preparation device for the polyurethane concrete repair material in the cold area can not only prevent the material from blocking the bottom of the box body, but also has a better mixing effect and can clean the inner wall at the same time.
Description
技术领域technical field
本发明涉及混凝土修复材料制备技术领域,具体为一种寒区聚氨酯混凝土修复材料的制备装置及方法。The invention relates to the technical field of preparation of concrete repair materials, in particular to a preparation device and method of a polyurethane concrete repair material in cold regions.
背景技术Background technique
混凝土修复材料是对混凝土进行修复的一种材料,因其凝固快,能够缩短工期,能够使得车辆在短时间内正常运行,因此被广泛使用,现有的制备装置通常用在室外。Concrete repair material is a kind of material for repairing concrete. Because of its fast setting, it can shorten the construction period and make the vehicle run normally in a short time, so it is widely used, and the existing preparation device is usually used outdoors.
目前常用的寒区聚氨酯混凝土修复材料的制备装置,不仅不能够避免物料堵塞箱体的底部,而且混匀效果较差,同时不能够对内壁进行清洗,因此,我们提出一种寒区聚氨酯混凝土修复材料的制备装置,以便于解决上述中提出的问题。At present, the commonly used preparation device of polyurethane concrete repair material in cold area can not only prevent the material from clogging the bottom of the box, but also has poor mixing effect and cannot clean the inner wall. Therefore, we propose a polyurethane concrete repair in cold area. A material preparation device in order to solve the problems raised in the above.
发明内容SUMMARY OF THE INVENTION
本发明的目的在于提供一种寒区聚氨酯混凝土修复材料的制备装置及方法,以解决上述背景技术提出的目前常用的寒区聚氨酯混凝土修复材料的制备装置,不仅不能够避免物料堵塞箱体的底部,而且混匀效果较差,同时不能够对内壁进行清洗的问题。The purpose of the present invention is to provide a preparation device and method for a polyurethane concrete repair material in cold regions, so as to solve the problem of the commonly used preparation device for polyurethane concrete repair materials in cold regions proposed by the above-mentioned background technology. , and the mixing effect is poor, and the inner wall cannot be cleaned at the same time.
为实现上述目的,本发明提供如下技术方案:一种寒区聚氨酯混凝土修复材料的制备装置,包括箱体、第一齿轮和第一搅拌杆,所述箱体的上方安装有顶盖,且顶盖的中心位置开设有进料口,所述第一齿轮安装在箱体的底部位置,且第一齿轮的底部连接有第一电机,所述第一搅拌杆安装在第一齿轮的上方位置,且第一齿轮的外侧连接有第二齿轮,所述第二齿轮的中心位置贯穿安装有搅拌轴,且搅拌轴的外表面连接有第二搅拌杆,所述箱体的左侧安装有水箱,且水箱的内部贯穿安装有连接管,所述连接管的外侧安装有抽水泵,所述顶盖的内部开设有腔室,且顶盖的底部连接有出水管,所述出水管的外侧安装有滚轮,所述顶盖的右侧连接有第三齿轮,且第三齿轮的底部连接有第二电机。In order to achieve the above purpose, the present invention provides the following technical solutions: a preparation device for polyurethane concrete repair materials in cold regions, comprising a box body, a first gear and a first stirring rod, and a top cover is installed on the top of the box body, and the top cover is installed. The center of the cover is provided with a feeding port, the first gear is installed at the bottom of the box, the bottom of the first gear is connected with a first motor, and the first stirring rod is installed above the first gear, And the outer side of the first gear is connected with a second gear, the center position of the second gear is installed with a stirring shaft, and the outer surface of the stirring shaft is connected with a second stirring rod, the left side of the box is installed with a water tank, A connecting pipe is installed through the inside of the water tank, a pumping pump is installed on the outside of the connecting pipe, a chamber is opened inside the top cover, and a water outlet pipe is connected to the bottom of the top cover, and a water outlet pipe is installed on the outside of the water outlet pipe. The right side of the top cover is connected with a third gear, and the bottom of the third gear is connected with a second motor.
优选的,所述箱体的内表面为锯齿状结构,且箱体与顶盖之间的连接方式为卡合连接。Preferably, the inner surface of the box body is in a zigzag structure, and the connection between the box body and the top cover is a snap connection.
优选的,所述箱体的上表面为槽状结构,且该槽状结构的宽度等于滚轮的宽度。Preferably, the upper surface of the box body is a groove-shaped structure, and the width of the groove-shaped structure is equal to the width of the roller.
优选的,所述第一搅拌杆与第二搅拌杆之间交错等间距分布,且第二搅拌杆与第二齿轮之间构成转动结构。Preferably, the first stirring rod and the second stirring rod are staggered and distributed at equal intervals, and a rotating structure is formed between the second stirring rod and the second gear.
优选的,所述出水管在顶盖的底部等角度分布,且出水管与箱体紧密贴合。Preferably, the water outlet pipes are equiangularly distributed at the bottom of the top cover, and the water outlet pipes are closely attached to the box body.
优选的,所述滚轮与顶盖之间构成旋转结构,且顶盖的中轴线与第一齿轮的中轴线重合。Preferably, a rotating structure is formed between the roller and the top cover, and the central axis of the top cover coincides with the central axis of the first gear.
与现有技术相比,本发明的有益效果是:该寒区聚氨酯混凝土修复材料的制备装置,不仅能够避免物料堵塞箱体的底部,而且混匀效果较好,同时能够对内壁进行清洗;Compared with the prior art, the beneficial effect of the present invention is that: the preparation device of the polyurethane concrete repair material in the cold area can not only avoid the material blocking the bottom of the box body, but also has a better mixing effect and can clean the inner wall at the same time;
1.顶盖的底部连接有滚轮,且滚轮与箱体之间的连接方式为卡合连接,并且连接管与顶盖之间的连接方式为卡合连接,方便顶盖快速转动,能够使得水顺利的从顶盖的底部流出;1. The bottom of the top cover is connected with a roller, and the connection between the roller and the box is a snap connection, and the connection between the connecting pipe and the top cover is a snap connection, which is convenient for the top cover to rotate quickly and can make water smoothly flow out from the bottom of the top cover;
2.顶盖与第三齿轮之间构成的连动结构,使得清水从出水管流出,并做离心运动,从箱体的内壁流下,能够对箱体的内壁进行冲刷,放置物料凝固在内壁中,且通过第一齿轮与第二齿轮之间的啮合,能够避免物料堵塞箱体的底部;2. The linkage structure formed between the top cover and the third gear allows clean water to flow out from the water outlet pipe and perform centrifugal motion, and flow down from the inner wall of the box, which can scour the inner wall of the box and place the material to solidify in the inner wall. , and through the meshing between the first gear and the second gear, it can prevent the material from blocking the bottom of the box;
3.第一齿轮和第二齿轮转动带动第一搅拌杆和第二搅拌杆转动,且第二搅拌杆与第二齿轮之间构成转动结构,通过第一搅拌杆和第二搅拌杆能够对物料进行混匀,第二搅拌杆的自转和公转,使得混匀效果较好。3. The rotation of the first gear and the second gear drives the rotation of the first stirring rod and the second stirring rod, and a rotating structure is formed between the second stirring rod and the second gear. For mixing, the rotation and revolution of the second stirring rod make the mixing effect better.
附图说明Description of drawings
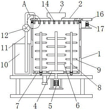
图1为本发明正面剖切结构示意图;Fig. 1 is the front cutaway structure schematic diagram of the present invention;
图2为本发明俯视结构示意图;Fig. 2 is the top view structure schematic diagram of the present invention;
图3为本发明顶盖仰视结构示意图;FIG. 3 is a schematic view of the bottom view of the top cover of the present invention;
图4为本发明第一齿轮与第二齿轮连接俯视结构示意图;4 is a schematic top view of the structure of the connection between the first gear and the second gear according to the present invention;
图5为本发明图1中A处放大结构示意图。FIG. 5 is an enlarged schematic view of the structure at A in FIG. 1 of the present invention.
图中:1、箱体;2、顶盖;3、进料口;4、第一齿轮;5、第一电机;6、第一搅拌杆;7、第二齿轮;8、搅拌轴;9、第二搅拌杆;10、水箱;11、连接管;12、抽水泵;13、腔室;14、出水管;15、滚轮;16、第三齿轮;17、第二电机。In the figure: 1. Box body; 2. Top cover; 3. Feed inlet; 4. First gear; 5. First motor; 6. First stirring rod; 7. Second gear; 8. Stirring shaft; 9 , the second stirring rod; 10, the water tank; 11, the connecting pipe; 12, the water pump; 13, the chamber; 14, the water outlet pipe; 15, the roller; 16, the third gear; 17, the second motor.
具体实施方式Detailed ways
下面将结合本发明实施例中的附图,对本发明实施例中的技术方案进行清楚、完整地描述,显然,所描述的实施例仅仅是本发明一部分实施例,而不是全部的实施例。基于本发明中的实施例,本领域普通技术人员在没有做出创造性劳动前提下所获得的所有其他实施例,都属于本发明保护的范围。The technical solutions in the embodiments of the present invention will be clearly and completely described below with reference to the accompanying drawings in the embodiments of the present invention. Obviously, the described embodiments are only a part of the embodiments of the present invention, but not all of the embodiments. Based on the embodiments of the present invention, all other embodiments obtained by those of ordinary skill in the art without creative efforts shall fall within the protection scope of the present invention.
请参阅图1-5,本发明提供一种技术方案:一种寒区聚氨酯混凝土修复材料的制备装置,包括箱体1、顶盖2、进料口3、第一齿轮4、第一电机5、第一搅拌杆6、第二齿轮7、搅拌轴8、第二搅拌杆9、水箱10、连接管11、抽水泵12、腔室13、出水管14、滚轮15、第三齿轮16和第二电机17,箱体1的上方安装有顶盖2,且顶盖2的中心位置开设有进料口3,箱体1的内表面为锯齿状结构,且箱体1与顶盖2之间的连接方式为卡合连接,便于顶盖2转动,箱体1的上表面为槽状结构,且该槽状结构的宽度等于滚轮15的宽度,便于滚轮15在箱体1的顶部转动,第一齿轮4安装在箱体1的底部位置,且第一齿轮4的底部连接有第一电机5,第一搅拌杆6安装在第一齿轮4的上方位置,且第一齿轮4的外侧连接有第二齿轮7,第一搅拌杆6与第二搅拌杆9之间交错等间距分布,且第二搅拌杆9与第二齿轮7之间构成转动结构,第一搅拌杆6与第二搅拌杆9能够对物料进行混匀,第二齿轮7的中心位置贯穿安装有搅拌轴8,且搅拌轴8的外表面连接有第二搅拌杆9,箱体1的左侧安装有水箱10,且水箱10的内部贯穿安装有连接管11,连接管11的外侧安装有抽水泵12,顶盖2的内部开设有腔室13,且顶盖2的底部连接有出水管14,出水管14的外侧安装有滚轮15,顶盖2的右侧连接有第三齿轮16,且第三齿轮16的底部连接有第二电机17。1-5, the present invention provides a technical solution: a preparation device for polyurethane concrete repair material in cold regions, comprising a
如图1中出水管14在顶盖2的底部等角度分布,且出水管14与箱体1紧密贴合,方便出水管14出来的水从箱体1的内壁流下。As shown in FIG. 1 , the
如图1和图2中滚轮15与顶盖2之间构成旋转结构,且顶盖2的中轴线与第一齿轮4的中轴线重合,方便顶盖2转动。As shown in FIGS. 1 and 2 , a rotating structure is formed between the
一种寒区聚氨酯混凝土修复材料的制备装置的方法:在使用该寒区聚氨酯混凝土修复材料的制备装置时,将物料通过如图1中的进料口3倒入装置内部,箱体1的底部安装有第一齿轮4和第二齿轮7,箱体1的内壁底部为锯齿状结构,第二齿轮7的上方连接有搅拌轴8和第二搅拌杆9,通过第一电机5带动着第一齿轮4和第二齿轮7转动,从而带动第一搅拌杆6和第二搅拌杆9转动,第二搅拌杆9与第二齿轮7之间构成转动结构,并向装置内部加入清水,通过第一搅拌杆6和第二搅拌杆9能够对物料进行混匀,第二搅拌杆9的自转和公转,使得混匀效果较好,顶盖2的内部设置有如图5中的腔室13,顶盖2的底部等角度分布有出水管14,出水管14与腔室13和连接管11相连通,出水管14与顶盖2的内壁贴合,顶盖2的外表面为锯齿状结构,通过第二电机17带动着第三齿轮16和顶盖2转动,清水通过水箱10、连接管11、抽水泵12和腔室13,最终从出水管14流出,清水做离心运动,并从箱体1的内壁流下,能够对箱体1的内壁进行冲刷,放置物料凝固在内壁中,通过第一齿轮4与第二齿轮7之间的啮合,能够避免物料堵塞箱体1的底部,这就是该寒区聚氨酯混凝土修复材料的制备装置的整个工作过程。A method of preparing a device for polyurethane concrete repair material in cold regions: when using the device for preparing polyurethane concrete repair materials in cold regions, pour the material into the device through the
本说明书中未作详细描述的内容属于本领域专业技术人员公知的现有技术。本发明使用到的标准零件均可以从市场上购买,异形件根据说明书的和附图的记载均可以进行订制,各个零件的具体连接方式均采用现有技术中成熟的螺栓、铆钉、焊接等常规手段,机械、零件和设备均采用现有技术中,常规的型号,加上电路连接采用现有技术中常规的连接方式,在此不再详述。Contents not described in detail in this specification belong to the prior art known to those skilled in the art. The standard parts used in the present invention can be purchased from the market, the special-shaped parts can be customized according to the description in the specification and the drawings, and the specific connection methods of each part adopt mature bolts, rivets, welding, etc. in the prior art Conventional means, machinery, parts and equipment all adopt conventional models in the prior art, and circuit connections adopt conventional connection methods in the prior art, which will not be described in detail here.
尽管参照前述实施例对本发明进行了详细的说明,对于本领域的技术人员来说,其依然可以对前述各实施例所记载的技术方案进行修改,或者对其中部分技术特征进行等同替换,凡在本发明的精神和原则之内,所作的任何修改、等同替换、改进等,均应包含在本发明的保护范围之内。Although the present invention has been described in detail with reference to the foregoing embodiments, for those skilled in the art, it is still possible to modify the technical solutions described in the foregoing embodiments, or to perform equivalent replacements for some of the technical features. Any modification, equivalent replacement, improvement, etc. made within the spirit and principle of the present invention shall be included within the protection scope of the present invention.
Claims (7)
Priority Applications (1)
| Application Number | Priority Date | Filing Date | Title |
|---|---|---|---|
| CN202010845595.6A CN111841366A (en) | 2020-08-20 | 2020-08-20 | A preparation device and method of polyurethane concrete repair material in cold area |
Applications Claiming Priority (1)
| Application Number | Priority Date | Filing Date | Title |
|---|---|---|---|
| CN202010845595.6A CN111841366A (en) | 2020-08-20 | 2020-08-20 | A preparation device and method of polyurethane concrete repair material in cold area |
Publications (1)
| Publication Number | Publication Date |
|---|---|
| CN111841366A true CN111841366A (en) | 2020-10-30 |
Family
ID=72968890
Family Applications (1)
| Application Number | Title | Priority Date | Filing Date |
|---|---|---|---|
| CN202010845595.6A Pending CN111841366A (en) | 2020-08-20 | 2020-08-20 | A preparation device and method of polyurethane concrete repair material in cold area |
Country Status (1)
| Country | Link |
|---|---|
| CN (1) | CN111841366A (en) |
Cited By (2)
| Publication number | Priority date | Publication date | Assignee | Title |
|---|---|---|---|---|
| CN113426351A (en) * | 2021-04-29 | 2021-09-24 | 阮召明 | Animal doctor is with agitating unit that dispenses |
| CN114307706A (en) * | 2021-12-30 | 2022-04-12 | 徐州欧冠建材有限公司 | Production line for silicon PU |
Citations (9)
| Publication number | Priority date | Publication date | Assignee | Title |
|---|---|---|---|---|
| GB1469316A (en) * | 1973-06-15 | 1977-04-06 | Nautamix Patent Ag | Stirring apparatus |
| CN206823647U (en) * | 2017-06-07 | 2018-01-02 | 浙江迎丰科技股份有限公司 | Bleaching agent mixer is used in one kind printing and dyeing |
| CN107744756A (en) * | 2017-10-31 | 2018-03-02 | 天津科创复兴科技咨询有限公司 | A kind of Multi-stage stirring attemperation apparatus of lubricating oil |
| CN207324698U (en) * | 2017-09-29 | 2018-05-08 | 广东天高科技有限公司 | Tin cream production blending tank |
| CN108889175A (en) * | 2016-06-08 | 2018-11-27 | 杨更先 | A kind of industrial agitating device easy to clean |
| CN208757398U (en) * | 2018-05-30 | 2019-04-19 | 刘冬雪 | A kind of self-rotation building coating agitating device |
| CN111001349A (en) * | 2019-12-31 | 2020-04-14 | 蚌埠大美印务有限公司 | Stirring device for paper product raw materials |
| CN210544694U (en) * | 2019-05-20 | 2020-05-19 | 江苏振华造漆有限公司 | TQF type paint mixing kettle |
| CN211069848U (en) * | 2019-12-05 | 2020-07-24 | 淄博法彼森工贸有限公司 | Mixer for improving granulating uniformity of sinter |
-
2020
- 2020-08-20 CN CN202010845595.6A patent/CN111841366A/en active Pending
Patent Citations (9)
| Publication number | Priority date | Publication date | Assignee | Title |
|---|---|---|---|---|
| GB1469316A (en) * | 1973-06-15 | 1977-04-06 | Nautamix Patent Ag | Stirring apparatus |
| CN108889175A (en) * | 2016-06-08 | 2018-11-27 | 杨更先 | A kind of industrial agitating device easy to clean |
| CN206823647U (en) * | 2017-06-07 | 2018-01-02 | 浙江迎丰科技股份有限公司 | Bleaching agent mixer is used in one kind printing and dyeing |
| CN207324698U (en) * | 2017-09-29 | 2018-05-08 | 广东天高科技有限公司 | Tin cream production blending tank |
| CN107744756A (en) * | 2017-10-31 | 2018-03-02 | 天津科创复兴科技咨询有限公司 | A kind of Multi-stage stirring attemperation apparatus of lubricating oil |
| CN208757398U (en) * | 2018-05-30 | 2019-04-19 | 刘冬雪 | A kind of self-rotation building coating agitating device |
| CN210544694U (en) * | 2019-05-20 | 2020-05-19 | 江苏振华造漆有限公司 | TQF type paint mixing kettle |
| CN211069848U (en) * | 2019-12-05 | 2020-07-24 | 淄博法彼森工贸有限公司 | Mixer for improving granulating uniformity of sinter |
| CN111001349A (en) * | 2019-12-31 | 2020-04-14 | 蚌埠大美印务有限公司 | Stirring device for paper product raw materials |
Cited By (2)
| Publication number | Priority date | Publication date | Assignee | Title |
|---|---|---|---|---|
| CN113426351A (en) * | 2021-04-29 | 2021-09-24 | 阮召明 | Animal doctor is with agitating unit that dispenses |
| CN114307706A (en) * | 2021-12-30 | 2022-04-12 | 徐州欧冠建材有限公司 | Production line for silicon PU |
Similar Documents
| Publication | Publication Date | Title |
|---|---|---|
| CN111841366A (en) | A preparation device and method of polyurethane concrete repair material in cold area | |
| CN209631064U (en) | Food engineering stirred tank | |
| CN209425827U (en) | A kind of premixing mortar agitating device with cleaning function | |
| CN108176295A (en) | A kind of centering type solid-liquid coating hybrid system | |
| CN205891670U (en) | Finished product printing ink storage device | |
| CN214382652U (en) | Agitating unit is used in production of soil improvement material | |
| CN214020137U (en) | Fertilizer dissolving and stirring device | |
| CN210161409U (en) | Concrete mixing device with cleaning mechanism for concrete mixing station | |
| CN209997991U (en) | advanced manufacturing industry solid waste treatment device | |
| CN218047553U (en) | A raw material mixing machine for cake production | |
| CN209504515U (en) | A kind of construction concreting blender | |
| CN220008465U (en) | Particle crushing device for nylon plastic particle production | |
| CN209205132U (en) | A kind of blender of the lithium hexafluoro phosphate production convenient for cleaning | |
| CN218358621U (en) | Heating device for glue production | |
| CN222034291U (en) | Vertical mixing circulation device of slurry | |
| CN208809877U (en) | A kind of Construction of Civil Engineering mixing feedway | |
| CN220075097U (en) | Gypsum board raw materials mixing arrangement | |
| CN217706371U (en) | A paint preheating device for paint filling | |
| CN222151689U (en) | A mixing device for building waterproof coating | |
| CN222201107U (en) | Foam polymer soil processing blender with seal structure | |
| CN220922848U (en) | Raw material proportioning machine for concrete preparation | |
| CN212758190U (en) | Automobile-used urea liquid agitator tank | |
| CN219427102U (en) | Concrete mixer for reinforced concrete processing | |
| CN215515553U (en) | Automatic feeding device for powder packaging machine | |
| CN205674361U (en) | A heatable concrete mixer |
Legal Events
| Date | Code | Title | Description |
|---|---|---|---|
| PB01 | Publication | ||
| PB01 | Publication | ||
| SE01 | Entry into force of request for substantive examination | ||
| SE01 | Entry into force of request for substantive examination | ||
| RJ01 | Rejection of invention patent application after publication |
Application publication date: 20201030 |
|
| RJ01 | Rejection of invention patent application after publication |
