CN111804833A - A car seat slide rail handle punching device - Google Patents
A car seat slide rail handle punching device Download PDFInfo
- Publication number
- CN111804833A CN111804833A CN202010471123.9A CN202010471123A CN111804833A CN 111804833 A CN111804833 A CN 111804833A CN 202010471123 A CN202010471123 A CN 202010471123A CN 111804833 A CN111804833 A CN 111804833A
- Authority
- CN
- China
- Prior art keywords
- slide rail
- die base
- top plate
- punching device
- telescopic rod
- Prior art date
- Legal status (The legal status is an assumption and is not a legal conclusion. Google has not performed a legal analysis and makes no representation as to the accuracy of the status listed.)
- Pending
Links
Images
Classifications
-
- B—PERFORMING OPERATIONS; TRANSPORTING
- B21—MECHANICAL METAL-WORKING WITHOUT ESSENTIALLY REMOVING MATERIAL; PUNCHING METAL
- B21D—WORKING OR PROCESSING OF SHEET METAL OR METAL TUBES, RODS OR PROFILES WITHOUT ESSENTIALLY REMOVING MATERIAL; PUNCHING METAL
- B21D43/00—Feeding, positioning or storing devices combined with, or arranged in, or specially adapted for use in connection with, apparatus for working or processing sheet metal, metal tubes or metal profiles; Associations therewith of cutting devices
- B21D43/003—Positioning devices
-
- B—PERFORMING OPERATIONS; TRANSPORTING
- B21—MECHANICAL METAL-WORKING WITHOUT ESSENTIALLY REMOVING MATERIAL; PUNCHING METAL
- B21D—WORKING OR PROCESSING OF SHEET METAL OR METAL TUBES, RODS OR PROFILES WITHOUT ESSENTIALLY REMOVING MATERIAL; PUNCHING METAL
- B21D37/00—Tools as parts of machines covered by this subclass
- B21D37/10—Die sets; Pillar guides
-
- B—PERFORMING OPERATIONS; TRANSPORTING
- B21—MECHANICAL METAL-WORKING WITHOUT ESSENTIALLY REMOVING MATERIAL; PUNCHING METAL
- B21D—WORKING OR PROCESSING OF SHEET METAL OR METAL TUBES, RODS OR PROFILES WITHOUT ESSENTIALLY REMOVING MATERIAL; PUNCHING METAL
- B21D53/00—Making other particular articles
- B21D53/88—Making other particular articles other parts for vehicles, e.g. cowlings, mudguards
-
- F—MECHANICAL ENGINEERING; LIGHTING; HEATING; WEAPONS; BLASTING
- F21—LIGHTING
- F21V—FUNCTIONAL FEATURES OR DETAILS OF LIGHTING DEVICES OR SYSTEMS THEREOF; STRUCTURAL COMBINATIONS OF LIGHTING DEVICES WITH OTHER ARTICLES, NOT OTHERWISE PROVIDED FOR
- F21V33/00—Structural combinations of lighting devices with other articles, not otherwise provided for
Landscapes
- Engineering & Computer Science (AREA)
- Mechanical Engineering (AREA)
- General Engineering & Computer Science (AREA)
- Shaping Metal By Deep-Drawing, Or The Like (AREA)
Abstract
本发明公开了一种汽车座椅滑轨手柄冲压装置,涉及汽车座椅生产技术领域,包括基板,所述基板上表面的中央位置焊接有承压件,所述承压件的上端固定有下模座,所述下模座内部中央位置开设有左右贯穿的腔体,所述腔体的内部安装有电磁吸盘,所述基板的左端设置有弧形座,所述弧形座的上表面焊接有立杆,所述立杆的顶端固定有第一液压伸缩杆,所述第一液压伸缩杆上安装有连接板,所述连接板的另一端设置有顶板,所述顶板下表面的中央位置设置有上模座,所述上模座对应设置在下模座的正上方。本发明通过设置电磁吸盘,解决了汽车座椅滑轨手柄冲压装置对于工件的定位效果不理想,进而影响工件加工效果的问题。
The invention discloses a stamping device for a sliding rail handle of an automobile seat, which relates to the technical field of automobile seat production. A mold seat, a cavity that penetrates left and right is opened at the inner center of the lower mold seat, an electromagnetic chuck is installed inside the cavity, an arc seat is arranged on the left end of the base plate, and the upper surface of the arc seat is welded There is a vertical rod, the top of the vertical rod is fixed with a first hydraulic telescopic rod, a connecting plate is installed on the first hydraulic telescopic rod, the other end of the connecting plate is provided with a top plate, and the central position of the lower surface of the top plate is An upper die holder is provided, and the upper die holder is correspondingly arranged just above the lower die holder. The invention solves the problem that the positioning effect of the automobile seat slide rail handle stamping device on the workpiece is not ideal, thereby affecting the processing effect of the workpiece by arranging the electromagnetic sucker.
Description
技术领域technical field
本发明属于汽车座椅生产技术领域,特别是涉及一种汽车座椅滑轨手柄冲压装置。The invention belongs to the technical field of automobile seat production, in particular to a punching device for a sliding rail handle of an automobile seat.
背景技术Background technique
随着汽车制造行业的高速发展,汽车零配件的质量要求越来越高,汽车的产量也在不断增大,汽车零配件的质量要求越来越高,以往的传统加工理念和方法无法满足现在的大批量生产需求,以往滑轨解锁手柄的产品以弯管机或手工弯曲实现,但是这种方式仍然存在着一些不足,随着技术的进步,汽车座椅滑轨手柄再加工时需要进行冲压成型,这种方式对工件加工时需要运用冲压装置,目前的设备在使用时存在着下列方面的缺陷和不足,首先模座上缺少电磁吸盘组件,不能快速实现工件的吸附固定,对于工件的定位效果不好,其次,冲压装置整体的高度不能调节,进而不方便各种类型工件的加工,再者,设备上缺少照明组件,不便于在特定环境下的作业,存在着一些方面的缺陷和不足,因此需要对现有技术进行改进。With the rapid development of the automobile manufacturing industry, the quality requirements of auto parts are getting higher and higher, the output of automobiles is also increasing, and the quality requirements of auto parts are getting higher and higher. The traditional processing concepts and methods in the past cannot meet the current requirements. In the past, the products of the sliding rail unlocking handle were realized by pipe bending machine or manual bending, but there are still some shortcomings in this method. With the advancement of technology, the car seat sliding rail handle needs to be stamped when reprocessing. Forming, this method needs to use a stamping device when processing the workpiece. The current equipment has the following defects and deficiencies in use. First of all, there is a lack of electromagnetic chuck components on the mold base, which cannot quickly realize the adsorption and fixation of the workpiece, and the positioning of the workpiece. The effect is not good. Secondly, the overall height of the stamping device cannot be adjusted, which is inconvenient for the processing of various types of workpieces. Furthermore, the lack of lighting components on the equipment is inconvenient for operations in specific environments, and there are some defects and deficiencies. , so the existing technology needs to be improved.
发明内容SUMMARY OF THE INVENTION
本发明的目的在于提供一种汽车座椅滑轨手柄冲压装置,通过在下模座的内部安装电磁吸盘组件,解决了现有设备对于工件定位效果不理想的问题。The purpose of the present invention is to provide a car seat slide rail handle stamping device, which solves the problem of unsatisfactory workpiece positioning effect of existing equipment by installing an electromagnetic chuck assembly inside the lower die base.
为解决上述技术问题,本发明通过以下技术方案实现:In order to solve the above-mentioned technical problems, the present invention is realized through the following technical solutions:
本发明提供一种汽车座椅滑轨手柄冲压装置,包括基板,所述基板上表面的中央位置焊接有承压件,所述承压件的上端固定有下模座,所述下模座内部中央位置开设有左右贯穿的腔体,所述腔体的内部安装有电磁吸盘,所述基板的左端设置有弧形座,所述弧形座的上表面焊接有立杆,所述立杆的顶端固定有第一液压伸缩杆,所述第一液压伸缩杆上安装有连接板,所述连接板的另一端设置有顶板,所述顶板下表面的中央位置设置有上模座,所述上模座对应设置在下模座的正上方。The invention provides a stamping device for a slide rail handle of an automobile seat, which comprises a base plate, a pressure-bearing part is welded at the central position of the upper surface of the base plate, and a lower die seat is fixed on the upper end of the pressure-bearing part, and the inner part of the lower die seat is The central position is provided with a left and right through cavity, an electromagnetic suction cup is installed inside the cavity, an arc seat is arranged on the left end of the base plate, and a vertical rod is welded on the upper surface of the arc seat, and the vertical rod is The top end is fixed with a first hydraulic telescopic rod, a connecting plate is installed on the first hydraulic telescopic rod, the other end of the connecting plate is provided with a top plate, and an upper die seat is provided in the center of the lower surface of the top plate, and the upper The die base is correspondingly arranged just above the lower die base.
进一步地,所述顶板上安装有第二液压伸缩杆,且第二液压伸缩杆的下端与上模座固定连接。Further, a second hydraulic telescopic rod is installed on the top plate, and the lower end of the second hydraulic telescopic rod is fixedly connected with the upper die base.
进一步地,所述下模座的上表面形成有定位槽,且定位槽有两个。Further, a positioning groove is formed on the upper surface of the lower mold base, and there are two positioning grooves.
进一步地,所述下模座上端的四角处设置有凸起,且上模座下端的四角处设置有定位筒,所述定位筒一一对应设置在凸起的正上方。Further, the four corners of the upper end of the lower die base are provided with protrusions, and the four corners of the lower end of the upper die base are provided with positioning cylinders, and the positioning cylinders are arranged directly above the protrusions in a one-to-one correspondence.
进一步地,所述定位筒的内部开设有贯穿至下方的限位孔,且限位孔与凸起相适配。Further, the interior of the positioning cylinder is provided with a limiting hole penetrating downward, and the limiting hole is adapted to the protrusion.
进一步地,所述顶板的右端固定有照明组件,且照明组件设置有两个。Further, the right end of the top plate is fixed with lighting components, and there are two lighting components.
进一步地,所述照明组件的内部包括灯座,以及安装在所述灯座下端的LED灯,且灯座的一端通过轴杆的方式固定在所述顶板上。Further, the interior of the lighting assembly includes a lamp holder, and an LED lamp mounted on the lower end of the lamp holder, and one end of the lamp holder is fixed on the top plate by means of a shaft.
本发明具有以下有益效果:The present invention has the following beneficial effects:
1、本发明通过设置电磁吸盘,解决了汽车座椅滑轨手柄冲压装置对于工件的定位效果不理想,进而影响工件加工效果的问题,本发明在下模座的内部开设腔体,并且通过腔体的方式来安装电磁吸盘,使用时电磁吸盘能够对工件产生一种吸附固定的效果,进而增强模座对应工件的固定的定位作用,进而便于装置对于工件的加工,电磁吸盘的工作方式简便,可迅速完成工件的吸附和释放,便于汽车座椅滑轨手柄的定位加工。1. The present invention solves the problem that the positioning effect of the car seat slide rail handle stamping device for the workpiece is not ideal by setting the electromagnetic chuck, thereby affecting the processing effect of the workpiece. The electromagnetic chuck can be used to install the electromagnetic chuck. When in use, the electromagnetic chuck can have an adsorption and fixation effect on the workpiece, thereby enhancing the fixed positioning function of the mold base corresponding to the workpiece, thereby facilitating the processing of the workpiece by the device. The working method of the electromagnetic chuck is simple and can be Quickly complete the adsorption and release of the workpiece, which is convenient for the positioning and processing of the handle of the slide rail of the car seat.
2、本发明通过设置第一液压伸缩杆,解决了设备不能上下升降,不便于装置高度的调节,进而不便于装置满足各种类型工件的加工使用,以及其不便于检修等方面的问题,本发明在立杆的上端安装第一液压伸缩杆,第一液压伸缩杆在使用时能够通过连接板的方式驱动顶板升降,继而完成上、下模座之间距离的调节,简单实用。2. By setting the first hydraulic telescopic rod, the present invention solves the problems that the equipment cannot be lifted up and down, it is inconvenient to adjust the height of the device, and it is inconvenient for the device to meet the processing and use of various types of workpieces, and it is inconvenient for maintenance. The invention installs a first hydraulic telescopic rod on the upper end of the vertical rod, and the first hydraulic telescopic rod can drive the top plate to lift and lower by means of a connecting plate when in use, and then completes the adjustment of the distance between the upper and lower mold bases, which is simple and practical.
3、本发明通过在顶板的一端安装照明组件,照明组件能够在夜晚或者光线不理想的情况下使用,便于工作人员的作业,进而丰富装置的功能性。3. In the present invention, by installing the lighting component at one end of the top plate, the lighting component can be used at night or when the light is not ideal, which facilitates the work of the staff and enriches the functionality of the device.
当然,实施本发明的任一产品并不一定需要同时达到以上所述的所有优点。Of course, it is not necessary for any product embodying the present invention to achieve all of the above-described advantages simultaneously.
附图说明Description of drawings
为了更清楚地说明本发明实施例的技术方案,下面将对实施例描述所需要使用的附图作简单地介绍,显而易见地,下面描述中的附图仅仅是本发明的一些实施例,对于本领域普通技术人员来讲,在不付出创造性劳动的前提下,还可以根据这些附图获得其他的附图。In order to illustrate the technical solutions of the embodiments of the present invention more clearly, the following briefly introduces the accompanying drawings used in the description of the embodiments. Obviously, the drawings in the following description are only some embodiments of the present invention. For those of ordinary skill in the art, other drawings can also be obtained from these drawings without any creative effort.
图1为本发明一种汽车座椅滑轨手柄冲压装置的结构示意图;Fig. 1 is the structural representation of a kind of automobile seat slide rail handle stamping device of the present invention;
图2为本发明一种汽车座椅滑轨手柄冲压装置中下模座的结构示意图;Figure 2 is a schematic structural diagram of a lower die seat in a stamping device for a slide rail handle of an automobile seat according to the present invention;
图3为本发明一种汽车座椅滑轨手柄冲压装置中定位筒的结构示意图;3 is a schematic structural diagram of a positioning cylinder in a punching device for a slide rail handle of an automobile seat according to the present invention;
图4为本发明一种汽车座椅滑轨手柄冲压装置中照明组件的结构示意图;4 is a schematic structural diagram of a lighting assembly in a stamping device for a handle of a slide rail of an automobile seat according to the present invention;
附图中,各标号所代表的部件列表如下:In the accompanying drawings, the list of components represented by each number is as follows:
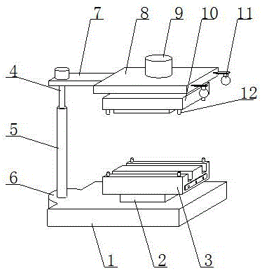
1、基板;2、承压件;3、下模座;4、第一液压伸缩杆;5、立杆;6、弧形座;7、连接板;8、顶板;9、第二液压伸缩杆;10、上模座;11、照明组件;12、定位筒;13、腔体;14、凸起;15、定位槽;16、电磁吸盘;17、限位孔;18、轴杆;19、灯座;20、LED灯。1. Base plate; 2. Pressure-bearing parts; 3. Lower die seat; 4. The first hydraulic telescopic rod; 5. Upright rod; 6. Arc seat; 7. Connecting plate; 8. Top plate; rod; 10, upper die seat; 11, lighting assembly; 12, positioning cylinder; 13, cavity; 14, protrusion; 15, positioning groove; 16, electromagnetic suction cup; 17, limit hole; 18, shaft rod; 19 , lamp holder; 20, LED lights.
具体实施方式Detailed ways
下面将结合本发明实施例中的附图,对本发明实施例中的技术方案进行清楚、完整地描述,显然,所描述的实施例仅是本发明一部分实施例,而不是全部的实施例。基于本发明中的实施例,本领域普通技术人员在没有作出创造性劳动前提下所获得的所有其它实施例,都属于本发明保护的范围。The technical solutions in the embodiments of the present invention will be clearly and completely described below with reference to the accompanying drawings in the embodiments of the present invention. Obviously, the described embodiments are only a part of the embodiments of the present invention, but not all of the embodiments. Based on the embodiments of the present invention, all other embodiments obtained by those of ordinary skill in the art without creative efforts shall fall within the protection scope of the present invention.
请参阅图1-4所示,本发明提供一种汽车座椅滑轨手柄冲压装置,包括基板1,基板1上表面的中央位置焊接有承压件2,承压件2的上端固定有下模座3,下模座3内部中央位置开设有左右贯穿的腔体13,腔体13的内部安装有电磁吸盘16,用于工件的固定,吸附固定简单,同时基板1的左端设置有弧形座6,弧形座6的上表面焊接有立杆5,立杆5的顶端固定有第一液压伸缩杆4,第一液压伸缩杆4上安装有连接板7,连接板7的另一端设置有顶板8,能够通过第一液压伸缩杆4的方式驱动顶板8升降,继而延伸装置的空间,不使用时可以将其位置缩短,继而减少装置空间的占用,顶板8下表面的中央位置设置有上模座10,上模座10对应设置在下模座3的正上方。1-4, the present invention provides a car seat slide rail handle stamping device, which includes a base plate 1, a pressure-bearing
其中如图1所示,顶板8上安装有第二液压伸缩杆9,且第二液压伸缩杆9的下端与上模座10固定连接,驱动上模座10下移。As shown in FIG. 1 , a second hydraulic
其中如图1和2所示,下模座3的上表面形成有定位槽15,且定位槽15有两个,用于工件的定位。As shown in FIGS. 1 and 2 , a
其中如图1和2所示,下模座3上端的四角处设置有凸起14,且上模座10下端的四角处设置有定位筒12,定位筒12一一对应设置在凸起14的正上方,起到定位的作用。As shown in FIGS. 1 and 2 ,
其中如图2和3所示,定位筒12的内部开设有贯穿至下方的限位孔17,且限位孔17与凸起14相适配。As shown in FIGS. 2 and 3 , the
其中如图1所示,顶板8的右端固定有照明组件11,且照明组件11设置有两个,便于装置的照明作用。As shown in FIG. 1 , the right end of the
其中如图1和4所示,照明组件11的内部包括灯座19,以及安装在灯座19下端的LED灯20,且灯座19的一端通过轴杆18的方式固定在顶板8上。As shown in FIGS. 1 and 4 , the interior of the
具体实施步骤如下:使用时通过第一液压伸缩杆4的方式调整顶板8的高度,第一液压伸缩杆4的延伸作用能够降低或者升高顶板8的实际高度,在下模座3的定位槽15上设置滑轨手柄工件,接通电磁吸盘16的供电电路,继而通过电磁吸盘16的方式完成工件的定位和固定,驱动第二液压伸缩杆9工作,上模座10往下移动,通过上模座10以及下模座3的方式完成工件的冲压成型,下模座3和上模座10接触时,定位筒12与凸起14相接,定位筒12通过限位孔17的方式与凸起14进行定位,可保证下模座3、上模座10工作时定位的精准性,当上模座10上移时,电磁吸盘16依然对工件产生吸引力,避免工件颤动,之后断开电磁吸盘16的供电电路,在夜间或者光线不好的情况下可以打开照明组件11内的LED灯20,LED灯20进行照明,增强装置的光照效果,使用时还可以降低第一液压伸缩杆4的高度,继而缩短装置的占用空间。The specific implementation steps are as follows: when in use, the height of the
在本说明书的描述中,参考术语“一个实施例”、“示例”、“具体示例”等的描述意指结合该实施例或示例描述的具体特征、结构、材料或者特点包含于本发明的至少一个实施例或示例中。在本说明书中,对上述术语的示意性表述不一定指的是相同的实施例或示例。而且,描述的具体特征、结构、材料或者特点可以在任何的一个或多个实施例或示例中以合适的方式结合。In the description of this specification, description with reference to the terms "one embodiment," "example," "specific example," etc. means that a particular feature, structure, material, or characteristic described in connection with the embodiment or example is included in at least one aspect of the present invention. in one embodiment or example. In this specification, schematic representations of the above terms do not necessarily refer to the same embodiment or example. Furthermore, the particular features, structures, materials or characteristics described may be combined in any suitable manner in any one or more embodiments or examples.
以上仅为本发明的优选实施例,并不限制本发明,任何对前述各实施例所记载的技术方案进行修改,对其中部分技术特征进行等同替换,均属于在本发明的保护范围。The above are only preferred embodiments of the present invention, and do not limit the present invention. Any modification to the technical solutions recorded in the foregoing embodiments, and equivalent replacement of some of the technical features thereof, belong to the protection scope of the present invention.
Claims (7)
Priority Applications (1)
| Application Number | Priority Date | Filing Date | Title |
|---|---|---|---|
| CN202010471123.9A CN111804833A (en) | 2020-05-28 | 2020-05-28 | A car seat slide rail handle punching device |
Applications Claiming Priority (1)
| Application Number | Priority Date | Filing Date | Title |
|---|---|---|---|
| CN202010471123.9A CN111804833A (en) | 2020-05-28 | 2020-05-28 | A car seat slide rail handle punching device |
Publications (1)
| Publication Number | Publication Date |
|---|---|
| CN111804833A true CN111804833A (en) | 2020-10-23 |
Family
ID=72848698
Family Applications (1)
| Application Number | Title | Priority Date | Filing Date |
|---|---|---|---|
| CN202010471123.9A Pending CN111804833A (en) | 2020-05-28 | 2020-05-28 | A car seat slide rail handle punching device |
Country Status (1)
| Country | Link |
|---|---|
| CN (1) | CN111804833A (en) |
Cited By (2)
| Publication number | Priority date | Publication date | Assignee | Title |
|---|---|---|---|---|
| CN113458222A (en) * | 2021-06-24 | 2021-10-01 | 江西维普产业技术研究服务有限公司 | Intelligent production device for 5G mobile phone shielding case |
| CN113857477A (en) * | 2021-08-19 | 2021-12-31 | 江苏同济汽车配件有限公司 | Automobile seat bottom sliding rail machining device |
Citations (8)
| Publication number | Priority date | Publication date | Assignee | Title |
|---|---|---|---|---|
| JP2000343295A (en) * | 1999-06-03 | 2000-12-12 | Nissan Motor Co Ltd | Press working device and press working method |
| CN203437523U (en) * | 2013-09-06 | 2014-02-19 | 杭州飞航模具科技有限公司 | Rounding die of plate-shaped part |
| CN208099099U (en) * | 2017-12-18 | 2018-11-16 | 天津联欣盈塑胶科技有限公司 | For top mold plate limit and the interlocking safety device of equipment |
| CN208643815U (en) * | 2018-07-30 | 2019-03-26 | 深圳市梦之坊通信产品有限公司 | A kind of center cylinder side die set convenient for multi-faceted punching processing |
| CN208662245U (en) * | 2018-07-08 | 2019-03-29 | 南京苏驰冷弯型钢有限公司 | A kind of handware punch forming device |
| CN208728476U (en) * | 2018-08-23 | 2019-04-12 | 上海华庄模具有限公司 | One kind can reduction factor according to caused by error accidentally modification mold |
| CN110681780A (en) * | 2019-10-23 | 2020-01-14 | 湘潭珺旭科技有限公司 | Automobile seat stamping die |
| CN212682233U (en) * | 2020-05-28 | 2021-03-12 | 无锡杰夫机械科技有限公司 | Stamping device for automobile seat slide rail handle |
-
2020
- 2020-05-28 CN CN202010471123.9A patent/CN111804833A/en active Pending
Patent Citations (8)
| Publication number | Priority date | Publication date | Assignee | Title |
|---|---|---|---|---|
| JP2000343295A (en) * | 1999-06-03 | 2000-12-12 | Nissan Motor Co Ltd | Press working device and press working method |
| CN203437523U (en) * | 2013-09-06 | 2014-02-19 | 杭州飞航模具科技有限公司 | Rounding die of plate-shaped part |
| CN208099099U (en) * | 2017-12-18 | 2018-11-16 | 天津联欣盈塑胶科技有限公司 | For top mold plate limit and the interlocking safety device of equipment |
| CN208662245U (en) * | 2018-07-08 | 2019-03-29 | 南京苏驰冷弯型钢有限公司 | A kind of handware punch forming device |
| CN208643815U (en) * | 2018-07-30 | 2019-03-26 | 深圳市梦之坊通信产品有限公司 | A kind of center cylinder side die set convenient for multi-faceted punching processing |
| CN208728476U (en) * | 2018-08-23 | 2019-04-12 | 上海华庄模具有限公司 | One kind can reduction factor according to caused by error accidentally modification mold |
| CN110681780A (en) * | 2019-10-23 | 2020-01-14 | 湘潭珺旭科技有限公司 | Automobile seat stamping die |
| CN212682233U (en) * | 2020-05-28 | 2021-03-12 | 无锡杰夫机械科技有限公司 | Stamping device for automobile seat slide rail handle |
Cited By (2)
| Publication number | Priority date | Publication date | Assignee | Title |
|---|---|---|---|---|
| CN113458222A (en) * | 2021-06-24 | 2021-10-01 | 江西维普产业技术研究服务有限公司 | Intelligent production device for 5G mobile phone shielding case |
| CN113857477A (en) * | 2021-08-19 | 2021-12-31 | 江苏同济汽车配件有限公司 | Automobile seat bottom sliding rail machining device |
Similar Documents
| Publication | Publication Date | Title |
|---|---|---|
| CN104889710A (en) | Contact pin base feeding device of LED assembling machine | |
| CN111804833A (en) | A car seat slide rail handle punching device | |
| CN202089702U (en) | Cantilever lifting device | |
| CN110562876A (en) | A distribution box installation auxiliary device | |
| CN204321545U (en) | Knuckle bushing pressing machine | |
| CN212682233U (en) | Stamping device for automobile seat slide rail handle | |
| CN216954987U (en) | Universal fixture for high-voltage test of clamp | |
| CN217726828U (en) | A stamping device for automobile shock absorber bracket | |
| CN216829406U (en) | Welding tool for armrest framework | |
| CN210081598U (en) | Tool is used in equipment of car reading lamp | |
| CN108380719A (en) | It is a kind of based on the building mortion for taking part clutch monoblock type corrugated sheet automatically | |
| CN212122460U (en) | Universal quick-change base for clamp | |
| CN223519083U (en) | Cover plate automatic feeding assembly screw locking all-in-one machine | |
| CN210451747U (en) | Piston link assembly cylinder entering device | |
| CN111792330A (en) | A fixture positioning mechanism | |
| CN221021510U (en) | Clamping mechanism for brick press mold | |
| CN219925008U (en) | Axle positioning device | |
| CN205415059U (en) | Clamping device surges | |
| CN221966574U (en) | A punching device for processing photovoltaic color steel tiles | |
| CN220162270U (en) | Jig for production and processing of planet carrier | |
| CN223289308U (en) | A light guide plate and FPC assembly tooling device | |
| CN223338731U (en) | Automobile lamp pin welding equipment | |
| CN214557416U (en) | A SLM Equipment for Reducing the Size of Forming Cylinders and Material Cylinders | |
| CN219818365U (en) | Projection welding positioning quick-changing tool | |
| CN221455815U (en) | Assembling table for die |
Legal Events
| Date | Code | Title | Description |
|---|---|---|---|
| PB01 | Publication | ||
| PB01 | Publication | ||
| SE01 | Entry into force of request for substantive examination | ||
| SE01 | Entry into force of request for substantive examination | ||
| RJ01 | Rejection of invention patent application after publication | ||
| RJ01 | Rejection of invention patent application after publication |
Application publication date: 20201023 |
