CN111789516A - Manual bath and scrub chair - Google Patents
Manual bath and scrub chair Download PDFInfo
- Publication number
- CN111789516A CN111789516A CN202010808867.5A CN202010808867A CN111789516A CN 111789516 A CN111789516 A CN 111789516A CN 202010808867 A CN202010808867 A CN 202010808867A CN 111789516 A CN111789516 A CN 111789516A
- Authority
- CN
- China
- Prior art keywords
- rubbing
- bath
- chair
- box body
- seat
- Prior art date
- Legal status (The legal status is an assumption and is not a legal conclusion. Google has not performed a legal analysis and makes no representation as to the accuracy of the status listed.)
- Granted
Links
- 230000033001 locomotion Effects 0.000 claims abstract description 23
- 230000007246 mechanism Effects 0.000 claims abstract description 19
- 238000003287 bathing Methods 0.000 claims abstract description 18
- 241000252254 Catostomidae Species 0.000 claims 2
- 238000009434 installation Methods 0.000 abstract 1
- 238000010586 diagram Methods 0.000 description 4
- 238000000034 method Methods 0.000 description 4
- 230000000694 effects Effects 0.000 description 3
- 230000009286 beneficial effect Effects 0.000 description 1
- 230000005540 biological transmission Effects 0.000 description 1
- 238000004140 cleaning Methods 0.000 description 1
- 238000010276 construction Methods 0.000 description 1
- 230000008602 contraction Effects 0.000 description 1
- 238000005201 scrubbing Methods 0.000 description 1
- 238000006467 substitution reaction Methods 0.000 description 1
Images
Classifications
-
- A—HUMAN NECESSITIES
- A47—FURNITURE; DOMESTIC ARTICLES OR APPLIANCES; COFFEE MILLS; SPICE MILLS; SUCTION CLEANERS IN GENERAL
- A47K—SANITARY EQUIPMENT NOT OTHERWISE PROVIDED FOR; TOILET ACCESSORIES
- A47K7/00—Body washing or cleaning implements
- A47K7/04—Mechanical washing or cleaning devices, hand or mechanically, i.e. power operated
- A47K7/043—Mechanical washing or cleaning devices, hand or mechanically, i.e. power operated hand operated
-
- A—HUMAN NECESSITIES
- A47—FURNITURE; DOMESTIC ARTICLES OR APPLIANCES; COFFEE MILLS; SPICE MILLS; SUCTION CLEANERS IN GENERAL
- A47K—SANITARY EQUIPMENT NOT OTHERWISE PROVIDED FOR; TOILET ACCESSORIES
- A47K3/00—Baths; Douches; Appurtenances therefor
- A47K3/12—Separate seats or body supports
- A47K3/122—Seats
Landscapes
- Health & Medical Sciences (AREA)
- Public Health (AREA)
- Epidemiology (AREA)
- General Health & Medical Sciences (AREA)
- Engineering & Computer Science (AREA)
- Mechanical Engineering (AREA)
- Special Chairs (AREA)
- Devices For Medical Bathing And Washing (AREA)
Abstract
本发明公开了一种手动洗浴搓背椅,由外框、箱体、倾角调节机构、搓澡盘运动机构、座椅和座椅连接件组成。倾角调节机构由滑轨和滑块组成,通过滑块移动以及箱体与滑块连接部位的转动,使箱体倾斜达到合适的角度。搓澡盘运动机构由摇杆、锥齿轮、大带轮、皮带、小带轮、伸缩杆、齿轮、齿条、搓澡盘安装板和搓澡盘组成,使用时,通过手动上下摇动摇杆使搓澡盘同时做上下往复运动和旋转运动,以实现搓澡功能。座椅通过座椅连接件与箱体下表面连接,通过座椅连接件的转动,实现座椅的展开和收纳。本发明具有结构简单、使用方便、节省空间的优点。
The invention discloses a manual bathing and back-rubbing chair, which is composed of an outer frame, a box body, an inclination angle adjusting mechanism, a bathing tray movement mechanism, a seat and a seat connecting piece. The inclination adjustment mechanism is composed of a slide rail and a slider, and the box body is inclined to an appropriate angle through the movement of the slider and the rotation of the connecting part between the box body and the slider. The movement mechanism of the shower tray is composed of a rocker, a bevel gear, a large pulley, a belt, a small pulley, a telescopic rod, a gear, a rack, a shower tray installation plate and a shower tray. When in use, manually shake the rocker up and down. Make the rubbing tray do up and down reciprocating motion and rotating motion at the same time, so as to realize the rubbing function. The seat is connected with the lower surface of the box body through the seat connecting piece, and the unfolding and storage of the seat is realized by the rotation of the seat connecting piece. The invention has the advantages of simple structure, convenient use and space saving.
Description
技术领域technical field
本发明涉及洗浴设备技术领域,具体而言,涉及一种手动洗浴搓背椅。The invention relates to the technical field of bathing equipment, in particular to a manual bathing chair.
背景技术Background technique
在日常洗浴过程中,需要对身体进行搓洗,但由于人类生理构造的缘故,搓洗身体前部和四肢较为容易,背部污垢则难以有效清理,尤其对于关节不便的年长者,更难以对后背部进行有效的擦洗。In the process of daily bathing, the body needs to be scrubbed, but due to the human physiological structure, it is easier to scrub the front and limbs of the body, but it is difficult to effectively clean the back dirt, especially for the elderly with joint inconvenience, it is more difficult to clean the back Do an effective scrub.
目前市场上普遍使用的搓背机器,如手持电动搓背器,壁挂式搓背器,本申请人发现现有设备至少存在以下问题:由于年长者关节活动受限制,手持搓背器的使用仍具有不便性,对背部污垢的清理效果依然不佳;现有壁挂式搓背器需要站立使用,对腿脚不便且易于跌倒的年长者,洗浴时存在安全隐患。The back-rubbing machines commonly used in the market at present, such as hand-held electric back-rubbing devices and wall-mounted back-rubbing devices, have been found by the applicant to have at least the following problems: due to the restricted joint movement of the elderly, the use of hand-held back-rubbing devices It is still inconvenient, and the cleaning effect on the back dirt is still poor; the existing wall-mounted back scrubber needs to be used standing up, and there is a safety hazard when bathing for the elderly who have inconvenient legs and feet and are prone to falling.
发明内容SUMMARY OF THE INVENTION
本发明的目的在于解决上述技术问题,提供一种使用便捷,且适宜不同人群的手动洗浴搓背椅。The purpose of the present invention is to solve the above-mentioned technical problems, and to provide a manual bathing and rubbing chair that is convenient to use and suitable for different groups of people.
为达到上述目的,本发明可通过下述技术方案来实现:一种手动洗浴搓背椅,由外框、箱体、倾角调节机构、搓澡盘运动机构、座椅和座椅连接件组成。所述外框上设置有多个吸盘并通过所述吸盘吸附固定安装在墙面上。所述倾角调节机构由两组相互配合的滑轨和滑块组成,两个所述滑块通过铰链分别安装在所述箱体两侧,两个所述滑轨固定安装于所述外框表面两侧。所述搓澡盘运动机构有2套,对称设置在所述箱体上,每一套所述搓澡盘运动机构由摇杆、锥齿轮、大带轮、皮带、小带轮、伸缩杆、齿轮、齿条、搓澡盘安装板和搓澡盘组成。所述搓澡盘有多个并间隔安装在所述搓澡盘安装板上,所述齿轮数量与所述搓澡盘数量相同且分别同轴固定安装在对应的所述搓澡盘上,所述齿轮与所述齿条啮合,所述齿条安装在所述箱体上,所述摇杆与所述锥齿轮相连接,所述锥齿轮与所述大带轮连接,所述大带轮和所述小带轮通过所述皮带传动,所述小带轮与所述伸缩杆相连接,所述伸缩杆与所述搓澡盘安装板相连接。所述座椅通过所述座椅连接件与所述箱体下表面连接。In order to achieve the above purpose, the present invention can be achieved through the following technical solutions: a manual bathing and rubbing chair, which is composed of an outer frame, a box body, an inclination adjustment mechanism, a bathing tray motion mechanism, a seat and a seat connector. The outer frame is provided with a plurality of suction cups, and the suction cups are sucked and fixed on the wall surface. The inclination adjustment mechanism is composed of two sets of sliding rails and sliders that cooperate with each other. The two sliding blocks are respectively installed on both sides of the box body through hinges, and the two sliding rails are fixedly installed on the surface of the outer frame. sides. There are 2 sets of the movement mechanism of the shower tray, which are symmetrically arranged on the box body. It is composed of gears, racks, a shower tray mounting plate and a shower tray. There are a plurality of said bath trays and are installed on the said bath tray mounting plate at intervals, the number of said gears is the same as the number of said bath trays and they are respectively coaxially fixed on the corresponding said bath trays, so The gear is meshed with the rack, the rack is installed on the box, the rocker is connected with the bevel gear, the bevel gear is connected with the large pulley, and the large pulley And the small pulley is driven by the belt, the small pulley is connected with the telescopic rod, and the telescopic rod is connected with the shower tray mounting plate. The seat is connected to the lower surface of the box body through the seat connecting piece.
用户使用时背对所述箱体坐在所述座椅上,通过双手上下摇动所述摇杆,依次驱动所述锥齿轮、所述大带轮和所述小带轮,通过所述小带轮驱动所述伸缩杆往复摆动,进而驱动搓澡盘安装板作往复直线运动,同时所述齿轮与所述齿条相啮合作旋转运动并带动与所述齿轮相连接的所述搓澡盘作旋转运动,以实现搓澡功能。When in use, the user sits on the seat with his back to the box, shakes the rocker up and down with both hands, and drives the bevel gear, the large pulley and the small pulley in sequence, and the small belt The wheel drives the telescopic rod to swing back and forth, and then drives the shower tray mounting plate to reciprocate linear motion. At the same time, the gear meshes with the rack to rotate and drives the shower tray connected to the gear to move. Rotational motion for the scrubbing function.
优选的,所述滑轨上设置多个有限位孔用来限制滑块的移动,通过在所述滑轨不同位置的限位孔上设置插销可以实现所述箱体不同角度的倾斜。Preferably, a plurality of limiting holes are arranged on the sliding rail to limit the movement of the slider, and the box body can be tilted at different angles by arranging latches on the limiting holes at different positions of the sliding rail.
优选的,所述伸缩杆内设有弹簧,将所述齿轮压紧在所述齿条上,形成可靠的啮合。同时,通过的所述伸缩杆的伸缩运动可以补偿所述伸缩杆往复摆动过程中长度的变化。Preferably, a spring is provided in the telescopic rod to press the gear on the rack to form a reliable meshing. At the same time, the telescopic movement of the telescopic rod can compensate for the change in the length of the telescopic rod during the reciprocating swinging process.
优选的,所述齿条与所述箱体底面垂直。Preferably, the rack is perpendicular to the bottom surface of the box.
优选的, 所述座椅与所述座椅连接件之间可自由转动并可以通过所述座椅连接件翻折,实现所述座椅的展开和收纳的效果Preferably, the seat and the seat connecting piece are freely rotatable and can be folded through the seat connecting piece to achieve the effect of unfolding and storing the seat
优选的,所述座椅的椅腿可以折叠。Preferably, the legs of the seat can be folded.
本发明的有益效果是。The beneficial effects of the present invention are:
使用本装置时,只需手拉摇杆上下运动,操作简单省力。装置内部各传动机构配合,使搓澡盘实现上下往复运动的同时自身做旋转运动,此外,箱体设置多个搓澡盘,增大有效搓澡面积,去除清洁死角,使背部清洁更全面,更高效。When using this device, it is only necessary to pull the joystick up and down to move up and down, and the operation is simple and labor-saving. The transmission mechanism inside the device cooperates, so that the rubbing tray can reciprocate up and down and rotate by itself. In addition, the box is equipped with multiple rubbing trays to increase the effective rubbing area, remove the dead corners, and make the back clean more comprehensively. more efficient.
本装置设有座椅,并且箱体倾斜度可调节。针对不同人群,适用范围更广,使用舒适性更佳。 同时本装置在未使用时,座椅可折叠收纳,摇杆向上回拉,可有效节约空间。The device is provided with a seat, and the inclination of the box body can be adjusted. For different groups of people, it has a wider range of applications and better comfort. At the same time, when the device is not in use, the seat can be folded and stored, and the rocker can be pulled back upwards, which can effectively save space.
附图说明Description of drawings
下面结合附图与实施例对本发明进一步说明。The present invention will be further described below with reference to the accompanying drawings and embodiments.
图1是本发明实施例箱体垂直于地面时的结构示意图。FIG. 1 is a schematic structural diagram of an embodiment of the present invention when the box body is perpendicular to the ground.
图2是本发明实施例箱体倾角调节一定角度后的结构示意图。FIG. 2 is a schematic structural diagram of an embodiment of the present invention after the inclination angle of the box body is adjusted to a certain angle.
图3是本发明实施例的箱体内部结构正视图。FIG. 3 is a front view of the internal structure of the box according to the embodiment of the present invention.
图4是本发明实施例的箱体内部结构侧视图。FIG. 4 is a side view of the internal structure of the box according to the embodiment of the present invention.
图5是本发明伸缩杆结构示意图。FIG. 5 is a schematic view of the structure of the telescopic rod of the present invention.
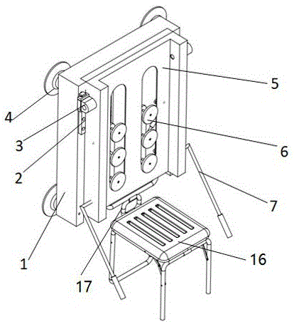
图中,1、外框;2、滑轨;3、滑块;4、吸盘;5、箱体;6、搓澡盘;7、摇杆;8、锥齿轮;9、大带轮;10、皮带;11、小带轮;12、伸缩杆;13、齿轮;14、搓澡盘安装板;15、齿条;16、座椅;17、座椅连接件;18、滑杆;19、弹簧;20、直线轴承;21、滑套。具体实施方式In the figure, 1, outer frame; 2, slide rail; 3, slider; 4, suction cup; 5, box body; 6, bath tray; 7, rocker; 8, bevel gear; 9, large pulley; 10 , belt; 11, small pulley; 12, telescopic rod; 13, gear; 14, shower tray mounting plate; 15, rack; 16, seat; 17, seat connector; 18, slide bar; 19, Spring; 20, linear bearing; 21, sliding sleeve. Detailed ways
下面将结合附图对本发明的技术方案进行清楚、完整地描述,显然,所描述的实施例是本发明一部分实施例,而不是全部的实施例。基于本发明中的实施例,本领域普通技术人员在没有做出创造性劳动前提下所获得的所有其他实施例,都属于本发明保护的范围。The technical solutions of the present invention will be clearly and completely described below with reference to the accompanying drawings. Obviously, the described embodiments are a part of the embodiments of the present invention, but not all of the embodiments. Based on the embodiments of the present invention, all other embodiments obtained by those of ordinary skill in the art without creative efforts shall fall within the protection scope of the present invention.
在本发明的描述中,需要说明的是,某些指示的方位或位置关系的词语,其仅是为了便于描述本发明和简化描述,而不是指示或暗示所指的装置或元件必须具有特定的方位、以特定的方位构造和操作,因此不能理解为对本发明的限制。In the description of the present invention, it should be noted that certain words indicating orientation or positional relationship are only for the convenience of describing the present invention and simplifying the description, rather than indicating or implying that the indicated device or element must have a specific Orientation, construction and operation in a particular orientation, and therefore should not be construed as limiting the invention.
请结合参阅图1和图2,本发明提供了一种手动洗浴搓背椅,由外框1、箱体5、倾角调节机构、搓澡盘运动机构、座椅16和座椅连接件17组成,所述外框1上设置有多个吸盘4并通过吸盘4吸附固定安装在墙面上,所述倾角调节机构由两组相互配合的滑轨2和滑块3组成,两个滑块3通过铰链分别安装在箱体5两侧,两个滑轨2固定安装于外框1表面两侧。通过滑块3在滑轨2上的移动,可以使安装在两滑块3之间的箱体5实现不同角度的倾斜。在滑轨2上设置有若干限位孔,通过在不同位置的限位孔中设置插销可以实现对滑块3的限位,进而实现对于箱体5角度的保持。如图1所示为本发明实施例箱体垂直于地面时的结构示意图,图2所示为本发明实施例箱体倾角调节一定角度后的结构示意图。座椅16通过座椅连接件17安装于箱体5下方,座椅16可以通过座椅连接件17实现翻折,同时座椅16的椅腿是可以折叠的,以达到收纳和展开的效果。需要使用时,使用者将座椅16打开放平并将折叠的椅腿打开支撑在地面上,坐在座椅16上进行洗浴。不用时,使用者将座椅16的椅腿折叠收起,并将座椅16通过座椅连接件17翻转至与箱体5靠紧的位置以实现座椅16的收纳,此时箱体5自动绕滑块3上的铰链运动到与外框1紧贴的位置,同时将摇杆7向上回拉至垂直于地面的位置,可达到节约空间的目的。Please refer to FIG. 1 and FIG. 2 in combination, the present invention provides a manual bathing chair, which is composed of an
请结合参阅图4和图5,所述搓澡盘运动机构有2套,左右对称设置在所述箱体5上,每一套搓澡盘运动机构由摇杆7、锥齿轮8、大带轮9、皮带10、小带轮11、伸缩杆12、齿轮13、搓澡盘安装板14、齿条15、搓澡盘6组成。本实施例中每一套搓澡盘运动机构中的所述搓澡盘6有3个并间隔安装在所述搓澡盘安装板14上,所述齿轮13数量与所述搓澡盘6数量相同且分别同轴固定安装在对应的所述搓澡盘6上,所述齿轮13与所述齿条15啮合,所述齿条15安装在所述箱体5上。所述摇杆7与所述锥齿轮8相连接,所述锥齿轮8与所述大带轮9连接,所述大带轮9和所述小带轮11通过所述皮带10传动,所述小带轮11与所述伸缩杆12相连接,所述伸缩杆12与所述搓澡盘安装板14相连接。通过上下摇动所述摇杆7依次驱动所述锥齿轮8、所述大带轮9和所述小带轮11,通过所述小带轮11驱动所述伸缩杆12往复摆动,进而驱动搓澡盘安装板14作往复直线运动,同时所述齿轮13与所述齿条15相啮合作旋转运动并带动与所述齿轮13相连接的所述搓澡盘6作旋转运动,以实现搓澡功能。Please refer to FIG. 4 and FIG. 5 in conjunction, there are two sets of the movement mechanism of the shower tray, which are symmetrically arranged on the
请参阅图5,所述伸缩杆12中设置有滑杆18、弹簧19、直线轴承20和滑套21,滑杆18和滑套21通过直线轴承20实现相对滑动以达到伸缩的目的,弹簧19始终处于压缩状态从而保证伸缩杆12始终向外输出推力。当伸缩杆12往复摆动时可依靠弹簧19产生的推力将所述齿轮13压紧在所述齿条15上,形成可靠的啮合。同时,通过的所述伸缩杆12的伸缩运动可以补偿所述伸缩杆12往复摆动过程中长度的变化。Referring to FIG. 5 , the
请结合参阅图1至图4,使用时,用户调整好箱体5的角度,将座椅16展开,然后背靠箱体5坐在座椅16上,双手握住箱体5两侧的摇杆7作上下运动,摇杆7的往复摆动驱动锥齿轮8做往复的旋转运动,锥齿轮8驱动与之相连接的大带轮9并通过皮带10驱动小带轮11同步作往复的旋转运动,小带轮11驱动与之相连接的伸缩杆12作往复摆动,伸缩杆12另一端连接的搓澡盘安装板14随着伸缩杆12的往复摆动作上下直线往复运动。同时所述齿轮13与所述齿条15相啮合作旋转运动并带动与所述齿轮13相连接的所述搓澡盘6作旋转运动,以实现搓澡功能。Please refer to FIG. 1 to FIG. 4 in combination. When in use, the user adjusts the angle of the
以上所述,仅为本发明的具体实施方式,但本发明的保护范围并不局限于此,任何熟悉本技术领域的技术人员在本发明揭露的技术范围内,可轻易想到变化或替换,都应涵盖在本发明的保护范围之内。因此,本发明的保护范围应以所述权利要求的保护范围为准。The above are only specific embodiments of the present invention, but the protection scope of the present invention is not limited thereto. Any person skilled in the art can easily think of changes or substitutions within the technical scope disclosed by the present invention. should be included within the protection scope of the present invention. Therefore, the protection scope of the present invention should be based on the protection scope of the claims.
Claims (6)
Priority Applications (1)
| Application Number | Priority Date | Filing Date | Title |
|---|---|---|---|
| CN202010808867.5A CN111789516B (en) | 2020-08-12 | 2020-08-12 | Manual bathing and back scrubbing chair |
Applications Claiming Priority (1)
| Application Number | Priority Date | Filing Date | Title |
|---|---|---|---|
| CN202010808867.5A CN111789516B (en) | 2020-08-12 | 2020-08-12 | Manual bathing and back scrubbing chair |
Publications (2)
| Publication Number | Publication Date |
|---|---|
| CN111789516A true CN111789516A (en) | 2020-10-20 |
| CN111789516B CN111789516B (en) | 2025-01-21 |
Family
ID=72834349
Family Applications (1)
| Application Number | Title | Priority Date | Filing Date |
|---|---|---|---|
| CN202010808867.5A Active CN111789516B (en) | 2020-08-12 | 2020-08-12 | Manual bathing and back scrubbing chair |
Country Status (1)
| Country | Link |
|---|---|
| CN (1) | CN111789516B (en) |
Cited By (2)
| Publication number | Priority date | Publication date | Assignee | Title |
|---|---|---|---|---|
| CN113907630A (en) * | 2021-10-26 | 2022-01-11 | 杭州职业技术学院 | Rubbing device for bath |
| US20250000306A1 (en) * | 2023-06-27 | 2025-01-02 | Anthony Dunn | Bathing chair device |
Citations (5)
| Publication number | Priority date | Publication date | Assignee | Title |
|---|---|---|---|---|
| KR20090124079A (en) * | 2008-05-29 | 2009-12-03 | 이재호 | Grinder |
| CN210055818U (en) * | 2018-10-25 | 2020-02-14 | 北京中科恒晟科技有限公司 | Hand back rubbing machine |
| CN110881883A (en) * | 2019-12-13 | 2020-03-17 | 长江师范学院 | A chair of giving a rubdown with a damp towel for old man bathes |
| CN111248793A (en) * | 2020-02-25 | 2020-06-09 | 南通大学 | Integrated bathing chair for assisting old people in limb stretching and back scrubbing |
| CN212755441U (en) * | 2020-08-12 | 2021-03-23 | 湖南农业大学 | Manual bath and scrub chair |
-
2020
- 2020-08-12 CN CN202010808867.5A patent/CN111789516B/en active Active
Patent Citations (5)
| Publication number | Priority date | Publication date | Assignee | Title |
|---|---|---|---|---|
| KR20090124079A (en) * | 2008-05-29 | 2009-12-03 | 이재호 | Grinder |
| CN210055818U (en) * | 2018-10-25 | 2020-02-14 | 北京中科恒晟科技有限公司 | Hand back rubbing machine |
| CN110881883A (en) * | 2019-12-13 | 2020-03-17 | 长江师范学院 | A chair of giving a rubdown with a damp towel for old man bathes |
| CN111248793A (en) * | 2020-02-25 | 2020-06-09 | 南通大学 | Integrated bathing chair for assisting old people in limb stretching and back scrubbing |
| CN212755441U (en) * | 2020-08-12 | 2021-03-23 | 湖南农业大学 | Manual bath and scrub chair |
Cited By (3)
| Publication number | Priority date | Publication date | Assignee | Title |
|---|---|---|---|---|
| CN113907630A (en) * | 2021-10-26 | 2022-01-11 | 杭州职业技术学院 | Rubbing device for bath |
| CN113907630B (en) * | 2021-10-26 | 2023-04-18 | 杭州职业技术学院 | Rubbing device for bath |
| US20250000306A1 (en) * | 2023-06-27 | 2025-01-02 | Anthony Dunn | Bathing chair device |
Also Published As
| Publication number | Publication date |
|---|---|
| CN111789516B (en) | 2025-01-21 |
Similar Documents
| Publication | Publication Date | Title |
|---|---|---|
| AU2018418625B2 (en) | Multifunctional wheelchair | |
| CN106667121B (en) | A multifunctional sofa bed | |
| CN111789516A (en) | Manual bath and scrub chair | |
| CN110801356B (en) | A multifunctional hospital bed with leg support | |
| CN212755441U (en) | Manual bath and scrub chair | |
| CN109602205A (en) | Back flat-lying type folding sofa frame | |
| CN106499030A (en) | A kind of toilet seat automatic cleaning apparatus | |
| CN102670114B (en) | Multifunctional automatic human body scrubbing device | |
| CN207855901U (en) | Zero-g massage chair | |
| CN113367526B (en) | Electric massage health-care simmons mattress | |
| CN2356669Y (en) | Multifunctional automatic nursing bed | |
| CN210520865U (en) | All-round bathing machine | |
| CN211354397U (en) | Multifunctional rest table for patients with chronic obstructive pulmonary disease | |
| WO2025066314A1 (en) | Bathing unit and method for using same | |
| CN111823256A (en) | An anti-fall household feeding robot to help the elderly | |
| CN109512320A (en) | A kind of device for cleaned window outside glass | |
| CN209059925U (en) | A massage mechanism and massage chair | |
| CN215840024U (en) | Multifunctional old-person assisting bed | |
| CN213820662U (en) | Combined bed cabinet | |
| CN210471548U (en) | A variable seat structure | |
| CN113749405A (en) | Smart home dining table with tabletop self-extending type mechanism | |
| CN111543878A (en) | Make things convenient for comprehensive shower of health that disabled crowd used | |
| CN207855906U (en) | Massage armchair | |
| CN207928098U (en) | A kind of multi-functional couch | |
| CN216676177U (en) | Multifunctional bed for old people |
Legal Events
| Date | Code | Title | Description |
|---|---|---|---|
| PB01 | Publication | ||
| PB01 | Publication | ||
| SE01 | Entry into force of request for substantive examination | ||
| SE01 | Entry into force of request for substantive examination | ||
| GR01 | Patent grant | ||
| GR01 | Patent grant |
