CN111789212A - A beef curing device in the production process of bottled beef sauce - Google Patents
A beef curing device in the production process of bottled beef sauce Download PDFInfo
- Publication number
- CN111789212A CN111789212A CN202010685586.5A CN202010685586A CN111789212A CN 111789212 A CN111789212 A CN 111789212A CN 202010685586 A CN202010685586 A CN 202010685586A CN 111789212 A CN111789212 A CN 111789212A
- Authority
- CN
- China
- Prior art keywords
- beef
- stirring
- mounting
- rod
- shaft
- Prior art date
- Legal status (The legal status is an assumption and is not a legal conclusion. Google has not performed a legal analysis and makes no representation as to the accuracy of the status listed.)
- Pending
Links
- 235000015278 beef Nutrition 0.000 title claims abstract description 74
- 238000004519 manufacturing process Methods 0.000 title claims abstract description 24
- 235000015067 sauces Nutrition 0.000 title abstract description 14
- 238000003756 stirring Methods 0.000 claims abstract description 89
- 238000007790 scraping Methods 0.000 claims abstract description 33
- 239000006260 foam Substances 0.000 claims abstract description 32
- 238000004140 cleaning Methods 0.000 claims abstract description 30
- 235000013372 meat Nutrition 0.000 claims abstract description 16
- 238000003825 pressing Methods 0.000 claims abstract description 15
- 238000009434 installation Methods 0.000 claims description 24
- 230000005540 biological transmission Effects 0.000 claims description 17
- 239000010865 sewage Substances 0.000 claims description 16
- 239000000463 material Substances 0.000 claims description 9
- 239000011229 interlayer Substances 0.000 claims description 7
- XLYOFNOQVPJJNP-UHFFFAOYSA-N water Substances O XLYOFNOQVPJJNP-UHFFFAOYSA-N 0.000 claims description 6
- 230000007306 turnover Effects 0.000 claims description 4
- 239000010720 hydraulic oil Substances 0.000 claims 3
- 230000035800 maturation Effects 0.000 claims 3
- 230000005070 ripening Effects 0.000 claims 3
- 238000004891 communication Methods 0.000 claims 1
- 239000010410 layer Substances 0.000 claims 1
- 238000005406 washing Methods 0.000 claims 1
- 235000015223 cooked beef Nutrition 0.000 abstract description 5
- 239000012535 impurity Substances 0.000 abstract description 5
- 230000009286 beneficial effect Effects 0.000 abstract description 2
- 235000011389 fruit/vegetable juice Nutrition 0.000 abstract 1
- 238000010411 cooking Methods 0.000 description 7
- 238000010586 diagram Methods 0.000 description 6
- 235000014347 soups Nutrition 0.000 description 6
- 238000000034 method Methods 0.000 description 3
- 230000032258 transport Effects 0.000 description 3
- 235000013409 condiments Nutrition 0.000 description 2
- 230000032683 aging Effects 0.000 description 1
- 230000007547 defect Effects 0.000 description 1
- 239000000428 dust Substances 0.000 description 1
- 230000000694 effects Effects 0.000 description 1
- 235000011194 food seasoning agent Nutrition 0.000 description 1
- 239000007788 liquid Substances 0.000 description 1
Images
Classifications
-
- A—HUMAN NECESSITIES
- A23—FOODS OR FOODSTUFFS; TREATMENT THEREOF, NOT COVERED BY OTHER CLASSES
- A23L—FOODS, FOODSTUFFS OR NON-ALCOHOLIC BEVERAGES, NOT OTHERWISE PROVIDED FOR; PREPARATION OR TREATMENT THEREOF
- A23L5/00—Preparation or treatment of foods or foodstuffs, in general; Food or foodstuffs obtained thereby; Materials therefor
- A23L5/10—General methods of cooking foods, e.g. by roasting or frying
- A23L5/13—General methods of cooking foods, e.g. by roasting or frying using water or steam
-
- A—HUMAN NECESSITIES
- A23—FOODS OR FOODSTUFFS; TREATMENT THEREOF, NOT COVERED BY OTHER CLASSES
- A23L—FOODS, FOODSTUFFS OR NON-ALCOHOLIC BEVERAGES, NOT OTHERWISE PROVIDED FOR; PREPARATION OR TREATMENT THEREOF
- A23L13/00—Meat products; Meat meal; Preparation or treatment thereof
-
- A—HUMAN NECESSITIES
- A23—FOODS OR FOODSTUFFS; TREATMENT THEREOF, NOT COVERED BY OTHER CLASSES
- A23P—SHAPING OR WORKING OF FOODSTUFFS, NOT FULLY COVERED BY A SINGLE OTHER SUBCLASS
- A23P30/00—Shaping or working of foodstuffs characterised by the process or apparatus
Landscapes
- Life Sciences & Earth Sciences (AREA)
- Chemical & Material Sciences (AREA)
- Engineering & Computer Science (AREA)
- Food Science & Technology (AREA)
- Polymers & Plastics (AREA)
- Health & Medical Sciences (AREA)
- Nutrition Science (AREA)
- Meat, Egg Or Seafood Products (AREA)
Abstract
本发明公开了一种瓶装牛肉酱生产过程中牛肉熟化装置,包括安装底座和固定安装在安装底座上一组相对的翻转安装座,所述翻转安装座上活动安装有夹层锅,夹层锅上设有搅拌机构,所述夹层锅一侧设有刮料机构。本发明的有益效果是,通过位于夹层锅上的搅拌机构可有效对夹层锅内的牛肉进行搅拌,圆形压肉板可对蒸煮的牛肉进行压料,防止牛肉熟化不彻底,浮沫过滤网可过滤牛肉熟化时产生的浮沫,且浮沫过滤网为可拆卸结构,便于对浮沫过滤网内的杂质进行清理,刮料机构可在夹层锅倒料后,对锅内残留的牛肉汤汁进行自动刮料,减少人工刮料劳动力,清洗头可对夹层锅进行自动清洗,传送带可将熟化后的牛肉输送至下一生产线,有效提高牛肉熟化效率。
The invention discloses a beef curing device in the production process of bottled beef sauce, which comprises a mounting base and a set of opposite overturning mounting seats fixedly mounted on the mounting base. There is a stirring mechanism, and one side of the jacketed pot is provided with a scraping mechanism. The beneficial effect of the present invention is that the beef in the jacketed pot can be effectively stirred by the stirring mechanism located on the jacketed pot, and the round meat pressing plate can press the cooked beef to prevent the beef from being cooked incompletely, and the foam filter net It can filter the foam generated when the beef is cooked, and the foam filter is a detachable structure, which is convenient for cleaning the impurities in the foam filter. The juice is automatically scraped to reduce manual scraping labor, the cleaning head can automatically clean the jacketed pot, and the conveyor belt can transport the cooked beef to the next production line, effectively improving the beef curing efficiency.
Description
技术领域technical field
本发明涉及瓶装牛肉酱生产领域,具体为一种瓶装牛肉酱生产过程中牛肉熟化装置。The invention relates to the field of bottled beef sauce production, in particular to a beef curing device in the production process of bottled beef sauce.
背景技术Background technique
牛肉酱是一种以牛肉为主的调味品。牛肉酱采用传统工艺,巧妙结合御厨配方,炒制出的牛肉酱。味道纯正,是百姓家庭餐桌上不可或缺的佐餐调料,也可以直接食用。Beef sauce is a beef-based condiment. The beef sauce is made by traditional craftsmanship and skillfully combined with the royal chef's recipe. The taste is pure, it is an indispensable condiment on the table of common people's family, and it can also be eaten directly.
瓶装牛肉酱在进行生产过程中,需要对解冻后的牛肉进行熟化加工。现有的牛肉熟化设备大多通过夹层锅进行熟化,牛肉在熟化过程中会产生大量的浮沫,不及时清理,会影响后续牛肉酱的品质,且熟化后的牛肉进行倒料时,倒料不彻底,锅内残留的牛肉汤汁需要人工刮下来,夹层锅在使用后需要人工进行清洗,造成牛肉熟化效率较低,不能满足市场需求。In the production process of bottled beef sauce, the thawed beef needs to be matured. Most of the existing beef cooking equipment is cooked through a jacketed pot, and the beef will produce a lot of foam during the curing process. If it is not cleaned in time, the quality of the subsequent beef sauce will be affected. Thoroughly, the residual beef soup in the pot needs to be scraped off manually, and the jacketed pot needs to be cleaned manually after use, resulting in low beef cooking efficiency and cannot meet market demand.
发明内容SUMMARY OF THE INVENTION
针对以上缺陷,本发明提供一种瓶装牛肉酱生产过程中牛肉熟化装置,以解决瓶装牛肉酱生产熟化问题。In view of the above defects, the present invention provides a beef curing device in the production process of bottled beef sauce, so as to solve the problem of bottled beef sauce production and aging.
为实现上述目的,本发明采用以下技术方案:To achieve the above object, the present invention adopts the following technical solutions:
一种瓶装牛肉酱生产过程中牛肉熟化装置,包括安装底座和固定安装在安装底座上一组相对的翻转安装座,所述翻转安装座上活动安装有夹层锅,夹层锅上设有搅拌机构,所述夹层锅一侧设有刮料机构;A beef curing device in the production process of bottled beef sauce, comprising a mounting base and a set of opposite overturning mounting seats fixedly mounted on the mounting base, wherein a jacketed pot is movably mounted on the overturned mounting seat, and a stirring mechanism is arranged on the jacketed pot, A scraping mechanism is provided on one side of the jacketed pot;
搅拌机构包括搅拌安装座、搅拌连接架、固定端轴一、固定端轴二、液压油缸、搅拌电机、搅拌轴、锅盖、一组相对的滑槽、空心连接杆、矩形安装框、浮沫过滤网、n型安装架、滑动杆、拉动把手、固定块、弹簧一、浮球、圆形压肉板、若干个圆形通孔以及搅拌叶片,所述搅拌安装座安装在安装底座上表面后端,所述搅拌连接架活动铰接在搅拌安装座上端,且呈倒L型,所述固定端轴一位于在搅拌安装座一侧,所述固定端轴二安装在搅拌连接架底部一侧,所述液压油缸一端与固定端轴一活动铰接,且另一端与固定端轴二活动铰接,所述搅拌电机安装在搅拌连接架底部,且旋转端竖直朝下,所述搅拌轴安装在搅拌电机旋转端上,所述锅盖安装在搅拌轴上端,一组相对的滑槽开在搅拌轴上端两侧,所述空心连接杆后端活动安装在滑槽内,所述矩形安装框安装在空心杆前端,所述浮沫过滤网安装在矩形安装框内,且为可拆卸结构,所述n型安装架安装在矩形安装框上,所述滑动杆活动插装在n型安装架上,所述拉动把手安装在滑动杆上端,所述固定块安装在滑动杆上,所述弹簧一套装在滑动杆上,且底部与固定块连接,所述浮球安装在矩形安装框一侧,所述圆形压肉板安装在搅拌轴上,且位于矩形安装框下方,若干个圆形通孔均匀开在圆形压肉板上,所述搅拌叶片安装在搅拌轴底部;The stirring mechanism includes stirring mounting base, stirring connecting frame, fixed end shaft 1, fixed
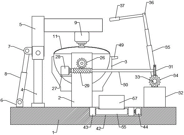
刮料机构包括一组相对的翻转轴、蜗轮、电机底座、步进电机、蜗杆、转动杆、不完全斜齿轮一、刮料安装座、传动杆、斜齿轮二、刮料杆、电动推杆、刮料安装板、限位凹槽、滑动刮板、限位板、弹簧二、矩形输送凹槽、皮带输送机、驱动电机、若干个条形孔、清洗管道、若干个清洗头以及污水收集内腔,一组相对的翻转轴分别活动安装在一组相对的翻转安装座内侧,且其中一根翻转轴前端伸出翻转安装座,所述蜗轮安装在伸出翻转安装座的翻转轴前端,所述电机底座安装在翻转安装座一侧,所述步进电机水平安装在安装底座上,所述蜗杆安装在步进电机旋转端上,且与蜗轮互相啮合,所述转动杆安装在蜗杆前端,所述不完全斜齿轮一安装在转动杆前端,所述刮料安装座安装在安装底座上表面前端,所述传动杆横向安装在刮料安装座上,所述斜齿轮二安装在传动杆一侧,且与不完全斜齿轮一互相啮合,所述刮料杆固定安装在传动杆上,所述电动推杆安装在刮料杆前端,所述刮料安装板安装在电动推杆伸缩端上,且呈弧形,所述限位凹槽开在刮料安装板内,所述滑动刮板活动安装在限位凹槽内,所述限位板安装在滑动刮板上端,所述弹簧二套装在滑动刮板上端,且与限位板连接,所述矩形输送凹槽开在安装底座上,且位于一组相对的翻转安装座和刮料安装座之间,所述皮带输送机安装在矩形输送凹槽内,所述驱动电机安装在皮带输送机一侧,若干个条形孔横向开在安装底座上,且与夹层锅底部相对应,所述清洗管道安装在条形孔内,若干个清洗头均匀安装在清洗管道上,所述污水收集内腔开在安装底座内,且与条形孔连通。The scraping mechanism includes a set of opposite turning shafts, worm gear, motor base, stepper motor, worm, rotating rod, incomplete helical gear 1, scraping mounting seat, transmission rod,
进一步的,所述夹层锅上端一侧设有锅嘴。Further, a pot spout is provided on one side of the upper end of the jacketed pot.
进一步的,所述搅拌连接架底部两侧安装有一组相对的连接杆,连接杆底部与锅盖连接。Further, a set of opposite connecting rods are installed on both sides of the bottom of the stirring connecting frame, and the bottom of the connecting rods is connected with the pot cover.
进一步的,所述空心连接杆后端通过滑块滑动安装在滑槽内。Further, the rear end of the hollow connecting rod is slidably installed in the chute through the slider.
进一步的,所述浮沫过滤网的数量为两个,大小相同,且位置互相交错。Further, the number of the foam filters is two, the size is the same, and the positions are staggered.
进一步的,所述矩形安装框和浮沫过滤网上开有相对应的固定槽,滑动杆底部活动插装在固定槽内。Further, the rectangular mounting frame and the foam filter are provided with corresponding fixing grooves, and the bottom of the sliding rod is movably inserted into the fixing grooves.
进一步的,所述不完全斜齿轮一由啮合齿和啮合条共同构成。Further, the incomplete helical gear is composed of meshing teeth and meshing bars.
进一步的,所述皮带输送机内安装有传送带,传送带上均匀开有若干个放置凹槽,放置凹槽上方放置有收集盆。Further, a conveyor belt is installed in the belt conveyor, a plurality of placement grooves are evenly opened on the conveyor belt, and a collection basin is placed above the placement grooves.
进一步的,所述清洗管道与外部水管连通。Further, the cleaning pipe is communicated with an external water pipe.
进一步的,所述污水收集内腔一侧开有排污口。Further, a sewage outlet is opened on one side of the sewage collection inner cavity.
本发明提供了一种瓶装牛肉酱生产过程中牛肉熟化装置,具备以下有益效果,通过位于夹层锅上的搅拌机构可有效对夹层锅内的牛肉进行搅拌,圆形压肉板可对蒸煮的牛肉进行压料,防止牛肉熟化不彻底,浮沫过滤网可过滤牛肉熟化时产生的浮沫,且浮沫过滤网为可拆卸结构,便于对浮沫过滤网内的杂质进行清理,刮料机构可在夹层锅倒料后,对锅内残留的牛肉汤汁进行自动刮料,减少人工刮料劳动力,清洗头可对夹层锅进行自动清洗,传送带可将熟化后的牛肉输送至下一生产线,有效提高牛肉熟化效率。The invention provides a beef cooking device in the production process of bottled beef sauce, which has the following beneficial effects. The stirring mechanism located on the jacketed pot can effectively stir the beef in the jacketed pot; Press the material to prevent the beef from being cooked incompletely. The foam filter can filter the foam generated when the beef is cooked, and the foam filter is a detachable structure, which is convenient for cleaning the impurities in the foam filter. The scraping mechanism can After the jacketed pot is poured, the residual beef soup in the pot is automatically scraped to reduce manual scraping labor. The cleaning head can automatically clean the jacketed pot, and the conveyor belt can transport the cooked beef to the next production line, effectively Improve beef cooking efficiency.
附图说明Description of drawings
图1为本发明所述一种瓶装牛肉酱生产过程中牛肉熟化装置示意图。FIG. 1 is a schematic diagram of a beef curing device in the production process of bottled beef sauce according to the present invention.
图2为本发明所述不完全斜齿轮一与斜齿轮二啮合示意图。FIG. 2 is a schematic diagram of the meshing of the first and second helical gears of the incomplete helical gear according to the present invention.
图3为本发明所述传送带俯视图。FIG. 3 is a top view of the conveyor belt according to the present invention.
图4为本发明所述刮料安装板剖视图。4 is a cross-sectional view of the scraper mounting plate according to the present invention.
图5为本发明所述搅拌机构示意图。FIG. 5 is a schematic diagram of the stirring mechanism according to the present invention.
图6为本发明所述图5中A处局部放大图。FIG. 6 is a partial enlarged view of the part A in FIG. 5 according to the present invention.
图7为本发明所述矩形安装框示意图。FIG. 7 is a schematic diagram of the rectangular mounting frame according to the present invention.
图8为本发明所述浮沫过滤网俯视图。FIG. 8 is a top view of the foam filter according to the present invention.
图9为本发明所述圆形压肉板俯视图。FIG. 9 is a top view of the circular meat press plate according to the present invention.
图10为本发明所述刮料机构示意图。FIG. 10 is a schematic diagram of the scraping mechanism according to the present invention.
图11为本发明所述刮料机构剖视图。11 is a cross-sectional view of the scraping mechanism according to the present invention.
图12为本发明所述夹层锅清洗示意图。Figure 12 is a schematic diagram of the cleaning of the jacketed pot according to the present invention.
图中:1、安装底座;2、翻转安装座;3、夹层锅;4、搅拌安装座;5、搅拌连接架;6、固定端轴一;7、固定端轴二;8、液压油缸;9、搅拌电机;10、搅拌轴;11、锅盖;12、滑槽;13、空心连接杆;14、矩形安装框;15、浮沫过滤网;16、n型安装架;17、滑动杆;18、拉动把手;19、固定块;20、弹簧一;21、浮球;22、圆形压肉板;23、圆形通孔;24、搅拌叶片;25、翻转轴;26、蜗轮;27、电机底座;28、步进电机;29、蜗杆;30、转动杆;31、不完全斜齿轮一;32、刮料安装座;33、传动杆;34、斜齿轮二;35、刮料杆;36、电动推杆;37、刮料安装板;38、限位凹槽;39、滑动刮板;40、限位板;41、弹簧二;42、矩形输送凹槽;43、皮带输送机;44、驱动电机;45、条形孔;46、清洗管道;47、清洗头;48、污水收集内腔;49、锅嘴;50、连接杆;51、滑块;52、固定槽;53、啮合齿;54、啮合条;55、传送带;56、放置凹槽;57、收集盆;58、排污口。In the figure: 1. Mounting base; 2. Flip mounting seat; 3. Jacketed pot; 4. Stirring mounting seat; 5. Stirring connecting frame; 6. Fixed end shaft 1; 7. Fixed
具体实施方式Detailed ways
下面结合附图对本发明进行具体描述,如图1-12所示:一种瓶装牛肉酱生产过程中牛肉熟化装置,包括安装底座1和固定安装在安装底座1上一组相对的翻转安装座2,所述翻转安装座2上活动安装有夹层锅3,夹层锅3上设有搅拌机构,所述夹层锅3一侧设有刮料机构;The present invention will be specifically described below in conjunction with the accompanying drawings, as shown in Figures 1-12: a beef cooking device in the production process of bottled beef sauce, comprising a mounting base 1 and a set of opposite
搅拌机构包括搅拌安装座4、搅拌连接架5、固定端轴一6、固定端轴二7、液压油缸8、搅拌电机9、搅拌轴10、锅盖11、一组相对的滑槽12、空心连接杆13、矩形安装框14、浮沫过滤网15、n型安装架16、滑动杆17、拉动把手18、固定块19、弹簧一20、浮球21、圆形压肉板22、若干个圆形通孔23以及搅拌叶片24,所述搅拌安装座4安装在安装底座1上表面后端,所述搅拌连接架5活动铰接在搅拌安装座4上端,且呈倒L型,所述固定端轴一6位于在搅拌安装座4一侧,所述固定端轴二7安装在搅拌连接架5底部一侧,所述液压油缸8一端与固定端轴一6活动铰接,且另一端与固定端轴二7活动铰接,所述搅拌电机9安装在搅拌连接架5底部,且旋转端竖直朝下,所述搅拌轴10安装在搅拌电机9旋转端上,所述锅盖11安装在搅拌轴10上端,一组相对的滑槽12开在搅拌轴10上端两侧,所述空心连接杆13后端活动安装在滑槽12内,所述矩形安装框14安装在空心杆13前端,所述浮沫过滤网15安装在矩形安装框14内,且为可拆卸结构,所述n型安装架16安装在矩形安装框14上,所述滑动杆17活动插装在n型安装架16上,所述拉动把手18安装在滑动杆17上端,所述固定块19安装在滑动杆17上,所述弹簧一20套装在滑动杆17上,且底部与固定块19连接,所述浮球21安装在矩形安装框14一侧,所述圆形压肉板22安装在搅拌轴10上,且位于矩形安装框14下方,若干个圆形通孔23均匀开在圆形压肉板22上,所述搅拌叶片24安装在搅拌轴10底部;The stirring mechanism includes a stirring mounting base 4, a stirring connecting
刮料机构包括一组相对的翻转轴25、蜗轮26、电机底座27、步进电机28、蜗杆29、转动杆30、不完全斜齿轮一31、刮料安装座32、传动杆33、斜齿轮二34、刮料杆35、电动推杆36、刮料安装板37、限位凹槽38、滑动刮板39、限位板40、弹簧二41、矩形输送凹槽42、皮带输送机43、驱动电机44、若干个条形孔45、清洗管道46、若干个清洗头47以及污水收集内腔48,一组相对的翻转轴25分别活动安装在一组相对的翻转安装座2内侧,且其中一根翻转轴25前端伸出翻转安装座2,所述蜗轮26安装在伸出翻转安装座2的翻转轴25前端,所述电机底座27安装在翻转安装座2一侧,所述步进电机28水平安装在安装底座27上,所述蜗杆29安装在步进电机28旋转端上,且与蜗轮26互相啮合,所述转动杆30安装在蜗杆28前端,所述不完全斜齿轮一31安装在转动杆30前端,所述刮料安装座32安装在安装底座1上表面前端,所述传动杆33横向安装在刮料安装座32上,所述斜齿轮二34安装在传动杆33一侧,且与不完全斜齿轮一31互相啮合,所述刮料杆35固定安装在传动杆33上,所述电动推杆36安装在刮料杆35前端,所述刮料安装板37安装在电动推杆36伸缩端上,且呈弧形,所述限位凹槽38开在刮料安装板37内,所述滑动刮板39活动安装在限位凹槽38内,所述限位板40安装在滑动刮板39上端,所述弹簧二41套装在滑动刮板39上端,且与限位板40连接,所述矩形输送凹槽42开在安装底座1上,且位于一组相对的翻转安装座2和刮料安装座32之间,所述皮带输送机43安装在矩形输送凹槽42内,所述驱动电机44安装在皮带输送机43一侧,若干个条形孔45横向开在安装底座1上,且与夹层锅3底部相对应,所述清洗管道46安装在条形孔45内,若干个清洗头47均匀安装在清洗管道46上,所述污水收集内腔48开在安装底座1内,且与条形孔45连通。The scraping mechanism includes a set of opposite turning shafts 25, worm gear 26, motor base 27, stepping motor 28, worm 29, rotating rod 30, incomplete helical gear 1 31, scraping mounting seat 32, transmission rod 33, helical gear Two 34, scraper rod 35, electric push rod 36, scraper installation plate 37, limit groove 38, sliding scraper 39, limit plate 40, spring two 41, rectangular conveying groove 42, belt conveyor 43, The drive motor 44, several strip holes 45, cleaning pipes 46, several cleaning heads 47 and sewage collection cavity 48, a set of opposite turning shafts 25 are respectively movably installed on the inner side of a set of opposite turning mounting seats 2, and wherein The front end of a flipping shaft 25 protrudes from the flipping mounting seat 2, the worm gear 26 is installed at the front end of the flipping shaft 25 extending out of the flipping mounting seat 2, the motor base 27 is installed on the side of the flipping mounting seat 2, and the stepping motor 28 is horizontally installed on the mounting base 27, the worm 29 is installed on the rotating end of the stepper motor 28, and meshes with the worm wheel 26, the rotating rod 30 is installed at the front end of the worm 28, and the incomplete helical gear-31 is installed At the front end of the rotating rod 30 , the scraper mounting seat 32 is mounted on the front end of the upper surface of the mounting base 1 , the transmission rod 33 is laterally mounted on the scraper mounting seat 32 , and the second helical gear 34 is mounted on one side of the transmission rod 33 , and meshes with the incomplete helical gear 1 31, the scraper rod 35 is fixedly installed on the transmission rod 33, the electric push rod 36 is installed at the front end of the scraper rod 35, and the scraper mounting plate 37 is installed on the electric The push rod 36 is on the telescopic end and is arc-shaped, the limiting groove 38 is opened in the scraper mounting plate 37, the sliding scraper 39 is movably installed in the limiting groove 38, and the limiting plate 40 Installed on the upper end of the sliding scraper 39, the second spring 41 is sleeved on the upper end of the sliding scraper 39, and is connected with the limit plate 40, the rectangular conveying groove 42 is opened on the mounting base 1, and is located in a set of opposite turning Between the mounting seat 2 and the scraping mounting seat 32, the belt conveyor 43 is installed in the rectangular conveying groove 42, the drive motor 44 is installed on one side of the belt conveyor 43, and a number of strip holes 45 are laterally opened at the side of the belt conveyor 43. Installed on the base 1 and corresponding to the bottom of the jacketed pot 3, the cleaning
所述夹层锅3上端一侧设有锅嘴49。A
所述搅拌连接架5底部两侧安装有一组相对的连接杆50,连接杆50底部与锅盖11连接。A set of opposite connecting
所述空心连接杆13后端通过滑块51滑动安装在滑槽12内。The rear end of the hollow connecting
所述浮沫过滤网15的数量为两个,大小相同,且位置互相交错。The number of the foam filters 15 is two, the size is the same, and the positions are staggered.
所述矩形安装框14和浮沫过滤网15上开有相对应的固定槽52,滑动杆17底部活动插装在固定槽52内。The
所述不完全斜齿轮一31由啮合齿53和啮合条54共同构成。The incomplete helical gear 1 31 is composed of meshing
所述皮带输送机43内安装有传送带55,传送带55上均匀开有若干个放置凹槽56,放置凹槽56上方放置有收集盆57。A
所述清洗管道46与外部水管连通。The cleaning
所述污水收集内腔48一侧开有排污口58。A sewage outlet 58 is opened on one side of the sewage collection cavity 48 .
本实施方案的工作原理:该装置所使用的用电设备由外接的控制器进行控制,该夹层锅3采用蒸汽进行加热,清洗管道46与外部水管连通,夹层锅3不使用时,锅盖11覆盖在夹层锅3上,如图1所示,可以有效防止灰尘进入夹层锅3内,使用时,使用者首先打开液压油缸8开关,液压油缸8一端与固定端轴一6活动铰接,且另一端与固定端轴二7活动铰接,搅拌连接架5活动铰接在搅拌安装座4上端,液压油缸8收缩,带动锅盖11打开,使用者将需要熟化的牛肉、水和调料依次加入夹层锅3内;The working principle of this embodiment: the electrical equipment used in the device is controlled by an external controller, the jacketed pot 3 is heated by steam, the cleaning
搅拌时:物料放置好之后,液压油缸8伸展,带动锅盖11覆盖在夹层锅3上,可减少牛肉蒸煮时热量的流失,搅拌电机9开始工作,带动旋转端上的搅拌轴10缓慢转动,一组相对的滑槽12开在搅拌轴10上端两侧,空心连接杆13后端通过滑块51活动安装在滑槽12内,如图6所示,矩形安装框14安装在空心杆13前端,浮沫过滤网15安装在矩形安装框14内,且为可拆卸结构,浮沫过滤网15的数量为两个,大小相同,且位置互相交错,如图8所示,搅拌轴10带动一组浮沫过滤网15进行转动,浮沫过滤网15对牛肉熟化时产生的浮沫进行清理,浮球21安装在矩形安装框14一侧,浮球21可使矩形安装框14内的浮沫过滤网15始终位于夹层锅3液面处,圆形压肉板22通过紧固轴承安装在搅拌轴10上,且位于矩形安装框14下方,若干个圆形通孔23均匀开在圆形压肉板22上,如图9所示,圆形压肉板22可对夹层锅3内的牛肉进行压料,防止蒸煮时,牛肉漂浮在水面上,造成牛肉熟化不彻底,搅拌叶片24安装在搅拌轴10底部,搅拌叶片24可对夹层锅3内的牛肉进行缓慢搅动,提高牛肉熟化效果,当需要清理浮沫过滤网15内的杂质时,使用者拉动拉动把手18,n型安装架16安装在矩形安装框14上,滑动杆17活动插装在n型安装架16上,固定块19安装在滑动杆17上,弹簧一20套装在滑动杆17上,且底部与固定块19连接,矩形安装框14和浮沫过滤网15上开有相对应的固定槽52,滑动杆17底部活动插装在固定槽52内,如图7所示,使用者拉动拉动把手18时,弹簧一20受力压缩,滑动杆17底部滑出浮沫过滤网15的固定槽52内,将浮沫过滤网15取出,并清理浮沫过滤网15内的杂质,通过位于夹层锅3上的搅拌机构可有效对夹层锅3内的牛肉进行搅拌,圆形压肉板22可对蒸煮的牛肉进行压料,防止牛肉熟化不彻底,浮沫过滤网15可过滤牛肉熟化时产生的浮沫,且浮沫过滤网15为可拆卸结构,便于对浮沫过滤网15内的杂质进行清理;During stirring: After the material is placed, the
刮料时:夹层锅3内的牛肉蒸煮好之后,液压油缸8带动带动锅盖11打开,然后步进电机28开始工作,步进电机28带动旋转端上的蜗杆29开始转动,蜗杆29与蜗轮26互相啮合,且蜗轮26安装在伸出翻转安装座2的翻转轴25前端,翻转轴25与夹层锅3固定连接,翻转轴25带动夹层锅3进行翻转,夹层锅3上端一侧设有锅嘴49,矩形输送凹槽42开在安装底座1上,且位于一组相对的翻转安装座2和刮料安装座32之间,皮带输送机43安装在矩形输送凹槽42内,驱动电机44安装在皮带输送机43一侧,皮带输送机43内安装有传送带55,传送带55上均匀开有若干个放置凹槽56,放置凹槽56上方放置有收集盆57,夹层锅3内熟化后的牛肉和汤汁通过锅嘴49倒入收集盆57内,转动杆30安装在蜗杆28前端,不完全斜齿轮一31安装在转动杆30前端,刮料安装座32安装在安装底座1上表面前端,传动杆33横向安装在刮料安装座32上,斜齿轮二34安装在传动杆33一侧,且与不完全斜齿轮一31互相啮合,夹层锅3转动的同时,转动杆30带动传动杆33进行缓慢转动,刮料杆35固定安装在传动杆33上,电动推杆36安装在刮料杆35前端,刮料安装板37安装在电动推杆36伸缩端上,且呈弧形,夹层锅3倒料时,刮料安装板37转动到夹层锅3内底部,对夹层锅3内残留的牛肉和汤汁进行自动刮料,限位凹槽38开在刮料安装板37内,滑动刮板39活动安装在限位凹槽38内,限位板40安装在滑动刮板39上端,弹簧二41套装在滑动刮板39上端,且与限位板40连接,如图4所示,滑动刮板39底部紧贴在夹层锅3内底部,电动推杆36收缩,带动滑动刮板39向后运动,弹簧二41受力拉伸,可将夹层锅3内残留的牛肉和汤汁刮入收集盆57内,刮料完成后,传送带55将收集盆57输送至下一工序,步进电机28继续转动,带动夹层锅3进行继续翻转,不完全斜齿轮一31由啮合齿53和啮合条54共同构成,如图2所示,此时啮合条54与斜齿轮二34互相啮合,斜齿轮二34不发生转动,若干个条形孔45横向开在安装底座1上,且与夹层锅3底部相对应,清洗管道46安装在条形孔45内,若干个清洗头47均匀安装在清洗管道46上,清洗头47可对夹层锅3进行自动清洗,污水收集内腔48开在安装底座1内,且与条形孔45连通,清洗后的污水流入污水收集内腔48内,如图12所示,夹层锅3清洗完成之后,步进电机28反向转动,带动夹层锅3和刮料杆35复位,刮料机构可在夹层锅3倒料后,对锅内残留的牛肉汤汁进行自动刮料,减少人工刮料劳动力,清洗头47可对夹层锅3进行自动清洗,传送带22可将熟化后的牛肉输送至下一生产线,有效提高牛肉熟化效率。When scraping: after the beef in the jacketed pot 3 is cooked, the
上述技术方案仅体现了本发明技术方案的优选技术方案,本技术领域的技术人员对其中某些部分所可能做出的一些变动均体现了本发明的原理,属于本发明的保护范围之内。The above technical solutions only represent the preferred technical solutions of the technical solutions of the present invention, and some changes that those skilled in the art may make to some parts of them all reflect the principles of the present invention and fall within the protection scope of the present invention.
Claims (10)
Priority Applications (1)
| Application Number | Priority Date | Filing Date | Title |
|---|---|---|---|
| CN202010685586.5A CN111789212A (en) | 2020-07-16 | 2020-07-16 | A beef curing device in the production process of bottled beef sauce |
Applications Claiming Priority (1)
| Application Number | Priority Date | Filing Date | Title |
|---|---|---|---|
| CN202010685586.5A CN111789212A (en) | 2020-07-16 | 2020-07-16 | A beef curing device in the production process of bottled beef sauce |
Publications (1)
| Publication Number | Publication Date |
|---|---|
| CN111789212A true CN111789212A (en) | 2020-10-20 |
Family
ID=72807377
Family Applications (1)
| Application Number | Title | Priority Date | Filing Date |
|---|---|---|---|
| CN202010685586.5A Pending CN111789212A (en) | 2020-07-16 | 2020-07-16 | A beef curing device in the production process of bottled beef sauce |
Country Status (1)
| Country | Link |
|---|---|
| CN (1) | CN111789212A (en) |
Cited By (4)
| Publication number | Priority date | Publication date | Assignee | Title |
|---|---|---|---|---|
| CN112353232A (en) * | 2020-11-10 | 2021-02-12 | 浙江吉特工贸有限公司 | Chafing dish pan convenient to handle floater |
| CN112426031A (en) * | 2020-10-28 | 2021-03-02 | 吉林农业大学 | Equipment for pretreating fresh sliced meat by ultrasonic-assisted heating and chafing dish rinsing method |
| CN113475698A (en) * | 2021-06-04 | 2021-10-08 | 戴磊 | Hotpot condiment frying machine and method |
| CN114831272A (en) * | 2022-04-27 | 2022-08-02 | 安徽腾翔食品有限公司 | Automatic marinating and boiling equipment for meat product processing |
Citations (4)
| Publication number | Priority date | Publication date | Assignee | Title |
|---|---|---|---|---|
| CN205338565U (en) * | 2015-12-13 | 2016-06-29 | 潘海勇 | Intermediate layer pot for food processing |
| CN109420652A (en) * | 2017-08-21 | 2019-03-05 | 宿迁市项王食品有限公司 | A kind of cleaning device for haw jelly production jacketed pan |
| CN210492467U (en) * | 2019-08-09 | 2020-05-12 | 银川伊百盛生物工程有限公司 | Bone cooking kettle capable of automatically removing oil and foam |
| CN212574052U (en) * | 2020-07-16 | 2021-02-23 | 河北世轩科技有限公司 | A beef curing device in the production process of bottled beef sauce |
-
2020
- 2020-07-16 CN CN202010685586.5A patent/CN111789212A/en active Pending
Patent Citations (4)
| Publication number | Priority date | Publication date | Assignee | Title |
|---|---|---|---|---|
| CN205338565U (en) * | 2015-12-13 | 2016-06-29 | 潘海勇 | Intermediate layer pot for food processing |
| CN109420652A (en) * | 2017-08-21 | 2019-03-05 | 宿迁市项王食品有限公司 | A kind of cleaning device for haw jelly production jacketed pan |
| CN210492467U (en) * | 2019-08-09 | 2020-05-12 | 银川伊百盛生物工程有限公司 | Bone cooking kettle capable of automatically removing oil and foam |
| CN212574052U (en) * | 2020-07-16 | 2021-02-23 | 河北世轩科技有限公司 | A beef curing device in the production process of bottled beef sauce |
Cited By (4)
| Publication number | Priority date | Publication date | Assignee | Title |
|---|---|---|---|---|
| CN112426031A (en) * | 2020-10-28 | 2021-03-02 | 吉林农业大学 | Equipment for pretreating fresh sliced meat by ultrasonic-assisted heating and chafing dish rinsing method |
| CN112353232A (en) * | 2020-11-10 | 2021-02-12 | 浙江吉特工贸有限公司 | Chafing dish pan convenient to handle floater |
| CN113475698A (en) * | 2021-06-04 | 2021-10-08 | 戴磊 | Hotpot condiment frying machine and method |
| CN114831272A (en) * | 2022-04-27 | 2022-08-02 | 安徽腾翔食品有限公司 | Automatic marinating and boiling equipment for meat product processing |
Similar Documents
| Publication | Publication Date | Title |
|---|---|---|
| CN111789212A (en) | A beef curing device in the production process of bottled beef sauce | |
| CN111802625A (en) | Self-turning frying pan in production process of bottled beef paste | |
| CN215838496U (en) | A toast equipment for chinese style cake preparation | |
| CN212574052U (en) | A beef curing device in the production process of bottled beef sauce | |
| CN111820437A (en) | Automatic stir-fry device that turns over of chinese chestnut for food processing | |
| CN216438409U (en) | Dough kneading device for noodle processing | |
| CN212574070U (en) | A self-turning frying pan in the production process of bottled beef sauce | |
| CN211130621U (en) | Lemon juicing and discharging system structure | |
| CN112263159B (en) | Quick preparation machine of egg cake | |
| CN220824151U (en) | Automatic lifting noodle boiling machine | |
| CN221653505U (en) | Frying device convenient to filter | |
| CN222982918U (en) | Continuous peanut kernel frying device | |
| CN113796395A (en) | Quick cleaning equipment of mould for cake production | |
| CN217288717U (en) | A kind of household portable meat puree processing equipment | |
| CN217038633U (en) | Dough kneading device for noodle processing | |
| CN222236657U (en) | Low-temperature pre-boiling device for plum slices | |
| CN220968306U (en) | Slag removal equipment for rice crust processing | |
| CN217722610U (en) | Anti-pollution noodle discharging device of instant noodle making and selling machine | |
| CN223082381U (en) | Slag removing device for rice crust processing | |
| CN220862197U (en) | Traditional chinese medicine decoction piece raw materials cleaning equipment | |
| CN223543047U (en) | A multi-functional soybean product processing equipment | |
| CN215077685U (en) | A self-cleaning barbecue grill | |
| CN218105562U (en) | Cooking machine | |
| CN220916380U (en) | Cake pressing machine for roast duck rolled cakes | |
| CN221715103U (en) | A raw material cleaning device for seasoning |
Legal Events
| Date | Code | Title | Description |
|---|---|---|---|
| PB01 | Publication | ||
| PB01 | Publication | ||
| SE01 | Entry into force of request for substantive examination | ||
| SE01 | Entry into force of request for substantive examination | ||
| RJ01 | Rejection of invention patent application after publication | ||
| RJ01 | Rejection of invention patent application after publication |
Application publication date: 20201020 |
