CN111780304B - Intelligent heating ventilation air conditioner with water-free humidification function - Google Patents

Intelligent heating ventilation air conditioner with water-free humidification function Download PDF

Info

Publication number
CN111780304B
CN111780304B CN202010726868.5A CN202010726868A CN111780304B CN 111780304 B CN111780304 B CN 111780304B CN 202010726868 A CN202010726868 A CN 202010726868A CN 111780304 B CN111780304 B CN 111780304B
Authority
CN
China
Prior art keywords
sleeve
box body
gear
fixedly installed
rotating shaft
Prior art date
Legal status (The legal status is an assumption and is not a legal conclusion. Google has not performed a legal analysis and makes no representation as to the accuracy of the status listed.)
Expired - Fee Related
Application number
CN202010726868.5A
Other languages
Chinese (zh)
Other versions
CN111780304A (en
Inventor
龙娇
Current Assignee (The listed assignees may be inaccurate. Google has not performed a legal analysis and makes no representation or warranty as to the accuracy of the list.)
Chongqing Industry Polytechnic College
Original Assignee
Chongqing Industry Polytechnic College
Priority date (The priority date is an assumption and is not a legal conclusion. Google has not performed a legal analysis and makes no representation as to the accuracy of the date listed.)
Filing date
Publication date
Application filed by Chongqing Industry Polytechnic College filed Critical Chongqing Industry Polytechnic College
Priority to CN202010726868.5A priority Critical patent/CN111780304B/en
Publication of CN111780304A publication Critical patent/CN111780304A/en
Application granted granted Critical
Publication of CN111780304B publication Critical patent/CN111780304B/en
Expired - Fee Related legal-status Critical Current
Anticipated expiration legal-status Critical

Links

Images

Classifications

    • FMECHANICAL ENGINEERING; LIGHTING; HEATING; WEAPONS; BLASTING
    • F24HEATING; RANGES; VENTILATING
    • F24FAIR-CONDITIONING; AIR-HUMIDIFICATION; VENTILATION; USE OF AIR CURRENTS FOR SCREENING
    • F24F5/00Air-conditioning systems or apparatus not covered by F24F1/00 or F24F3/00, e.g. using solar heat or combined with household units such as an oven or water heater
    • F24F5/0003Exclusively-fluid systems
    • BPERFORMING OPERATIONS; TRANSPORTING
    • B01PHYSICAL OR CHEMICAL PROCESSES OR APPARATUS IN GENERAL
    • B01DSEPARATION
    • B01D46/00Filters or filtering processes specially modified for separating dispersed particles from gases or vapours
    • B01D46/0027Filters or filtering processes specially modified for separating dispersed particles from gases or vapours with additional separating or treating functions
    • B01D46/0036Filters or filtering processes specially modified for separating dispersed particles from gases or vapours with additional separating or treating functions by adsorption or absorption
    • BPERFORMING OPERATIONS; TRANSPORTING
    • B01PHYSICAL OR CHEMICAL PROCESSES OR APPARATUS IN GENERAL
    • B01DSEPARATION
    • B01D46/00Filters or filtering processes specially modified for separating dispersed particles from gases or vapours
    • B01D46/10Particle separators, e.g. dust precipitators, using filter plates, sheets or pads having plane surfaces
    • BPERFORMING OPERATIONS; TRANSPORTING
    • B01PHYSICAL OR CHEMICAL PROCESSES OR APPARATUS IN GENERAL
    • B01DSEPARATION
    • B01D46/00Filters or filtering processes specially modified for separating dispersed particles from gases or vapours
    • B01D46/66Regeneration of the filtering material or filter elements inside the filter
    • B01D46/68Regeneration of the filtering material or filter elements inside the filter by means acting on the cake side involving movement with regard to the filter elements
    • B01D46/681Regeneration of the filtering material or filter elements inside the filter by means acting on the cake side involving movement with regard to the filter elements by scrapers, brushes or the like
    • FMECHANICAL ENGINEERING; LIGHTING; HEATING; WEAPONS; BLASTING
    • F24HEATING; RANGES; VENTILATING
    • F24FAIR-CONDITIONING; AIR-HUMIDIFICATION; VENTILATION; USE OF AIR CURRENTS FOR SCREENING
    • F24F11/00Control or safety arrangements
    • F24F11/89Arrangement or mounting of control or safety devices
    • FMECHANICAL ENGINEERING; LIGHTING; HEATING; WEAPONS; BLASTING
    • F24HEATING; RANGES; VENTILATING
    • F24FAIR-CONDITIONING; AIR-HUMIDIFICATION; VENTILATION; USE OF AIR CURRENTS FOR SCREENING
    • F24F13/00Details common to, or for air-conditioning, air-humidification, ventilation or use of air currents for screening
    • F24F13/08Air-flow control members, e.g. louvres, grilles, flaps or guide plates
    • FMECHANICAL ENGINEERING; LIGHTING; HEATING; WEAPONS; BLASTING
    • F24HEATING; RANGES; VENTILATING
    • F24FAIR-CONDITIONING; AIR-HUMIDIFICATION; VENTILATION; USE OF AIR CURRENTS FOR SCREENING
    • F24F13/00Details common to, or for air-conditioning, air-humidification, ventilation or use of air currents for screening
    • F24F13/28Arrangement or mounting of filters
    • FMECHANICAL ENGINEERING; LIGHTING; HEATING; WEAPONS; BLASTING
    • F24HEATING; RANGES; VENTILATING
    • F24FAIR-CONDITIONING; AIR-HUMIDIFICATION; VENTILATION; USE OF AIR CURRENTS FOR SCREENING
    • F24F7/00Ventilation
    • F24F7/007Ventilation with forced flow
    • BPERFORMING OPERATIONS; TRANSPORTING
    • B01PHYSICAL OR CHEMICAL PROCESSES OR APPARATUS IN GENERAL
    • B01DSEPARATION
    • B01D2258/00Sources of waste gases
    • B01D2258/06Polluted air
    • FMECHANICAL ENGINEERING; LIGHTING; HEATING; WEAPONS; BLASTING
    • F24HEATING; RANGES; VENTILATING
    • F24FAIR-CONDITIONING; AIR-HUMIDIFICATION; VENTILATION; USE OF AIR CURRENTS FOR SCREENING
    • F24F2110/00Control inputs relating to air properties
    • F24F2110/10Temperature
    • FMECHANICAL ENGINEERING; LIGHTING; HEATING; WEAPONS; BLASTING
    • F24HEATING; RANGES; VENTILATING
    • F24FAIR-CONDITIONING; AIR-HUMIDIFICATION; VENTILATION; USE OF AIR CURRENTS FOR SCREENING
    • F24F2110/00Control inputs relating to air properties
    • F24F2110/50Air quality properties
    • YGENERAL TAGGING OF NEW TECHNOLOGICAL DEVELOPMENTS; GENERAL TAGGING OF CROSS-SECTIONAL TECHNOLOGIES SPANNING OVER SEVERAL SECTIONS OF THE IPC; TECHNICAL SUBJECTS COVERED BY FORMER USPC CROSS-REFERENCE ART COLLECTIONS [XRACs] AND DIGESTS
    • Y02TECHNOLOGIES OR APPLICATIONS FOR MITIGATION OR ADAPTATION AGAINST CLIMATE CHANGE
    • Y02BCLIMATE CHANGE MITIGATION TECHNOLOGIES RELATED TO BUILDINGS, e.g. HOUSING, HOUSE APPLIANCES OR RELATED END-USER APPLICATIONS
    • Y02B30/00Energy efficient heating, ventilation or air conditioning [HVAC]
    • Y02B30/70Efficient control or regulation technologies, e.g. for control of refrigerant flow, motor or heating

Landscapes

  • Engineering & Computer Science (AREA)
  • Chemical & Material Sciences (AREA)
  • Combustion & Propulsion (AREA)
  • Mechanical Engineering (AREA)
  • General Engineering & Computer Science (AREA)
  • Chemical Kinetics & Catalysis (AREA)
  • Life Sciences & Earth Sciences (AREA)
  • Sustainable Development (AREA)
  • Air-Flow Control Members (AREA)

Abstract

一种智能化无水加湿的暖通空调,包括水平的矩形套筒,矩形套筒右端封口,矩形套筒右端面转动安装水平的圆柱形第一套筒,矩形套筒与第一套筒同轴,矩形套筒右端面对应第一套筒的位置处开设第一通孔,矩形套筒内部中心设置水平的隔板,隔板端面与矩形套筒内壁固定连接,第一套筒中心设置水平的圆柱形右端封口的第二套筒。本发明通过第一风扇和第二风扇将室外和室内的空气进行流通,保证了室内空气的质量,且通过过滤网能够有效的阻挡灰尘,能够更加有效的保证室内的空气质量,使用户在居住的过程中,能够更加舒适,且通过第一盒体和第二盒体能够有效的将过滤网上的灰尘收集起来,保证了装置的长久使用,适合大面积推广。

Figure 202010726868

An intelligent waterless humidification HVAC, comprising a horizontal rectangular sleeve, the right end of the rectangular sleeve is sealed, the right end face of the rectangular sleeve is rotated to install a horizontal cylindrical first sleeve, the rectangular sleeve is the same as the first sleeve. The shaft, the right end surface of the rectangular sleeve is provided with a first through hole at the position corresponding to the first sleeve, the inner center of the rectangular sleeve is provided with a horizontal partition, the end surface of the partition is fixedly connected with the inner wall of the rectangular sleeve, and the center of the first sleeve is provided A second sleeve with a horizontal cylindrical right end closure. The present invention circulates the outdoor and indoor air through the first fan and the second fan, which ensures the quality of the indoor air, and can effectively block the dust through the filter screen, which can more effectively ensure the indoor air quality, so that the user can live in the living room. In the process of installation, it can be more comfortable, and the dust on the filter net can be effectively collected through the first box body and the second box body, which ensures the long-term use of the device and is suitable for large-scale promotion.

Figure 202010726868

Description

Intelligent heating ventilation air conditioner with water-free humidification function
Technical Field
The invention belongs to the field of heating ventilation air conditioners, and particularly relates to an intelligent heating ventilation air conditioner without water humidification.
Background
The hvac system is an air conditioner having heating, ventilating and air conditioning functions. At present, along with the improvement of the living standard of people, the requirements of more users on the air quality are improved, but a plurality of air conditioners have the function of adjusting the indoor temperature at present, but the traditional air conditioner is difficult to circulate the indoor air and the outside air, so that the indoor air quality is worse and worse, and the heating ventilation air conditioner which can effectively circulate the indoor air and the outdoor air under the condition of adjusting the indoor temperature is provided.
Disclosure of Invention
The invention provides an intelligent heating ventilation air conditioner without water humidification, which is used for overcoming the defects in the prior art.
The invention is realized by the following technical scheme:
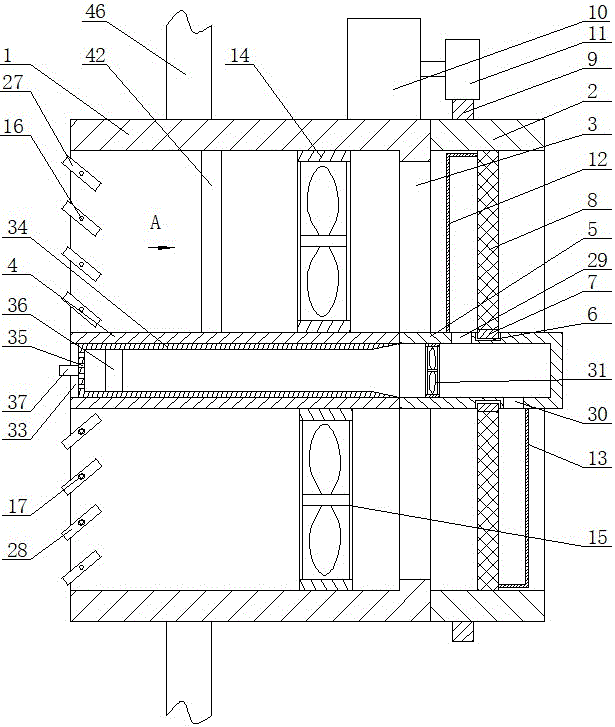
an intelligent heating and ventilation air conditioner without water humidification comprises a horizontal rectangular sleeve, the right end of the rectangular sleeve is sealed, the right end face of the rectangular sleeve is rotatably provided with a horizontal cylindrical first sleeve, the rectangular sleeve is coaxial with the first sleeve, a first through hole is formed in the position, corresponding to the first sleeve, of the right end face of the rectangular sleeve, a horizontal partition plate is arranged at the center inside the rectangular sleeve, the end face of the partition plate is fixedly connected with the inner wall of the rectangular sleeve, the center of the first sleeve is provided with a horizontal cylindrical second sleeve with the right end sealed, the left end face of the second sleeve is fixedly connected with the right end face of the partition plate, the side face of the second sleeve is provided with a vertical annular groove, a vertical ring is arranged in the annular groove through a bearing, an annular filter screen is fixedly arranged between the outer side face of the ring and the inner side face of the first sleeve, a toothed ring is fixedly arranged on the outer side, a first gear is sleeved on the output shaft of the motor, the first gear is meshed with the gear ring, a vertical first box body is arranged at the position of the top surface of the second sleeve, which is positioned at the left side of the filter screen, the bottom surface of the first box body is fixedly connected with the top surface of the second sleeve, the bottom surface and the right side surface of the first box body are open, the position of the right side surface of the first box body, which is close to the front end, is in contact fit with the left side surface of the filter screen, a certain gap is formed between the right side surface of the first box body and the filter screen, a vertical second box body is arranged at the position of the bottom surface of the second sleeve, which is positioned at the right side of the filter screen, the top surface of the second box body is fixedly connected with the bottom surface of the second sleeve, the top surface and the left side surface of the second box body are open, the position of the left side surface of the second box body, which is close to the front end, is in, the top surface of the partition board is fixedly provided with a first fan, the bottom surface of the partition board is fixedly provided with a second fan, the first fan and the second fan are both provided with power, the top surface of the partition board is positioned at the left side of the first fan and is provided with a temperature adjusting device which can play the roles of cooling and heating, a plurality of first rotating shafts in the front-back direction are arranged at the upper part of the partition board close to the left end in the rectangular sleeve, the first rotating shafts are sequentially arranged up and down, a plurality of second rotating shafts in the front-back direction are arranged at the lower part of the partition board close to the left end in the rectangular sleeve, the second rotating shafts are sequentially arranged up and down, the positions of the rear side surface of the rectangular sleeve corresponding to the first rotating shafts and the second rotating shafts are provided with first cavities, the positions of the inner walls of the first cavities corresponding to the first rotating shafts and the second rotating shafts are provided with second through holes, one ends of the first rotating shafts and the second rotating shafts are connected with, a second gear is sleeved at one end of the first rotating shaft extending into the first cavity, a third gear is sleeved at one end of the second rotating shaft extending into the first cavity, a vertical first rack is arranged at the position of the first cavity corresponding to the second gear, the second gear is meshed with the first rack, a vertical second rack is arranged at the position of the first cavity corresponding to the third gear, the third gear is meshed with the second rack, a fourth gear is arranged at one end of the first rack adjacent to the second rack, the first rack and the second rack are meshed with the fourth gear, a rotating shaft of the fourth gear is connected with the inner wall of the first cavity, the fourth gear is driven by a motor, vertical guide rails are arranged at the positions of the inner wall of the first cavity corresponding to the first rack and the second rack, sliding blocks are arranged on the guide rails and fixedly connected with the corresponding racks, and first wind shields are fixedly arranged at the positions of the side surfaces of the first rotating shaft corresponding to the rectangular sleeve, and second wind baffles are fixedly arranged at the positions of the side surfaces of the second rotating shafts corresponding to the rectangular sleeves.
The intelligent heating and ventilation air conditioner with no water humidification comprises a dust collecting device and a dust collecting device, wherein the side surface of the second sleeve is provided with a third through hole corresponding to the position of a first box body, the outer end of the third through hole is fixedly connected with the bottom end of the first box body, the side surface of the second sleeve is provided with a fourth through hole corresponding to the position of a second box body, the outer end of the fourth through hole is fixedly connected with the top end of the second box body, a third fan is fixedly arranged in the second sleeve and positioned on the left side of the third through hole, the third fan is provided with power, the right side surface of a partition board is provided with a fifth through hole corresponding to the position of the second sleeve, the fifth through hole is internally inserted and matched with a third sleeve, the left end of the third sleeve is sealed, the left end surface of the third sleeve is provided with a plurality of sixth through holes, a sponge is arranged in the third sleeve, the left end of the third sleeve is fixedly arranged, and then, the expansion end of the first electric telescopic rod faces the right, the expansion end of the first electric telescopic rod is fixedly provided with a vertical first baffle, the front side face of the second box body is fixedly provided with a horizontal second electric telescopic rod, the expansion end of the second electric telescopic rod faces the left, and the expansion end of the second electric telescopic rod is fixedly provided with a vertical second baffle.
As for the intelligent heating and ventilation air conditioner with the water-free humidification function, the left side surface inside the first box body and the right side surface inside the second box body are concave surfaces.
As above a warm logical air conditioner of intelligent anhydrous humidification, temperature regulation apparatus include the baffle, the baffle top surface is located the heat pipe of the left side fixed mounting S type of first fan, be full of liquid in the heat pipe, the heat pipe both ends respectively with the water inlet and the delivery port fixed sealing connection of water pump, the water pump can drive the liquid flow in the heat pipe, the heat pipe outside sets up heat sink and heating device, the heat pipe has the heat conductivity, heating device and heat sink can heat respectively and cool down to the liquid in the heat pipe.
The invention has the advantages that: the device can be embedded on a wall, the left end of the rectangular sleeve is aligned indoors during installation, the right end of the first sleeve is aligned outdoors, so that indoor and outdoor air can be effectively circulated, the indoor air quality is ensured, when the device is used specifically, the first fan and the second fan are opened, the first fan drives air flow to move from right to left, the second fan drives air flow to move from left to right, meanwhile, the fourth gear rotates under the action of the motor, the second gear and the third gear rotate under the action of the first rack and the second rack, the rotation directions of the second gear and the third gear are opposite, the rotation directions of the first rotating shaft and the second rotating shaft are also opposite, the rotation directions of the first wind shield and the second wind shield are opposite under the action of the first rotating shaft and the second rotating shaft, and after outdoor air passes through the first wind shield under the action of the first fan, the air current flows obliquely upwards to blow into the room, under the action of the second fan, the air at the lower end of the room can be sucked out, so that the indoor air and the outdoor air can be well driven to circulate, under the action of the temperature adjusting device, the temperature can be increased or reduced according to specific conditions, after the air current passes through the temperature adjusting device, the temperature can be synchronously increased and reduced, so that the indoor temperature can be changed, a user can feel more comfortable when living, when the air current is sucked into the room from the outside, the air current passes through the filter screen, the filter screen can effectively block some outdoor dust, the external dust is prevented from being sucked into a human body, when the indoor air is sucked out, the air current can also play a role of filtering the dust through the filter screen, the dust can be effectively prevented from being diffused into the air, the atmospheric environment is effectively protected, the air can be used for a long time, a layer of, wherein, the dust is mainly concentrated at the upper right end and the lower left end of the filter screen, the motor is turned on at the moment, the first sleeve is driven to rotate around the axis by the first gear and the toothed ring, the first sleeve rotates to drive the filter screen to rotate anticlockwise when viewed from right to left, the dust on the filter screen can be effectively scraped at the contact positions of the first box body and the second box body with the filter screen, when the filter screen rotates, the dust at the lower left end of the filter screen can be effectively scraped by the first box body, the dust can be more conveniently scraped by the first box body when the airflow blows from right to left, the dust at the upper right end of the filter screen can be effectively scraped by the second box body similarly, the airflow blows from left to right, the dust can be more conveniently scraped by the second box body when the airflow blows, the dust can be effectively brought into the dust collecting device under the action of the first box body and the second box body, the first box body and the second box body can effectively clean dust on the filter screen, so that the long-term use of the device is ensured; the dust collecting device is simple in structure, low in cost, high in automation degree and convenient to use, outdoor air and indoor air are circulated through the first fan and the second fan, the quality of indoor air is guaranteed, dust can be effectively blocked through the filter screen, the quality of indoor air can be more effectively guaranteed, a user can feel more comfortable in the living process, the dust on the filter screen can be effectively collected through the first box body and the second box body, the long-term use of the device is guaranteed, and the dust collecting device is suitable for large-area popularization.
Drawings
In order to more clearly illustrate the embodiments of the present invention or the technical solutions in the prior art, the drawings needed to be used in the description of the embodiments or the prior art will be briefly introduced below, and it is obvious that the drawings in the following description are some embodiments of the present invention, and for those skilled in the art, other drawings can be obtained according to these drawings without creative efforts.
FIG. 1 is a schematic structural view of the present invention; FIG. 2 is a view taken along line A of FIG. 1; FIG. 3 is a right side view of FIG. 1; FIG. 4 is a left side view of FIG. 1; FIG. 5 is an enlarged view of the view of FIG. 4 from the direction B; FIG. 6 is a schematic structural view of the first sleeve; FIG. 7 is an enlarged cross-sectional view taken along line C-C of FIG. 6; fig. 8 is an enlarged cross-sectional view taken along line D-D of fig. 6.
Detailed Description
In order to make the objects, technical solutions and advantages of the embodiments of the present invention clearer, the technical solutions in the embodiments of the present invention will be clearly and completely described below with reference to the drawings in the embodiments of the present invention, and it is obvious that the described embodiments are some, but not all, embodiments of the present invention. All other embodiments, which can be derived by a person skilled in the art from the embodiments given herein without making any creative effort, shall fall within the protection scope of the present invention.
An intelligent heating and ventilation air conditioner without water humidification comprises a horizontal rectangular sleeve 1, the right end of the rectangular sleeve 1 is sealed, a horizontal cylindrical first sleeve 2 is rotatably installed on the right end face of the rectangular sleeve 1, the rectangular sleeve 1 is coaxial with the first sleeve 2, a first through hole 3 is formed in the position, corresponding to the first sleeve 2, of the right end face of the rectangular sleeve 1, a horizontal partition plate 4 is arranged in the center of the interior of the rectangular sleeve 1, the end face of the partition plate 4 is fixedly connected with the inner wall of the rectangular sleeve 1, a second sleeve 5 with the horizontal cylindrical right end sealed is arranged in the center of the first sleeve 2, the left end face of the second sleeve 5 is fixedly connected with the right end face of the partition plate 4, a vertical annular groove 6 is formed in the side face of the second sleeve 5, a vertical ring 7 is installed in the annular groove 6 through a bearing, an annular filter screen 8 is fixedly installed between the outer side face of the ring 7 and the inner side face, the gear ring 9 is coaxial with the first sleeve 2, the outer side surface of the rectangular sleeve 1 is fixedly provided with a motor 10, the output shaft of the motor 10 is sleeved with a first gear 11, the first gear 11 is meshed with the gear ring 9, the position of the top surface of the second sleeve 5, which is positioned at the left side of the filter screen 8, is provided with a vertical first box body 12, the bottom surface of the first box body 12 is fixedly connected with the top surface of the second sleeve 5, the bottom surface and the right side surface of the first box body 12 are opened, the right side surface of the first box body 12 is contacted and matched with the left side surface of the filter screen 8 at the position close to the front end, a certain gap is formed between the right side surface of the first box body 12 and the filter screen 8 at the position of the bottom surface of the second sleeve 5, a vertical second box body 13 is arranged at the position of the right side of the filter screen 8, the top surface of the second box body 13 is fixedly connected with the, a certain gap is formed between the left side surface of the second box body 13 close to the front end and the filter screen 8, a dust collecting device is arranged in the second sleeve 5 and can collect dust in the first box body 12 and the second box body 13, a first fan 14 is fixedly arranged on the top surface of the partition plate 4, a second fan 15 is fixedly arranged on the bottom surface of the partition plate 4, the first fan 14 and the second fan 15 both have power, a temperature adjusting device is arranged on the top surface of the partition plate 4 on the left side of the first fan 14 and can play a role in cooling and heating, a plurality of first rotating shafts 16 in the front-back direction are arranged above and below the partition plate 4 in the rectangular sleeve 1 close to the left end, the first rotating shafts 16 are sequentially arranged up and down, a plurality of second rotating shafts 17 in the front-back direction are arranged below the partition plate 4 in the rectangular sleeve 1 close to the left end, and the second rotating shafts 17 are sequentially arranged up, a first cavity 18 is arranged at the position of the rear side surface of the rectangular sleeve 1 corresponding to the first rotating shaft 16 and the second rotating shaft 17, a second through hole 19 is arranged at the position of the inner wall of the first cavity 18 corresponding to the first rotating shaft 16 and the second rotating shaft 17, one end of each of the first rotating shaft 16 and the second rotating shaft 17 is connected with the corresponding second through hole 19 through a bearing, the other end of each of the first rotating shaft 16 and the second rotating shaft 17 is connected with the inner wall of the rectangular sleeve 1 through a bearing, one end of each of the first rotating shaft 16 extending into the first cavity 18 is sleeved with a second gear 20, one end of each of the second rotating shaft 17 extending into the first cavity 18 is sleeved with a third gear 21, a vertical first rack 22 is arranged at the position of the first cavity 18 corresponding to the second gear 20, the second gear 20 is mutually meshed with the first rack 22, a vertical second rack 23 is arranged at the position of the first cavity 18 corresponding to the third gear 21, and the third gear 21 is mutually meshed with the second rack 23, one end of the first rack 22 adjacent to the second rack 23 is provided with a fourth gear 24, the first rack 22 and the second rack 23 are meshed with the fourth gear 24, the rotating shaft of the fourth gear 24 is connected with the inner wall of the first cavity 18, the fourth gear 24 is driven by a motor, the positions of the inner wall of the first cavity 18 corresponding to the first rack 22 and the second rack 23 are provided with vertical guide rails 25, the guide rails 25 are provided with sliders 26, the sliders 26 are fixedly connected with the corresponding racks, the side surface of the first rotating shaft 16 is provided with a first wind shield 27, and the side surface of the second rotating shaft 17 is provided with a second wind shield 28. The device can be inlaid on a wall 46, the left end of the rectangular sleeve is aligned indoors during installation, the right end of the first sleeve is aligned outdoors, so that indoor and outdoor air can be effectively circulated, the indoor air quality is ensured, when the device is used specifically, the first fan 14 and the second fan 15 are opened, at the moment, the first fan 14 drives airflow to move from right to left, the second fan 15 drives airflow to move from left to right, meanwhile, the fourth gear 24 rotates under the action of the motor, the second gear 20 and the third gear 21 are driven to rotate through the first rack 22 and the second rack 23, the rotation directions of the second gear 20 and the third gear 21 are opposite, the rotation directions of the first rotating shaft 16 and the second rotating shaft 17 are also opposite, under the action of the first rotating shaft 16 and the second rotating shaft 17, the rotation directions of the first wind shield 27 and the second wind shield 28 are opposite, under the action of the first fan 14, after the outdoor air can be driven to pass through the first wind shield 27, the air flow flows obliquely upwards to blow into the room, the air at the lower end of the room can be sucked out under the action of the second fan 15, so that the indoor and outdoor air circulation can be well driven, the temperature can be raised or lowered according to specific conditions under the action of the temperature adjusting device, the temperature can be synchronously raised and lowered after the air flow passes through the temperature adjusting device, so that the indoor temperature can be changed, a user can feel more comfortable when living, when the air flow is sucked into the room from the outside, the air flow passes through the filter screen 8, the filter screen 8 can effectively block some outdoor dust, the dust outside is prevented from being sucked by a human body, when the indoor air is sucked out, the air flow also can play a role of filtering the dust through the filter screen 8, and the dust can be effectively prevented from being diffused into the air, the atmospheric environment can be effectively protected, a layer of dust can be accumulated on the filter screen 8 after long-time use, wherein the dust is mainly concentrated at the upper end of the right side and the lower end of the left side of the filter screen, the motor 10 is turned on at the moment, the first sleeve 2 is driven to rotate around the axis by the first gear 11 and the toothed ring 9, the filter screen 8 is driven to rotate by the rotation of the first sleeve 2 in a counterclockwise direction from right to left, the dust on the filter screen 8 can be effectively scraped at the contact position of the first box body 12 and the second box body 13 and the filter screen 8, the first box body 12 can effectively scrape the dust at the lower end of the left side of the filter screen 8 in the rotating process of the filter screen 8, the air flow is blown from right to left at the moment, the dust can be more conveniently scraped by the first box body 12, the dust at the upper end of the right side of the filter screen 8 can be effectively, the second box body 13 can scrape dust more conveniently, the dust can be effectively brought into the dust collecting device under the action of the first box body 12 and the second box body 13 in the blowing process of airflow, and the dust on the filter screen 8 can be effectively cleaned through the first box body 12 and the second box body 13, so that the long-term use of the device is ensured; the dust collecting device is simple in structure, low in cost, high in automation degree and convenient to use, outdoor air and indoor air are circulated through the first fan and the second fan, the quality of indoor air is guaranteed, dust can be effectively blocked through the filter screen, the quality of indoor air can be more effectively guaranteed, a user can feel more comfortable in the living process, the dust on the filter screen can be effectively collected through the first box body and the second box body, the long-term use of the device is guaranteed, and the dust collecting device is suitable for large-area popularization.
Specifically, as shown in the figure, the dust collecting device of the present embodiment includes a second sleeve 5, a third through hole 29 is formed at a position on a side surface of the second sleeve 5 corresponding to the first box 12, an outer end of the third through hole 29 is fixedly connected to a bottom end of the first box 12, a fourth through hole 30 is formed at a position on a side surface of the second sleeve 5 corresponding to the second box 13, an outer end of the fourth through hole 30 is fixedly connected to a top end of the second box 13, a third fan 31 is fixedly installed inside the second sleeve 5 at a left side of the third through hole 29, the third fan 31 is provided with power, a fifth through hole 33 is formed at a position on a right side surface of the partition board 4 corresponding to the second sleeve 5, a third sleeve 34 is inserted and matched into the fifth through hole 33, a left end of the third sleeve 34 is sealed, a plurality of sixth through holes 35 are formed on a left end surface of the third sleeve 34, a sponge 36 is installed inside the third sleeve 34, a rear end of the third sleeve 34 is fixedly installed with a handle 37, a horizontal, the movable end of the first electric telescopic rod 38 faces to the right, the vertical first baffle 39 is fixedly installed at the movable end of the first electric telescopic rod 38, the horizontal second electric telescopic rod 40 is fixedly installed at the front side face of the second box body 13, the movable end of the second electric telescopic rod 40 faces to the left, and the vertical second baffle 41 is fixedly installed at the movable end of the second electric telescopic rod 40. In the design, when the filter screen 8 is scratched through the first box body 12 and the second box body 13, dust can be collected in the first box body 12 and the second box body 13, then the first electric telescopic rod 38 and the second electric telescopic rod 40 are extended to enable the end surfaces of the first baffle 39 and the second baffle 41 to be in contact with the filter screen 8, at this time, the air flow is blown from right to left for the first box body 12, when the air flow is blown into the first box body 12, the air flow enters the second sleeve 5 through the third through hole 29, so under the action of the air flow, the dust in the first box body 12 can be driven to enter the second sleeve 5, similarly, for the second box body 13, the air flow is blown from left to right, when the air flow is blown into the second box body 13, the air flow enters the second sleeve 5 through the fourth through hole 30, so the dust in the second box body 13 can be driven to enter the second sleeve 5 under the action of the air flow, later open third fan 31, make the air current in the second sleeve 5 blow from the right side left, thereby can make the dust get into in the third sleeve 34, can adsorb the dust through sponge 36, after the certain degree is collected to the dust, through take out the third sleeve 34 to the sponge clear up can, this design can be automatically with the dust of scraping off on the filter screen 8 collect, later clear up, can effectively improve device's life, make the more effectual operation of device go down.
Specifically, as shown in the drawings, the left side surface inside the first box 12 and the right side surface inside the second box 13 in the embodiment are concave surfaces. The design can collect dust more conveniently, and the device is more reliable to use.
Further, as shown in the figure, the temperature adjusting device described in this embodiment includes a partition plate 4, the top surface of the partition plate 4 is located on the left side of the first fan 14 and is fixedly installed with an S-shaped heat pipe 42, the heat pipe 42 is filled with liquid, two ends of the heat pipe 42 are respectively fixedly and hermetically connected with the water inlet and the water outlet of the water pump 43, the water pump 43 can drive the liquid in the heat pipe 42 to flow, a cooling device 44 and a heating device 45 are arranged outside the heat pipe 42, the heat pipe 42 has heat conduction capability, and the heating device 45 and the cooling device 44 can respectively heat and cool the liquid in the heat pipe 42. This design can be according to user's needs through heating device 45 and heat sink 44 can heat and cool down the liquid in the heat pipe 42, when the air current blows through heat pipe 42, can heat and cool down the air current, thereby make and blow in indoor air current and have certain temperature, when heat sink used simultaneously, there is the comdenstion water to be stained with and attaches on heat pipe 42, when the air current blows, can accelerate the comdenstion water evaporation, thereby can change indoor humidity, this design can make the user treat indoor time more comfortable, improve user experience.
Finally, it should be noted that: the above examples are only intended to illustrate the technical solution of the present invention, but not to limit it; although the present invention has been described in detail with reference to the foregoing embodiments, it will be understood by those of ordinary skill in the art that: the technical solutions described in the foregoing embodiments may still be modified, or some technical features may be equivalently replaced; and such modifications or substitutions do not depart from the spirit and scope of the corresponding technical solutions of the embodiments of the present invention.

Claims (3)

1.一种智能化无水加湿的暖通空调,其特征在于:包括水平的矩形套筒(1),矩形套筒(1)右端封口,矩形套筒(1)右端面转动安装水平的圆柱形第一套筒(2),矩形套筒(1)与第一套筒(2)同轴,矩形套筒(1)右端面对应第一套筒(2)的位置处开设第一通孔(3),矩形套筒(1)内部中心设置水平的隔板(4),隔板(4)端面与矩形套筒(1)内壁固定连接,第一套筒(2)中心设置水平的圆柱形右端封口的第二套筒(5),第二套筒(5)左端面与隔板(4)右端面固定连接,第二套筒(5)侧面开设竖直的环形凹槽(6),环形凹槽(6)内通过轴承安装竖直的圆环(7),圆环(7)外侧面与第一套筒(2)内侧面之间固定安装环形过滤网(8),第一套筒(2)外侧面固定安装齿环(9),齿环(9)与第一套筒(2)同轴,矩形套筒(1)外侧面固定安装电机(10),电机(10)输出轴上套装第一齿轮(11),第一齿轮(11)与齿环(9)相互啮合,第二套筒(5)顶面位于过滤网(8)左侧的位置处设置竖直的第一盒体(12),第一盒体(12)底面与第二套筒(5)顶面固定连接,第一盒体(12)底面和右侧面开口,第一盒体(12)右侧面靠近前端处与过滤网(8)左侧面接触配合,第一盒体(12)右侧面靠近后端处与过滤网(8)之间存在一定间隙,第二套筒(5)底面位于过滤网(8)右侧的位置处设置竖直的第二盒体(13),第二盒体(13)顶面与第二套筒(5)底面固定连接,第二盒体(13)顶面和左侧面开口,第二盒体(13)左侧面靠近后端处与过滤网(8)右侧面接触配合,第二盒体(13)左侧面靠近前端处与过滤网(8)之间存在一定间隙,第二套筒(5)内设置灰尘收集装置,灰尘收集装置能够将第一盒体(12)和第二盒体(13)内的灰尘收集起来,隔板(4)顶面固定安装第一风扇(14),隔板(4)底面固定安装第二风扇(15),第一风扇(14)和第二风扇(15)均自带动力,隔板(4)顶面位于第一风扇(14)的左侧设置温度调节装置,温度调节装置能够起到降温和加热的作用,矩形套筒(1)内部位于隔板(4)上方靠近左端处设置数根前后方向的第一转轴(16),第一转轴(16)之间依次上下排列,矩形套筒(1)内部位于隔板(4)下方靠近左端处设置数根前后方向的第二转轴(17),第二转轴(17)之间依次上下排列,矩形套筒(1)后侧面对应第一转轴(16)和第二转轴(17)的位置处开设第一腔体(18),第一腔体(18)内壁对应第一转轴(16)和第二转轴(17)的位置处开设第二通孔(19),第一转轴(16)和第二转轴(17)一端均与对应的第二通孔(19)通过轴承连接,第一转轴(16)和第二转轴(17)另一端均通过轴承与矩形套筒(1)内壁连接,第一转轴(16)伸入第一腔体(18)的一端均套装第二齿轮(20),第二转轴(17)伸入第一腔体(18)的一端均套装第三齿轮(21),第一腔体(18)对应第二齿轮(20)的位置处设置竖直的第一齿条(22),第二齿轮(20)均与第一齿条(22)相互啮合,第一腔体(18)内对应第三齿轮(21)的位置处设置竖直的第二齿条(23),第三齿轮(21)均与第二齿条(23)相互啮合,第一齿条(22)与第二齿条(23)相邻的一端设置第四齿轮(24),第一齿条(22)和第二齿条(23)均与第四齿轮(24)相互啮合,第四齿轮(24)的转轴与第一腔体(18)内壁连接,第四齿轮(24)通过电机带动,第一腔体(18)内壁对应第一齿条(22)和第二齿条(23)的位置处均设置竖直的导轨(25),导轨(25)上均设置滑块(26),滑块(26)与对应的齿条固定连接,第一转轴(16)侧面位于矩形套筒(1)的位置处均固定安装第一挡风板(27),第二转轴(17)侧面对应矩形套筒(1)的位置处均固定安装第二挡风板(28),所述的灰尘收集装置包括第二套筒(5),第二套筒(5)侧面对应第一盒体(12)的位置处开设第三通孔(29),第三通孔(29)外端与第一盒体(12)底端固定连接,第二套筒(5)侧面对应第二盒体(13)的位置处开设第四通孔(30),第四通孔(30)外端与第二盒体(13)顶端固定连接,第二套筒(5)内部位于第三通孔(29)左侧固定安装第三风扇(31),第三风扇(31)自带动力,隔板(4)右侧面对应第二套筒(5)的位置处开设第五通孔(33),第五通孔(33)内插接配合有第三套筒(34),第三套筒(34)左端封口,第三套筒(34)左端面开设数个第六通孔(35),第三套筒(34)内安装海绵(36),第三套筒(34)左端固定安装把后(37),第一盒体(12)后侧面固定安装水平的第一电动伸缩杆(38),第一电动伸缩杆(38)活动端朝右,第一电动伸缩杆(38)活动端固定安装竖直的第一挡板(39),第二盒体(13)前侧面固定安装水平的第二电动伸缩杆(40),第二电动伸缩杆(40)活动端朝左,第二电动伸缩杆(40)活动端固定安装竖直的第二挡板(41)。1. An intelligent anhydrous humidification HVAC, characterized in that it comprises a horizontal rectangular sleeve (1), the right end of the rectangular sleeve (1) is sealed, and the right end face of the rectangular sleeve (1) is rotated to install a horizontal cylinder The rectangular sleeve (1) is coaxial with the first sleeve (2), and the right end face of the rectangular sleeve (1) is provided with a first channel at the position corresponding to the first sleeve (2). The hole (3), the inner center of the rectangular sleeve (1) is provided with a horizontal partition plate (4), the end face of the partition plate (4) is fixedly connected with the inner wall of the rectangular sleeve (1), and the center of the first sleeve (2) is provided with a horizontal partition plate (4). The second sleeve (5) with the cylindrical right end sealed, the left end surface of the second sleeve (5) is fixedly connected with the right end surface of the partition plate (4), and the side surface of the second sleeve (5) is provided with a vertical annular groove (6) ), a vertical ring (7) is installed in the annular groove (6) through a bearing, and an annular filter (8) is fixedly installed between the outer side of the ring (7) and the inner side of the first sleeve (2). A gear ring (9) is fixedly installed on the outer side of a sleeve (2), the gear ring (9) is coaxial with the first sleeve (2), and a motor (10) is fixedly installed on the outer side of the rectangular sleeve (1), and the motor (10 ) Set the first gear (11) on the output shaft, the first gear (11) and the gear ring (9) are meshed with each other, and the top surface of the second sleeve (5) is located on the left side of the filter screen (8). The bottom surface of the first box body (12) is fixedly connected with the top surface of the second sleeve (5), the bottom surface and right side of the first box body (12) are open, ) The right side near the front end is in contact with the left side of the filter screen (8). There is a certain gap between the right side of the first box body (12) near the rear end and the filter screen (8). The second sleeve ( 5) A vertical second box body (13) is arranged at the position where the bottom surface is located on the right side of the filter screen (8), the top surface of the second box body (13) is fixedly connected with the bottom surface of the second sleeve (5), and the second box body (13) is fixedly connected The top and left sides of the body (13) are open, the left side of the second box body (13) is in contact with the right side of the filter screen (8) near the rear end, and the left side of the second box body (13) is close to the front end There is a certain gap between the filter screen (8) and the second sleeve (5), a dust collection device is arranged in the second sleeve (5), and the dust collection device can collect the dust in the first box body (12) and the second box body (13). The first fan (14) is fixedly installed on the top surface of the partition plate (4), and the second fan (15) is fixedly installed on the bottom surface of the partition plate (4). Both the first fan (14) and the second fan (15) have their own power. , the top surface of the partition plate (4) is located on the left side of the first fan (14), and a temperature adjustment device is provided. The temperature adjustment device can play the role of cooling and heating. The left end is provided with several first rotating shafts (16) in the front-rear direction, and the first rotating shafts (16) are arranged up and down in turn. The second rotating shaft (17), the second rotating shafts (17) are arranged up and down in sequence, and the rear side of the rectangular sleeve (1) is provided with a first rotating shaft (16) and the second rotating shaft (17) at the position A cavity (18), the inner wall of the first cavity (18) is provided with a second through hole (19) at the position corresponding to the first rotating shaft (16) and the second rotating shaft (17), the first rotating shaft (16) and the second rotating shaft (17). One end of the rotating shaft (17) is connected with the corresponding second through hole (19) through a bearing, and the other ends of the first rotating shaft (16) and the second rotating shaft (17) are connected with the inner wall of the rectangular sleeve (1) through a bearing. One end of the shaft (16) extending into the first cavity (18) is fitted with a second gear (20), and one end of the second shaft (17) extending into the first cavity (18) is fitted with a third gear (21), A vertical first rack (22) is arranged at the position of the first cavity (18) corresponding to the second gear (20), the second gears (20) are meshed with the first rack (22), and the first cavity A vertical second rack (23) is arranged in the body (18) at a position corresponding to the third gear (21), the third gear (21) is meshed with the second rack (23), and the first rack ( 22) A fourth gear (24) is provided at the end adjacent to the second rack (23), and both the first rack (22) and the second rack (23) mesh with the fourth gear (24), and the fourth The rotating shaft of the gear (24) is connected with the inner wall of the first cavity (18), the fourth gear (24) is driven by the motor, and the inner wall of the first cavity (18) corresponds to the first rack (22) and the second rack (23) ) are provided with vertical guide rails (25), the guide rails (25) are provided with sliders (26), the sliders (26) are fixedly connected with the corresponding racks, and the side of the first shaft (16) is located in the rectangular sleeve The first wind deflector (27) is fixedly installed at the position of the cylinder (1), and the second wind deflector (28) is fixedly installed at the position of the side of the second shaft (17) corresponding to the rectangular sleeve (1). The dust collecting device comprises a second sleeve (5), a third through hole (29) is opened on the side of the second sleeve (5) at a position corresponding to the first box body (12), and the outer end of the third through hole (29) It is fixedly connected with the bottom end of the first box body (12), and a fourth through hole (30) is opened on the side of the second sleeve (5) corresponding to the position of the second box body (13), and the outer end of the fourth through hole (30) It is fixedly connected with the top of the second box body (13), and the second sleeve (5) is located on the left side of the third through hole (29), and the third fan (31) is fixedly installed. A fifth through hole (33) is formed on the right side of the plate (4) at a position corresponding to the second sleeve (5), and a third sleeve (34) is inserted and fitted in the fifth through hole (33). The left end of the sleeve (34) is sealed, the left end surface of the third sleeve (34) is provided with several sixth through holes (35), the sponge (36) is installed in the third sleeve (34), and the left end of the third sleeve (34) After the handle (37) is fixedly installed, a horizontal first electric telescopic rod (38) is fixedly installed on the rear side of the first box body (12). ) A vertical first baffle plate (39) is fixedly installed at the movable end, and a horizontal second electric telescopic rod (40) is fixedly installed on the front side of the second box body (13). The movable ends of the two electric telescopic rods (40) face left, and the movable ends of the second electric telescopic rods (40) are fixedly installed with a vertical second baffle plate (41). 2.根据权利要求1所述的一种智能化无水加湿的暖通空调,其特征在于:所述的第一盒体(12)内部左侧面和第二盒体(13)内部右侧面为凹面。2. An intelligent water-free humidification HVAC according to claim 1, characterized in that: the inner left side of the first box body (12) and the inner right side of the second box body (13) The face is concave. 3.根据权利要求1所述的一种智能化无水加湿的暖通空调,其特征在于:所述的温度调节装置包括隔板(4),隔板(4)顶面位于第一风扇(14)的左侧固定安装S型的导热管(42),导热管(42)内充满液体,导热管(42)两端分别与水泵(43)的进水口和出水口固定密封连接,水泵(43)能够带动导热管(42)内的液体流动,导热管(42)外侧设置降温装置(44)和加热装置(45),导热管(42)具有导热能力,加热装置(45)和降温装置(44)能对导热管(42)内的液体分别进行加温和降温。3. An intelligent water-free humidification HVAC according to claim 1, characterized in that: the temperature adjustment device comprises a partition plate (4), and the top surface of the partition plate (4) is located on the first fan (4). 14) An S-shaped heat transfer pipe (42) is fixedly installed on the left side. The heat transfer pipe (42) is filled with liquid. 43) Able to drive the liquid flow in the heat transfer pipe (42), the outside of the heat transfer pipe (42) is provided with a cooling device (44) and a heating device (45), the heat transfer pipe (42) has heat conduction capability, the heating device (45) and the cooling device (44) The liquid in the heat transfer pipe (42) can be heated and cooled respectively.
CN202010726868.5A 2020-07-26 2020-07-26 Intelligent heating ventilation air conditioner with water-free humidification function Expired - Fee Related CN111780304B (en)

Priority Applications (1)

Application Number Priority Date Filing Date Title
CN202010726868.5A CN111780304B (en) 2020-07-26 2020-07-26 Intelligent heating ventilation air conditioner with water-free humidification function

Applications Claiming Priority (1)

Application Number Priority Date Filing Date Title
CN202010726868.5A CN111780304B (en) 2020-07-26 2020-07-26 Intelligent heating ventilation air conditioner with water-free humidification function

Publications (2)

Publication Number Publication Date
CN111780304A CN111780304A (en) 2020-10-16
CN111780304B true CN111780304B (en) 2021-06-01

Family

ID=72764930

Family Applications (1)

Application Number Title Priority Date Filing Date
CN202010726868.5A Expired - Fee Related CN111780304B (en) 2020-07-26 2020-07-26 Intelligent heating ventilation air conditioner with water-free humidification function

Country Status (1)

Country Link
CN (1) CN111780304B (en)

Families Citing this family (1)

* Cited by examiner, † Cited by third party
Publication number Priority date Publication date Assignee Title
CN115042007A (en) * 2022-07-26 2022-09-13 安徽华深新能源科技有限公司 A kind of aluminum alloy profile cutting device

Family Cites Families (7)

* Cited by examiner, † Cited by third party
Publication number Priority date Publication date Assignee Title
KR102482011B1 (en) * 2015-05-04 2022-12-28 삼성전자주식회사 Filter cleaning device and air conditioner havinh the same
JP6004554B2 (en) * 2015-07-22 2016-10-12 シャープ株式会社 Humidifier and air purifier
CN105202654B (en) * 2015-09-02 2019-02-22 广东申菱环境系统股份有限公司 A kind of integral air conditioner unit and its control method applied to subway station
CN106123281B (en) * 2016-06-21 2019-05-14 海信(山东)空调有限公司 A kind of air-conditioning filter net automatic dust removing mechanism and air conditioner
CN108014562B (en) * 2017-12-12 2020-04-21 余浩 Smoke pipe filtering and ash removing integrated device
CN208075287U (en) * 2017-12-13 2018-11-09 广东美的制冷设备有限公司 Air conditioner
CN107990440B (en) * 2017-12-28 2024-05-17 广东美的制冷设备有限公司 Air conditioning equipment

Also Published As

Publication number Publication date
CN111780304A (en) 2020-10-16

Similar Documents

Publication Publication Date Title
CN203848426U (en) An all-round outdoor water-cooled air-conditioning fan
CN112065245B (en) Window inner chamber cleaning device
CN111351218A (en) Air-purifying's electric fan heater
CN107204585A (en) One kind is easy to move the environmentally friendly distribution automation ring main unit of explosion-proof type outdoor
CN111780304B (en) Intelligent heating ventilation air conditioner with water-free humidification function
CN116294044A (en) Fresh air central air conditioning equipment and control method thereof
CN211692182U (en) Double-layer glass window
CN114322180A (en) Building intelligent air treatment device and use method thereof
CN221989661U (en) Internal circulation breathing curtain wall
CN219937742U (en) A ventilated low-voltage power cabinet
CN209637041U (en) Breathing ecological curtain wall suitable for architectural design
CN208525461U (en) Hot wind circulation sterilizing cabinet
CN117212914A (en) Air conditioner outdoor unit with ultraviolet sterilization function at air inlet
CN112557705B (en) Power transmission line on-line monitoring device with adjustable battery temperature
CN115585522A (en) An energy-saving ventilation structure and its application method
CN213272935U (en) Air conditioner
CN115111669A (en) An energy-saving fresh air system and fresh air treatment method thereof
CN222278782U (en) Civil air defense engineering ventilation structure
CN113670013A (en) Superconducting pipe heating device for drying room
CN223499712U (en) An indoor air purification ventilation device
CN222214862U (en) Dustproof electric power cabinet
CN223755506U (en) Air conditioner fresh air device of energy-saving building
CN223636315U (en) A sauna room with dehumidification and ventilation functions
CN217383176U (en) Novel radiation air conditioner with radiation convection self-adjusting function
CN206073298U (en) An easy-to-clean wall-mounted air conditioner indoor unit

Legal Events

Date Code Title Description
PB01 Publication
PB01 Publication
SE01 Entry into force of request for substantive examination
SE01 Entry into force of request for substantive examination
GR01 Patent grant
GR01 Patent grant
CF01 Termination of patent right due to non-payment of annual fee
CF01 Termination of patent right due to non-payment of annual fee

Granted publication date: 20210601