CN111779935A - An English teaching equipment fixing device - Google Patents
An English teaching equipment fixing device Download PDFInfo
- Publication number
- CN111779935A CN111779935A CN202010800201.5A CN202010800201A CN111779935A CN 111779935 A CN111779935 A CN 111779935A CN 202010800201 A CN202010800201 A CN 202010800201A CN 111779935 A CN111779935 A CN 111779935A
- Authority
- CN
- China
- Prior art keywords
- frame
- teaching equipment
- fixing device
- english teaching
- rod
- Prior art date
- Legal status (The legal status is an assumption and is not a legal conclusion. Google has not performed a legal analysis and makes no representation as to the accuracy of the status listed.)
- Withdrawn
Links
Images
Classifications
-
- F—MECHANICAL ENGINEERING; LIGHTING; HEATING; WEAPONS; BLASTING
- F16—ENGINEERING ELEMENTS AND UNITS; GENERAL MEASURES FOR PRODUCING AND MAINTAINING EFFECTIVE FUNCTIONING OF MACHINES OR INSTALLATIONS; THERMAL INSULATION IN GENERAL
- F16M—FRAMES, CASINGS OR BEDS OF ENGINES, MACHINES OR APPARATUS, NOT SPECIFIC TO ENGINES, MACHINES OR APPARATUS PROVIDED FOR ELSEWHERE; STANDS; SUPPORTS
- F16M11/00—Stands or trestles as supports for apparatus or articles placed thereon ; Stands for scientific apparatus such as gravitational force meters
- F16M11/02—Heads
- F16M11/04—Means for attachment of apparatus; Means allowing adjustment of the apparatus relatively to the stand
- F16M11/041—Allowing quick release of the apparatus
-
- B—PERFORMING OPERATIONS; TRANSPORTING
- B66—HOISTING; LIFTING; HAULING
- B66F—HOISTING, LIFTING, HAULING OR PUSHING, NOT OTHERWISE PROVIDED FOR, e.g. DEVICES WHICH APPLY A LIFTING OR PUSHING FORCE DIRECTLY TO THE SURFACE OF A LOAD
- B66F7/00—Lifting frames, e.g. for lifting vehicles; Platform lifts
- B66F7/10—Lifting frames, e.g. for lifting vehicles; Platform lifts with platforms supported directly by jacks
- B66F7/12—Lifting frames, e.g. for lifting vehicles; Platform lifts with platforms supported directly by jacks by mechanical jacks
- B66F7/14—Lifting frames, e.g. for lifting vehicles; Platform lifts with platforms supported directly by jacks by mechanical jacks screw operated
-
- B—PERFORMING OPERATIONS; TRANSPORTING
- B66—HOISTING; LIFTING; HAULING
- B66F—HOISTING, LIFTING, HAULING OR PUSHING, NOT OTHERWISE PROVIDED FOR, e.g. DEVICES WHICH APPLY A LIFTING OR PUSHING FORCE DIRECTLY TO THE SURFACE OF A LOAD
- B66F7/00—Lifting frames, e.g. for lifting vehicles; Platform lifts
- B66F7/28—Constructional details, e.g. end stops, pivoting supporting members, sliding runners adjustable to load dimensions
-
- F—MECHANICAL ENGINEERING; LIGHTING; HEATING; WEAPONS; BLASTING
- F16—ENGINEERING ELEMENTS AND UNITS; GENERAL MEASURES FOR PRODUCING AND MAINTAINING EFFECTIVE FUNCTIONING OF MACHINES OR INSTALLATIONS; THERMAL INSULATION IN GENERAL
- F16M—FRAMES, CASINGS OR BEDS OF ENGINES, MACHINES OR APPARATUS, NOT SPECIFIC TO ENGINES, MACHINES OR APPARATUS PROVIDED FOR ELSEWHERE; STANDS; SUPPORTS
- F16M11/00—Stands or trestles as supports for apparatus or articles placed thereon ; Stands for scientific apparatus such as gravitational force meters
- F16M11/02—Heads
- F16M11/04—Means for attachment of apparatus; Means allowing adjustment of the apparatus relatively to the stand
- F16M11/06—Means for attachment of apparatus; Means allowing adjustment of the apparatus relatively to the stand allowing pivoting
- F16M11/10—Means for attachment of apparatus; Means allowing adjustment of the apparatus relatively to the stand allowing pivoting around a horizontal axis
-
- F—MECHANICAL ENGINEERING; LIGHTING; HEATING; WEAPONS; BLASTING
- F16—ENGINEERING ELEMENTS AND UNITS; GENERAL MEASURES FOR PRODUCING AND MAINTAINING EFFECTIVE FUNCTIONING OF MACHINES OR INSTALLATIONS; THERMAL INSULATION IN GENERAL
- F16M—FRAMES, CASINGS OR BEDS OF ENGINES, MACHINES OR APPARATUS, NOT SPECIFIC TO ENGINES, MACHINES OR APPARATUS PROVIDED FOR ELSEWHERE; STANDS; SUPPORTS
- F16M11/00—Stands or trestles as supports for apparatus or articles placed thereon ; Stands for scientific apparatus such as gravitational force meters
- F16M11/20—Undercarriages with or without wheels
- F16M11/24—Undercarriages with or without wheels changeable in height or length of legs, also for transport only, e.g. by means of tubes screwed into each other
- F16M11/38—Undercarriages with or without wheels changeable in height or length of legs, also for transport only, e.g. by means of tubes screwed into each other by folding, e.g. pivoting or scissors tong mechanisms
Landscapes
- Engineering & Computer Science (AREA)
- General Engineering & Computer Science (AREA)
- Mechanical Engineering (AREA)
- Life Sciences & Earth Sciences (AREA)
- Geology (AREA)
- Structural Engineering (AREA)
- Electrically Operated Instructional Devices (AREA)
Abstract
本发明涉及一种英语教学设备固定装置,它包括底座,底座的上表面通过升降机构连接有升降平台,升降平台的上表面靠近中心的位置处设置有支撑架,支撑架上旋转的连接有两端螺纹旋向相反的螺纹杆A,螺纹杆A上支撑架的左右两侧分别通过螺纹连接连接有安装座,安装座固定在固定板的背面,固定板分别固定在U型安装框架的左右两侧面上,U型安装框架的内侧面设置有安装槽,U型安装框架包括左框架、右框架和水平支撑框架,水平支撑框架包括固定连接在左框架右侧底端的外套管及滑动的设置在外套管内侧面的移动槽内的水平支撑杆,水平支撑杆固定在右框架的左侧底端位置处;总的,本发明具有结构设计合理、安装调节方便、固定效果好的优点。
The invention relates to a fixing device for English teaching equipment, which comprises a base, the upper surface of the base is connected with a lifting platform through a lifting mechanism, a support frame is arranged on the upper surface of the lifting platform near the center, and two rotating connections on the support frame are provided. The threaded rod A with the opposite direction of thread rotation, the left and right sides of the support frame on the threaded rod A are respectively connected with mounting seats through threaded connections, the mounting seats are fixed on the back of the fixing plate, and the fixing plate is respectively fixed on the left and right sides of the U-shaped mounting frame. On the side, the inner side of the U-shaped installation frame is provided with installation grooves. The U-shaped installation frame includes a left frame, a right frame and a horizontal support frame. The horizontal support rod in the moving groove on the inner side of the outer casing is fixed at the left bottom end of the right frame; in general, the present invention has the advantages of reasonable structure design, convenient installation and adjustment, and good fixing effect.
Description
技术领域technical field
本发明属于教学设备技术领域,具体涉及一种英语教学设备固定装置。The invention belongs to the technical field of teaching equipment, and particularly relates to a fixing device for English teaching equipment.
背景技术Background technique
英语教学是指对于英语是或者不是第一语言的人进行教授英语的过程,英语教学涉及多种专业理论知识,包括语言学、第二语言习得、词汇学、句法学、文体学、语料库理论、认知心理学等内容,英语教学中会使用较多的教学设备,便于学生在生动形象的过程中更容易进行学习,目前英语教学中所用到的教学设备一般是固定安装在墙壁上的,其高度及倾斜角度不可调节,对于不同身高的老师或者学生的使用时带来不便,为此,我们提出一种多功能多媒体教学设备用于解决上述问题;因此,提供一种结构设计合理、安装调节方便、固定效果好的英语教学设备固定装置是非常必要的。English teaching refers to the process of teaching English to those whose English is or not the first language. English teaching involves a variety of professional theoretical knowledge, including linguistics, second language acquisition, vocabulary, syntax, stylistics, and corpus theory. , cognitive psychology and other content, more teaching equipment will be used in English teaching, so that students can learn more easily in the process of vivid images. At present, the teaching equipment used in English teaching is generally fixed on the wall. Its height and inclination angle cannot be adjusted, which brings inconvenience to teachers or students of different heights. For this reason, we propose a multi-functional multimedia teaching equipment to solve the above problems; therefore, to provide a reasonable structure design, installation It is very necessary to adjust the English teaching equipment with convenient adjustment and good fixing effect.
发明内容SUMMARY OF THE INVENTION
本发明的目的是为了克服现有技术的不足,而提供一种结构设计合理、安装调节方便、固定效果好的英语教学设备固定装置。The purpose of the present invention is to overcome the deficiencies of the prior art, and to provide a fixing device for English teaching equipment with reasonable structural design, convenient installation and adjustment, and good fixing effect.
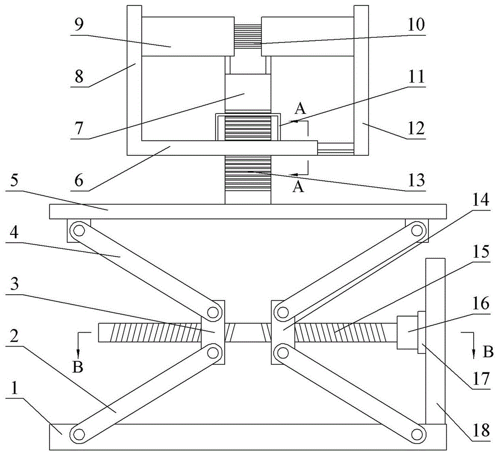
本发明的目的是这样实现的:一种英语教学设备固定装置,它包括底座,所述的底座的上表面通过升降机构连接有升降平台,所述的升降平台的上表面靠近中心的位置处设置有支撑架,所述的支撑架上旋转的连接有两端螺纹旋向相反的螺纹杆A,所述的螺纹杆A上支撑架的左右两侧分别通过螺纹连接连接有安装座,所述的安装座固定在固定板的背面,所述的固定板分别固定在U型安装框架的左右两侧面上,所述的U型安装框架的内侧面设置有安装槽,所述的U型安装框架包括左框架、右框架和水平支撑框架,所述的水平支撑框架包括固定连接在左框架右侧底端的外套管及滑动的设置在外套管内侧面的移动槽内的水平支撑杆,所述的水平支撑杆固定在右框架的左侧底端位置处。The purpose of the present invention is to achieve this: an English teaching equipment fixing device, which includes a base, the upper surface of the base is connected with a lifting platform through a lifting mechanism, and the upper surface of the lifting platform is set at a position close to the center There is a support frame, and a threaded rod A with opposite threads at both ends is connected to rotate on the support frame. The left and right sides of the support frame on the threaded rod A are respectively connected with mounting seats through threaded connections. The mounting seat is fixed on the back of the fixing plate, the fixing plate is respectively fixed on the left and right sides of the U-shaped installation frame, the inner side of the U-shaped installation frame is provided with installation grooves, and the U-shaped installation frame includes A left frame, a right frame and a horizontal support frame, the horizontal support frame includes an outer sleeve fixedly connected to the bottom end of the right side of the left frame and a sliding horizontal support rod arranged in the moving groove on the inner side of the outer sleeve. The horizontal support The rod is fixed at the left bottom end position of the right frame.
所述的升降机构包括两端螺纹旋向相反的螺纹杆B、分别通过螺纹连接连接在螺纹杆B两端的支撑块A和支撑块B、铰接在支撑块A和支撑块B前后两侧面上靠近顶端和底端的位置处的上支撑杆及下支撑杆,所述的上支撑杆的上端铰接在升降平台的下表面,所述的下支撑杆的下端铰接在底座上。The lifting mechanism includes a threaded rod B with opposite screw threads at both ends, a support block A and a support block B that are respectively connected to the two ends of the threaded rod B through a threaded connection, and are hinged on the front and rear sides of the support block A and the support block B. The upper support rod and the lower support rod at the top and bottom ends are hinged on the lower surface of the lifting platform, and the lower end of the lower support rod is hinged on the base.
所述的螺纹杆B的右端连接有电机,所述的电机固定在滑块上,所述的滑块滑动的连接在支撑立柱左侧的滑槽内。The right end of the threaded rod B is connected with a motor, the motor is fixed on the slider, and the slider is slidably connected in the chute on the left side of the support column.
所述的安装槽内设置有弹性防护垫。An elastic protective pad is arranged in the installation groove.
所述的螺纹杆A的两端设置有限位板。Both ends of the threaded rod A are provided with limit plates.
所述的螺纹杆A上设置有旋转手柄。The threaded rod A is provided with a rotating handle.
所述的U型安装框架的背面与支撑架之间设置有调节支撑杆。An adjustment support rod is arranged between the back of the U-shaped installation frame and the support frame.
所述的调节支撑杆为铰接在U型安装框架背面的U型框架,所述的支撑架的正面设置有与U型框架相配合的卡槽。The adjusting support rod is a U-shaped frame hinged on the back of the U-shaped installation frame, and the front face of the support frame is provided with a card slot matched with the U-shaped frame.
本发明的有益效果:Beneficial effects of the present invention:
1、本发明通过旋转螺纹杆A使得左框架和右框架分别沿螺纹杆A的轴向方向向中间移动,从而对卡设在U型安装框架的安装槽中的教学设备进行夹紧固定,其固定效果好、不易脱落且可以对不同大小的教学设备进行夹紧固定;1. The present invention makes the left frame and the right frame move to the middle along the axial direction of the threaded rod A by rotating the threaded rod A, so as to clamp and fix the teaching equipment clamped in the installation groove of the U-shaped installation frame. The fixing effect is good, it is not easy to fall off, and it can clamp and fix teaching equipment of different sizes;
2、在U型框架与支撑架之间设置有调节固定的调节支撑杆,可以对教学设备的倾斜角度进行调节固定,使得教学更为方便;2. Between the U-shaped frame and the support frame, there is an adjustable and fixed adjustment support rod, which can adjust and fix the inclination angle of the teaching equipment, making teaching more convenient;
3、在升降平台与底座之间设置有升降机构,可以对教学设备的高度进行调节。3. There is a lifting mechanism between the lifting platform and the base, which can adjust the height of the teaching equipment.
附图说明Description of drawings
图1是本发明一种英语教学设备固定装置的主视结构示意图。FIG. 1 is a schematic view of the front structure of a fixing device for English teaching equipment according to the present invention.
图2是本发明一种英语教学设备固定装置的后视结构示意图。FIG. 2 is a schematic view of the rear view of a fixing device for English teaching equipment according to the present invention.
图3是本发明一种英语教学设备固定装置中U型安装框架的A-A向剖面结构示意图。3 is a schematic view of the cross-sectional structure of a U-shaped mounting frame in a fixing device for English teaching equipment according to the present invention, along the A-A direction.
图4是本发明一种英语教学设备固定装置的B-B向剖面结构示意图。FIG. 4 is a schematic view of the cross-sectional structure along the B-B direction of an English teaching equipment fixing device according to the present invention.
图中:1、底座 2、下支撑杆 3、支撑块A 4、上支撑杆 5、升降平台 6、水平支撑框架 7、支撑架 8、左框架 9、固定板 10、旋转手柄 11、U型框架 12、右框架 13、卡槽 14、支撑块B 15、螺纹杆B 16、电机 17、滑块 18、支撑立柱 19、外套管 20、水平支撑杆 21、螺纹杆A 22、安装座 23、限位板 24、移动槽 25、安装槽 26、弹性防护垫 27、滑槽。In the figure: 1,
具体实施方式Detailed ways
下面结合附图对本发明做进一步的说明。The present invention will be further described below in conjunction with the accompanying drawings.
实施例1Example 1
如图1-4所示,一种英语教学设备固定装置,它包括底座1,所述的底座1的上表面通过升降机构连接有升降平台5,所述的升降平台5的上表面靠近中心的位置处设置有支撑架7,所述的支撑架7上旋转的连接有两端螺纹旋向相反的螺纹杆A21,所述的螺纹杆A21上支撑架7的左右两侧分别通过螺纹连接连接有安装座22,所述的安装座22固定在固定板9的背面,所述的固定板9分别固定在U型安装框架的左右两侧面上,所述的U型安装框架的内侧面设置有安装槽25,所述的U型安装框架包括左框架8、右框架12和水平支撑框架6,所述的水平支撑框架6包括固定连接在左框架8右侧底端的外套管19及滑动的设置在外套管19内侧面的移动槽24内的水平支撑杆20,所述的水平支撑杆20固定在右框架12的左侧底端位置处。As shown in Figures 1-4, an English teaching equipment fixing device includes a
本发明在使用时,将英语教学设备放置在U型安装框架中水平支撑框架上的安装槽内,然后旋转螺纹杆A通过与其螺纹连接的两安装座带动左框架和右框架沿螺纹杆A的轴向方向由两端向中间移动,直至左框架和右框架上的安装槽将教学设备卡紧为止,从而实现U型安装框架对教学设备的夹紧固定;然后根据教学老师和听讲学生的需求,通过升降机构对升降台平台的高度进行调整;总的,本发明具有结构设计合理、安装调节方便、固定效果好的优点。When the present invention is in use, the English teaching equipment is placed in the installation groove on the horizontal support frame in the U-shaped installation frame, and then the rotating threaded rod A drives the left frame and the right frame along the threaded rod A through the two mounting seats threadedly connected with it. The axial direction moves from both ends to the middle until the installation grooves on the left frame and the right frame clamp the teaching equipment, so as to realize the clamping and fixing of the teaching equipment by the U-shaped installation frame; and then according to the needs of teaching teachers and listening students , the height of the lifting platform platform is adjusted through the lifting mechanism; in general, the present invention has the advantages of reasonable structure design, convenient installation and adjustment, and good fixing effect.
实施例2Example 2
如图1-4所示,一种英语教学设备固定装置,它包括底座1,所述的底座1的上表面通过升降机构连接有升降平台5,所述的升降平台5的上表面靠近中心的位置处设置有支撑架7,所述的支撑架7上旋转的连接有两端螺纹旋向相反的螺纹杆A21,所述的螺纹杆A21上支撑架7的左右两侧分别通过螺纹连接连接有安装座22,所述的安装座22固定在固定板9的背面,所述的固定板9分别固定在U型安装框架的左右两侧面上,所述的U型安装框架的内侧面设置有安装槽25,所述的U型安装框架包括左框架8、右框架12和水平支撑框架6,所述的水平支撑框架6包括固定连接在左框架8右侧底端的外套管19及滑动的设置在外套管19内侧面的移动槽24内的水平支撑杆20,所述的水平支撑杆20固定在右框架12的左侧底端位置处;所述的升降机构包括两端螺纹旋向相反的螺纹杆B15、分别通过螺纹连接连接在螺纹杆B15两端的支撑块A3和支撑块B14、铰接在支撑块A3和支撑块B14前后两侧面上靠近顶端和底端的位置处的上支撑杆4及下支撑杆2,所述的上支撑杆4的上端铰接在升降平台5的下表面,所述的下支撑杆2的下端铰接在底座1上;所述的螺纹杆B15的右端连接有电机16,所述的电机16固定在滑块17上,所述的滑块17滑动的连接在支撑立柱18左侧的滑槽27内;所述的安装槽25内设置有弹性防护垫26;所述的螺纹杆A21的两端设置有限位板23;所述的螺纹杆A21上设置有旋转手柄10;所述的U型安装框架的背面与支撑架7之间设置有调节支撑杆;所述的调节支撑杆为铰接在U型安装框架背面的U型框架11,所述的支撑架7的正面设置有与U型框架11相配合的卡槽13。As shown in Figures 1-4, an English teaching equipment fixing device includes a
本发明在使用时,将英语教学设备放置在U型安装框架中水平支撑框架上的安装槽内,然后通过旋转手柄旋转螺纹杆A,通过与螺纹杆A螺纹连接的两安装座带动左框架和右框架沿螺纹杆A的轴向方向由两端向中间移动,直至左框架和右框架上的安装槽将教学设备卡紧为止,从而实现U型安装框架对教学设备的夹紧固定;然后根据教学老师和听讲学生的需求,由电机带动螺纹杆B正向或反向旋转,从而使得支撑块A和支撑块B沿螺纹杆B的轴向方向向两端或中间移动,从而实现对升降台平台的高度的调整,在升降平台升降的过程中,电机及螺纹杆B随滑块沿支撑立柱上的滑槽上下移动;为了听讲学生能够看得清楚,教学老师通过将U型框架卡在不同的卡槽内可以实现对U型安装框架与水平面之间的角度进行调整;安装槽内设置有弹性防护垫,可以对教学设备进行保护,防止对其造成磨损;螺纹杆A的两端设置有限位板,防止安装座从螺纹杆A上滑脱;总的,本发明具有结构设计合理、安装调节方便、固定效果好的优点。When the present invention is in use, the English teaching equipment is placed in the installation groove on the horizontal support frame in the U-shaped installation frame, then the threaded rod A is rotated by the rotating handle, and the left frame and the The right frame moves from both ends to the middle along the axial direction of the threaded rod A until the installation grooves on the left frame and the right frame clamp the teaching equipment, so as to realize the clamping and fixing of the teaching equipment by the U-shaped installation frame; According to the needs of teaching teachers and listening students, the motor drives the threaded rod B to rotate in the forward or reverse direction, so that the support block A and the support block B move to both ends or the middle along the axial direction of the threaded rod B, so as to realize the lifting platform. The height of the platform is adjusted. During the lifting and lowering of the platform, the motor and the threaded rod B move up and down along the chute on the support column with the slider. In order for the students to see clearly, the teaching teacher uses the U-shaped frame to be stuck in different positions. The angle between the U-shaped mounting frame and the horizontal plane can be adjusted in the card slot of the device; there is an elastic protective pad in the mounting slot, which can protect the teaching equipment and prevent it from being worn; the two ends of the threaded rod A are limited. The positioning plate prevents the mounting seat from slipping off the threaded rod A; in general, the present invention has the advantages of reasonable structure design, convenient installation and adjustment, and good fixing effect.
Claims (8)
Priority Applications (1)
| Application Number | Priority Date | Filing Date | Title |
|---|---|---|---|
| CN202010800201.5A CN111779935A (en) | 2020-08-11 | 2020-08-11 | An English teaching equipment fixing device |
Applications Claiming Priority (1)
| Application Number | Priority Date | Filing Date | Title |
|---|---|---|---|
| CN202010800201.5A CN111779935A (en) | 2020-08-11 | 2020-08-11 | An English teaching equipment fixing device |
Publications (1)
| Publication Number | Publication Date |
|---|---|
| CN111779935A true CN111779935A (en) | 2020-10-16 |
Family
ID=72762406
Family Applications (1)
| Application Number | Title | Priority Date | Filing Date |
|---|---|---|---|
| CN202010800201.5A Withdrawn CN111779935A (en) | 2020-08-11 | 2020-08-11 | An English teaching equipment fixing device |
Country Status (1)
| Country | Link |
|---|---|
| CN (1) | CN111779935A (en) |
-
2020
- 2020-08-11 CN CN202010800201.5A patent/CN111779935A/en not_active Withdrawn
Similar Documents
| Publication | Publication Date | Title |
|---|---|---|
| CN105771205B (en) | A kind of removable adjustable type basketball stands | |
| CN204232558U (en) | Drawing bench | |
| CN210689501U (en) | A pressure-bearing special equipment bulge deformation size measuring instrument | |
| CN210244647U (en) | But height-adjusting's english teaching is with show board | |
| CN111779935A (en) | An English teaching equipment fixing device | |
| CN210018337U (en) | Teaching aid | |
| CN210979207U (en) | camera bracket | |
| CN210792667U (en) | Portable drawing board of painting from life in field | |
| CN210020991U (en) | Integrative training ware of lower waist leg pressing | |
| CN220087149U (en) | Switching power supply with good protection architecture | |
| CN211906567U (en) | A Chinese teaching blackboard writing projector | |
| CN221902834U (en) | A bracket for teaching and preaching English majors | |
| CN210319169U (en) | Replaceable projection device | |
| CN218607258U (en) | Fixing device for head dissection | |
| CN209103597U (en) | An easy-to-adjust display device for Chinese language teaching | |
| CN217820504U (en) | A double-sided display inspection fixture | |
| CN208903569U (en) | A kind of movable adjustable display device of accusing of the risk inside management training | |
| CN211315566U (en) | An application English learning machine bracket | |
| CN219418312U (en) | An auxiliary device for memorizing words | |
| CN219994863U (en) | Innovative consultation service recording device | |
| CN207195995U (en) | Keyboard and indicator integral support | |
| CN222142521U (en) | Electric power reconnaissance device convenient to record | |
| CN221684066U (en) | Indoor design teaching mapping device | |
| CN221922685U (en) | An ultra-high contrast liquid crystal display | |
| CN221813466U (en) | Music teaching support |
Legal Events
| Date | Code | Title | Description |
|---|---|---|---|
| PB01 | Publication | ||
| PB01 | Publication | ||
| SE01 | Entry into force of request for substantive examination | ||
| SE01 | Entry into force of request for substantive examination | ||
| WW01 | Invention patent application withdrawn after publication | ||
| WW01 | Invention patent application withdrawn after publication |
Application publication date: 20201016 |
