CN111774392A - 一种特种玻璃生产用清洗机 - Google Patents

一种特种玻璃生产用清洗机 Download PDF

Info

Publication number
CN111774392A
CN111774392A CN202010792096.5A CN202010792096A CN111774392A CN 111774392 A CN111774392 A CN 111774392A CN 202010792096 A CN202010792096 A CN 202010792096A CN 111774392 A CN111774392 A CN 111774392A
Authority
CN
China
Prior art keywords
fixedly connected
glass
support frame
threaded rod
gear
Prior art date
Legal status (The legal status is an assumption and is not a legal conclusion. Google has not performed a legal analysis and makes no representation as to the accuracy of the status listed.)
Pending
Application number
CN202010792096.5A
Other languages
English (en)
Inventor
舒双衡
Current Assignee (The listed assignees may be inaccurate. Google has not performed a legal analysis and makes no representation or warranty as to the accuracy of the list.)
Hunan Hengbo Special Glass Technology Co ltd
Original Assignee
Hunan Hengbo Special Glass Technology Co ltd
Priority date (The priority date is an assumption and is not a legal conclusion. Google has not performed a legal analysis and makes no representation as to the accuracy of the date listed.)
Filing date
Publication date
Application filed by Hunan Hengbo Special Glass Technology Co ltd filed Critical Hunan Hengbo Special Glass Technology Co ltd
Priority to CN202010792096.5A priority Critical patent/CN111774392A/zh
Publication of CN111774392A publication Critical patent/CN111774392A/zh
Pending legal-status Critical Current

Links

Images

Classifications

    • BPERFORMING OPERATIONS; TRANSPORTING
    • B08CLEANING
    • B08BCLEANING IN GENERAL; PREVENTION OF FOULING IN GENERAL
    • B08B11/00Cleaning flexible or delicate articles by methods or apparatus specially adapted thereto
    • B08B11/04Cleaning flexible or delicate articles by methods or apparatus specially adapted thereto specially adapted for plate glass, e.g. prior to manufacture of windshields

Landscapes

  • Cleaning In General (AREA)

Abstract

本发明公开了一种特种玻璃生产用清洗机,包括支撑架,支撑架的中部转动连接有传动杆,且传动杆贯穿支撑架的两端,传动杆的两端固定连接有蜗杆,支撑架的底端两侧分别固定连接有底板,底板的上端两侧分别转动连接有第一螺纹杆,所述第一螺纹杆靠近蜗杆的表面固定连接有蜗轮,所述第一螺纹杆的表面螺纹连接有活动板,本发明通过设置了传动杆、蜗杆、蜗轮、第一螺纹杆、活动板、第一电动机、第一锥齿轮、第二锥齿轮、第二螺纹杆、螺纹套、清洗器、第二电动机、第一齿轮和第二齿轮等结构构件,将玻璃用夹具固定后,通过第二电动机驱动可以将玻璃升起来,然后再通过第一电动机驱动,使清洗器同时清洗玻璃两个面,大大提高工作效率。

Description

一种特种玻璃生产用清洗机
技术领域
本发明涉及清洗机领域,尤其涉及一种特种玻璃生产用清洗机。
背景技术
目前所使用的特种玻璃生产用清洗机由于结构较简单,一次只能洗一块玻璃的一面,导致工作效率低下,难以适应市场需求,因此有必要加以改进。
发明内容
本发明的目的是为了解决现有技术中存在的缺点,而提出的一种特种玻璃生产用清洗机。
为了实现上述目的,本发明采用了如下技术方案:一种特种玻璃生产用清洗机,包括支撑架,所述支撑架的中部转动连接有传动杆,且传动杆贯穿支撑架的两端,所述传动杆的两端固定连接有蜗杆,所述支撑架的底端两侧分别固定连接有底板,两侧底板的上端分别转动连接有第一螺纹杆,所述第一螺纹杆上固定有与蜗杆配合的蜗轮,所述第一螺纹杆上端螺纹连接有活动板,所述支撑架的上端可用于放置玻璃,所述活动板靠近玻璃的一侧固定连接有用于装夹玻璃的夹具,一侧活动板的上端固定连接有固定板,所述固定板的上端固定连接有第一电动机,所述第一电动机的输出端固定连接有第一驱动轴,所述第一驱动轴的前端固定连接有第一锥齿轮,两侧活动板之间转动连接有第二螺纹杆,所述第二螺纹杆的一端固定有和第一锥齿轮啮合连接的第二锥齿轮,所述第二螺纹杆上螺纹连接有螺纹套,所述螺纹套靠近玻璃的一侧固定连接有两根清洗器,另一侧底板的上端固定连接有第二电动机,所述第二电动机的输出端固定连接有第二驱动轴,所述第二驱动轴的前端表面固定连接有第一齿轮,所述传动杆上固定有与第一齿轮啮合连接的第二齿轮。
进一步地,所述夹具与玻璃紧密接触。
进一步地,所述清洗器上下依次对准玻璃的上下两面。
本发明具有如下有益效果:
本发明通过设置了传动杆、蜗杆、蜗轮、第一螺纹杆、活动板、夹具、第一电动机、第一锥齿轮、第二锥齿轮、第二螺纹杆、螺纹套、清洗器、第二电动机、第一齿轮和第二齿轮等结构构件,将玻璃用夹具固定后,通过第二电动机驱动可以将玻璃升起来,然后再通过第一电动机驱动,使清洗器同时清洗玻璃两个面,大大提高工作效率。
附图说明
图1为本发明提出的一种特种玻璃生产用清洗机的侧视图。
图2为本发明提出的一种特种玻璃生产用清洗机的俯视图。
图3为本发明提出的一种特种玻璃生产用清洗机的蜗轮和蜗杆传动示意图。
图例说明:
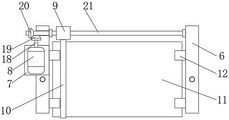
1、支撑架;2、传动杆;3、底板;4、蜗杆;5、第一螺纹杆;6、活动板;7、固定板;8、第一电动机;9、螺纹套;10、清洗器;11、玻璃;12、夹具;13、蜗轮;14、第二电动机;15、第二驱动轴;16、第一齿轮;17、第二齿轮;18、第一驱动轴;19、第一锥齿轮;20、第二锥齿轮;21、第二螺纹杆。
具体实施方式
下面将结合本发明实施例中的附图,对本发明实施例中的技术方案进行清楚、完整地描述,显然,所描述的实施例仅仅是本发明一部分实施例,而不是全部的实施例。基于本发明中的实施例,本领域普通技术人员在没有做出创造性劳动前提下所获得的所有其他实施例,都属于本发明保护的范围。
在本发明的描述中,需要说明的是,术语“中心”、“上”、“下”、“左”、“右”、“竖直”、“水平”、“内”、“外”等指示的方位或位置关系为基于附图所示的方位或位置关系,仅是为了便于描述本发明和简化描述,而不是指示或暗示所指的装置或元件必须具有特定的方位、以特定的方位构造和操作,因此不能理解为对本发明的限制;术语“第一”、“第二”、“第三”仅用于描述目的,而不能理解为指示或暗示相对重要性,此外,除非另有明确的规定和限定,术语“安装”、“相连”、“连接”应做广义理解,例如,可以是固定连接,也可以是可拆卸连接,或一体地连接;可以是机械连接,也可以是电连接;可以是直接相连,也可以通过中间媒介间接相连,可以是两个元件内部的连通。对于本领域的普通技术人员而言,可以具体情况理解上述术语在本发明中的具体含义。
参照图1-3,本发明提供的一种实施例:一种特种玻璃生产用清洗机,包括支撑架1,支撑架1的中部转动连接有传动杆2,且传动杆2贯穿支撑架1的两端,传动杆2的两端固定连接有蜗杆4,传动动力,支撑架1的底端两侧分别固定连接有底板3,底板3的上端两侧分别转动连接有第一螺纹杆5,第一螺纹杆5靠近蜗杆4的表面固定连接有蜗轮13,传动动力,第一螺纹杆5的表面螺纹连接有活动板6,实现玻璃11的升降,支撑架1的上端放置有玻璃11,活动板6靠近玻璃11的一侧固定连接有夹具12,固定玻璃11,活动板6的上端一侧固定连接有固定板7,固定板7的上端固定连接有第一电动机8,为螺纹套9的移动提供动力,第一电动机8的输出端固定连接有第一驱动轴18,第一驱动轴18的前端表面固定连接有第一锥齿轮19,传动动力,活动板6的一端两侧之间转动连接有第二螺纹杆21,第二螺纹杆21的一端穿过一侧活动板6,并固定连接有第二锥齿轮20,传动动力,第二螺纹杆21靠近玻璃11的一端螺纹连接有螺纹套9,实现清洗器10的移动,螺纹套9靠近玻璃11的一侧固定连接有两根清洗器10,底板3的另一侧上端固定连接有第二电动机14,为升降玻璃11提供动力,第二电动机14的输出端固定连接有第二驱动轴15,第二驱动轴15的前端表面固定连接有第一齿轮16,传动动力,传动杆2靠近第一齿轮16的表面固定连接有第二齿轮17,传动动力。
蜗杆4与蜗轮13啮合,传动动力。夹具12与玻璃11紧密接触,通过活动板6带动玻璃11升降。第一锥齿轮19和第二锥齿轮20啮合,传动动力。第一齿轮16和第二齿轮17啮合,传动动力。清洗器10上下依次对准玻璃11的上下两面,实现同时清洗玻璃11的两个面。第一电动机8和第二电动机14与电源和开关电连接,实现该装置的控制。
工作原理:首先将玻璃放在支撑架1的上端,然后用夹具12夹住,驱动第二电动机14,第二驱动轴15转动,带动第一齿轮16转动,于是第二齿轮17转动,传动杆2转动,蜗杆4转动,带动蜗轮13转动,于是第一螺纹杆5转动,于是活动板6通过夹具12带动玻璃11上升,再驱动第一电动机8,第一驱动轴18转动,第一锥齿轮19转动,于是第二锥齿轮20转动,第二螺纹杆21转动,于是螺纹套9带动清洗器10在玻璃11的上下表面进行清洗。
最后应说明的是:以上所述仅为本发明的优选实施例而已,并不用于限制本发明,尽管参照前述实施例对本发明进行了详细的说明,对于本领域的技术人员来说,其依然可以对前述各实施例所记载的技术方案进行修改,或者对其中部分技术特征进行等同替换,凡在本发明的精神和原则之内,所作的任何修改、等同替换、改进等,均应包含在本发明的保护范围之内。

Claims (3)

1.一种特种玻璃生产用清洗机,包括支撑架(1),其特征在于:所述支撑架(1)的中部转动连接有传动杆(2),且传动杆(2)贯穿支撑架(1)的两端,所述传动杆(2)的两端固定连接有蜗杆(4),所述支撑架(1)的底端两侧分别固定连接有底板(3),两侧底板(3)的上端分别转动连接有第一螺纹杆(5),所述第一螺纹杆(5)上固定有与蜗杆(4)配合的蜗轮(13),所述第一螺纹杆(5)上端螺纹连接有活动板(6),所述支撑架(1)的上端可用于放置玻璃(11),所述活动板(6)靠近玻璃(11)的一侧固定连接有用于装夹玻璃(11)的夹具(12),一侧活动板(6)的上端固定连接有固定板(7),所述固定板(7)的上端固定连接有第一电动机(8),所述第一电动机(8)的输出端固定连接有第一驱动轴(18),所述第一驱动轴(18)的前端固定连接有第一锥齿轮(19),两侧活动板(6)之间转动连接有第二螺纹杆(21),所述第二螺纹杆(21)的一端固定有和第一锥齿轮(19)啮合连接的第二锥齿轮(20),所述第二螺纹杆(21)上螺纹连接有螺纹套(9),所述螺纹套(9)靠近玻璃(11)的一侧固定连接有两根清洗器(10),另一侧底板(3)的上端固定连接有第二电动机(14),所述第二电动机(14)的输出端固定连接有第二驱动轴(15),所述第二驱动轴(15)的前端表面固定连接有第一齿轮(16),所述传动杆(2)上固定有与第一齿轮(16)啮合连接的第二齿轮(17)。
2.根据权利要求1所述的一种特种玻璃生产用清洗机,其特征在于:所述夹具(12)与玻璃(11)紧密接触。
3.根据权利要求1所述的一种特种玻璃生产用清洗机,其特征在于:所述清洗器(10)上下依次对准玻璃(11)的上下两面。
CN202010792096.5A 2020-08-08 2020-08-08 一种特种玻璃生产用清洗机 Pending CN111774392A (zh)

Priority Applications (1)

Application Number Priority Date Filing Date Title
CN202010792096.5A CN111774392A (zh) 2020-08-08 2020-08-08 一种特种玻璃生产用清洗机

Applications Claiming Priority (1)

Application Number Priority Date Filing Date Title
CN202010792096.5A CN111774392A (zh) 2020-08-08 2020-08-08 一种特种玻璃生产用清洗机

Publications (1)

Publication Number Publication Date
CN111774392A true CN111774392A (zh) 2020-10-16

Family

ID=72762742

Family Applications (1)

Application Number Title Priority Date Filing Date
CN202010792096.5A Pending CN111774392A (zh) 2020-08-08 2020-08-08 一种特种玻璃生产用清洗机

Country Status (1)

Country Link
CN (1) CN111774392A (zh)

Cited By (1)

* Cited by examiner, † Cited by third party
Publication number Priority date Publication date Assignee Title
CN113731888A (zh) * 2021-08-10 2021-12-03 郑州旭飞光电科技有限公司 电机安装支架、驱动机构和基板玻璃清洗机

Citations (6)

* Cited by examiner, † Cited by third party
Publication number Priority date Publication date Assignee Title
JPH0889910A (ja) * 1994-09-28 1996-04-09 Tokyo Electron Ltd 洗浄装置及びその方法
CN108526076A (zh) * 2018-05-22 2018-09-14 范雪蓉 一种建筑板材双面清洗烘干设备
CN108687089A (zh) * 2018-07-04 2018-10-23 南安市明誓汽配贸易有限公司 一种便捷型玻璃清洗机
CN209380861U (zh) * 2019-01-21 2019-09-13 潍坊市北海防水材料有限公司 一种玻璃毡生产用的切割限位装置
CN210146503U (zh) * 2019-07-11 2020-03-17 云南经济管理学院 一种自动化清洁装置
CN212310356U (zh) * 2020-08-08 2021-01-08 湖南衡波特种玻璃科技有限公司 一种特种玻璃生产用清洗机

Patent Citations (6)

* Cited by examiner, † Cited by third party
Publication number Priority date Publication date Assignee Title
JPH0889910A (ja) * 1994-09-28 1996-04-09 Tokyo Electron Ltd 洗浄装置及びその方法
CN108526076A (zh) * 2018-05-22 2018-09-14 范雪蓉 一种建筑板材双面清洗烘干设备
CN108687089A (zh) * 2018-07-04 2018-10-23 南安市明誓汽配贸易有限公司 一种便捷型玻璃清洗机
CN209380861U (zh) * 2019-01-21 2019-09-13 潍坊市北海防水材料有限公司 一种玻璃毡生产用的切割限位装置
CN210146503U (zh) * 2019-07-11 2020-03-17 云南经济管理学院 一种自动化清洁装置
CN212310356U (zh) * 2020-08-08 2021-01-08 湖南衡波特种玻璃科技有限公司 一种特种玻璃生产用清洗机

Cited By (1)

* Cited by examiner, † Cited by third party
Publication number Priority date Publication date Assignee Title
CN113731888A (zh) * 2021-08-10 2021-12-03 郑州旭飞光电科技有限公司 电机安装支架、驱动机构和基板玻璃清洗机

Similar Documents

Publication Publication Date Title
CN111774392A (zh) 一种特种玻璃生产用清洗机
CN206981276U (zh) 光伏板清洁设备
CN212310356U (zh) 一种特种玻璃生产用清洗机
CN216322267U (zh) 食品检测用食品碾碎装置
CN207538261U (zh) 一种可清洁的太阳能光伏幕墙
CN221935742U (zh) 一种管道焊接辅助底座
CN218035610U (zh) 一种水库光伏发电用遮挡检测装置
CN211106479U (zh) 一种用于财务统计单据整平装置
CN216359575U (zh) 一种智能清障巡检机器人
CN210867571U (zh) 一种新能源光伏电板支撑装置
CN208928812U (zh) 一种试管、烧杯清洗装置
CN210091602U (zh) 一种基于考试的考场布局查询显示装置
CN210998085U (zh) 一种金属板材的抛光装置
CN218691795U (zh) 一种风力发电柱清洗装置
CN209299198U (zh) 一种新能源太阳能光伏板
CN109087881A (zh) 一种太阳能电池串返修、检查一体装置
CN221723627U (zh) 一种高压清洗机的连接组件
CN221767977U (zh) 一种光伏板安装机构
CN206732450U (zh) 一种头管自动焊接夹具
CN207841030U (zh) 一种铜排生产用抛光机
CN208303312U (zh) 高效率清扫装置
CN213966681U (zh) 易清洗真空抽滤装置
CN216818901U (zh) 一种数据线生产用外观清洁装置
CN222249914U (zh) 一种幕墙吸盘吊装器具
CN214959385U (zh) 一种工作面积可调节式太阳能板

Legal Events

Date Code Title Description
PB01 Publication
PB01 Publication
SE01 Entry into force of request for substantive examination
SE01 Entry into force of request for substantive examination
WD01 Invention patent application deemed withdrawn after publication
WD01 Invention patent application deemed withdrawn after publication

Application publication date: 20201016