CN111755955B - High-tension electricity cabinet ground protection device - Google Patents

High-tension electricity cabinet ground protection device Download PDF

Info

Publication number
CN111755955B
CN111755955B CN202010638598.2A CN202010638598A CN111755955B CN 111755955 B CN111755955 B CN 111755955B CN 202010638598 A CN202010638598 A CN 202010638598A CN 111755955 B CN111755955 B CN 111755955B
Authority
CN
China
Prior art keywords
grounding
plate
protection
current
cable fixing
Prior art date
Legal status (The legal status is an assumption and is not a legal conclusion. Google has not performed a legal analysis and makes no representation as to the accuracy of the status listed.)
Expired - Fee Related
Application number
CN202010638598.2A
Other languages
Chinese (zh)
Other versions
CN111755955A (en
Inventor
于志强
谢磊雷
王璐
胡玲
Current Assignee (The listed assignees may be inaccurate. Google has not performed a legal analysis and makes no representation or warranty as to the accuracy of the list.)
Shanghai Institute of Measurement and Testing Technology
Original Assignee
Shanghai Institute of Measurement and Testing Technology
Priority date (The priority date is an assumption and is not a legal conclusion. Google has not performed a legal analysis and makes no representation as to the accuracy of the date listed.)
Filing date
Publication date
Application filed by Shanghai Institute of Measurement and Testing Technology filed Critical Shanghai Institute of Measurement and Testing Technology
Priority to CN202010638598.2A priority Critical patent/CN111755955B/en
Publication of CN111755955A publication Critical patent/CN111755955A/en
Application granted granted Critical
Publication of CN111755955B publication Critical patent/CN111755955B/en
Expired - Fee Related legal-status Critical Current
Anticipated expiration legal-status Critical

Links

Images

Classifications

    • HELECTRICITY
    • H02GENERATION; CONVERSION OR DISTRIBUTION OF ELECTRIC POWER
    • H02BBOARDS, SUBSTATIONS OR SWITCHING ARRANGEMENTS FOR THE SUPPLY OR DISTRIBUTION OF ELECTRIC POWER
    • H02B1/00Frameworks, boards, panels, desks, casings; Details of substations or switching arrangements
    • H02B1/16Earthing arrangements
    • HELECTRICITY
    • H02GENERATION; CONVERSION OR DISTRIBUTION OF ELECTRIC POWER
    • H02BBOARDS, SUBSTATIONS OR SWITCHING ARRANGEMENTS FOR THE SUPPLY OR DISTRIBUTION OF ELECTRIC POWER
    • H02B1/00Frameworks, boards, panels, desks, casings; Details of substations or switching arrangements
    • H02B1/18Disposition or arrangement of fuses
    • HELECTRICITY
    • H02GENERATION; CONVERSION OR DISTRIBUTION OF ELECTRIC POWER
    • H02BBOARDS, SUBSTATIONS OR SWITCHING ARRANGEMENTS FOR THE SUPPLY OR DISTRIBUTION OF ELECTRIC POWER
    • H02B1/00Frameworks, boards, panels, desks, casings; Details of substations or switching arrangements
    • H02B1/20Bus-bar or other wiring layouts, e.g. in cubicles, in switchyards
    • HELECTRICITY
    • H05ELECTRIC TECHNIQUES NOT OTHERWISE PROVIDED FOR
    • H05KPRINTED CIRCUITS; CASINGS OR CONSTRUCTIONAL DETAILS OF ELECTRIC APPARATUS; MANUFACTURE OF ASSEMBLAGES OF ELECTRICAL COMPONENTS
    • H05K5/00Casings, cabinets or drawers for electric apparatus
    • H05K5/02Details
    • H05K5/0217Mechanical details of casings
    • HELECTRICITY
    • H05ELECTRIC TECHNIQUES NOT OTHERWISE PROVIDED FOR
    • H05KPRINTED CIRCUITS; CASINGS OR CONSTRUCTIONAL DETAILS OF ELECTRIC APPARATUS; MANUFACTURE OF ASSEMBLAGES OF ELECTRICAL COMPONENTS
    • H05K5/00Casings, cabinets or drawers for electric apparatus
    • H05K5/02Details
    • H05K5/0247Electrical details of casings, e.g. terminals, passages for cables or wiring

Landscapes

  • Engineering & Computer Science (AREA)
  • Power Engineering (AREA)
  • Microelectronics & Electronic Packaging (AREA)
  • Patch Boards (AREA)

Abstract

本发明涉及高压电柜技术领域,具体公开了一种高压电柜接地保护装置,包括保护板、线缆固定板、接线座,所述保护板整体呈“L”型结构,在保护板底部横向设置有卡板,线缆固定板、接线座均固定在保护板侧面;所述保护板上设置有穿线槽以及固定孔,所述线缆固定板设置在穿线槽下方,接线座设置在线缆固定板下方;所述线缆固定板、接线座设置在保护板的同一侧面,卡板设置在另一侧面;所述穿线槽为通槽,在线缆固定板上设置有穿线孔,在接线座上侧设置有接线头,接线座下侧设置有接地母线;本发明所提供的保护结构能够对高压电中不同元器件的导线线缆进行固定,并统一与接地线连接,便于使用,安全性高;装置整体结构简单,拆装方便。

Figure 202010638598

The invention relates to the technical field of high-voltage electrical cabinets, and specifically discloses a grounding protection device for a high-voltage electrical cabinet, comprising a protection plate, a cable fixing plate and a wiring seat. The bottom is provided with a card plate horizontally, and the cable fixing plate and the wiring seat are fixed on the side of the protection plate; the protection plate is provided with a threading groove and a fixing hole, the cable fixing plate is arranged under the threading groove, and the wiring seat is arranged on the side of the protection plate. Below the cable fixing plate; the cable fixing plate and the wiring seat are arranged on the same side of the protection plate, and the clamping plate is arranged on the other side; the threading slot is a through slot, and a threading hole is arranged on the cable fixing plate, A connection head is arranged on the upper side of the wiring seat, and a grounding bus bar is arranged on the lower side of the wiring seat; the protection structure provided by the present invention can fix the wires and cables of different components in high-voltage electricity, and connect them with the grounding wire uniformly, which is convenient for It is easy to use and has high safety; the overall structure of the device is simple, and the disassembly and assembly are convenient.

Figure 202010638598

Description

High-tension electricity cabinet ground protection device
Technical Field
The invention relates to the technical field of high-voltage electric cabinets, in particular to a grounding protection device of a high-voltage electric cabinet.
Background
Grounding is to prevent electric shock or protect the safety of equipment, and a metal chassis or a shell of equipment such as electric power telecommunication equipment is connected with a ground wire; the earth is used as the earth wire of the current loop. In an electrical power system, good electrical connection of the neutral point, housing or support of equipment and consumers to the conductor for the grounding device is called grounding. The function of grounding is to protect the user from electric shock, except for directing some unwanted current or noise interference to the ground.
When the cable in the existing high-voltage cabinet is grounded, the operation is troublesome because a specially arranged grounding device is not provided; and ground connection generating line probably more than one, and the wire is arranged in an intricate way when the wiring, and the arrangement of being inconvenient, bring inconvenience for the maintenance, still have the risk simultaneously, exist the condition that has the electric leakage because of misoperation or other reasons easily.
Disclosure of Invention
The invention aims to provide a grounding protection device for a high-voltage electric cabinet, which aims to solve the problems in the background technology.
In order to achieve the purpose, the invention provides the following technical scheme: a grounding protection device of a high-voltage electric cabinet comprises a protection plate, a cable fixing plate and a wire holder, wherein the protection plate is integrally of an L-shaped structure, a clamping plate is transversely arranged at the bottom of the protection plate, and the cable fixing plate and the wire holder are fixedly connected with the protection plate; the cable fixing plate is arranged below the threading groove, and the wire holder is arranged below the cable fixing plate; the cable fixing plate and the wire holder are arranged on the same side face of the protection plate, and the clamping plate is arranged on the other side face; the wire threading groove is a through groove, a wire threading hole is formed in the cable fixing plate, a connector lug is arranged on the upper side of the connector base, a grounding bus is arranged on the lower side of the connector base, and the connector lug is electrically connected with the grounding bus; the top end of the connector lug is of a round table-shaped structure, and a thread structure is arranged on the side surface of the round table; the side faces of the clamping plate and the corresponding protection plate are provided with insulating pads, and the insulating pads are made of silica gel materials; the grounding bus is connected with a grounding protection circuit, and the grounding protection circuit is connected with a grounding component.
In the scheme, the cable fixing plate and the wire holder are both strip-shaped plates, have the same length and are arranged in parallel; the wire through holes are uniformly arranged in a plurality along the length direction of the cable fixing plate, the wire connectors are uniformly arranged in a plurality along the length direction of the wire holder, and the wire through holes are aligned with the wire connectors one by one; different cables penetrating out of the high-voltage cabinet can be conveniently matched through the arrangement, and the high-voltage cabinet is more convenient to use.
The threading groove in the cable fixing plate is a long strip-shaped through groove, the cross section of the threading groove is of an isosceles trapezoid structure, the threading groove of the trapezoid structure facilitates the threading and bending of the cable, the trapezoid upper bottom is positioned on the side surface of the protection plate where the clamping plate is positioned, and the trapezoid lower bottom is positioned on the other side surface. The side surface of the cable fixing plate is provided with a fastening pin through threads, the tail end of the fastening pin is positioned in the threading hole, and the tail end of the fastening pin is provided with a fastening piece; one side of the threading hole is provided with a semicircular cambered surface, and the other side of the threading hole is provided with a plane; the fastening pin penetrates from one side of the plane, the fastening piece is made of an elastic metal material, the arc-shaped structure of the fastening piece is convenient for clamping the round cable, and the fastening piece made of the elastic metal material is suitable for cables of different sizes. The tail end of the fastening pin is provided with a limiting plate through a rotating shaft, and the limiting plate is mutually propped against the wall of the threading hole; the rotation of fastening pin can not drive the limiting plate and rotate to the mounting plate only carries out the back-and-forth movement and does not rotate, and it is more convenient to use.
The grounding protection circuit comprises an isolating switch, a first current-limiting fuse and a second current-limiting fuse, wherein the isolating switch is connected with a grounding bus; first current-limiting fuse, second current-limiting fuse are parallelly connected each other, and two one end and isolator interconnect, the two other end and treater interconnect, the treater is connected with current transformer, current transformer and ground connection subassembly interconnect. The first current-limiting fuse is connected with a voltage transformer, the second current-limiting fuse is connected with a vacuum contactor, and the processor is provided with an alarm. The grounding protection circuit can realize reliable grounding of the grounding bus and arc extinction.
The grounding assembly comprises an outer grounding piece and an inner grounding piece, the outer grounding piece and the inner grounding piece are made of metal materials, the outer grounding piece is electrically connected with the grounding protection circuit, and the bottom of the inner grounding piece is of a conical structure. The outer grounding piece is sleeved outside the inner grounding piece, a spring is arranged inside the outer grounding piece, and the spring is connected with the top end of the inner grounding piece. The top end of the inner grounding piece can movably stretch out and draw back in the outer grounding piece, so that the grounding device is suitable for grounding positions with different heights, and is more convenient for practical application.
Compared with the prior art, the invention has the beneficial effects that: the protection structure provided by the invention can fix the lead cables of different components in high voltage, is convenient to arrange and store, and is convenient for subsequent overhaul and troubleshooting; the wires are uniformly connected with the grounding wire, so that the disorder condition of the cable is reduced, and the safety is high; the device is simple in overall structure and convenient to disassemble and assemble, is integrally connected to the back side of the high-voltage cabinet, is not easily contacted by the outside, avoids the electric shock condition and is high in safety; the ground protection circuit who sets up can play the effect of arc extinction, and then improves the security and the reliability that the high-voltage board used.
Drawings
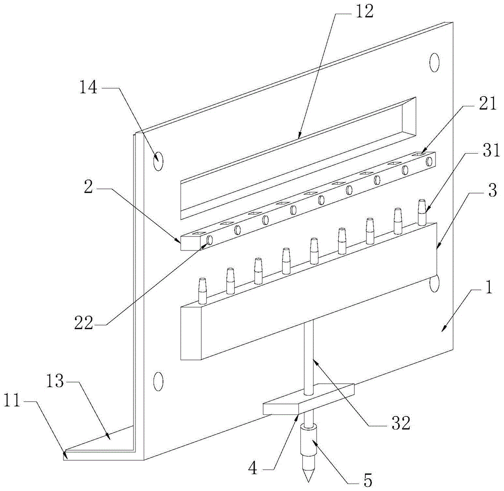
FIG. 1 is a schematic structural view of the present invention;
FIG. 2 is a schematic cross-sectional view of a protective plate according to the present invention;
FIG. 3 is a schematic view of a cable retaining plate according to the present invention;
FIG. 4 is a schematic diagram of a ground protection circuit according to the present invention;
FIG. 5 is a schematic view of a grounding assembly according to the present invention;
reference numbers in the figures: 1. a protection plate; 11. clamping a plate; 12. a threading slot; 13. an insulating pad; 14. a fixing hole; 2. a cable fixing plate; 21. threading holes; 22. fastening a pin; 23. a fastening tab; 24. a limiting plate; 3. a wire holder; 31. a connector lug; 32. a ground bus; 4. a ground protection circuit; 41. an isolating switch; 42. a first current limiting fuse; 43. a second current limiting fuse; 44. a voltage transformer; 45. a vacuum contactor; 46. a processor; 47. a current transformer; 5. a ground component; 51. an outer ground member; 52. an inner ground member; 53. a spring.
Detailed Description
The technical solutions in the embodiments of the present invention will be clearly and completely described below with reference to the drawings in the embodiments of the present invention, and it is obvious that the described embodiments are only a part of the embodiments of the present invention, and not all of the embodiments. All other embodiments, which can be derived by a person skilled in the art from the embodiments given herein without making any creative effort, shall fall within the protection scope of the present invention.
In the description of the present invention, it should be noted that the terms "vertical", "upper", "lower", "horizontal", and the like indicate orientations or positional relationships based on those shown in the drawings, and are only for convenience of describing the present invention and simplifying the description, but do not indicate or imply that the referred device or element must have a specific orientation, be constructed in a specific orientation, and be operated, and thus, should not be construed as limiting the present invention.
In the description of the present invention, it should also be noted that, unless otherwise explicitly specified or limited, the terms "disposed," "mounted," "connected," and "connected" are to be construed broadly and may, for example, be fixedly connected, detachably connected, or integrally connected; can be mechanically or electrically connected; they may be connected directly or indirectly through intervening media, or they may be interconnected between two elements. The specific meanings of the above terms in the present invention can be understood by those skilled in the art according to specific situations.
Referring to fig. 1-5, the present invention provides a technical solution: a grounding protection device of a high-voltage electric cabinet comprises a protection plate 1, a cable fixing plate 2 and a wire holder 3, wherein the protection plate 1 is integrally of an L-shaped structure, a clamping plate 11 is transversely arranged at the bottom of the protection plate 1, and the cable fixing plate 2 and the wire holder 3 are fixedly connected with the protection plate 1; the protective plate 1 is provided with a threading groove 12 and a fixing hole 14, the cable fixing plate 2 is arranged below the threading groove 12, and the wire holder 3 is arranged below the cable fixing plate 2; the cable fixing plate 2 and the wire holder 3 are arranged on the same side face of the protection plate 1, and the clamping plate 11 is arranged on the other side face; the threading groove 12 is a through groove, a threading hole 21 is formed in the cable fixing plate 2, a connector lug 31 is arranged on the upper side of the connector base 3, a grounding bus 32 is arranged on the lower side of the connector base 3, and the connector lug 31 is electrically connected with the grounding bus 32; the top end of the connector lug 31 is of a round table-shaped structure, and a thread structure is arranged on the side surface of the round table; the side faces of the clamping plate 11 and the corresponding protection plate 1 are provided with insulating pads 13, and the insulating pads 13 are made of silica gel materials; the grounding bus 32 is connected with a grounding protection circuit 4, and the grounding protection circuit 4 is connected with a grounding component 5.
In the scheme, the cable fixing plate 2 and the wire holder 3 are both strip-shaped plates, have the same length and are arranged in parallel; threading hole 21 evenly is provided with a plurality ofly along 2 length direction of cable fixed plate, connector lug 31 evenly is provided with a plurality ofly along 3 length direction of connection terminal, and threading hole 21 and connector lug 31 align one by one. The threading groove 12 is a strip-shaped through groove, the cross section of the threading groove 12 is of an isosceles trapezoid structure, the upper bottom of the trapezoid is positioned on the side face of the protection plate 1 where the clamping plate 11 is positioned, and the lower bottom of the trapezoid is positioned on the other side face. Different cables penetrating out of the high-voltage cabinet are conveniently matched, and the use is more convenient. The threading groove 12 of trapezium structure makes things convenient for wearing out and buckling of cable.
The side of the cable fixing plate 2 is provided with a fastening pin 22 through threads, the tail end of the fastening pin 22 is provided with a fastening piece 23, and the fastening piece 23 is made of elastic metal materials. The fastening pin 22 is screwed, so that the fastening piece 23 at the tail end of the fastening pin is driven to move back and forth, and the cable is clamped with the wall of the other side of the threading hole 21 to fix the cable; the fastening piece 23 is arc-shaped and matched with the hole wall of the arc-shaped threading hole 21, so that the round cable can be clamped conveniently. The fastening tabs 23 made of resilient metal material are suitable for cables of different sizes.
The fastening piece 23 is arranged on the limiting plate 24, the limiting plate 24 is mutually abutted with the hole wall of the threading hole 21, and meanwhile, the limiting plate 24 is connected with the tail end of the fastening pin 22 through a rotating shaft; the rotation of the fastening pin 22 does not drive the stopper plate 24 to rotate, so that the fastening piece 23 only moves back and forth without rotating, and the use is more convenient.
The ground protection circuit 4 comprises an isolating switch 41, a first current limiting fuse 42 and a second current limiting fuse 43, wherein the isolating switch 41 is connected with the ground bus 32; first current-limiting fuse 42, second current-limiting fuse 43 are parallelly connected each other, and both one end and isolator 41 interconnect, and the both other end and treater 46 interconnect, treater 46 is connected with current transformer 47, current transformer 47 and ground subassembly 5 interconnect. The first current limiting fuse 42 is connected with a voltage transformer 44, the second current limiting fuse 43 is connected with a vacuum contactor 45, and the processor 46 is provided with an alarm. The ground protection circuit 4 can reliably ground the ground bus 32 and extinguish the arc.
The grounding assembly 5 comprises an outer grounding piece 51 and an inner grounding piece 52, wherein the outer grounding piece 51 and the inner grounding piece 52 are both made of metal materials, the outer grounding piece 51 is electrically connected with the grounding protection circuit 4, and the bottom of the inner grounding piece 52 is set to be in a conical structure. The outer ground member 51 is fitted over the inner ground member 52, and a spring 53 is provided inside the outer ground member 51, the spring 53 being connected to the tip of the inner ground member 52. The top end of the inner grounding piece 52 can movably extend and retract in the outer grounding piece 51, so that the grounding device is suitable for grounding positions with different heights, and is more convenient for practical application.
The working principle is as follows: in the actual use process, the protection plate 1 is arranged on the back side of the high-voltage cabinet, the back side of the high-voltage cabinet is provided with a wire outlet groove for the internal cable to pass through, and the wire outlet groove is aligned with the threading groove 12 of the protection plate 1; the protection plate 1 is fixedly connected with the high-voltage board through a fixing hole 14 by using a screw, and a clamping plate 11 at the bottom of the protection plate is clamped at the bottom of the high-voltage board. The cable passes from threading groove 14, later buckles the cable downwards, selects near to penetrate in the threading hole 21 of cable fixed plate 2 to be connected with connector lug 31 on the wire holder 3, later is connected ground connection with ground connection protection circuit 4, ground connection subassembly 5 again, fixes the cable in threading hole 21 through fastening pin 22 simultaneously, accomplishes the use.
The top of round platform shape connector lug 31 is through setting up helicitic texture, can conveniently carry out the winding with the cable and be connected, and is convenient fixed. Cardboard 11 and the protection shield 1 side that corresponds are provided with insulating pad 13, and insulating pad 13 structure that silica gel made can avoid protection shield 1 electrified, avoids the emergence of electric shock incident.
The ground bus 32 is directly connected with the isolating switch 41 in the ground protection circuit 4, the isolating switch 41 is connected with a first current-limiting fuse 42 and a second current-limiting fuse 43, the first current-limiting fuse 42 and the second current-limiting fuse 43 are connected in parallel, a voltage transformer 44 and a vacuum contactor 45 are simultaneously connected respectively, the first current-limiting fuse 42 and the second current-limiting fuse 43 are connected with a processor 46, and the processor 46 is connected with the ground component 5 through a current transformer 47.
Normally, the vacuum contactor 45 is disconnected, and when a leakage fault occurs in the high-voltage cabinet, the leakage of the ground bus 32 is led into the grounding assembly 5 through the branch where the voltage transformer 44 is located, and then is grounded; when a ground short circuit fault occurs in the high-voltage cabinet, the processor 46 outputs a control signal to the vacuum contactor 45, and the grounding bus 32 is led into the grounding assembly 5 through a branch where the second current-limiting fuse 43 is grounded so as to be grounded; the arc extinction function can be achieved, and therefore the operation safety and reliability of the high-voltage cabinet are improved. The processor 46 is also provided with an alarm to give an alarm when an accident occurs, and timely informs workers to process the accident.
The bottom end of the inner grounding piece 52 is arranged to be conical, so that the inner grounding piece can be conveniently inserted into the ground; the outer ground piece 51 and the inner ground piece 52 are connected by a spring 53, which is advantageous for maintaining the stability of the overall structure.
Although embodiments of the present invention have been shown and described, it will be appreciated by those skilled in the art that changes, modifications, substitutions and alterations can be made in these embodiments without departing from the principles and spirit of the invention, the scope of which is defined in the appended claims and their equivalents.

Claims (6)

1. The utility model provides a high-tension electricity cabinet ground protection device which characterized in that: the cable protection device comprises a protection plate (1), a cable fixing plate (2) and a wire holder (3), wherein the protection plate (1) is integrally of an L-shaped structure, a clamping plate (11) is transversely arranged at the bottom of the protection plate (1), and the cable fixing plate (2) and the wire holder (3) are fixedly connected with the protection plate (1); the cable protection device is characterized in that a threading groove (12) and a fixing hole (14) are formed in the protection plate (1), the cable fixing plate (2) is arranged below the threading groove (12), and the wire holder (3) is arranged below the cable fixing plate (2); the cable fixing plate (2) and the wire holder (3) are arranged on the same side face of the protection plate (1), and the clamping plate (11) is arranged on the other side face; the wire threading groove (12) is a through groove, a wire threading hole (21) is formed in the cable fixing plate (2), a connector lug (31) is arranged on the upper side of the connector base (3), a grounding bus (32) is arranged on the lower side of the connector base (3), and the connector lug (31) is electrically connected with the grounding bus (32); the top end of the connector lug (31) is of a round table-shaped structure, and a thread structure is arranged on the side surface of the round table; the side faces of the clamping plate (11) and the corresponding protection plate (1) are provided with insulating pads (13), and the insulating pads (13) are made of silica gel materials; the grounding bus (32) is connected with a grounding protection circuit (4), and the grounding protection circuit (4) is connected with a grounding component (5);
a fastening pin (22) is installed on the side face of the cable fixing plate (2) through threads, the tail end of the fastening pin (22) is located in the threading hole (21), and a fastening piece (23) is arranged at the tail end of the fastening pin (22); one side of the threading hole (21) is a semicircular cambered surface, and the other side of the threading hole is a plane; the fastening pin (22) penetrates from one side of the plane, the fastening piece (23) is made of elastic metal materials, and the fastening piece (23) is of an arc-shaped structure;
the grounding protection circuit (4) comprises an isolating switch (41), a first current-limiting fuse (42) and a second current-limiting fuse (43), wherein the isolating switch (41) is connected with a grounding bus (32); the first current-limiting fuse (42) and the second current-limiting fuse (43) are connected in parallel, one end of each of the first current-limiting fuse and the second current-limiting fuse is connected with the isolating switch (41), the other end of each of the first current-limiting fuse and the second current-limiting fuse is connected with the processor (46), the processor (46) is connected with the current transformer (47), and the current transformer (47) is connected with the grounding assembly (5);
the grounding assembly (5) comprises an outer grounding piece (51) and an inner grounding piece (52), the outer grounding piece (51) and the inner grounding piece (52) are made of metal materials, the outer grounding piece (51) is electrically connected with the grounding protection circuit (4), and the bottom of the inner grounding piece (52) is set to be of a conical structure.
2. The grounding protection device for the high-voltage electric cabinet according to claim 1, wherein: the cable fixing plate (2) and the wire holder (3) are both strip-shaped plates, have the same length and are arranged in parallel; through wires hole (21) evenly are provided with a plurality ofly along cable fixed plate (2) length direction, connector lug (31) evenly is provided with a plurality ofly along connector lug (3) length direction, and through wires hole (21) and connector lug (31) align one by one.
3. The grounding protection device for the high-voltage electric cabinet according to claim 1, wherein: the threading groove (12) is a long strip-shaped through groove, the cross section of the threading groove (12) is of an isosceles trapezoid structure, the upper bottom of the trapezoid is positioned on the side face of the protection plate (1) where the clamping plate (11) is positioned, and the lower bottom of the trapezoid is positioned on the other side face.
4. The grounding protection device for the high-voltage electric cabinet according to claim 1, wherein: a limiting plate (24) is mounted at the tail end of the fastening pin (22) through a rotating shaft, and the limiting plate (24) is mutually abutted to the wall of the threading hole (21); the fastening piece (23) is fixedly arranged on the limiting plate (24).
5. The grounding protection device for the high-voltage electric cabinet according to claim 1, wherein: the first current limiting fuse (42) is connected with a voltage transformer (44), the second current limiting fuse (43) is connected with a vacuum contactor (45), and the processor (46) is provided with an alarm.
6. The grounding protection device for the high-voltage electric cabinet according to claim 1, wherein: the outer grounding piece (51) is sleeved outside the inner grounding piece (52), a spring (53) is arranged inside the outer grounding piece (51), and the spring (53) is connected with the top end of the inner grounding piece (52).
CN202010638598.2A 2020-07-02 2020-07-02 High-tension electricity cabinet ground protection device Expired - Fee Related CN111755955B (en)

Priority Applications (1)

Application Number Priority Date Filing Date Title
CN202010638598.2A CN111755955B (en) 2020-07-02 2020-07-02 High-tension electricity cabinet ground protection device

Applications Claiming Priority (1)

Application Number Priority Date Filing Date Title
CN202010638598.2A CN111755955B (en) 2020-07-02 2020-07-02 High-tension electricity cabinet ground protection device

Publications (2)

Publication Number Publication Date
CN111755955A CN111755955A (en) 2020-10-09
CN111755955B true CN111755955B (en) 2022-03-11

Family

ID=72679282

Family Applications (1)

Application Number Title Priority Date Filing Date
CN202010638598.2A Expired - Fee Related CN111755955B (en) 2020-07-02 2020-07-02 High-tension electricity cabinet ground protection device

Country Status (1)

Country Link
CN (1) CN111755955B (en)

Families Citing this family (2)

* Cited by examiner, † Cited by third party
Publication number Priority date Publication date Assignee Title
CN112582161B (en) * 2020-11-20 2022-04-26 许继(厦门)智能电力设备股份有限公司 Quick grounding device of current transformer
CN114050331A (en) * 2021-10-20 2022-02-15 萨瑞新能源技术(苏州)有限公司 Grounding structure of energy storage battery module frame

Family Cites Families (5)

* Cited by examiner, † Cited by third party
Publication number Priority date Publication date Assignee Title
CN108475902B (en) * 2016-01-15 2021-10-26 三菱电机株式会社 Switching device
CN109216950B (en) * 2018-09-25 2020-09-01 四川知创知识产权运营有限公司 Electric power engineering earthing device
CN208971068U (en) * 2018-11-16 2019-06-11 安徽今朝通信技术有限公司 Communication equipment is routed wire carding plate
CN209948082U (en) * 2019-07-17 2020-01-14 浙江图盛输变电工程有限公司 A ground terminal device
CN110389276B (en) * 2019-08-06 2024-10-15 安徽凯川电力保护设备有限公司 Single-phase grounding fault management system and method

Also Published As

Publication number Publication date
CN111755955A (en) 2020-10-09

Similar Documents

Publication Publication Date Title
CN209513877U (en) Three-phase meter plug-in
CN111755955B (en) High-tension electricity cabinet ground protection device
CN104393495A (en) Socket and cable output-compatible centrally-arranged bus-through two-side power distribution high-reliability PDU (Power Distribution Unit)
CN108037479B (en) A new type of intelligent test junction box
CN204167689U (en) Compatible socket and cable export the highly reliable PDU of mid-through bus both sides distribution
CN218939548U (en) Electronic automatic reclosing power supply protector
CN208127444U (en) The mounting structure of connecting terminal
CN216212436U (en) Tensile cable with stranded conductor cores
CN106486869B (en) Slidingtype electrical power distribution apparatus and socket with the electrical power distribution apparatus
CN216145778U (en) Intelligent terminal access device
CN112993602A (en) Secondary current and voltage loop wiring terminal
CN209104386U (en) A kind of ground terminal
CN208608417U (en) A kind of novel cable plug is extracted and insertion safety device
CN206195068U (en) High current self-locking connector
CN221240120U (en) Intelligent direct protection integrated single-core grounding box
CN222508046U (en) Voltage sampling device and circuit breaker
CN222191150U (en) A high voltage grounding device
CN220122238U (en) Power supply overvoltage protection device of distribution network automation equipment
CN221353327U (en) AC socket with shielding
CN221529613U (en) Low-voltage side protection device
CN113644638B (en) Lightning protection device and 1U equipment
CN210723800U (en) Photoelectric component overvoltage protection device convenient to install
CN218730464U (en) High-voltage isolating switch
CN223713087U (en) Longitudinal and transverse multifunctional lightning protection branching terminal base
CN222600774U (en) Wire harness switch with wire harness storage structure

Legal Events

Date Code Title Description
PB01 Publication
PB01 Publication
SE01 Entry into force of request for substantive examination
SE01 Entry into force of request for substantive examination
GR01 Patent grant
GR01 Patent grant
CF01 Termination of patent right due to non-payment of annual fee

Granted publication date: 20220311

CF01 Termination of patent right due to non-payment of annual fee