CN111730203A - A laser welding positioning and rotating fixture - Google Patents
A laser welding positioning and rotating fixture Download PDFInfo
- Publication number
- CN111730203A CN111730203A CN202010660753.0A CN202010660753A CN111730203A CN 111730203 A CN111730203 A CN 111730203A CN 202010660753 A CN202010660753 A CN 202010660753A CN 111730203 A CN111730203 A CN 111730203A
- Authority
- CN
- China
- Prior art keywords
- frame
- welding
- rotating
- platform
- smelting tool
- Prior art date
- Legal status (The legal status is an assumption and is not a legal conclusion. Google has not performed a legal analysis and makes no representation as to the accuracy of the status listed.)
- Pending
Links
Images
Classifications
-
- B—PERFORMING OPERATIONS; TRANSPORTING
- B23—MACHINE TOOLS; METAL-WORKING NOT OTHERWISE PROVIDED FOR
- B23K—SOLDERING OR UNSOLDERING; WELDING; CLADDING OR PLATING BY SOLDERING OR WELDING; CUTTING BY APPLYING HEAT LOCALLY, e.g. FLAME CUTTING; WORKING BY LASER BEAM
- B23K26/00—Working by laser beam, e.g. welding, cutting or boring
- B23K26/08—Devices involving relative movement between laser beam and workpiece
- B23K26/0823—Devices involving rotation of the workpiece
-
- B—PERFORMING OPERATIONS; TRANSPORTING
- B23—MACHINE TOOLS; METAL-WORKING NOT OTHERWISE PROVIDED FOR
- B23K—SOLDERING OR UNSOLDERING; WELDING; CLADDING OR PLATING BY SOLDERING OR WELDING; CUTTING BY APPLYING HEAT LOCALLY, e.g. FLAME CUTTING; WORKING BY LASER BEAM
- B23K26/00—Working by laser beam, e.g. welding, cutting or boring
- B23K26/20—Bonding
- B23K26/21—Bonding by welding
-
- B—PERFORMING OPERATIONS; TRANSPORTING
- B23—MACHINE TOOLS; METAL-WORKING NOT OTHERWISE PROVIDED FOR
- B23K—SOLDERING OR UNSOLDERING; WELDING; CLADDING OR PLATING BY SOLDERING OR WELDING; CUTTING BY APPLYING HEAT LOCALLY, e.g. FLAME CUTTING; WORKING BY LASER BEAM
- B23K26/00—Working by laser beam, e.g. welding, cutting or boring
- B23K26/70—Auxiliary operations or equipment
- B23K26/702—Auxiliary equipment
-
- B—PERFORMING OPERATIONS; TRANSPORTING
- B23—MACHINE TOOLS; METAL-WORKING NOT OTHERWISE PROVIDED FOR
- B23K—SOLDERING OR UNSOLDERING; WELDING; CLADDING OR PLATING BY SOLDERING OR WELDING; CUTTING BY APPLYING HEAT LOCALLY, e.g. FLAME CUTTING; WORKING BY LASER BEAM
- B23K37/00—Auxiliary devices or processes, not specially adapted for a procedure covered by only one of the other main groups of this subclass
- B23K37/04—Auxiliary devices or processes, not specially adapted for a procedure covered by only one of the other main groups of this subclass for holding or positioning work
- B23K37/0426—Fixtures for other work
- B23K37/0435—Clamps
Landscapes
- Engineering & Computer Science (AREA)
- Physics & Mathematics (AREA)
- Optics & Photonics (AREA)
- Mechanical Engineering (AREA)
- Plasma & Fusion (AREA)
- Laser Beam Processing (AREA)
Abstract
本发明公开了一种激光焊接定位旋转治具,包括机架,所述机架为水平固定设置的平板,所述机架上部固定设有焊接旋转压紧模组,所述机架下部固定设有冶具旋转工作台,所述冶具旋转工作台包括冶具定位平台,所述冶具定位平台贯通机架设置,所述冶具定位平台上端设置有用于放置发热盘的旋转平台,所述旋转平台设置在机架上方,所述焊接旋转压紧模组包括设置在旋转平台正上方的压紧机构。本发明克服现有技术缺点,结构合理,能够有效地提高焊接定位精度,旋转速度均匀而不影响焊接质量,使焊接精度与焊疤均匀密封性好,能起到精确焊接产品圆柱曲面的效果,满足多种类型零件的激光焊接需求。
The invention discloses a laser welding positioning and rotating fixture, comprising a frame, wherein the frame is a flat plate fixed horizontally, a welding and rotating pressing module is fixedly arranged on the upper part of the frame, and a lower part of the frame is fixedly arranged There is a smelting tool rotating workbench, the smelting tool rotating workbench includes a smelting tool positioning platform, the smelting tool positioning platform is arranged through the frame, the upper end of the smelting tool positioning platform is provided with a rotating platform for placing the heating plate, and the rotating platform is arranged on the machine. Above the frame, the welding and rotating pressing module includes a pressing mechanism arranged just above the rotating platform. The invention overcomes the shortcomings of the prior art, has a reasonable structure, can effectively improve the welding positioning accuracy, the rotation speed is uniform without affecting the welding quality, the welding accuracy and the welding scar are uniform and the sealing performance is good, and the effect of accurately welding the cylindrical surface of the product can be achieved. Meet the needs of laser welding of various types of parts.
Description
技术领域technical field
本发明涉及焊接冶具技术领域,具体是指一种激光焊接定位旋转治具。The invention relates to the technical field of welding tools, in particular to a laser welding positioning and rotating fixture.
背景技术Background technique
治具作为协助控制位置或动作(或者,位置和动作都协助控制)的一种工具,目前被广泛应用于各个领域,而激光焊接领域目前属较为先进的高精度焊接技术,对治具的定位精度等都有很高的要求,随着自动化的提高,目前大部分治具都存在精度不够,无法实现自动旋转以及旋转过程中不均匀等情况。现有技术中对例如发热盘这种圆形需要沿周向不断焊接的部件,通过将部件放置在旋转平台上,直接焊接,会出现旋转不稳定,部件晃动等导致精度不够的情况,而且需要针对不同大小尺寸的部件制作固定夹具,提高成本且极不方便,因此亟待改进。As a tool to assist in the control of position or action (or both position and action), the fixture is currently widely used in various fields, and the field of laser welding is currently a relatively advanced high-precision welding technology. There are high requirements for precision, etc. With the improvement of automation, most of the current fixtures have insufficient precision, cannot achieve automatic rotation, and are uneven in the rotation process. In the prior art, for a circular component such as a heating plate that needs to be continuously welded in the circumferential direction, by placing the component on a rotating platform and welding directly, there will be rotational instability, component shaking, etc. resulting in insufficient precision, and the need for Making fixing fixtures for components of different sizes increases the cost and is extremely inconvenient, and therefore needs to be improved.
发明内容SUMMARY OF THE INVENTION
本发明要解决的技术问题是,克服现有技术缺点,提供一种激光焊接定位旋转治具,结构合理,能够有效地提高焊接定位精度,旋转速度均匀而不影响焊接质量,使焊接精度与焊疤均匀密封性好,能起到精确焊接产品圆柱曲面的效果,满足多种类型零件的激光焊接需求。The technical problem to be solved by the present invention is to overcome the shortcomings of the prior art, and to provide a laser welding positioning and rotating fixture, which has a reasonable structure, can effectively improve the welding positioning accuracy, and the rotation speed is uniform without affecting the welding quality, so that the welding accuracy is comparable to the welding quality. The scar is uniform and has good sealing performance, which can achieve the effect of accurately welding the cylindrical surface of the product and meet the laser welding requirements of various types of parts.
为解决上述技术问题,本发明提供的技术方案为:一种激光焊接定位旋转治具,包括机架,所述机架为水平固定设置的平板,所述机架上部固定设有焊接旋转压紧模组,所述机架下部固定设有冶具旋转工作台,所述冶具旋转工作台包括冶具定位平台,所述冶具定位平台贯通机架设置,所述冶具定位平台上端设置有用于放置发热盘的旋转平台,所述旋转平台设置在机架上方,所述焊接旋转压紧模组包括设置在旋转平台正上方的压紧机构,所述压紧机构下端设置有旋转顶尖,所述旋转顶尖下压用于固定发热盘的中心位置处。In order to solve the above technical problems, the technical solution provided by the present invention is: a laser welding positioning and rotating fixture, including a frame, the frame is a flat plate fixed horizontally, and the upper part of the frame is fixed with a welding rotary pressing Module, the lower part of the frame is fixed with a smelting tool rotating worktable, the smelting tool rotating workbench includes a smelting tool positioning platform, the smelting tool positioning platform is arranged through the frame, and the upper end of the smelting tool positioning platform is provided with a heating plate for placing the heating plate. A rotating platform, the rotating platform is arranged above the frame, the welding and rotating pressing module includes a pressing mechanism arranged directly above the rotating platform, the lower end of the pressing mechanism is provided with a rotating top, and the rotating top presses down It is used to fix the central position of the heating plate.
进一步的,所述焊接旋转压紧模组通过立柱固定在机架上表面,所述立柱上端连接横梁一端,所述横梁另一端设置有压紧机构,所述压紧机构包括固定在横梁上的气缸,所述气缸的活塞杆端转动连接旋转顶尖,通过气缸对部件进行加紧。Further, the welding and rotating pressing module is fixed on the upper surface of the frame through a column, the upper end of the column is connected to one end of the beam, the other end of the beam is provided with a pressing mechanism, and the pressing mechanism includes a Cylinder, the piston rod end of the cylinder is rotatably connected to the rotating top, and the components are tightened by the cylinder.
进一步的,所述立柱下端插接固定在机架上的套筒件内,所述套筒件上设置有调节立柱高度的调节螺钉,方便调节立柱高度从而适应不用大小的部件。Further, the lower end of the column is plugged and fixed in a sleeve member on the frame, and the sleeve member is provided with an adjustment screw for adjusting the height of the column, which is convenient to adjust the height of the column and adapt to parts of different sizes.
进一步的,所述横梁下方设置有支撑肋板,所述支撑肋板一侧紧靠立柱,所述支撑肋板底部设置在支撑梁上,所述横梁下部、支撑梁上部分别设有和支撑肋板顶底部相配合的横槽,所述支撑梁一端通过螺钉固定在立柱上,方便更换调节肋板的大小尺寸,从而适应不同尺寸大小的部件进行旋转焊接。Further, a support rib is arranged below the cross beam, one side of the support rib is close to the upright column, the bottom of the support rib is arranged on the support beam, and the lower part of the cross beam and the upper part of the support beam are respectively provided with a support rib and a support rib. The top and bottom of the plate are matched with the horizontal groove, and one end of the support beam is fixed on the column by screws, which is convenient to replace and adjust the size of the rib, so as to adapt to the spin welding of parts of different sizes.
进一步的,所述旋转顶尖套接在气缸的活塞杆端内,且连接处设置有轴承,下压加紧同时,旋转顶尖会随着部件一起转动,不影响部件正常均匀转动。Further, the rotating top is sleeved in the piston rod end of the cylinder, and the connection is provided with a bearing, and at the same time of pressing down and tightening, the rotating top will rotate with the component, which does not affect the normal and uniform rotation of the component.
进一步的,所述冶具旋转工作台还包括固定设置在机架底部的伺服电机,所述冶具定位平台包括中心处转动连接的转轴,所述转轴上端连接旋转平台,所述伺服电机控制转轴下端同步转动,通过电机控制转轴均匀转动。Further, the tool rotating table also includes a servo motor fixedly arranged at the bottom of the frame, the tool positioning platform includes a rotating shaft that is rotatably connected at the center, the upper end of the rotating shaft is connected to the rotating platform, and the servo motor controls the synchronization of the lower end of the rotating shaft. Rotation, the shaft is controlled by the motor to rotate evenly.
进一步的,所述转轴下端设置有带轮一,所述伺服电机的输出轴端连接带轮二,所述带轮一和带轮二之间通过皮带连接,通过带轮皮带传动实现同步运转。Further, the lower end of the rotating shaft is provided with a
本发明与现有技术相比的优点在于:本发明提供的一种焊接定位旋转治具通过旋转顶尖压紧产品,旋转顶尖导向下压,下压后将产品导正,压住产品同时能与产品一同旋转,从而提高了加工精度,伺服电机驱动旋转部件为旋转焊接提供圆周焊接动作,有效地解决焊接过程中定位精度差,旋转速度不均匀影响焊接质量的问题,使焊接精度与焊疤均匀密封性好,提高生产效率,降低工艺成本。Compared with the prior art, the present invention has the advantages that: the welding positioning and rotating fixture provided by the present invention presses the product by rotating the tip, and the rotating tip guides the product to be pressed down. The products rotate together, thereby improving the machining accuracy. The servo motor drives the rotating parts to provide circular welding action for the rotary welding, which effectively solves the problems of poor positioning accuracy and uneven rotation speed during the welding process that affect the welding quality, so that the welding accuracy and welding scars are uniform. Good sealing, improve production efficiency and reduce process cost.
相比于现有技术,本发明的有益效果为:Compared with the prior art, the beneficial effects of the present invention are:
1.本发明的一种旋转焊接治具,可以进行旋转焊接,能够准确定位以及快速夹紧,提高生产效率,治具座能360°旋转,动作灵活,结构简单,能起到精确加工圆柱曲面焊接的效果;1. A rotary welding jig of the present invention can perform rotary welding, can accurately locate and fast clamp, improve production efficiency, the jig seat can rotate 360°, the action is flexible, the structure is simple, and it can accurately process cylindrical surfaces. The effect of welding;
2.本发明中用旋转顶尖压住产品,顶尖导向下压,下压后将产品导正,压住产品同时能与产品一同旋转,从而提高了加工精度;2. In the present invention, the rotating tip is used to press the product, the tip is guided and pressed down, and the product is guided after pressing down, and the product can be pressed and rotated together with the product at the same time, thereby improving the machining accuracy;
3.本发明各电机采用伺服电机能够实现精确控制,从而提高加工精度;3. Each motor of the present invention can be precisely controlled by using a servo motor, thereby improving the machining accuracy;
4.本发明结构简单、易于制造、设计巧妙、实用性高。4. The present invention has the advantages of simple structure, easy manufacture, ingenious design and high practicability.
附图说明Description of drawings
图1是本发明的结构示意图。Figure 1 is a schematic structural diagram of the present invention.
图2是本发明分解的结构示意图。FIG. 2 is a schematic view of the structure of the disassembled structure of the present invention.
图3是本发明中焊接旋转压紧模组的结构示意图。FIG. 3 is a schematic structural diagram of a welding and rotating pressing module in the present invention.
图4是本发明中冶具旋转工作台的结构示意图。FIG. 4 is a schematic view of the structure of the rotary table of the metallurgical tool in the present invention.
图5是本发明中现有技术的焊接示意图。FIG. 5 is a schematic diagram of welding in the prior art of the present invention.
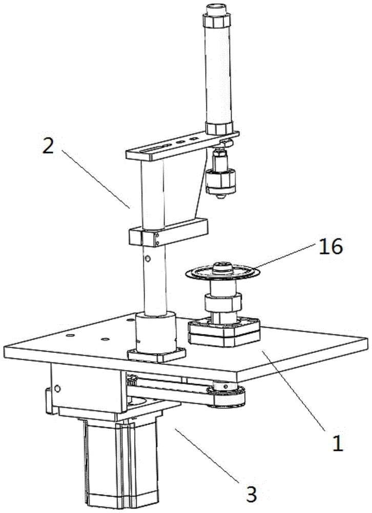
如图所示:1、机架,2、焊接旋转压紧模组,3、冶具旋转工作台,4、冶具定位平台,5、压紧机构,6、旋转平台,7、旋转顶尖,8、立柱,9、横梁,10、气缸,11、套筒件,12、支撑肋板,13、支撑梁,14、伺服电机,15、皮带,16、发热盘。As shown in the picture: 1. Frame, 2. Welding and rotary pressing module, 3. Tooling rotary table, 4. Tooling positioning platform, 5. Pressing mechanism, 6. Rotating platform, 7. Rotating top, 8. Column, 9, beam, 10, cylinder, 11, sleeve piece, 12, support rib, 13, support beam, 14, servo motor, 15, belt, 16, heating plate.
具体实施方式Detailed ways
在本发明的描述中,需要理解的是,术语“中心”、“横向”、“上”、“下”、“左”、“右”、“竖直”、“水平”、“顶”、“底”、“内”、“外”等指示的方位或位置关系为基于附图所示的方位或位置关系,仅是为了便于描述本发明和简化描述,而不是指示或暗示所指的装置或元件必须具有特定的方位、以特定的方位构造和操作,因此不能理解为对本发明的限制。此外,术语“第一”、“第二”仅用于描述目的,而不能理解为指示或暗示相对重要性或者隐含指明所指示的技术特征的数量。由此,限定有“第一”、“第二”的特征可以明示或者隐含地包括一个或者更多个该特征。在本发明的描述中,除非另有说明,“多个”的含义是两个或两个以上。另外,术语“包括”及其任何变形,意图在于覆盖不排他的包含。In the description of the present invention, it should be understood that the terms "center", "lateral", "top", "bottom", "left", "right", "vertical", "horizontal", "top", The orientation or positional relationship indicated by "bottom", "inner", "outer", etc. is based on the orientation or positional relationship shown in the accompanying drawings, and is only for the convenience of describing the present invention and simplifying the description, rather than indicating or implying the indicated device. Or elements must have a particular orientation, be constructed and operate in a particular orientation, and therefore should not be construed as limiting the invention. In addition, the terms "first" and "second" are only used for descriptive purposes, and should not be construed as indicating or implying relative importance or implying the number of indicated technical features. Thus, a feature defined as "first" or "second" may expressly or implicitly include one or more of that feature. In the description of the present invention, unless otherwise specified, "plurality" means two or more. Additionally, the term "comprising" and any variations thereof are intended to cover non-exclusive inclusion.
下面结合附图对本发明做进一步的详细说明。The present invention will be further described in detail below in conjunction with the accompanying drawings.
本发明在具体实施时,一种激光焊接定位旋转治具,包括机架1,所述机架1为水平固定设置的平板,所述机架1上部固定设有焊接旋转压紧模组2,所述机架1下部固定设有冶具旋转工作台3,所述冶具旋转工作台3包括冶具定位平台4,所述冶具定位平台4贯通机架1设置,所述冶具定位平台4上端设置有用于放置发热盘16的旋转平台6,所述旋转平台6设置在机架1上方,所述焊接旋转压紧模组2包括设置在旋转平台6正上方的压紧机构5,所述压紧机构5下端设置有旋转顶尖7,所述旋转顶尖7下压用于固定发热盘16的中心位置处。In the specific implementation of the present invention, a laser welding positioning and rotating jig includes a
所述焊接旋转压紧模组2通过立柱8固定在机架1上表面,所述立柱8下端插接固定在机架1上的套筒件11内,所述套筒件11上设置有调节立柱8高度的调节螺钉,所述立柱8上端连接横梁9一端,所述横梁9另一端设置有压紧机构5,所述压紧机构5包括固定在横梁9上的气缸10,所述气缸10的活塞杆端转动连接旋转顶尖7,所述旋转顶尖7套接在气缸10的活塞杆端内,且连接处设置有轴承,所述横梁9下方设置有支撑肋板12,所述支撑肋板12一侧紧靠立柱8,所述支撑肋板12底部设置在支撑梁13上,所述横梁9下部、支撑梁13上部分别设有和支撑肋板12顶底部相配合的横槽,所述支撑梁13一端通过螺钉固定在立柱8上。The welding and rotating pressing
所述冶具旋转工作台3还包括固定设置在机架1底部的伺服电机14,所述冶具定位平台4包括中心处转动连接的转轴,所述转轴上端连接旋转平台6,所述转轴下端设置有带轮一,所述伺服电机14的输出轴端连接带轮二,所述带轮一和带轮二之间通过皮带15连接。The tool rotating table 3 also includes a
本发明的工作原理:治具旋转工作台固定在机架上,底部设置伺服电气带动同步带轮带动治具座旋转,可旋转360°,同步带轮与治具座相互垂直,压紧机构固定在机架上,与横梁相互垂直,压紧机构下部的旋转顶尖用于压紧产品,下压后将产品导正,实现产品固定的同时,还能同步旋转,从而方便对产品沿周向均匀的完成焊接。The working principle of the present invention: the jig rotating table is fixed on the frame, the bottom is provided with servo electric drive synchronous pulley to drive the jig seat to rotate, can rotate 360°, the synchronous pulley and the jig seat are perpendicular to each other, the pressing mechanism is fixed On the frame, it is perpendicular to the beam, and the rotating tip at the lower part of the pressing mechanism is used to press the product. After pressing down, the product is guided, so that the product can be fixed and rotated synchronously, so as to facilitate the uniformity of the product along the circumferential direction. of completed welding.
以上对本发明及其实施方式进行了描述,这种描述没有限制性,附图中所示的也只是本发明的实施方式之一,实际的结构并不局限于此。总而言之如果本领域的普通技术人员受其启示,在不脱离本发明创造宗旨的情况下,不经创造性的设计出与该技术方案相似的结构方式及实施例,均应属于本发明的保护范围。The present invention and its embodiments have been described above, and the description is not restrictive, and what is shown in the accompanying drawings is only one of the embodiments of the present invention, and the actual structure is not limited thereto. All in all, if those of ordinary skill in the art are inspired by it, and without departing from the purpose of the present invention, any structural modes and embodiments similar to this technical solution are designed without creativity, all should belong to the protection scope of the present invention.
Claims (7)
Priority Applications (1)
| Application Number | Priority Date | Filing Date | Title |
|---|---|---|---|
| CN202010660753.0A CN111730203A (en) | 2020-07-10 | 2020-07-10 | A laser welding positioning and rotating fixture |
Applications Claiming Priority (1)
| Application Number | Priority Date | Filing Date | Title |
|---|---|---|---|
| CN202010660753.0A CN111730203A (en) | 2020-07-10 | 2020-07-10 | A laser welding positioning and rotating fixture |
Publications (1)
| Publication Number | Publication Date |
|---|---|
| CN111730203A true CN111730203A (en) | 2020-10-02 |
Family
ID=72655871
Family Applications (1)
| Application Number | Title | Priority Date | Filing Date |
|---|---|---|---|
| CN202010660753.0A Pending CN111730203A (en) | 2020-07-10 | 2020-07-10 | A laser welding positioning and rotating fixture |
Country Status (1)
| Country | Link |
|---|---|
| CN (1) | CN111730203A (en) |
Cited By (3)
| Publication number | Priority date | Publication date | Assignee | Title |
|---|---|---|---|---|
| CN114619138A (en) * | 2022-03-09 | 2022-06-14 | 长春理工大学 | Follow-up self-load welding head and control method thereof |
| CN114769773A (en) * | 2022-05-19 | 2022-07-22 | 浙江飞剑工贸有限公司 | Titanium heating plate brazing method |
| CN115781019A (en) * | 2023-02-09 | 2023-03-14 | 武汉泛洲精冲有限公司 | High-precision laser welding positioning device |
Citations (8)
| Publication number | Priority date | Publication date | Assignee | Title |
|---|---|---|---|---|
| CA2347287A1 (en) * | 2000-05-25 | 2001-11-25 | Unova Ip Corp. | Laser welding apparatus |
| CN101434006A (en) * | 2008-11-14 | 2009-05-20 | 深圳市大族激光科技股份有限公司 | Laser beam welding workstation |
| CN105621165A (en) * | 2016-01-29 | 2016-06-01 | 北京航空航天大学 | Rotary pressing device used for styrofoam winding of embedded parts |
| CN108072348A (en) * | 2016-11-18 | 2018-05-25 | 中国科学院沈阳自动化研究所 | One kind is based on self-centering gear internal diameter measuring mechanism and its measuring method |
| CN207668802U (en) * | 2018-02-08 | 2018-07-31 | 安吉和田家具有限公司 | A kind of automatic welding device of seat high stable |
| CN110539213A (en) * | 2019-09-17 | 2019-12-06 | 深圳市友创智能设备有限公司 | Automatic grinding device for drill bit |
| CN111112832A (en) * | 2020-01-10 | 2020-05-08 | 深圳市杰普特光电股份有限公司 | Rotary marking device and rotary marking method |
| CN212371418U (en) * | 2020-07-10 | 2021-01-19 | 东莞市吉和金属制品有限公司 | Laser welding positioning rotating jig |
-
2020
- 2020-07-10 CN CN202010660753.0A patent/CN111730203A/en active Pending
Patent Citations (8)
| Publication number | Priority date | Publication date | Assignee | Title |
|---|---|---|---|---|
| CA2347287A1 (en) * | 2000-05-25 | 2001-11-25 | Unova Ip Corp. | Laser welding apparatus |
| CN101434006A (en) * | 2008-11-14 | 2009-05-20 | 深圳市大族激光科技股份有限公司 | Laser beam welding workstation |
| CN105621165A (en) * | 2016-01-29 | 2016-06-01 | 北京航空航天大学 | Rotary pressing device used for styrofoam winding of embedded parts |
| CN108072348A (en) * | 2016-11-18 | 2018-05-25 | 中国科学院沈阳自动化研究所 | One kind is based on self-centering gear internal diameter measuring mechanism and its measuring method |
| CN207668802U (en) * | 2018-02-08 | 2018-07-31 | 安吉和田家具有限公司 | A kind of automatic welding device of seat high stable |
| CN110539213A (en) * | 2019-09-17 | 2019-12-06 | 深圳市友创智能设备有限公司 | Automatic grinding device for drill bit |
| CN111112832A (en) * | 2020-01-10 | 2020-05-08 | 深圳市杰普特光电股份有限公司 | Rotary marking device and rotary marking method |
| CN212371418U (en) * | 2020-07-10 | 2021-01-19 | 东莞市吉和金属制品有限公司 | Laser welding positioning rotating jig |
Cited By (3)
| Publication number | Priority date | Publication date | Assignee | Title |
|---|---|---|---|---|
| CN114619138A (en) * | 2022-03-09 | 2022-06-14 | 长春理工大学 | Follow-up self-load welding head and control method thereof |
| CN114769773A (en) * | 2022-05-19 | 2022-07-22 | 浙江飞剑工贸有限公司 | Titanium heating plate brazing method |
| CN115781019A (en) * | 2023-02-09 | 2023-03-14 | 武汉泛洲精冲有限公司 | High-precision laser welding positioning device |
Similar Documents
| Publication | Publication Date | Title |
|---|---|---|
| CN111730203A (en) | A laser welding positioning and rotating fixture | |
| CN219293140U (en) | Auxiliary device for welding of adjusting type sheet metal cabinet body | |
| CN212371418U (en) | Laser welding positioning rotating jig | |
| CN206899073U (en) | A kind of telescopic jig of field of machining | |
| CN221210366U (en) | Welding robot capable of automatically positioning and adjusting | |
| CN219788274U (en) | Workpiece clamping device | |
| CN219685777U (en) | Cutting machine for producing heat insulation material | |
| CN210651870U (en) | Shell embossing device for electronic product production | |
| CN221435727U (en) | Fixing tool for photovoltaic module bracket machining | |
| CN216576614U (en) | Automatic small-angle high-precision positioning tool | |
| CN222448554U (en) | A fast clamping pneumatic chamfering machine | |
| CN222660484U (en) | Special fixture for automatic laser welding machine | |
| CN218946790U (en) | A rotary clamping platform for welding | |
| CN221210317U (en) | Motor stator welding device | |
| CN111408957A (en) | One-time clamping machining completion combined machine tool | |
| CN223544287U (en) | A multi-functional welding positioner | |
| CN222471210U (en) | An assembly welding device for welding steel parts | |
| CN220863336U (en) | Flexible adjustable positioning device for drilling jig | |
| CN222134167U (en) | Positioning mechanism of numerical control machine tool | |
| CN220127953U (en) | High-efficient high accuracy welded fastening frock | |
| CN223313199U (en) | High-precision blade battery top cover laser full-welding machine | |
| CN220838708U (en) | Omnibearing multifunctional welding frame | |
| CN221454842U (en) | A guiding and positioning structure | |
| CN223572326U (en) | Single-shaft double-linkage gantry type tool | |
| CN223718893U (en) | Novel machining planer-type milling machine |
Legal Events
| Date | Code | Title | Description |
|---|---|---|---|
| PB01 | Publication | ||
| PB01 | Publication | ||
| SE01 | Entry into force of request for substantive examination | ||
| SE01 | Entry into force of request for substantive examination | ||
| RJ01 | Rejection of invention patent application after publication | ||
| RJ01 | Rejection of invention patent application after publication |
Application publication date: 20201002 |
