CN111702235B - 一种铅锭加工生产线 - Google Patents
一种铅锭加工生产线 Download PDFInfo
- Publication number
- CN111702235B CN111702235B CN202010639265.1A CN202010639265A CN111702235B CN 111702235 B CN111702235 B CN 111702235B CN 202010639265 A CN202010639265 A CN 202010639265A CN 111702235 B CN111702235 B CN 111702235B
- Authority
- CN
- China
- Prior art keywords
- plate
- lead ingot
- frame
- connecting rod
- seat
- Prior art date
- Legal status (The legal status is an assumption and is not a legal conclusion. Google has not performed a legal analysis and makes no representation as to the accuracy of the status listed.)
- Active
Links
- WABPQHHGFIMREM-UHFFFAOYSA-N lead(0) Chemical compound [Pb] WABPQHHGFIMREM-UHFFFAOYSA-N 0.000 title claims abstract description 81
- 238000004519 manufacturing process Methods 0.000 title abstract description 19
- 239000000463 material Substances 0.000 claims abstract description 21
- 238000003860 storage Methods 0.000 claims abstract description 14
- 238000000034 method Methods 0.000 claims abstract description 7
- 230000008569 process Effects 0.000 claims abstract description 7
- 238000003825 pressing Methods 0.000 claims description 7
- 230000008859 change Effects 0.000 claims description 3
- 238000005520 cutting process Methods 0.000 abstract description 10
- 238000007599 discharging Methods 0.000 abstract 1
- 230000001360 synchronised effect Effects 0.000 abstract 1
- 238000009966 trimming Methods 0.000 description 5
- 230000032258 transport Effects 0.000 description 4
- 238000003754 machining Methods 0.000 description 2
- 229910001361 White metal Inorganic materials 0.000 description 1
- 230000006978 adaptation Effects 0.000 description 1
- 230000004075 alteration Effects 0.000 description 1
- 230000009286 beneficial effect Effects 0.000 description 1
- 230000007547 defect Effects 0.000 description 1
- 238000009434 installation Methods 0.000 description 1
- 238000012986 modification Methods 0.000 description 1
- 230000004048 modification Effects 0.000 description 1
- 238000006467 substitution reaction Methods 0.000 description 1
- 230000007306 turnover Effects 0.000 description 1
- 239000010969 white metal Substances 0.000 description 1
Images
Classifications
-
- B—PERFORMING OPERATIONS; TRANSPORTING
- B23—MACHINE TOOLS; METAL-WORKING NOT OTHERWISE PROVIDED FOR
- B23D—PLANING; SLOTTING; SHEARING; BROACHING; SAWING; FILING; SCRAPING; LIKE OPERATIONS FOR WORKING METAL BY REMOVING MATERIAL, NOT OTHERWISE PROVIDED FOR
- B23D7/00—Planing or slotting machines characterised only by constructional features of particular parts
-
- B—PERFORMING OPERATIONS; TRANSPORTING
- B23—MACHINE TOOLS; METAL-WORKING NOT OTHERWISE PROVIDED FOR
- B23Q—DETAILS, COMPONENTS, OR ACCESSORIES FOR MACHINE TOOLS, e.g. ARRANGEMENTS FOR COPYING OR CONTROLLING; MACHINE TOOLS IN GENERAL CHARACTERISED BY THE CONSTRUCTION OF PARTICULAR DETAILS OR COMPONENTS; COMBINATIONS OR ASSOCIATIONS OF METAL-WORKING MACHINES, NOT DIRECTED TO A PARTICULAR RESULT
- B23Q7/00—Arrangements for handling work specially combined with or arranged in, or specially adapted for use in connection with, machine tools, e.g. for conveying, loading, positioning, discharging, sorting
-
- B—PERFORMING OPERATIONS; TRANSPORTING
- B23—MACHINE TOOLS; METAL-WORKING NOT OTHERWISE PROVIDED FOR
- B23Q—DETAILS, COMPONENTS, OR ACCESSORIES FOR MACHINE TOOLS, e.g. ARRANGEMENTS FOR COPYING OR CONTROLLING; MACHINE TOOLS IN GENERAL CHARACTERISED BY THE CONSTRUCTION OF PARTICULAR DETAILS OR COMPONENTS; COMBINATIONS OR ASSOCIATIONS OF METAL-WORKING MACHINES, NOT DIRECTED TO A PARTICULAR RESULT
- B23Q7/00—Arrangements for handling work specially combined with or arranged in, or specially adapted for use in connection with, machine tools, e.g. for conveying, loading, positioning, discharging, sorting
- B23Q7/04—Arrangements for handling work specially combined with or arranged in, or specially adapted for use in connection with, machine tools, e.g. for conveying, loading, positioning, discharging, sorting by means of grippers
Landscapes
- Engineering & Computer Science (AREA)
- Mechanical Engineering (AREA)
- Manufacture And Refinement Of Metals (AREA)
- Processing Of Stones Or Stones Resemblance Materials (AREA)
Abstract
本发明公开了一种铅锭加工生产线,包括机械臂、工作台和运料车,运料车设置在轨道上,轨道与工作台平行设置;机械臂位于工作台和运料车之间,机械臂的一侧为待加工铅锭存放工位,机械臂的另一侧为已加工铅锭存放工位;机械臂的工作端连接有电动缸,电动缸的伸缩端连接有机械抓手;工作台的上部长度方向的两侧均设有门型架;本发明实现铅锭自动化加工,从而提高生产效率、节省人力,机械臂驱动机械抓手完成码垛、上料、卸料操作,机械抓手具有轻量化、同步精准的特点,可在仅有的空间内实现同步动作;油缸将待加工铅锭推向两组刨切工装,实现切边作业,可以满足加工不同规格的铅锭生产需求。
Description
技术领域
本发明涉及铅锭加工技术领域,具体为一种铅锭加工生产线。
背景技术
铅锭呈长方形、两端有突出耳部,兰白色金属,较软。在铅锭机加工过程中需要对铅锭两边上部直角边进行切边,即倒角作业。传统加工方式为人工加工,人工使用刀具加工,工作效率低、不安全,也有使用车床加工,但使用车床加工需要特殊工装将铅锭倾斜放置,然后进刀切削,完成一边后取下对另一边进行加工,加工效率同样低下,另外生产过程中需要转运铅锭,将铅锭转运至加工位,然后再转运输出,人工周转费时费力,由此提出一种快捷、高效且能够满足加工不同规格的铅锭生产需求的铅锭加工生产线。
发明内容
本发明要解决的技术问题是克服现有的缺陷,提供一种铅锭加工生产线,实现铅锭自动化加工,从而提高生产效率、节省人力,机械臂驱动机械抓手完成码垛、上料、卸料操作,机械抓手具有轻量化、同步精准的特点,可在仅有的空间内实现同步动作;油缸将待加工铅锭推向两组刨切工装,实现切边作业,可以满足加工不同规格的铅锭生产需求,可以有效解决背景技术中的问题。
为实现上述目的,本发明提供如下技术方案:一种铅锭加工生产线,包括机械臂、工作台和运料车,所述运料车设置在轨道上,轨道与工作台平行设置;所述机械臂位于工作台和运料车之间,所述机械臂的一侧为待加工铅锭存放工位,所述机械臂的另一侧为已加工铅锭存放工位;所述机械臂的工作端连接有电动缸,电动缸的伸缩端连接有机械抓手;所述工作台的上部长度方向的两侧均设有门型架,其中一个朝向待加工铅锭存放工位的门型架的内部两相对侧对称设有两组对应刨削待加工铅锭两边上部直角边的刨切工装,另外一个门型架的横板侧面中部水平固定有安装架,安装架的下部水平设有油缸,油缸的伸缩端设有与待加工铅锭端面适配的推块,两个所述门型架之间中心处水平连接有连接架,连接架的下部水平设有导轨,推块与导轨滑动配合;
所述机械抓手包括框架板,所述框架板的上部设有连接法兰,所述框架板的下部设有两组夹紧装置;每一组所述夹紧装置均包括双头气缸、滑块、连杆结构和两个夹爪;所述双头气缸的一侧伸缩端通过滑块、连杆结构与其中一个夹爪连接,双头气缸的另一侧伸缩端与另外一个夹爪连接,且双头气缸驱动两个夹爪沿框架板相对或相背移动从而实现铅锭取放操作;所述连杆结构包括中间连杆,中间连杆中心处的通孔活动插接有转杆,转杆与框架板连接,中间连杆的两端均通过连接杆铰接有固定杆;
所述刨切工装包括座板,座板的一侧板面两端均通过连接板与门型架的竖直侧板连接,座板的另一侧板面通过平行四边形连杆结构转动连接有刨刀座,刨刀座的内部安装有刨刀片,刨刀片的刀头伸出刨刀座,座板的一侧板面铰接有用于驱动平行四边形连杆结构旋转以改变刨刀座位置的气缸。
优选的,所述工作台的上部设有与待加工铅锭一边相抵触的定位结构,定位结构包括推动装置,推动装置连接有限位板,推动装置为气缸或电动推杆。
优选的,所述运料车包括车架,车架的下部两侧均转动连接有旋转轴,每一根旋转轴的两端均设有与轨道适配的车轮,车架的下部中部设有驱动其中一根旋转轴旋转的驱动装置,驱动装置包括与车架固定连接的电机,电机通过链轮、链条驱动旋转轴旋转。
优选的,所述中间连杆一侧的固定杆与滑块固定连接,滑块与框架板滑动配合,中间连杆另一侧的固定杆与其中一个夹爪连接。
优选的,两个所述夹爪均包括与框架板滑动配合的滑座,且框架板设有与滑座适配的滑轨,滑座的下部设有夹板,两个夹板的底端相对侧均设有折边部。
优选的,所述双头气缸通过固定板固定于框架板。
优选的,所述连接板与门型架的竖直侧板活动插接,门型架的竖直侧板设有供连接板通过的插槽,连接板的板面设有横槽,连接板与门型架的竖直侧板通过锁紧件固定连接;锁紧件包括螺栓,螺栓穿过横槽和门型架竖直侧板上的通孔,螺栓的一端螺纹连接有螺母。
优选的,所述平行四边形连杆结构包括四组连杆,同侧的两组连杆的上端与座板铰接,同侧的两组连杆的下端与刨刀座铰接,且刨刀座位于平行四边形连杆结构的内侧。
优选的,所述气缸的固定端与座板的板面铰接,气缸的伸缩端与刨刀座内的销轴活动套接,销轴的两端对应穿过刨刀座并与其中同侧的两组连杆的下端转动连接。
优选的,所述刨刀片通过压板和紧固螺钉固定于刨刀座内,紧固螺钉穿过压板上的通孔、刨刀片上的通槽并与刨刀座内的安装板螺纹连接。
与现有技术相比,本发明的有益效果是:本铅锭加工生产线,运料车将铅锭运送至待加工铅锭存放工位,随后机械臂将代加工铅锭码垛,机械抓手具有轻量化、结构紧凑、省空间、同步精准的特点,而且抓取更加稳定牢靠,可在仅有的空间内实现同步动作;随后机械抓手抓取铅锭送至工作台上,由油缸配合推动推块移动,将待加工铅锭推向两组刨切工装,实现切边作业,刀具不动,待加工铅锭移动,被动切边;通过设计刨切工装,气缸动作可以驱动平行四边形连杆结构旋转,进而改变刨刀座以及刨刀片位置,便于调整进刀量;另外可以调节两组刨切工装的间距,使其适应不同规格的待加工铅锭,提高适用性,满足加工不同规格的铅锭生产需求;切边完成后机械臂将已加工的铅锭依次码垛存放至已加工铅锭存放工位,随后放置在运料车,运往别处;机械臂可旋转,能够完成码垛、上料、卸料操作,实现铅锭自动化加工,从而提高生产效率、节省人力。
附图说明
图1为本发明结构示意图;
图2为本发明工作台前视剖面图;
图3为本发明机械抓手仰视图;
图4为本发明机械抓手前视图;
图5为本发明刨切工装结构示意图一;
图6为本发明刨切工装结构示意图二;
图7为本发明刨切工装剖视图;
图8为本发明运料车结构示意图。
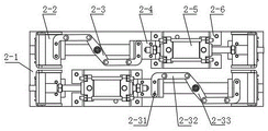
图中:1机械臂、2机械抓手、2-1框架板、2-2夹爪、2-3连杆结构、2-31固定杆、2-32连接杆、2-33中间连杆、2-4滑块、2-5双头气缸、2-6固定板、2-7连接法兰、3连接架、4刨切工装、4-1连接板、4-2刨刀片、4-3平行四边形连杆结构、4-4刨刀座、4-5座板、4-6气缸、4-7锁紧件、4-8横槽、4-9压板、4-10安装板、5定位结构、6工作台、7门型架、8油缸、9运料车、9-1车架、9-2车轮、9-3驱动装置、10推块。
具体实施方式
下面将结合本发明实施例中的附图,对本发明实施例中的技术方案进行清楚、完整地描述,显然,所描述的实施例仅仅是本发明一部分实施例,而不是全部的实施例。基于本发明中的实施例,本领域普通技术人员在没有做出创造性劳动前提下所获得的所有其他实施例,都属于本发明保护的范围。
请参阅图1-8,本发明提供一种技术方案:一种铅锭加工生产线,包括机械臂1、工作台6和运料车9,运料车9设置在轨道上,轨道与工作台6平行设置;机械臂1位于工作台6和运料车9之间,机械臂1的一侧为待加工铅锭存放工位,机械臂1的另一侧为已加工铅锭存放工位;机械臂1的工作端连接有电动缸,电动缸的伸缩端连接有机械抓手2;工作台6的上部长度方向的两侧均设有门型架7,其中一个朝向待加工铅锭存放工位的门型架7的内部两相对侧对称设有两组对应刨削待加工铅锭两边上部直角边的刨切工装4,另外一个门型架4的横板侧面中部水平固定有安装架,安装架的下部水平设有油缸8,油缸8的伸缩端设有与待加工铅锭端面适配的推块10,两个门型架7之间中心处水平连接有连接架3,连接架3的下部水平设有导轨,推块10与导轨滑动配合,油缸8配合导轨直线推动推块10移动,将待加工铅锭推向两组刨切工装4,实现切边作业,刀具不动,待加工铅锭移动,被动切边,与传统人工切边相比大大提高工作效率,省时省力;
机械抓手2包括框架板2-1,框架板2-1的上部设有连接法兰2-7,框架板2-1的下部设有两组夹紧装置;每一组夹紧装置均包括双头气缸2-5、滑块2-4、连杆结构2-3和两个夹爪2-2;双头气缸2-5为一个气缸两端带杆,当气缸内活塞运动时两端杆一头进一头出,双头气缸2-5的一侧伸缩端通过滑块2-4、连杆结构2-3与其中一个夹爪2-2连接,双头气缸2-5的另一侧伸缩端与另外一个夹爪2-2连接,且双头气缸2-5驱动两个夹爪2-2沿框架板2-1相对或相背移动从而实现铅锭取放操作;连杆结构2-3包括中间连杆2-33,中间连杆2-33中心处的通孔活动插接有转杆2-34,转杆2-34与框架板2-1连接,中间连杆2-33的两端均通过连接杆2-32铰接有固定杆2-31;同时启动两个双头气缸2-5,双头气缸2-5的一侧伸缩端带动滑块2-4沿框架板2-1移动,滑块2-4通过连杆结构2-3带动其中一个夹爪2-2移动,双头气缸2-5的另一侧伸缩端直接带动另外一个夹爪2-2移动,两组夹紧装置同步动作,具有轻量化、结构紧凑、省空间、同步精准的特点,而且抓取更加稳定牢靠,可在仅有的空间内实现同步动作;
刨切工装4包括座板4-5,座板4-5的一侧板面两端均通过连接板4-1与门型架7的竖直侧板连接,座板4-5的另一侧板面通过平行四边形连杆结构4-3转动连接有刨刀座4-4,刨刀座4-4的内部安装有刨刀片4-2,刨刀片4-2的刀头伸出刨刀座4-4,座板4-5的一侧板面铰接有用于驱动平行四边形连杆结构4-3旋转以改变刨刀座4-4位置的气缸4-6;用于刨削待加工铅锭的两侧上部直角边,气缸4-6驱动平行四边形连杆结构4-4旋转,进而改变刨刀座4-5以及刨刀片4-3位置,便于精确调整进刀量,省去人工调节的麻烦,操作方便快捷;
工作台6的上部设有与待加工铅锭一边相抵触的定位结构5,定位结构5包括推动装置,推动装置连接有限位板,推动装置为气缸或电动推杆;定位结构5定位待加工铅锭,避免铅锭进给过程中错位,影响加工精度;
运料车9包括车架9-1,车架9-1的下部两侧均转动连接有旋转轴,每一根旋转轴的两端均设有与轨道适配的车轮9-2,车架9-1的下部中部设有驱动其中一根旋转轴旋转的驱动装置9-3,驱动装置9-3包括与车架9-1固定连接的电机,电机通过链轮、链条驱动旋转轴旋转;用于运送待加工铅锭或者输送已加工铅锭;
中间连杆2-33一侧的固定杆2-31与滑块2-4固定连接,滑块2-4与框架板2-1滑动配合,中间连杆2-33另一侧的固定杆2-31与其中一个夹爪2-2连接;
两个夹爪2-2均包括与框架板2-1滑动配合的滑座2-21,且框架板2-1设有与滑座2-21适配的滑轨,滑座2-21的下部设有夹板2-22,两个夹板2-22的底端相对侧均设有折边部;用于夹取铅锭、避免铅锭脱落;
双头气缸2-5通过固定板2-6固定于框架板2-1;
连接板4-1与门型架7的竖直侧板活动插接,门型架7的竖直侧板设有供连接板4-1通过的插槽,连接板4-1的板面设有横槽4-8,连接板4-1与门型架7的竖直侧板通过锁紧件4-7固定连接;锁紧件4-7包括螺栓,螺栓穿过横槽4-8和门型架7竖直侧板上的通孔,螺栓的一端螺纹连接有螺母;连接板4-1可在门型架7的竖直侧板的插槽内移动,锁紧件4-7在横槽4-8移动,然后拧紧锁紧件4-7固定,可以调节两组刨切工装4的间距,使其适应不同规格的待加工铅锭,提高适用性,满足生产需求;
平行四边形连杆结构4-3包括四组连杆,同侧的两组连杆的上端与座板4-5铰接,同侧的两组连杆的下端与刨刀座4-4铰接,且刨刀座4-4位于平行四边形连杆结构4-3的内侧;气缸4-6的固定端与座板4-5的板面铰接,气缸4-6的伸缩端与刨刀座4-4内的销轴活动套接,销轴的两端对应穿过刨刀座4-4并与其中同侧的两组连杆的下端转动连接;采用现有技术中的平行四边形连杆结构,气缸4-6作用于销轴,销轴推动与其相连的两组连杆旋转,实现刨刀座4-4平行移动,改变位置;
刨刀片4-2通过压板4-9和紧固螺钉固定于刨刀座4-4内,紧固螺钉穿过压板4-9上的通孔、刨刀片4-2上的通槽并与刨刀座4-4内的安装板4-10螺纹连接,方便安装,拆卸,可以调节刨刀片4-2的刀头伸出量。
工作原理:在使用时,运料车9将待加工铅锭运送至待加工铅锭存放工位,随后机械臂1通过机械抓手2将铅锭码垛存放在待加工铅锭存放工位;完成码垛后进行下一步切边作业,随后机械抓手2抓取待铅锭送至工作台6上,由油缸8通过推块10推动待加工铅锭移动,实现切边作业,当需要改变切边量时,驱动气缸4-6动作,气缸4-6动作驱动平行四边形连杆结构4-3旋转,进而改变刨刀座4-4以及刨刀片4-2位置,调整进刀量;另外根据不同规格的待加工铅锭,可以调节两组刨切工装4的间距,松开锁紧件4-7,连接板4-1在门型架7的竖直侧板的插槽内移动,锁紧件4-7在横槽4-8移动,然后拧紧锁紧件7固定,满足加工不同规格的铅锭生产需求;切边完成后机械臂1将已加工的铅锭依次码垛存放至已加工铅锭存放工位,随后放置在运料车9,运往别处。
本发明未详述部分为现有技术,尽管已经示出和描述了本发明的实施例,对于本领域的普通技术人员而言,可以理解在不脱离本发明的原理和精神的情况下可以对这些实施例进行多种变化、修改、替换和变型,本发明的范围由所附权利要求及其等同物限定。
Claims (10)
1.一种铅锭加工生产线,包括机械臂(1)、工作台(6)和运料车(9),其特征在于:所述运料车(9)设置在轨道上,轨道与工作台(6)平行设置;所述机械臂(1)位于工作台(6)和运料车(9)之间,所述机械臂(1)的一侧为待加工铅锭存放工位,所述机械臂(1)的另一侧为已加工铅锭存放工位;所述机械臂(1)的工作端连接有电动缸,电动缸的伸缩端连接有机械抓手(2);所述工作台(6)的上部长度方向的两侧均设有门型架(7),其中一个朝向待加工铅锭存放工位的门型架(7)的内部两相对侧对称设有两组对应刨削待加工铅锭两边上部直角边的刨切工装(4),另外一个门型架(4)的横板侧面中部水平固定有安装架,安装架的下部水平设有油缸(8),油缸(8)的伸缩端设有与待加工铅锭端面适配的推块(10),两个所述门型架(7)之间中心处水平连接有连接架(3),连接架(3)的下部水平设有导轨,推块(10)与导轨滑动配合;
所述机械抓手(2)包括框架板(2-1),所述框架板(2-1)的上部设有连接法兰(2-7),所述框架板(2-1)的下部设有两组夹紧装置;每一组所述夹紧装置均包括双头气缸(2-5)、滑块(2-4)、连杆结构(2-3)和两个夹爪(2-2);所述双头气缸(2-5)的一侧伸缩端通过滑块(2-4)、连杆结构(2-3)与其中一个夹爪(2-2)连接,双头气缸(2-5)的另一侧伸缩端与另外一个夹爪(2-2)连接,且双头气缸(2-5)驱动两个夹爪(2-2)沿框架板(2-1)相对或相背移动从而实现铅锭取放操作;所述连杆结构(2-3)包括中间连杆(2-33),中间连杆(2-33)中心处的通孔活动插接有转杆(2-34),转杆(2-34)与框架板(2-1)连接,中间连杆(2-33)的两端均通过连接杆(2-32)铰接有固定杆(2-31);
所述刨切工装(4)包括座板(4-5),座板(4-5)的一侧板面两端均通过连接板(4-1)与门型架(7)的竖直侧板连接,座板(4-5)的另一侧板面通过平行四边形连杆结构(4-3)转动连接有刨刀座(4-4),刨刀座(4-4)的内部安装有刨刀片(4-2),刨刀片(4-2)的刀头伸出刨刀座(4-4),座板(4-5)的一侧板面铰接有用于驱动平行四边形连杆结构(4-3)旋转以改变刨刀座(4-4)位置的气缸(4-6)。
2.根据权利要求1所述的一种铅锭加工生产线,其特征在于:所述工作台(6)的上部设有与待加工铅锭一边相抵触的定位结构(5),定位结构(5)包括推动装置,推动装置连接有限位板,推动装置为气缸或电动推杆。
3.根据权利要求1所述的一种铅锭加工生产线,其特征在于:所述运料车(9)包括车架(9-1),车架(9-1)的下部两侧均转动连接有旋转轴,每一根旋转轴的两端均设有与轨道适配的车轮(9-2),车架(9-1)的下部中部设有驱动其中一根旋转轴旋转的驱动装置(9-3),驱动装置(9-3)包括与车架(9-1)固定连接的电机,电机通过链轮、链条驱动旋转轴旋转。
4.根据权利要求1所述的一种铅锭加工生产线,其特征在于:所述中间连杆(2-33)一侧的固定杆(2-31)与滑块(2-4)固定连接,滑块(2-4)与框架板(2-1)滑动配合,中间连杆(2-33)另一侧的固定杆(2-31)与其中一个夹爪(2-2)连接。
5.根据权利要求1所述的一种铅锭加工生产线,其特征在于:两个所述夹爪(2-2)均包括与框架板(2-1)滑动配合的滑座(2-21),且框架板(2-1)设有与滑座(2-21)适配的滑轨,滑座(2-21)的下部设有夹板(2-22),两个夹板(2-22)的底端相对侧均设有折边部。
6.根据权利要求1所述的一种铅锭加工生产线,其特征在于:所述双头气缸(2-5)通过固定板(2-6)固定于框架板(2-1)。
7.根据权利要求1所述的一种铅锭加工生产线,其特征在于:所述连接板(4-1)与门型架(7)的竖直侧板活动插接,门型架(7)的竖直侧板设有供连接板(4-1)通过的插槽,连接板(4-1)的板面设有横槽(4-8),连接板(4-1)与门型架(7)的竖直侧板通过锁紧件(4-7)固定连接;锁紧件(4-7)包括螺栓,螺栓穿过横槽(4-8)和门型架(7)竖直侧板上的通孔,螺栓的一端螺纹连接有螺母。
8.根据权利要求1所述的一种铅锭加工生产线,其特征在于:所述平行四边形连杆结构(4-3)包括四组连杆,同侧的两组连杆的上端与座板(4-5)铰接,同侧的两组连杆的下端与刨刀座(4-4)铰接,且刨刀座(4-4)位于平行四边形连杆结构(4-3)的内侧。
9.根据权利要求8所述的一种铅锭加工生产线,其特征在于:所述气缸(4-6)的固定端与座板(4-5)的板面铰接,气缸(4-6)的伸缩端与刨刀座(4-4)内的销轴活动套接,销轴的两端对应穿过刨刀座(4-4)并与其中同侧的两组连杆的下端转动连接。
10.根据权利要求1所述的一种铅锭加工生产线,其特征在于:所述刨刀片(4-2)通过压板(4-9)和紧固螺钉固定于刨刀座(4-4)内,紧固螺钉穿过压板(4-9)上的通孔、刨刀片(4-2)上的通槽并与刨刀座(4-4)内的安装板(4-10)螺纹连接。
Priority Applications (1)
| Application Number | Priority Date | Filing Date | Title |
|---|---|---|---|
| CN202010639265.1A CN111702235B (zh) | 2020-07-06 | 2020-07-06 | 一种铅锭加工生产线 |
Applications Claiming Priority (1)
| Application Number | Priority Date | Filing Date | Title |
|---|---|---|---|
| CN202010639265.1A CN111702235B (zh) | 2020-07-06 | 2020-07-06 | 一种铅锭加工生产线 |
Publications (2)
| Publication Number | Publication Date |
|---|---|
| CN111702235A CN111702235A (zh) | 2020-09-25 |
| CN111702235B true CN111702235B (zh) | 2022-09-06 |
Family
ID=72545737
Family Applications (1)
| Application Number | Title | Priority Date | Filing Date |
|---|---|---|---|
| CN202010639265.1A Active CN111702235B (zh) | 2020-07-06 | 2020-07-06 | 一种铅锭加工生产线 |
Country Status (1)
| Country | Link |
|---|---|
| CN (1) | CN111702235B (zh) |
Families Citing this family (1)
| Publication number | Priority date | Publication date | Assignee | Title |
|---|---|---|---|---|
| CN117284560A (zh) * | 2023-08-22 | 2023-12-26 | 茌平信源环保建材有限公司 | 一种综合龙骨生产线系统 |
Citations (5)
| Publication number | Priority date | Publication date | Assignee | Title |
|---|---|---|---|---|
| US4962583A (en) * | 1982-09-28 | 1990-10-16 | Yang Tai Her | Tunnel type or dragon-gate type processing system assembled with selected elements and its related interface means |
| CN1132675A (zh) * | 1995-02-06 | 1996-10-09 | 邵文远 | 小型集成加工中心 |
| US5979214A (en) * | 1996-05-30 | 1999-11-09 | Eht Werkzeugmaschinen Gmbh | Bending machine for sheet-like workpieces, particularly for creating bent edges on sheet metal pieces |
| CN106828214A (zh) * | 2017-03-10 | 2017-06-13 | 徐州徐工筑路机械有限公司 | 一种铣刨机用座椅滑移机构 |
| CN110370024A (zh) * | 2019-07-17 | 2019-10-25 | 烟台大丰轴瓦有限责任公司 | 用于轴瓦铣内孔设备 |
Family Cites Families (1)
| Publication number | Priority date | Publication date | Assignee | Title |
|---|---|---|---|---|
| US20070069537A1 (en) * | 2005-09-23 | 2007-03-29 | Cargomax, Inc. | Method and Apparatus for Lifting Elongate Cargo |
-
2020
- 2020-07-06 CN CN202010639265.1A patent/CN111702235B/zh active Active
Patent Citations (5)
| Publication number | Priority date | Publication date | Assignee | Title |
|---|---|---|---|---|
| US4962583A (en) * | 1982-09-28 | 1990-10-16 | Yang Tai Her | Tunnel type or dragon-gate type processing system assembled with selected elements and its related interface means |
| CN1132675A (zh) * | 1995-02-06 | 1996-10-09 | 邵文远 | 小型集成加工中心 |
| US5979214A (en) * | 1996-05-30 | 1999-11-09 | Eht Werkzeugmaschinen Gmbh | Bending machine for sheet-like workpieces, particularly for creating bent edges on sheet metal pieces |
| CN106828214A (zh) * | 2017-03-10 | 2017-06-13 | 徐州徐工筑路机械有限公司 | 一种铣刨机用座椅滑移机构 |
| CN110370024A (zh) * | 2019-07-17 | 2019-10-25 | 烟台大丰轴瓦有限责任公司 | 用于轴瓦铣内孔设备 |
Also Published As
| Publication number | Publication date |
|---|---|
| CN111702235A (zh) | 2020-09-25 |
Similar Documents
| Publication | Publication Date | Title |
|---|---|---|
| CN111687647B (zh) | 一种铝型材自动加工设备 | |
| CN108188756B (zh) | 一种玻璃窗型材预加工系统 | |
| CN111015225B (zh) | 一种自动化锯切、端铣设备 | |
| CN113579761B (zh) | 一种标识牌全自动生产线 | |
| CN110640040A (zh) | 一种板材裁剪的入料辅助系统及其方法 | |
| CN105799001A (zh) | 竹筒加工装置 | |
| CN113857862A (zh) | 一种门窗加工生产线及加工工艺 | |
| CN218224910U (zh) | 建筑铝型材锯切设备 | |
| CN214772619U (zh) | 一种木板可调厚度式框锯机 | |
| CN111702235B (zh) | 一种铅锭加工生产线 | |
| CN216264558U (zh) | 一种新型门窗加工生产线 | |
| CN104647555A (zh) | 木衣架下料机 | |
| CN204431309U (zh) | 太阳能电池组件自动削边机 | |
| CN108581802B (zh) | 一种具有剪切功能的自动抛光机 | |
| CN111168746A (zh) | 一种刨槽机系统及加工方法 | |
| CN220993161U (zh) | 一种管材激光切割装置 | |
| CN219818232U (zh) | 铝管切料机 | |
| CN218638672U (zh) | 汽车风管切割自动上料机 | |
| CN217345933U (zh) | 一种多功能木质零部件加工设备 | |
| CN116713741A (zh) | 一种五金螺母加工设备及其加工方法 | |
| CN211439156U (zh) | 自动开牙机械手装置 | |
| CN212761480U (zh) | 一种铝型材加工用自动切割装置 | |
| CN219276002U (zh) | 一种瓦楞纸模切装置 | |
| CN219786727U (zh) | 一种铝材切割循环送料装置 | |
| CN222448518U (zh) | 一种铝复合门窗型材的锯切装置 |
Legal Events
| Date | Code | Title | Description |
|---|---|---|---|
| PB01 | Publication | ||
| PB01 | Publication | ||
| SE01 | Entry into force of request for substantive examination | ||
| SE01 | Entry into force of request for substantive examination | ||
| GR01 | Patent grant | ||
| GR01 | Patent grant |