CN111677201A - Roof leak-proof structure and roof structure - Google Patents
Roof leak-proof structure and roof structure Download PDFInfo
- Publication number
- CN111677201A CN111677201A CN202010587901.0A CN202010587901A CN111677201A CN 111677201 A CN111677201 A CN 111677201A CN 202010587901 A CN202010587901 A CN 202010587901A CN 111677201 A CN111677201 A CN 111677201A
- Authority
- CN
- China
- Prior art keywords
- roof
- protrusion
- deflector
- structure according
- leak
- Prior art date
- Legal status (The legal status is an assumption and is not a legal conclusion. Google has not performed a legal analysis and makes no representation as to the accuracy of the status listed.)
- Pending
Links
Images
Classifications
-
- E—FIXED CONSTRUCTIONS
- E04—BUILDING
- E04D—ROOF COVERINGS; SKY-LIGHTS; GUTTERS; ROOF-WORKING TOOLS
- E04D13/00—Special arrangements or devices in connection with roof coverings; Protection against birds; Roof drainage ; Sky-lights
- E04D13/04—Roof drainage; Drainage fittings in flat roofs, balconies or the like
- E04D13/0404—Drainage on the roof surface
-
- E—FIXED CONSTRUCTIONS
- E04—BUILDING
- E04B—GENERAL BUILDING CONSTRUCTIONS; WALLS, e.g. PARTITIONS; ROOFS; FLOORS; CEILINGS; INSULATION OR OTHER PROTECTION OF BUILDINGS
- E04B7/00—Roofs; Roof construction with regard to insulation
- E04B7/02—Roofs; Roof construction with regard to insulation with plane sloping surfaces, e.g. saddle roofs
- E04B7/06—Constructions of roof intersections or hipped ends
-
- E—FIXED CONSTRUCTIONS
- E04—BUILDING
- E04B—GENERAL BUILDING CONSTRUCTIONS; WALLS, e.g. PARTITIONS; ROOFS; FLOORS; CEILINGS; INSULATION OR OTHER PROTECTION OF BUILDINGS
- E04B7/00—Roofs; Roof construction with regard to insulation
- E04B7/18—Special structures in or on roofs, e.g. dormer windows
-
- E—FIXED CONSTRUCTIONS
- E04—BUILDING
- E04D—ROOF COVERINGS; SKY-LIGHTS; GUTTERS; ROOF-WORKING TOOLS
- E04D12/00—Non-structural supports for roofing materials, e.g. battens, boards
-
- E—FIXED CONSTRUCTIONS
- E04—BUILDING
- E04D—ROOF COVERINGS; SKY-LIGHTS; GUTTERS; ROOF-WORKING TOOLS
- E04D13/00—Special arrangements or devices in connection with roof coverings; Protection against birds; Roof drainage ; Sky-lights
- E04D13/04—Roof drainage; Drainage fittings in flat roofs, balconies or the like
- E04D13/0404—Drainage on the roof surface
- E04D13/0481—Drainage guiding provisions, e.g. deflectors or stimulation by inclined surfaces
-
- E—FIXED CONSTRUCTIONS
- E04—BUILDING
- E04D—ROOF COVERINGS; SKY-LIGHTS; GUTTERS; ROOF-WORKING TOOLS
- E04D13/00—Special arrangements or devices in connection with roof coverings; Protection against birds; Roof drainage ; Sky-lights
- E04D13/04—Roof drainage; Drainage fittings in flat roofs, balconies or the like
- E04D13/064—Gutters
-
- E—FIXED CONSTRUCTIONS
- E04—BUILDING
- E04D—ROOF COVERINGS; SKY-LIGHTS; GUTTERS; ROOF-WORKING TOOLS
- E04D13/00—Special arrangements or devices in connection with roof coverings; Protection against birds; Roof drainage ; Sky-lights
- E04D13/14—Junctions of roof sheathings to chimneys or other parts extending above the roof
-
- E—FIXED CONSTRUCTIONS
- E04—BUILDING
- E04D—ROOF COVERINGS; SKY-LIGHTS; GUTTERS; ROOF-WORKING TOOLS
- E04D13/00—Special arrangements or devices in connection with roof coverings; Protection against birds; Roof drainage ; Sky-lights
- E04D13/16—Insulating devices or arrangements in so far as the roof covering is concerned, e.g. characterised by the material or composition of the roof insulating material or its integration in the roof structure
-
- E—FIXED CONSTRUCTIONS
- E04—BUILDING
- E04D—ROOF COVERINGS; SKY-LIGHTS; GUTTERS; ROOF-WORKING TOOLS
- E04D3/00—Roof covering by making use of flat or curved slabs or stiff sheets
- E04D3/24—Roof covering by making use of flat or curved slabs or stiff sheets with special cross-section, e.g. with corrugations on both sides, with ribs, flanges, or the like
- E04D3/30—Roof covering by making use of flat or curved slabs or stiff sheets with special cross-section, e.g. with corrugations on both sides, with ribs, flanges, or the like of metal
-
- E—FIXED CONSTRUCTIONS
- E04—BUILDING
- E04D—ROOF COVERINGS; SKY-LIGHTS; GUTTERS; ROOF-WORKING TOOLS
- E04D3/00—Roof covering by making use of flat or curved slabs or stiff sheets
- E04D3/36—Connecting; Fastening
- E04D3/361—Connecting; Fastening by specially-profiled marginal portions of the slabs or sheets
- E04D3/362—Connecting; Fastening by specially-profiled marginal portions of the slabs or sheets by locking the edge of one slab or sheet within the profiled marginal portion of the adjacent slab or sheet, e.g. using separate connecting elements
-
- E—FIXED CONSTRUCTIONS
- E04—BUILDING
- E04D—ROOF COVERINGS; SKY-LIGHTS; GUTTERS; ROOF-WORKING TOOLS
- E04D3/00—Roof covering by making use of flat or curved slabs or stiff sheets
- E04D3/38—Devices for sealing spaces or joints between roof-covering elements
Landscapes
- Engineering & Computer Science (AREA)
- Architecture (AREA)
- Civil Engineering (AREA)
- Structural Engineering (AREA)
- Physics & Mathematics (AREA)
- Electromagnetism (AREA)
- Mechanical Engineering (AREA)
- Roof Covering Using Slabs Or Stiff Sheets (AREA)
Abstract
本发明涉及一种屋面防漏结构及屋面结构,包括设置于凸起物的上坡端与屋脊盖板之间的导流板,凸起物的上坡端与屋脊盖板之间的檩条上固定有固定架,所述导流板固定于固定架上,本发明具有防楼效果稳定且凸起物的上坡端不易发生泄漏的优点。
The invention relates to a roof leak-proof structure and a roof structure, comprising a deflector arranged between the upslope end of the protrusion and the roof ridge cover, and a purlin between the upslope end of the protrusion and the ridge cover A fixing frame is fixed, and the deflector is fixed on the fixing frame. The present invention has the advantages of stable anti-building effect and less leakage from the upslope end of the protrusion.
Description
技术领域technical field
本发明涉及放结构房屋中屋面结构的技术领域,尤其是涉及一种屋面防漏结构及屋面结构。The invention relates to the technical field of roof structures in structural houses, in particular to a roof leak-proof structure and a roof structure.
背景技术Background technique
钢结构工业厂房通常钢结构基础和钢结构屋顶构成,钢结构屋顶由间隔设置的檩条和固定在檩条上的屋面板组成,在使用中考虑到屋内通风与光照等情况,会在屋面板上设置通风器、天窗或通风球等。The steel structure industrial workshop is usually composed of a steel structure foundation and a steel structure roof. The steel structure roof is composed of purlins arranged at intervals and roof panels fixed on the purlins. In use, considering the indoor ventilation and lighting conditions, it will be set on the roof panel. Ventilators, skylights or ventilation balls, etc.
如图13所示,为一种钢结构屋面结构,包括倾斜设置的檩条22和屋面板19,屋面最高处为屋脊线5,屋面板19在屋脊线5处为最高点,从屋脊线5处到远离屋脊线5,屋面板19的高度逐渐降低,屋面板19上顺坡设置有若干导水槽20,在安装屋面板19时,考虑到屋内通风与光照等情况会在屋面板19上设置通风器、天窗或者通风球等,由此将在屋面板19上形成一些凸起物21,凸起物21由于其是凸置于屋面板19上方,对屋面板19的导水槽20导水的流淌造成阻挡,雨天时,位于凸起物21的上坡端的导水槽20会出现大量积水,久而久之就造成对凸起物21的上坡端密封部位的腐蚀,导致屋顶漏水现象。As shown in FIG. 13, it is a steel structure roof structure, including
发明内容SUMMARY OF THE INVENTION
针对现有技术存在的不足,本发明的第一目的是提供一种不易在凸起物的上坡端发生泄漏的屋面防漏结构。In view of the deficiencies in the prior art, the first object of the present invention is to provide a roof leak-proof structure that is not prone to leakage at the upslope end of the protrusion.
本发明的上述发明目的是通过以下技术方案得以实现的:一种屋面防漏结构,包括位于凸起物的上坡端的导流板,所述导流板上设置有用于将导流板上的水引流至凸起物两侧的导流部。The above-mentioned purpose of the present invention is achieved through the following technical solutions: a roof leak-proof structure, comprising a deflector located at the upslope end of the protrusion, and the deflector is provided with The water is drained to the guides on both sides of the protrusion.
通过采用上述技术方案,通过导流板和导流部能够将落在凸起物的上坡端的雨水导流至凸起物两侧的屋面板上流走,进而一定程度上避免了凸起物的上坡端出现大量积水的情况,使得凸起物的上坡端不易发生泄漏。By adopting the above technical solution, the rainwater falling on the upslope end of the protrusion can be diverted to the roof panels on both sides of the protrusion through the deflector and the deflector, thereby avoiding the protrusion of the protrusion to a certain extent. There is a lot of stagnant water at the upslope end, making the upslope end of the bulge less likely to leak.
本发明在一较佳示例中可以进一步配置为:所述导流部包括设置于导流板上的导流槽,所述导流槽设置有开口,所述开口位于凸起物两侧处。In a preferred example of the present invention, it may be further configured that: the guide portion includes a guide groove disposed on the guide plate, the guide groove is provided with an opening, and the opening is located on both sides of the protrusion.
通过采用上述技术方案,通过导流槽能够将雨水引流,而开口位于凸起的物两侧能够将雨水导流至凸起物两侧的屋面板上,使得雨水不易积累在凸起物的上坡端。By adopting the above technical solution, the rainwater can be diverted through the diversion groove, and the openings located on both sides of the protrusion can guide the rainwater to the roof panels on both sides of the protrusion, so that the rainwater is not easy to accumulate on the protrusion. slope end.
本发明在一较佳示例中可以进一步配置为:所述导流槽为多条,多条导流槽均布在导流板上。In a preferred example of the present invention, it can be further configured as follows: there are multiple guide grooves, and the multiple guide grooves are evenly distributed on the guide plate.
通过采用上述技术方案,多条导流槽能够起到缓冲雨水的作用,避免所有雨水沿着导流板全部流至凸起物上游端对凸起物造成冲击,同时多条导流槽均能起到导流作用,使得雨水导流效果更佳。By adopting the above technical solution, the plurality of diversion grooves can play the role of buffering rainwater, so as to prevent all rainwater from flowing along the deflector to the upstream end of the protrusion and causing impact on the protrusion. Play a diversion effect, making the rainwater diversion effect better.
本发明在一较佳示例中可以进一步配置为:所述开口处设置有导水板,所述导水板的自由端向屋面板侧延伸。In a preferred example of the present invention, it can be further configured as follows: a water guide plate is provided at the opening, and the free end of the water guide plate extends toward the side of the roof panel.
通过采用上述技术方案,使得从导流板上流下的雨水不易沿着导流板背面渗漏,让雨水全部落至屋面板上。By adopting the above technical solution, the rainwater flowing from the deflector is less likely to leak along the back of the deflector, so that all the rainwater falls on the roof panel.
本发明在一较佳示例中可以进一步配置为:所述导流板背离凸起物的一端位于屋脊线处。In a preferred example of the present invention, it can be further configured that: the end of the deflector facing away from the protrusion is located at the ridge line.
通过采用上述技术方案,由于屋面板是从屋脊线处开始倾斜,因此将导流板从屋脊线处开始铺设,能够使得凸起物的上坡端的所有雨水全部落至导流板上,进而导流板能够起到更好的导流效果,有效避免雨水落至导流板与屋面板之间的情况发生。By adopting the above technical solution, since the roof panel is inclined from the ridge line, the deflector is laid from the ridge line, so that all the rainwater on the upslope end of the protrusion can fall on the deflector, thereby guiding the The flow plate can play a better diversion effect and effectively prevent the rainwater from falling between the baffle and the roof panel.
本发明在一较佳示例中可以进一步配置为:还包括用于固定在檩条上的固定架,所述导流板连接于固定架上。In a preferred example of the present invention, it can be further configured to further include a fixing frame for fixing on the purlin, and the deflector is connected to the fixing frame.
通过采用上述技术方案,固定时能够将导流板直接固定在固定架上,而固定架固定在檩条上且固定架相比于屋面板不易发生形变,所以导流板在固定后连接强度更高,在使用中不易出现松动等情况,因此在安装完导流板后,导流板位置不易发生变化,能够起到稳定的防漏水效果,使得凸起物的上坡端不易发生泄漏。By adopting the above technical solution, the deflector can be directly fixed on the fixing frame during fixing, and the fixing frame is fixed on the purlin, and the fixing frame is not easily deformed compared with the roof panel, so the connection strength of the deflector is higher after fixing , It is not easy to loosen during use, so after the deflector is installed, the position of the deflector is not easy to change, which can play a stable water leakage prevention effect, so that the uphill end of the protrusion is not easy to leak.
本发明在一较佳示例中可以进一步配置为:所述导流板设置有多块,相邻所述导流板之间相互咬合形成锁边结构。In a preferred example of the present invention, it can be further configured that: a plurality of said baffles are provided, and adjacent said baffles are engaged with each other to form a locking structure.
通过采用上述技术方案,使得导流板在安装运输中更易操作,将导流板预制成规定大小的模块,只需要在使用时进行拼接组合即可,避免导流板过大时不方便搬运的情况发生;同时,锁边结构能够提升导流板拼接处的防水与抗风性能。By adopting the above technical solution, the deflector is easier to operate during installation and transportation, and the deflector is prefabricated into a module of a specified size, which only needs to be spliced and combined during use, so as to avoid inconvenient handling when the deflector is too large. At the same time, the overlock structure can improve the waterproof and wind resistance of the splice of the deflector.
本发明在一较佳示例中可以进一步配置为:所述固定架上设置有导流板中支架,所述导流板中支架位于相邻导流板之间,相邻所述导流板拼接端均锁紧在导流板中支架上。In a preferred example of the present invention, it can be further configured as follows: the fixing frame is provided with a middle bracket of a baffle plate, the middle bracket of the baffle plate is located between adjacent baffle plates, and the adjacent baffle plates are spliced together Both ends are locked on the bracket in the baffle plate.
通过采用上述技术方案,由于导流板较薄,因此在使用中容易发生晃动与形变,进而导致锁边结构处容易发生松动甚至分离,因此通过导流板中支架将导流板锁边结构处进行固定,使得锁边结构处不易出现晃动等情况,提升安装后的稳定性,也使得导流板安装后不易从屋顶脱离。By adopting the above technical solution, since the deflector is relatively thin, it is easy to shake and deform during use, which in turn leads to loosening or even separation at the edge-locking structure. Fixing makes it difficult for the edge locking structure to shake and other situations, improves the stability after installation, and also makes it difficult for the deflector to be detached from the roof after installation.
本发明在一较佳示例中可以进一步配置为:所述固定架上设置有卡扣,所述导流板上设置有与卡扣配合的暗扣。In a preferred example of the present invention, it can be further configured as follows: the fixing frame is provided with a buckle, and the baffle plate is provided with a hidden buckle matched with the buckle.
通过采用上述技术方案,能够避免在导流板上打孔等操作,使得导流板整体密封性更强。By adopting the above technical solution, operations such as punching holes on the air guide plate can be avoided, so that the overall sealing performance of the air guide plate is stronger.
本发明在一较佳示例中可以进一步配置为:所述固定架包括固定杆,所述固定杆朝向导流板的面设置为平面,所述卡扣固定于平面上,且所述导水板卡合于卡扣上时,所述平面与导水板的下平面平行。In a preferred example of the present invention, it can be further configured that: the fixing frame includes a fixing rod, the surface of the fixing rod facing the baffle is set as a plane, the buckle is fixed on the plane, and the baffle plate When engaged with the buckle, the plane is parallel to the lower plane of the water guide plate.
通过采用上述技术方案,通过平面使得卡扣更易固定在固定杆上,同时通过平面使得导流板固定后能使得导流板下表面与固定杆贴合,起到支撑导流板的作用,使得导流板不易出现晃动等情况。By adopting the above technical solution, the flat surface makes it easier to fix the buckle on the fixing rod, and at the same time, the lower surface of the deflector can be attached to the fixing rod after the air deflector is fixed by the flat surface, so as to support the air deflector, so that the The deflector is not easy to shake and so on.
本发明在一较佳示例中可以进一步配置为:所述导流板下方的屋面处设置有屋面板。In a preferred example of the present invention, it can be further configured that a roof panel is provided on the roof below the deflector.
通过采用上述技术方案,可直接在现有屋面板顶部进行改造,改造时直接在凸起物的上坡端的屋面板上铺设导流板即可,不需要损坏现有屋面结构,固定起来更加方便。By adopting the above technical solution, the renovation can be carried out directly on the top of the existing roof panel. During the renovation, a deflector can be directly laid on the roof panel of the upslope end of the protrusion without damaging the existing roof structure, and it is more convenient to fix. .
本发明在一较佳示例中可以进一步配置为:所述导流板下方的屋面处镂空设置。In a preferred example of the present invention, it can be further configured that: the roof below the deflector is hollowed out.
通过采用上述技术方案,由于设置导流板区域会形成同时具备屋面板和导流板的双层结构,因此会使得整个结构造价较高,通过将位于导流板下方的屋面板镂空,可以节省大量屋面板材料,在满足防漏前提下降低了整个屋面板的造价。By adopting the above technical solution, since the setting of the deflector area will form a double-layer structure with both the roof panel and the deflector, the cost of the entire structure will be high. By hollowing out the roof panel under the deflector, you can save money A large number of roof panel materials reduce the cost of the entire roof panel under the premise of meeting the leak-proof requirements.
本发明在一较佳示例中可以进一步配置为:所述处镂空处设置有保温层。In a preferred example of the present invention, it can be further configured that: the hollow part is provided with a thermal insulation layer.
通过采用上述技术方案,通过保温层可以一定程度上减缓室内外进行热量交换,能够让室内保持较为稳定的温度。By adopting the above technical solution, the heat exchange between indoor and outdoor can be slowed down to a certain extent through the thermal insulation layer, so that the indoor temperature can be kept relatively stable.
本发明在一较佳示例中可以进一步配置为:所述固定杆位于导流板下方的导水槽内。In a preferred example of the present invention, it can be further configured that: the fixing rod is located in the water guiding groove below the deflector.
通过采用上述技术方案,通过将固定杆放在导水槽中,可以避免固定杆凸出屋面板过高,使得固定在固定杆上的导流板距离屋面板之间的距离较小,因此雨水不易落至屋面板与导流板之间的位置。By adopting the above technical solution, by placing the fixing rod in the water guide groove, it can be avoided that the fixing rod protrudes from the roof panel too high, so that the distance between the guide plate fixed on the fixing rod and the roof panel is small, so the rainwater is not easy to Drop to the position between the roof panel and the deflector.
本发明在一较佳示例中可以进一步配置为:还包括环绕凸起物设置泛水板,所述泛水板包括位于凸起物的上坡端的第一泛水板、位于凸起物的下坡端的第二泛水板和位于凸起物侧面的第三泛水板,所述第一泛水板、第二泛水板和第三泛水板的一端均固定在凸起物上,所述第二泛水板和第三泛水板背离凸起物的一端延伸至屋面板上,所述第一泛水板背离凸起物的一端位于导流板下方。In a preferred example of the present invention, it can be further configured as follows: a flashing plate is further arranged around the protrusion, and the flashing plate includes a first flashing plate located at the upslope end of the protrusion, and a first flashing plate located at the lower part of the protrusion. The second flashing board at the slope end and the third flashing board located on the side of the protrusion, one end of the first flashing board, the second flashing board and the third flashing board are all fixed on the protrusion, so The ends of the second flashing board and the third flashing board facing away from the protrusion extend to the roof panel, and the end of the first flashing board facing away from the protrusion is located below the deflector.
通过采用上述技术方案,通过泛水板能够阻止从凸起物侧壁上流下的雨水落在凸起物与屋面板连接处,避免从凸起物上流下的雨水在凸起物与屋面板连接处发生泄漏。By adopting the above technical solution, the rainwater flowing from the side wall of the protrusion can be prevented from falling on the connection between the protrusion and the roof panel by the flashing plate, and the rainwater flowing from the protrusion can be prevented from being connected to the roof panel. leak occurs.
本发明在一较佳示例中可以进一步配置为:第一泛水板的横截面为L型,所述第一泛水板包括第一段和第二段,所述第一段与凸起物配合,第二段用于与屋面板配合,且第二段位于导流板下面,所述第二段远离第一段端向背离屋面板侧翻折形成翻折边。In a preferred example of the present invention, it can be further configured that: the cross section of the first flashing plate is L-shaped, the first flashing plate includes a first section and a second section, and the first section is connected to the protrusion. Matching, the second section is used for cooperating with the roof panel, and the second section is located below the deflector, and the second section is folded away from the end of the first section to the side away from the roof panel to form a folded edge.
通过采用上述技术方案,使得雨水不易从第一泛水板流至第一泛水板下方的屋面板上;第二段向上翻折,能够在第二段背离第一段端形成一个挡水部,落至第一泛水板上的雨水将不易越过挡水部流至屋内。By adopting the above technical solutions, it is difficult for rainwater to flow from the first flashing plate to the roof plate below the first flashing plate; , the rainwater falling on the first flashing board will not easily flow into the house through the water blocking part.
本发明在一较佳示例中可以进一步配置为:所述凸起物的下坡端的屋面板设置有第一翻折部,所述第一翻折部向背离檩条侧凸出。In a preferred example of the present invention, it can be further configured that: the roof panel of the downslope end of the protrusion is provided with a first folded portion, and the first folded portion protrudes to the side away from the purlin.
通过采用上述技术方案,使得屋面板朝向凸起物的下坡端的高度变高,不易出现雨水倒灌情况。By adopting the above technical solution, the height of the roof panel toward the downslope end of the protrusion is increased, and the situation of rainwater backflow is less likely to occur.
本发明在一较佳示例中可以进一步配置为:所述第二泛水板的自由端搭接于凸起物的下坡端的屋面板上且第一翻折部位于第二泛水板与凸起物之间。In a preferred example of the present invention, it can be further configured that: the free end of the second flashing plate is overlapped on the roof panel of the downslope end of the protrusion, and the first folded portion is located between the second flashing plate and the convex between things.
通过采用上述技术方案,通过第二泛水板能够将落在凸起物的下坡端处的雨水导流至屋面板上,且使得雨水不易直接落在第一翻折部与凸起物之间,增加防漏性能。By adopting the above technical solution, the rainwater falling on the downslope end of the protrusion can be diverted to the roof panel through the second flashing plate, and it is difficult for the rainwater to fall directly between the first folded portion and the protrusion. time to increase leak-proof performance.
本发明在一较佳示例中可以进一步配置为:凸起物的侧面端的屋面板向背离檩条侧翻折形成有第二翻折部。In a preferred example of the present invention, it can be further configured that: the roof panel of the lateral end of the protrusion is folded to the side away from the purlin to form a second folded portion.
通过采用上述技术方案,使得凸起物侧面的屋面板高度增加,有效避免雨水通过凸起物侧面的屋面板落至屋内的情况发生。By adopting the above technical solution, the height of the roof panel on the side of the protrusion is increased, and the occurrence of rainwater falling into the house through the roof panel on the side of the protrusion is effectively avoided.
本发明在一较佳示例中可以进一步配置为:位于凸起物的侧面处的檩条上固定有屋面板支架,所述屋面板的第二翻折部端固定于屋面板支架上。In a preferred example of the present invention, it can be further configured that: a roof panel bracket is fixed on the purlin at the side of the protrusion, and the second folded end of the roof panel is fixed on the roof panel bracket.
通过采用上述技术方案,将凸起物侧面的屋面板进行固定,有效防止凸起物侧面的屋面板在大风天气出现大幅度晃动等情况。By adopting the above technical solution, the roof panels on the sides of the protrusions are fixed, and the roof panels on the sides of the protrusions are effectively prevented from shaking greatly in windy weather.
本发明在一较佳示例中可以进一步配置为:所述第三泛水板的自由端搭接于凸起物侧面的屋面板上,且第二翻折部位于第三泛水板与凸起物之间。In a preferred example of the present invention, it can be further configured that: the free end of the third flashing plate overlaps the roof panel on the side of the protrusion, and the second folded portion is located between the third flashing plate and the protrusion. between things.
通过采用上述技术方案,使得落在凸起物的侧面的雨水导流至屋面板上,使得雨水不易直接落在第二翻折部与凸起物之间,增加防漏性能。By adopting the above technical solution, the rainwater falling on the side of the protrusion is guided to the roof panel, so that the rainwater is not easy to fall directly between the second folded portion and the protrusion, and the leak-proof performance is improved.
本发明在一较佳示例中可以进一步配置为:屋脊线处设置有屋脊盖板,所述导流板背离凸起物的一端位于屋脊盖板下方。In a preferred example of the present invention, it can be further configured as follows: a roof ridge cover plate is provided at the roof ridge line, and the end of the deflector facing away from the protrusion is located below the roof ridge cover plate.
通过采用上述技术方案,将导流板背离凸起物端压在屋脊盖板底部,能够在雨天时让屋脊盖板上的雨水直接流至导流板上,而避免屋脊盖板处的雨水直接流到屋面板上,如此可避免雨水流至凸起物与屋面板交界处,进而有效防止雨水通过凸起物的上坡端发生泄漏。By adopting the above technical solution, the end of the deflector facing away from the protrusion is pressed against the bottom of the roof ridge cover, so that the rainwater on the roof ridge cover can flow directly to the deflector in rainy days, and the rainwater at the roof ridge cover can be prevented from being directly Flow onto the roof panel, so that the rainwater can be prevented from flowing to the junction of the protrusion and the roof panel, thereby effectively preventing the rainwater from leaking through the upslope end of the protrusion.
本发明在一较佳示例中可以进一步配置为:所述导流板位于屋脊盖板端向背离屋面板侧翻折设置有挡水部。In a preferred example of the present invention, it can be further configured that: the deflector is located at the end of the roof ridge cover plate and is folded over to the side away from the roof plate and is provided with a water blocking portion.
通过采用上述技术方案,当出现大雨天气时,落至导流板上的雨水会将导流槽充满,此时雨水将可能向导流槽两侧流动,通过设置挡水部能够有效防止雨水溢流至屋脊盖板与屋面板之间,防止雨水从屋脊盖板处泄漏至室内。By adopting the above technical solution, when there is heavy rain, the rainwater falling on the guide plate will fill the guide groove, and the rainwater may flow to both sides of the guide groove at this time. To between the ridge cover and the roof, prevent rainwater from leaking into the room from the ridge cover.
本发明在一较佳示例中可以进一步配置为:所述屋脊盖板下方的檩条上固定有导流板支架,所述导流板的挡水部端连接于导流板支架上。In a preferred example of the present invention, it can be further configured as follows: a deflector bracket is fixed on the purlin below the roof ridge cover, and the water blocking end of the deflector is connected to the deflector bracket.
通过采用上述技术方案,能够将导流板位于屋脊盖板端固定,避免恶劣天气时导流板晃动,进而使得导流板与屋脊盖板连接处密封性更佳。By adopting the above technical solution, the deflector can be fixed at the end of the ridge cover to avoid the deflector from shaking in bad weather, thereby making the connection between the deflector and the ridge cover better sealed.
针对现有技术存在的不足,本发明的第二目的是提供一种不易在凸起物的上坡端发生泄漏的屋面结构。In view of the deficiencies in the prior art, the second object of the present invention is to provide a roof structure that is not prone to leakage at the upslope end of the protrusion.
本发明的上述发明目的是通过以下技术方案得以实现的:The above-mentioned purpose of the present invention is achieved through the following technical solutions:
一种屋面结构,包括屋面板,所述屋面板包括第一面板和用于盖在凸起物的上坡端与屋脊线之间的第二面板,所述第二面板包括导流板和与导流板连接的固定架,固定架用于与檩条连接,导流槽设置有开口,且开口位于凸起物两侧的导水槽上方,所述第二面板的高度高于第一面板的高度。A roof structure includes a roof panel, the roof panel includes a first panel and a second panel for covering between an upslope end of a protrusion and a ridge line, the second panel includes a deflector and a The fixing frame connected with the deflector, the fixing frame is used to connect with the purlin, the guiding groove is provided with an opening, and the opening is located above the water guiding groove on both sides of the protrusion, and the height of the second panel is higher than that of the first panel. .
通过采用上述技术方案,通过将屋面板分成第一面板和第二面板,安装时先安装第一面板,然后再安装固定架与导流板,在此过程中能够避免在第二面板处重复安装屋面板,节省材料的同时缩短安装工期,且能够有效防止凸起物的上坡端出现积水,避免在凸起物与屋面板密封处发生泄漏。By adopting the above technical solution, the roof panel is divided into a first panel and a second panel, the first panel is installed first, and then the fixing frame and the deflector are installed, during this process, repeated installation at the second panel can be avoided The roof panel saves materials and shortens the installation period, and can effectively prevent water from accumulating on the upslope end of the protrusion, and avoid leakage at the seal between the protrusion and the roof panel.
本发明在一较佳示例中可以进一步配置为:所述第二面板下方设置有保温层。In a preferred example of the present invention, it can be further configured that: a thermal insulation layer is provided under the second panel.
通过采用上述技术方案,通过保温层可以一定程度上减缓室内外进行热量交换,能够让室内保持较为稳定的温度。By adopting the above technical solution, the heat exchange between indoor and outdoor can be slowed down to a certain extent through the thermal insulation layer, so that the indoor temperature can be kept relatively stable.
综上所述,本发明包括以下至少一种有益技术效果:To sum up, the present invention includes at least one of the following beneficial technical effects:
因为导流板直接固定在固定架上,因此在安装完导水板后,导流板位置不易发生变化,能够起到稳定的防漏水效果;Because the deflector is directly fixed on the fixing frame, after the water deflector is installed, the position of the deflector is not easy to change, which can play a stable water leakage prevention effect;
通过将导流板底部的屋面板镂空,能够节省大量屋面板材料,同时也加快了屋面板安装时间,提高安装效率。By hollowing out the roof panel at the bottom of the deflector, a large amount of roof panel material can be saved, and at the same time, the installation time of the roof panel is accelerated, and the installation efficiency is improved.
附图说明Description of drawings
图1是屋面板的结构示意图。Figure 1 is a schematic diagram of the structure of the roof panel.
图2是凸起物的上坡端处屋面结构的截面图。Figure 2 is a cross-sectional view of the roof structure at the upslope end of the protrusion.
图3是图2中A处的放大视图,主要突出锁边结构。FIG. 3 is an enlarged view of the position A in FIG. 2 , mainly highlighting the overlock structure.
图4是凸起物与屋脊线之间的屋面结构示意图。Figure 4 is a schematic diagram of the roof structure between the protrusion and the ridge line.
图5是屋脊线处屋面结构的截面图。Figure 5 is a sectional view of the roof structure at the ridge line.
图6是图5中B处的放大示图,主要突出导流板支架与导流板的配合关系。FIG. 6 is an enlarged view of B in FIG. 5 , mainly highlighting the matching relationship between the baffle bracket and the baffle.
图7是图2中C处的放大示图,主要突出泛水板与导流板的位置关系。FIG. 7 is an enlarged view of C in FIG. 2 , mainly highlighting the positional relationship between the flashing plate and the deflector.
图8是凸起物处屋面结构的截面图,主要突出凸起物与两侧屋面板的配合结构。Figure 8 is a cross-sectional view of the roof structure at the protrusion, mainly highlighting the matching structure of the protrusion and the roof panels on both sides.
图9是凸起物处屋面结构的截面图,主要突出凸起物的下坡端与屋面板的配合结构。9 is a cross-sectional view of the roof structure at the protrusion, mainly highlighting the matching structure between the downslope end of the protrusion and the roof panel.
图10是实施例二中凸起物与屋脊线之间的屋面结构示意图。10 is a schematic diagram of the roof structure between the protrusion and the ridge line in the second embodiment.
图11是实施例三的结构示意图。FIG. 11 is a schematic structural diagram of the third embodiment.
图12是实施例三中凸起物与屋脊线之间的屋面结构示意图。12 is a schematic diagram of the roof structure between the protrusion and the ridge line in the third embodiment.
图13是背景技术的结构示意图。FIG. 13 is a schematic structural diagram of the background technology.
图中,1、导流板;2、导流槽;3、开口;4、导水板;5、屋脊线;6、屋脊盖板;7、固定架;71、固定杆;8、锁边结构;9、导流板中支架;10、卡扣;11、暗扣;12、平面;13、泛水板;131、第一泛水板;1311、第一段;1312、第二段;132、第二泛水板;133、第三泛水板;14、第一翻折部;15、第二翻折部;16、屋面板支架;17、挡水部;18、导流板支架;19、屋面板;191、第一面板;192、第二面板;20、导水槽;21、凸起物;22、檩条;23、通口;24、翻折边。In the figure, 1, guide plate; 2, guide groove; 3, opening; 4, water guide plate; 5, ridge line; 6, roof ridge cover; 7, fixing frame; 71, fixing rod; 8, locking edge Structure; 9, middle bracket of deflector; 10, buckle; 11, hidden buckle; 12, plane; 13, flashing plate; 131, first flashing plate; 1311, first section; 1312, second section; 132, the second flashing plate; 133, the third flashing plate; 14, the first folded part; 15, the second folded part; 16, the roof panel bracket; ; 19, roof panel; 191, first panel; 192, second panel; 20, gutter; 21, protrusion; 22, purlin;
具体实施方式Detailed ways
以下结合附图对本发明作进一步详细说明。The present invention will be further described in detail below with reference to the accompanying drawings.
实施例一:Example 1:
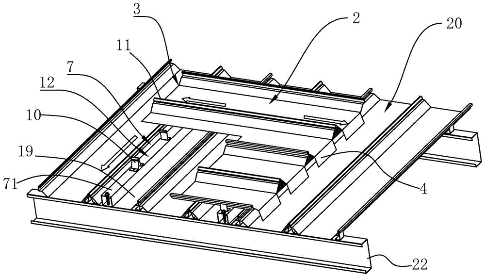
参照图1,一种屋面防漏结构,包括设置于凸起物21的上坡端的导流板1,导流板1上设置有导流槽2,导流槽2上设置有开口3,开口3位于导流槽2两端位置(结合图4所示),雨水落在导流板1上后会汇集在导流槽2内,然后通过导流槽2两侧的开口3流走,因开口3位于凸起物21的两侧位置,因此通过导流槽2能够将导流板1上的雨水导流至凸起物21的两侧处的屋面板19上。Referring to FIG. 1 , a roof leak-proof structure includes a
其中,导流槽2为多条,且多条导流槽2均布在导流板1上,屋面板19上的导水槽20方向沿着坡度方向设置,而本实施例中导流槽2的长度方向与导水槽20的方向垂直,如此能够使得从导流板1上沿坡度流下的雨水全部落至导流槽2中流走,而且由于导流槽2中水流流动的方向与屋面坡度方向垂直,因此通过导流槽2能够减缓雨水在导流板1上流动的速度,让雨水不易出现流速过大时飞溅到凸起物21上的情况发生。在具体实施过程中,导流槽2与导水槽20之间的夹角也可以根据实际情况进行调整,只要能够达到导流槽2两端的开口3位于凸起物21两侧的导水槽20上放即可,起到将留在导流槽2中的雨水引流至凸起物21两侧的导水槽20中的目的,使得凸起物21的上坡端的导流槽2内不会积水。Among them, there are
参照图2、3,本实施例中,导流板1设置有多块,相邻导流板1之间相互咬合形成锁边结构8,通过将拼接的相邻两导流板1的拼接边重叠后向一个方向弯折卷曲即可形成锁边结构8。Referring to FIGS. 2 and 3 , in this embodiment, a plurality of
其中,在凸起物21的上坡端处的檩条22上固定有固定架7,而导流板1固定于固定架7上。为了使得导流板1锁边结构8处强度增强,在锁边结构8处的固定架7上设置有导流板中支架9,具体安装时,导流板中支架9位于需要相互拼接的相邻两导流板1之间,而在导流板中支架9上具有与锁边结构8弯曲方向一致的弯折结构,因此将相邻两导流板1绕导流板中支架9的弯曲方向进行翻折卷曲即形成锁边结构8,且使得相邻两导流板1锁紧在导流板中支架9上。The fixing
参照图4,为了使得导流板1自身不会漏水,本实施例中导流板1采用暗扣11式彩钢板,因此在导流板1朝向固定架7侧直接冲压形成有暗扣11,通过在固定架7上设置卡扣10能够使得导流板1通过暗扣11与卡扣10连接在一起,此时导流板1上没有开设安装孔等,因此防水效果更佳。由于卡扣10直接固定在固定架7上,而固定架7强度高且厚度较厚,因此卡扣10在使用中不易从固定架7上脱离,由此使得导流板1与固定架7之间连接强度更高。在使用中,会在固定架7上均布多个卡扣10,如此使得导流板1安装后不易脱落,且在安装后不易发生形变晃动等。Referring to FIG. 4 , in order to prevent the
其中,参照图4,固定架7为固定在檩条22上的固定杆71,固定杆71沿着导水槽20的长度方向固定,且将固定杆71固定在导流板1下方的导水槽20内,固定固定杆71时,将固定杆71通过螺栓直接固定在导流板1下方的檩条22上,因檩条22结构强度高且厚度较厚,因此能够将固定杆71牢固。固定杆71朝向导流板1的面设置为平面12,卡扣10直接通过螺栓固定于平面12上,当导水板4卡合于卡扣10上时,平面12与导水板4的背面贴合,通过卡扣10与平面12将导水板4稳固限定在固定杆71上,在使用中不易出现晃动。4, the fixing
参照图4,由于落在导流板1上的雨水需要从导流槽2流出至导水槽20内,因此为了避免雨水顺着导板朝向屋内的一面渗漏至屋内,在导流板1上位于导流槽2的开口3处设置有导水板4,导水板4的一端与导流板1连接,另一端处于导水槽20内,且使得导水板4的高度从导流板1端到导水槽20端逐渐降低,如此将使得雨水顺着导水板4引流至导水槽20内,图中箭头方向为水流流动的方向。Referring to FIG. 4 , since the rainwater falling on the
参照图5,导流板1背离凸起物21的一端位于屋脊线5处,在屋脊线5处设置有屋脊盖板6,使得导流板1位于屋脊线5的一端位于屋脊盖板6和屋面板19之间,导流板1的另一端与凸起物21表面紧贴(结合图2所示),如此设计,能够在雨天时,将屋脊盖板6上的水直接引流至导流板1上,进而通过导流槽2排向凸起物21两侧的导水槽20内。5, the end of the
参照图5、6,当出现大雨天气时,落至导流板1上的雨水会将导流槽2充满,此时雨水将可能向导流槽2两侧流动,因此,使得导流板1位于屋脊盖板6端向背离屋面板19侧翻折形成有挡水部17,同时,在屋脊盖板6下方的固定杆71上固定有导流板支架18,将导流板1的挡水部17端连接在导流板支架18上。此时雨水将不能通过挡水部17侧泄漏至屋脊盖板6处,避免了雨水倒灌,而且能够在恶劣天气时避免导流板1晃动,进而使得导流板1与屋脊盖板6连接处密封性更佳。5 and 6, when heavy rain occurs, the rainwater falling on the
参照图1,雨天时,落在凸起物21表面的雨水会顺着凸起物21表面流至凸起物21与屋面板19连接处,因此会在凸起物21与屋面板19之间设置有泛水板13,泛水板13环绕凸起物21设置有一周,且泛水板13的一端固定在凸起物21上,另一端延伸至屋面板19上。Referring to FIG. 1 , in rainy days, the rainwater falling on the surface of the
参照图7,泛水板13包括位于凸起物21的上坡端的第一泛水板131,第一泛水板131的截面为L型,第一泛水板131包括相互连接的第一段1311和第二段1312,其中第一段1311与凸起物21配合,第二段1312与屋面板19配合且第二段1312位于屋面板19与导流板1之间(结合图2所示),如此设计能够让雨水顺着第一段1311流至第一段1311和第二段1312交接处,避免了雨水落在凸起物21和屋面板19密封处。Referring to FIG. 7 , the flashing
但是,当雨量较大时,落在第一泛水板131上的雨水会从第二段1312上流至凸起物21和屋面板19密封处,因此使得第二段1312背离第一段1311端向背离屋面板19侧翻折形成翻折边24,且将翻折端的高度设置为大于导流板1位于凸起物21端的高度,如此设计,能够在第一段1311与第二段1312之间形成一个储水空间,落至第一泛水板131上的雨水将全部储存在这个储水空间中,且当储存空间内的雨水较多时会溢流至导流板1上,顺着导流板1上的导流槽2流走,整个过程中雨水不易泄漏至室内。However, when the rainfall is large, the rainwater falling on the
其中,参照图8、9,在设置凸起物21时,需要在屋面板19相应位置开设缺口,然后将凸起物21设置于缺口处,由此会使得缺口出的屋面板19与凸起物21之间形成缝隙,这些缝隙在使用中极易漏雨,因此为了避免屋面板19与凸起物21件发生漏雨情况,在凸起物21的下坡端的屋面板19设置有第一翻折部14,第一翻折部14向背离檩条22侧凸出,在凸起物21的侧面端的屋面板19上向背离檩条22侧翻折形成有第二翻折部15,由于第一翻折部14与第二翻折部15较高,因此能够避免雨水直接通过屋面板19流至凸起物21处。8 and 9, when setting the
为了避免雨水直接落入第一翻折部14与凸起物21之间、第二翻折部15与凸起物21之间,在凸起物21的下坡端设置有第二泛水板132,第二泛水板132的自由端搭接于屋面板19上且第一翻折部14位于第二泛水板132与凸起物21之间。在凸起物21的侧面端设置有第三泛水板133,第三泛水板133的自由端搭接于凸起物21侧面的屋面板19上,且第二翻折部15位于第三泛水板133与凸起物21之间。In order to prevent rainwater from directly falling between the first folded
其中,为了提高屋面板19的固定强度,在位于凸起物21的侧面处的檩条22上固定有屋面板支架16,将屋面板19的第二翻折部15端固定于屋面板支架16上,可以有效防止凸起物21侧面的屋面板19在大风天气出现大幅度晃动等情况。Among them, in order to improve the fixing strength of the
实施例二:Embodiment 2:
参照图10,一种屋面防漏结构,如图所示,与实施例一的区别在于,凸起物21的上坡端与屋脊盖板6之间的屋面板19镂空设置,即在导流板1下方的屋面板19上设置有通口23,固定架7位于通口23处,图中箭头方向为水流流动的方向,通过将位于导流板1下方的屋面板19镂空,可以节省大量屋面板19材料,在满足防漏前提下降低了整个屋面板19的造价,在铺设导流板1时,使得导流板1的两侧盖过通口23设置,而导流板1靠近凸起物23的一端与第一泛水板131配合,导流板1靠近屋脊盖板6的一端位于屋脊盖板6下方;其中为了使得室内温度保持较为稳定的状态,在通口23处设置有保温层,保温层为保温棉或者保温板,旨在避免室内与室外在通口23处发生较快的热交换。Referring to FIG. 10, a roof leak-proof structure, as shown in the figure, differs from the first embodiment in that the
实施例三:Embodiment three:
参照图11、12,一种屋面结构,包括屋面板19,屋面板19包括第一面板191和用于盖在凸起物21的上坡端与屋脊线5之间的第二面板192,第二面板192包括导流板1和与导流板1连接的固定架7,固定架7用于与檩条22连接,导流板1的两侧周盖过第一面板191,导流板1靠近凸起物23的一端与第一泛水板131配合,导流板1靠近屋脊盖板6的一端位于屋脊盖板6下方,导流槽2设置有开口3,且开口3位于凸起物21两侧的导水槽20上方。本实施例中,导流板1朝向凸起物21端和导流板1另一端的密封结构与实施例一一致,图中箭头方向为水流流动的方向。其中,第二面板192的高度高于第一面板191的高度,且在第二面板192下方设置有保温层,保温层可以为保温棉或保温板。11, 12, a roof structure includes a
本实施例在安装时,先安装第一面板191,然后再在凸起物21的上坡端的檩条22上固定固定架7,之后将屋面板19旋转一定角度后安装在固定架7上即可,在安装过程中通过改变屋面板19的角度而直接实现凸起物21的上坡端的导流,安装时简单方便,且不会在凸起物21上坡端重复安装屋面板19,安装效率高的同时安装成本低。During installation in this embodiment, the
本具体实施方式的实施例均为本发明的较佳实施例,并非依此限制本发明的保护范围,故:凡依本发明的结构、形状、原理所做的等效变化,均应涵盖于本发明的保护范围之内。The embodiments of this specific embodiment are all preferred embodiments of the present invention, and are not intended to limit the protection scope of the present invention. Therefore: all equivalent changes made according to the structure, shape and principle of the present invention should be covered in within the protection scope of the present invention.
Claims (26)
Priority Applications (1)
| Application Number | Priority Date | Filing Date | Title |
|---|---|---|---|
| CN202010587901.0A CN111677201A (en) | 2020-06-24 | 2020-06-24 | Roof leak-proof structure and roof structure |
Applications Claiming Priority (1)
| Application Number | Priority Date | Filing Date | Title |
|---|---|---|---|
| CN202010587901.0A CN111677201A (en) | 2020-06-24 | 2020-06-24 | Roof leak-proof structure and roof structure |
Publications (1)
| Publication Number | Publication Date |
|---|---|
| CN111677201A true CN111677201A (en) | 2020-09-18 |
Family
ID=72456570
Family Applications (1)
| Application Number | Title | Priority Date | Filing Date |
|---|---|---|---|
| CN202010587901.0A Pending CN111677201A (en) | 2020-06-24 | 2020-06-24 | Roof leak-proof structure and roof structure |
Country Status (1)
| Country | Link |
|---|---|
| CN (1) | CN111677201A (en) |
Cited By (1)
| Publication number | Priority date | Publication date | Assignee | Title |
|---|---|---|---|---|
| CN113225001A (en) * | 2021-05-11 | 2021-08-06 | 厦门晶晟富阳科技有限公司 | Solar photovoltaic waterproof roof structure device |
Citations (6)
| Publication number | Priority date | Publication date | Assignee | Title |
|---|---|---|---|---|
| WO1992002697A1 (en) * | 1990-08-09 | 1992-02-20 | Luciano Paganelli | Roofing for buildings, covered with insulating and/or water-proofing material and applying transparent skylight panels |
| CN202073225U (en) * | 2011-05-10 | 2011-12-14 | 中国十五冶金建设有限公司 | Anti-leakage colored steel tile roof with local structure |
| CN202254149U (en) * | 2011-09-22 | 2012-05-30 | 成都锦前钢结构技术有限公司 | Leakproof ventilator hole apparatus |
| CN107338918A (en) * | 2017-08-29 | 2017-11-10 | 中国冶集团有限公司 | Roofing metal tile large area charge for remittance, secondary draining design structure and construction method |
| CN210798099U (en) * | 2019-09-10 | 2020-06-19 | 烟台市飞龙钢结构工程有限公司 | Profiled sheet composite heat preservation roof high-low span department connected node structure |
| CN212562210U (en) * | 2020-06-24 | 2021-02-19 | 四川麦克威通风设备有限公司 | Roofing leak protection structure and roofing structure |
-
2020
- 2020-06-24 CN CN202010587901.0A patent/CN111677201A/en active Pending
Patent Citations (6)
| Publication number | Priority date | Publication date | Assignee | Title |
|---|---|---|---|---|
| WO1992002697A1 (en) * | 1990-08-09 | 1992-02-20 | Luciano Paganelli | Roofing for buildings, covered with insulating and/or water-proofing material and applying transparent skylight panels |
| CN202073225U (en) * | 2011-05-10 | 2011-12-14 | 中国十五冶金建设有限公司 | Anti-leakage colored steel tile roof with local structure |
| CN202254149U (en) * | 2011-09-22 | 2012-05-30 | 成都锦前钢结构技术有限公司 | Leakproof ventilator hole apparatus |
| CN107338918A (en) * | 2017-08-29 | 2017-11-10 | 中国冶集团有限公司 | Roofing metal tile large area charge for remittance, secondary draining design structure and construction method |
| CN210798099U (en) * | 2019-09-10 | 2020-06-19 | 烟台市飞龙钢结构工程有限公司 | Profiled sheet composite heat preservation roof high-low span department connected node structure |
| CN212562210U (en) * | 2020-06-24 | 2021-02-19 | 四川麦克威通风设备有限公司 | Roofing leak protection structure and roofing structure |
Cited By (1)
| Publication number | Priority date | Publication date | Assignee | Title |
|---|---|---|---|---|
| CN113225001A (en) * | 2021-05-11 | 2021-08-06 | 厦门晶晟富阳科技有限公司 | Solar photovoltaic waterproof roof structure device |
Similar Documents
| Publication | Publication Date | Title |
|---|---|---|
| US9027291B2 (en) | Support structures on roofs | |
| US20180135305A1 (en) | Supporting A Load On A Roof | |
| CN201276799Y (en) | Shutter type rainproof ventilating skylight | |
| US20160053499A1 (en) | Exhaust gas panel vent assembly for roof-mounted photovoltaic systems | |
| CN201310153Y (en) | Grid-type rain-proof ventilated skylight | |
| JP4377466B2 (en) | Roof-integrated solar array | |
| CN111677201A (en) | Roof leak-proof structure and roof structure | |
| CN212562210U (en) | Roofing leak protection structure and roofing structure | |
| CN210947459U (en) | Eave flashing structure of passive steel structure house | |
| CN221609286U (en) | Assembly efficient stable low-cost gutter-free photovoltaic greenhouse drainage system | |
| CN219471375U (en) | A metal roof waterproof ridge | |
| CN208441365U (en) | Steel structure supporting system | |
| JP2018003244A (en) | Roof panel, and roof structure of building | |
| CN214739323U (en) | Assembled waterproof double-slope ridge structure | |
| CN213449085U (en) | Box room double-slope drainage roof structure | |
| JP2002004527A (en) | Solar energy collection device | |
| CN108894435B (en) | Roofing system | |
| CN219281101U (en) | Gutter expansion joint node and gutter structure | |
| JP3108289B2 (en) | Solar cell roof | |
| CN216616587U (en) | Roof board | |
| CN223398305U (en) | Roof gutter structure | |
| CN220598928U (en) | Assembled arch tile frame, roofing tile and roofing system | |
| CN220908914U (en) | Waterproof smoke discharging skylight with split type bottom drainage system | |
| JP3308890B2 (en) | Vertical roofing exterior structure and heat collecting method using vertical roofing exterior structure | |
| CN219938287U (en) | Photovoltaic module and photovoltaic water guide system |
Legal Events
| Date | Code | Title | Description |
|---|---|---|---|
| PB01 | Publication | ||
| PB01 | Publication | ||
| SE01 | Entry into force of request for substantive examination | ||
| SE01 | Entry into force of request for substantive examination | ||
| RJ01 | Rejection of invention patent application after publication | ||
| RJ01 | Rejection of invention patent application after publication |
Application publication date: 20200918 |
