CN111677022A - A device for detecting the thickness of the sediment before the cast-in-place pile is formed - Google Patents
A device for detecting the thickness of the sediment before the cast-in-place pile is formed Download PDFInfo
- Publication number
- CN111677022A CN111677022A CN202010537047.7A CN202010537047A CN111677022A CN 111677022 A CN111677022 A CN 111677022A CN 202010537047 A CN202010537047 A CN 202010537047A CN 111677022 A CN111677022 A CN 111677022A
- Authority
- CN
- China
- Prior art keywords
- column
- threaded
- torsion
- thickness
- scale
- Prior art date
- Legal status (The legal status is an assumption and is not a legal conclusion. Google has not performed a legal analysis and makes no representation as to the accuracy of the status listed.)
- Granted
Links
- 239000013049 sediment Substances 0.000 title abstract description 44
- 239000002893 slag Substances 0.000 claims abstract description 21
- 229910000831 Steel Inorganic materials 0.000 claims description 29
- 239000010959 steel Substances 0.000 claims description 29
- 238000009434 installation Methods 0.000 claims description 5
- 238000005259 measurement Methods 0.000 abstract description 14
- 238000000034 method Methods 0.000 abstract description 11
- 238000001514 detection method Methods 0.000 abstract description 6
- 230000035945 sensitivity Effects 0.000 abstract description 4
- 238000010276 construction Methods 0.000 description 3
- 238000006073 displacement reaction Methods 0.000 description 3
- 238000005070 sampling Methods 0.000 description 3
- 238000013461 design Methods 0.000 description 2
- 238000010586 diagram Methods 0.000 description 2
- 230000009286 beneficial effect Effects 0.000 description 1
- 238000006243 chemical reaction Methods 0.000 description 1
- 238000011161 development Methods 0.000 description 1
- 238000005553 drilling Methods 0.000 description 1
- 238000000691 measurement method Methods 0.000 description 1
- 238000012986 modification Methods 0.000 description 1
- 230000004048 modification Effects 0.000 description 1
- 239000002689 soil Substances 0.000 description 1
Images
Classifications
-
- E—FIXED CONSTRUCTIONS
- E02—HYDRAULIC ENGINEERING; FOUNDATIONS; SOIL SHIFTING
- E02D—FOUNDATIONS; EXCAVATIONS; EMBANKMENTS; UNDERGROUND OR UNDERWATER STRUCTURES
- E02D33/00—Testing foundations or foundation structures
-
- G—PHYSICS
- G01—MEASURING; TESTING
- G01B—MEASURING LENGTH, THICKNESS OR SIMILAR LINEAR DIMENSIONS; MEASURING ANGLES; MEASURING AREAS; MEASURING IRREGULARITIES OF SURFACES OR CONTOURS
- G01B5/00—Measuring arrangements characterised by the use of mechanical techniques
- G01B5/02—Measuring arrangements characterised by the use of mechanical techniques for measuring length, width or thickness
- G01B5/06—Measuring arrangements characterised by the use of mechanical techniques for measuring length, width or thickness for measuring thickness
- G01B5/066—Measuring arrangements characterised by the use of mechanical techniques for measuring length, width or thickness for measuring thickness of coating
-
- Y—GENERAL TAGGING OF NEW TECHNOLOGICAL DEVELOPMENTS; GENERAL TAGGING OF CROSS-SECTIONAL TECHNOLOGIES SPANNING OVER SEVERAL SECTIONS OF THE IPC; TECHNICAL SUBJECTS COVERED BY FORMER USPC CROSS-REFERENCE ART COLLECTIONS [XRACs] AND DIGESTS
- Y02—TECHNOLOGIES OR APPLICATIONS FOR MITIGATION OR ADAPTATION AGAINST CLIMATE CHANGE
- Y02A—TECHNOLOGIES FOR ADAPTATION TO CLIMATE CHANGE
- Y02A90/00—Technologies having an indirect contribution to adaptation to climate change
- Y02A90/30—Assessment of water resources
Landscapes
- Engineering & Computer Science (AREA)
- Physics & Mathematics (AREA)
- General Physics & Mathematics (AREA)
- Life Sciences & Earth Sciences (AREA)
- General Life Sciences & Earth Sciences (AREA)
- Mining & Mineral Resources (AREA)
- Paleontology (AREA)
- Civil Engineering (AREA)
- General Engineering & Computer Science (AREA)
- Structural Engineering (AREA)
- A Measuring Device Byusing Mechanical Method (AREA)
Abstract
本发明公开了一种灌注桩成桩前沉渣厚度检测装置,包括连接杆、第一螺纹盘、第二螺纹盘和扭力机构,连接杆包括光杆、螺纹杆和钻头,扭力机构、螺纹杆、光杆、钻头从上至下依次螺纹连接,第一螺纹盘与第二螺纹盘均套接在连接杆上,第一螺纹盘上阵列插接有四个销钉,第一螺纹盘上还垂直设有一刻度指示板,扭力机构包括扭柱、刻度盘和定位柱,刻度盘、扭柱依次套于定位柱上,刻度盘与扭柱、定位柱之间通过限位件连接。本装置的各个部件重量轻且属于拼装构件,便于携带;本构件测量过程中具有很强的稳定性,能够减少测量误差;本构件敏感度高,能够精准的区分钻头是否跨过沉渣层进入持力层。
The invention discloses a slag thickness detection device before a cast-in-place pile is formed, which comprises a connecting rod, a first threaded disk, a second threaded disk and a torsion mechanism. , The drill bits are connected in sequence from top to bottom, the first threaded disk and the second threaded disk are both sleeved on the connecting rod, four pins are inserted in an array on the first threaded disk, and a scale is also vertically arranged on the first threaded disk The indicator board and the torsion mechanism include a torsion column, a dial and a positioning column, the dial and the torsion column are sequentially sleeved on the positioning column, and the dial, the torsion column and the positioning column are connected by a limiter. Each component of the device is light in weight and is an assembled component, which is easy to carry; the component has strong stability during the measurement process, which can reduce measurement errors; the component has high sensitivity and can accurately distinguish whether the drill bit crosses the sediment layer into the holding force layer.
Description
技术领域technical field
本发明属于建筑工程房屋基础灌注桩施工技术领域,具体涉及一种灌注桩成桩前沉渣厚度检测装置。The invention belongs to the technical field of construction of cast-in-place piles for building foundations of construction projects, and particularly relates to a device for detecting the thickness of sediment before the cast-in-place piles are formed into piles.
背景技术Background technique
近十几年以来,随着建筑业的发展,超高层建筑在我国越来越多,而当超高层建筑出现在土质不好的地方时,需要采用桩基础,一般的桩基础的桩径都比较大,其中灌注桩运用广泛。而灌注桩相对预制桩等其他桩,最大的缺陷就是孔底沉渣不能彻底清除干净,孔底沉渣超厚将出现承载力不足、桩位偏差过大、桩孔倾斜超标等质量问题,并且这些质量问题往往是致命的,因为成桩之后将难以满足设计要求,且补救困难。因此可以知道沉渣是影响桩基承载力的主要因素,过厚的沉渣将会导致端阻力最大损失达80%以上,侧阻力最大损失达70%以上,所以必须严格控制沉渣厚度,根据《建筑桩基技术规范》(JGJ94-2008)中规定:在灌注混凝土前,孔底沉渣厚度对于端承型桩不应大于50mm;对于摩擦型桩不应大于100mm;对于抗拔、抗水平力桩不应大于200mm。为了测出精确的沉渣厚度以确保桩能够尽可能的达到设计要求,需要用到沉渣厚度检测装置对沉渣厚度进行测量。In the past ten years, with the development of the construction industry, there are more and more super high-rise buildings in our country, and when the super high-rise buildings appear in places with poor soil quality, pile foundations need to be used. Relatively large, among which cast-in-place piles are widely used. Compared with other piles such as prefabricated piles, the biggest disadvantage of cast-in-place piles is that the sediment at the bottom of the hole cannot be completely removed. If the sediment at the bottom of the hole is too thick, there will be quality problems such as insufficient bearing capacity, excessive pile position deviation, and excessive pile hole inclination. Problems are often fatal because after piling up, it will be difficult to meet design requirements and difficult to remedy. Therefore, it can be known that the sediment is the main factor affecting the bearing capacity of the pile foundation. Too thick sediment will lead to a maximum loss of more than 80% in end resistance and more than 70% in lateral resistance. Therefore, the thickness of sediment must be strictly controlled. Foundation Technical Specifications (JGJ94-2008) stipulates: Before pouring concrete, the thickness of the sediment at the bottom of the hole should not be greater than 50mm for end-bearing piles; it should not be greater than 100mm for friction-type piles; greater than 200mm. In order to measure the accurate sediment thickness to ensure that the pile can meet the design requirements as much as possible, it is necessary to use a sediment thickness detection device to measure the sediment thickness.
目前测量沉渣厚度的方法主要分为重锤法、超声波法和取样盒检测法。测锤法中采用的重锤 (一般≥1 kg) ,体积不宜过大。采用同一种吊锤、同一种吊法,将球沉入孔内的泥浆中,慢慢下放,凭操作人员的手感判断沉渣的顶面位置, 感觉锤球达到沉渣顶面时,及时记录所放测绳的长度Hc,然后与钻孔深度Hz比较,两个数值之差△H即为沉渣的厚度。该法检测孔底沉渣厚度较直观方便,但在具体操作中人为因素影响较大,测量精度较差,因此大型重要工程一般不采用此方法。超声波法是利用声波转换测出沉渣厚度,测量结果相对精确,但是利用超声波仪器成本过高,不适合大规模使用。取样盒检测法是在清孔结束后将取样盒吊到孔底,待混凝土灌注前,测量沉淀在盒内的渣土厚度。该方法现场操作麻烦,并且不确定因素很大导致测量精度较低。At present, the methods of measuring the thickness of sediment are mainly divided into heavy hammer method, ultrasonic method and sampling box detection method. The heavy hammer (generally ≥1 kg) used in the hammer measurement method should not be too large in size. Using the same hanging hammer and the same hanging method, sink the ball into the mud in the hole, lower it slowly, and judge the position of the top surface of the sediment by the operator's hand feel. When the hammer ball reaches the top surface of the sediment, record the position in time The length Hc of the measuring rope is then compared with the drilling depth Hz, and the difference ΔH between the two values is the thickness of the sediment. This method is more intuitive and convenient to detect the sediment thickness at the bottom of the hole, but in the specific operation, the influence of human factors is large, and the measurement accuracy is poor, so this method is generally not used in large and important projects. The ultrasonic method uses sound wave conversion to measure the thickness of the sediment, and the measurement results are relatively accurate, but the cost of using ultrasonic instruments is too high, which is not suitable for large-scale use. The sampling box detection method is to hang the sampling box to the bottom of the hole after the hole is cleaned, and measure the thickness of the slag deposited in the box before the concrete is poured. This method is troublesome to operate on-site, and the uncertainty factors are large, resulting in low measurement accuracy.
发明内容SUMMARY OF THE INVENTION
本发明提出了一种灌注桩成桩前沉渣厚度检测装置,以解决上述背景技术中提出的问题。本发明的技术方案是这样实现的:The present invention proposes a device for detecting the thickness of the slag before the cast-in-place pile is formed, so as to solve the problems raised in the above-mentioned background art. The technical scheme of the present invention is realized as follows:
一种灌注桩成桩前沉渣厚度检测装置,包括连接杆、第一螺纹盘、第二螺纹盘和扭力机构,所述连接杆包括光杆、螺纹杆和钻头,所述扭力机构、螺纹杆、光杆、钻头从上至下依次螺纹连接,所述第一螺纹盘与第二螺纹盘均套接在所述连接杆上,且所述第一螺纹盘螺纹连接在所述螺纹杆上,所述第二螺纹盘螺纹连接在所述钻头上,所述第一螺纹盘上阵列插接有四个销钉,所述第一螺纹盘上还垂直设有一刻度指示板,所述扭力机构包括扭柱、刻度盘和定位柱,所述刻度盘、扭柱依次套于所述定位柱上,所述刻度盘位于扭柱与定位柱之间,所述扭柱通过螺栓拧紧在所述定位柱上,所述刻度盘与扭柱、定位柱之间通过限位件连接。A device for detecting the thickness of sediment before the cast-in-place pile is formed, comprising a connecting rod, a first threaded disk, a second threaded disk and a torsion mechanism, the connecting rod includes a polished rod, a threaded rod and a drill bit, the torsion mechanism, the threaded rod, the polished rod , The drill bits are screwed in sequence from top to bottom, the first threaded disk and the second threaded disk are both sleeved on the connecting rod, and the first threaded disk is threaded on the threaded rod, and the first threaded disk is threaded on the threaded rod. Two threaded discs are threadedly connected to the drill bit, four pins are inserted in an array on the first threaded disc, and a scale indicator plate is also vertically arranged on the first threaded disc. The torsion mechanism includes a torsion column, a scale The dial and the positioning column, the dial and the torsion column are sequentially sleeved on the positioning column, the dial is located between the torsion column and the positioning column, the torsion column is screwed on the positioning column by bolts, the The dial is connected with the torsion column and the positioning column through the limiter.
在本发明的灌注桩成桩前沉渣厚度检测装置中,所述限位件包括第一钢珠、第二钢珠和第一弹簧,所述定位柱外圈呈阶梯柱状,所述刻度盘、扭柱均套接在所述定位柱的小径柱上,所述扭柱底部阵列设有四个矩形槽,所述定位柱上端面阵列设有四个钢珠槽,所述第一钢珠与第一弹簧压置于所述矩形槽内,所述第二钢珠置于所述钢珠槽内。In the device for detecting the thickness of slag before the cast-in-place pile is formed of the present invention, the limiting member includes a first steel ball, a second steel ball and a first spring, the outer ring of the positioning column is in the shape of a stepped column, the dial, the torsion column They are all sleeved on the small diameter column of the positioning column, the bottom array of the torsion column is provided with four rectangular grooves, the upper end surface of the positioning column is provided with four steel ball grooves, and the first steel ball is pressed against the first spring. is placed in the rectangular groove, and the second steel ball is placed in the steel ball groove.
在本发明的灌注桩成桩前沉渣厚度检测装置中,所述刻度盘上端面设有与矩形槽对应的四个第一弧形钢珠槽,下端面设有与钢珠槽对应的四个第二弧形钢珠槽。In the device for detecting the thickness of the slag before the cast-in-place pile is formed, the upper end surface of the dial is provided with four first arc steel ball grooves corresponding to the rectangular grooves, and the lower end surface is provided with four second steel ball grooves corresponding to the steel ball grooves. Curved steel ball groove.
在本发明的灌注桩成桩前沉渣厚度检测装置中,所述第一螺纹盘上设有一凸块,所述凸块内设有刻度指示板插槽和弹压件安装槽,两个弹压件安装槽对称设于所述刻度指示板插槽两侧,所述刻度指示板通过弹压件卡紧在所述刻度指示板插槽内,所述弹压件置于弹压件安装槽内,所述弹压件包括压板和第二弹簧,所述第二弹簧两端分别固定连接所述第一螺纹盘和压板,所述刻度指示板夹于两压板之间。In the device for detecting the thickness of the slag before the cast-in-place pile is formed, the first threaded disc is provided with a bump, and the bump is provided with a scale indicating plate slot and an elastic member installation groove, and the two elastic members are installed Slots are symmetrically arranged on both sides of the scale indicator board slot, the scale indicator board is clamped in the scale indicator board slot by an elastic pressure piece, the elastic pressure piece is placed in the elastic pressure piece installation slot, and the elastic pressure piece It includes a pressure plate and a second spring, two ends of the second spring are respectively fixedly connected to the first threaded plate and the pressure plate, and the scale indicating plate is sandwiched between the two pressure plates.
在本发明的灌注桩成桩前沉渣厚度检测装置中,所述光杆的数量在1根以上。In the device for detecting the thickness of the slag before the cast-in-place pile of the present invention is formed, the number of the polished rods is more than one.
在本发明的灌注桩成桩前沉渣厚度检测装置中,所述刻度指示板立于所述刻度盘旁侧,所述刻度指示板近刻度盘侧设有竖向刻度,所述刻度盘设有周向刻度。In the device for detecting the thickness of the slag before the cast-in-place pile is formed, the scale indicator plate stands beside the scale plate, the scale indicator plate is provided with a vertical scale on the side near the scale plate, and the scale indicator plate is provided with Circumferential scale.
在本发明的灌注桩成桩前沉渣厚度检测装置中,所述扭柱侧面设有两对称的扭杆。In the device for detecting the thickness of the slag before the cast-in-place pile is formed of the present invention, two symmetrical torsion bars are arranged on the side of the torsion column.
在本发明的灌注桩成桩前沉渣厚度检测装置中,所述螺纹杆上设有大段螺纹,所述钻头下端设有小段螺纹。In the device for detecting the thickness of the slag before the cast-in-place pile is formed, the threaded rod is provided with a large thread, and the lower end of the drill bit is provided with a small thread.
实施本发明的这种灌注桩成桩前沉渣厚度检测装置,具有以下有益效果:Implementing the device for detecting the thickness of slag before the cast-in-place pile of the present invention has the following beneficial effects:
(1)本装置的各个部件重量轻且属于拼装构件,便于携带;本构件测量过程中具有很强的稳定性,能够减少测量误差;本构件敏感度高,能够精准的区分钻头是否跨过沉渣层进入持力层。(1) The components of the device are light in weight and are assembled components, which are easy to carry; the component has strong stability during the measurement process, which can reduce measurement errors; the component has high sensitivity and can accurately distinguish whether the drill bit crosses the sediment layer into the holding layer.
(2)第一螺纹盘与销钉的配合使用,给整个装置提供有效支撑,便于扭力机构施力,且能够根据第一螺纹盘在螺纹杆上的移动距离来得到沉渣层厚度;(2) The cooperative use of the first threaded disk and the pin provides effective support for the entire device, which is convenient for the torsion mechanism to exert force, and the thickness of the sediment layer can be obtained according to the moving distance of the first threaded disk on the threaded rod;
(3)第二螺纹盘的设置,能够在测量之前感知将要沉渣,并将钻头隔离在沉渣层上方,且在测量之前第二螺纹盘的底部与钻头底部在同一水平面上,即贴近沉渣,便于沉渣层厚度的精确测量;(3) The setting of the second threaded disk can sense the sediment to be settled before the measurement, and isolate the drill bit above the sediment layer. Accurate measurement of sediment layer thickness;
(4)扭力机构的设置,能够增加该装置的敏感度,能够迅速判断钻头是否接触持力层,以达到精确测量沉渣层厚度的目的;(4) The setting of the torsion mechanism can increase the sensitivity of the device, and can quickly judge whether the drill bit is in contact with the bearing layer, so as to achieve the purpose of accurately measuring the thickness of the sediment layer;
(5)凸块和弹压件的设置,使得刻度指示板能够非常方便地安装在第一螺纹盘上,并能灵活地进行上下位置调节,根据测量时第一螺纹盘的位置,来调节刻度指示板的上下位置,使得刻度指示板的某个整数刻度线或零刻度线对准刻度盘的顶面,便于读取准确的连接杆1向下运动的位移,以得到准确的沉渣层深度。(5) The setting of the bumps and the elastic pressure piece makes the scale indicator plate can be easily installed on the first threaded plate, and can flexibly adjust the up and down position, and adjust the scale indicator according to the position of the first threaded plate during measurement. The upper and lower positions of the plate make a certain integer scale line or zero scale line of the scale indicator plate align with the top surface of the dial, which is convenient to read the accurate downward displacement of the connecting rod 1, so as to obtain the accurate sediment layer depth.
附图说明Description of drawings
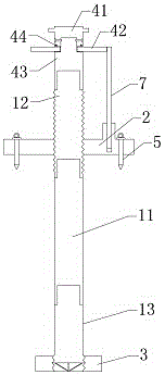
图1为本发明灌注桩成桩前沉渣厚度检测装置的工作示意图;Fig. 1 is the working schematic diagram of the sediment thickness detection device before the cast-in-place pile of the present invention;
图2为本发明灌注桩成桩前沉渣厚度检测装置的剖视图;Fig. 2 is the sectional view of the sediment thickness detection device before the cast-in-place pile of the present invention is formed;
图3为本发明扭力机构的剖视图;Fig. 3 is the sectional view of the torsion mechanism of the present invention;
图4为本发明第一螺纹盘与刻度指示板连接的另一方向结构示意图。FIG. 4 is a schematic structural diagram of another direction of the connection between the first threaded disc and the scale indicator plate of the present invention.
具体实施方式Detailed ways
下面将结合本发明实施例中的附图,对本发明实施例中的技术方案进行清楚、完整地描述。The technical solutions in the embodiments of the present invention will be clearly and completely described below with reference to the accompanying drawings in the embodiments of the present invention.
如图1至4所示的一种灌注桩成桩前沉渣厚度检测装置中,包括连接杆1、第一螺纹盘2、第二螺纹盘3和扭力机构4,连接杆1包括光杆11、螺纹杆12和钻头13,钻头13底部呈十字锥形,扭力机构4、螺纹杆12、光杆11、钻头13从上至下依次螺纹连接,光杆11的数量在1根以上,桩深较大时,可以拼接多根光杆以满足桩深要求,第一螺纹盘2与第二螺纹盘3均套接在连接杆1上,螺纹杆12上设有大段螺纹,钻头13下端设有小段螺纹,第一螺纹盘2螺纹连接在螺纹杆12上,第二螺纹盘3螺纹连接在钻头13上,第一螺纹盘2上阵列插接有四个销钉5,第一螺纹盘2上还垂直设有一刻度指示板7,刻度指示板7立于刻度盘42旁侧, 刻度指示板7近刻度盘42侧设有竖向刻度,刻度盘42设有周向刻度,扭力机构4包括扭柱41、刻度盘42和定位柱43,扭柱41侧面设有两对称的扭杆412,刻度盘42、扭柱41依次套于定位柱43上,刻度盘42位于扭柱41与定位柱43之间,扭柱41通过螺栓6拧紧在定位柱43上,刻度盘42与扭柱41、定位柱43之间通过限位件44连接。第一螺纹盘2与销钉5的配合使用,给整个装置提供有效支撑,便于扭力机构4施力,且能够根据第一螺纹盘2在螺纹杆12上的移动距离来得到沉渣层厚度;第二螺纹盘3的设置,能够在测量之前感知将要沉渣,并将钻头13隔离在沉渣层上方,且在测量之前第二螺纹盘3的底部与钻头13底部在同一水平面上,即贴近沉渣,便于沉渣层厚度的精确测量;扭力机构4的设置,能够增加该装置的敏感度,能够迅速判断钻头13是否接触持力层,以达到精确测量沉渣层厚度的目的。As shown in Figures 1 to 4, a device for detecting the thickness of slag before the cast-in-place pile is formed includes a connecting rod 1, a first threaded
限位件44包括第一钢珠441、第二钢珠442和第一弹簧443,定位柱43外圈呈阶梯柱状,刻度盘42、扭柱41均套接在定位柱43的小径柱上,扭柱41底部阵列设有四个矩形槽411,定位柱43上端面阵列设有四个钢珠槽431,第一钢珠441与第一弹簧443压置于矩形槽411内,第二钢珠442置于钢珠槽431内,刻度盘42上端面设有与矩形槽411对应的四个第一弧形钢珠槽,下端面设有与钢珠槽431对应的四个第二弧形钢珠槽。扭杆412的转动,不仅能够带动连接杆1转动前进,进入沉渣层,且由于施加扭力大小不同,刻度盘42的转动弧度会不同,读取的刻度增加程度也不同,因此还能够通过刻度盘42刻度的增加程度来判断连接杆1是否从沉渣层进入持力层,当接触持力层时,施加在扭杆412上的扭力迅速增大,刻度指示板7指向的读数也会迅速增加。The
第一螺纹盘2上设有一凸块,凸块内设有刻度指示板插槽21和弹压件安装槽22,两个弹压件安装槽22对称设于刻度指示板插槽21两侧,刻度指示板7通过弹压件8卡紧在刻度指示板插槽21内,弹压件8置于弹压件安装槽22内,弹压件8包括压板81和第二弹簧82,第二弹簧82两端分别固定连接第一螺纹盘2和压板81,刻度指示板7夹于两压板81之间,刻度指示板7的零刻度在最上端。凸块和弹压件8的设置,使得刻度指示板7能够非常方便地安装在第一螺纹盘2上,并能灵活地进行上下位置调节,根据测量时第一螺纹盘2的位置,来调节刻度指示板7的上下位置,使得刻度指示板7的某个整数刻度线或零刻度线对准刻度盘42的顶面,便于读取准确的连接杆1向下运动的位移,以得到准确的沉渣层深度。The first threaded
当测量时需要转动扭力机构4扭动第一弹簧从而带动连接杆1转动使杆件慢慢的进入沉渣层,连接杆1每进入沉渣层1厘米可以在扭力机构4读数盘上读到所用的力是多少。因为连接杆1在沉渣层和持力层活动所受的阻力不同,因此当测得某一时刻连接杆1深入1厘米时所用的力在读数盘读出来明显增加很多,则说明连接杆1末端以及跨过沉渣层进入持力层了。这样便可准确测量连接杆1下降的位移,该连接杆1就代表沉渣层厚度。When measuring, it is necessary to rotate the
在灌注桩成孔后,将连接杆1拼接好,再依次穿过第一螺纹盘2、第二螺纹盘3,最后在连接杆1上方装上扭力机构4,然后将装置缓慢放入孔内,直至第二螺纹盘3与沉渣层上表面接触,第一螺纹盘2与地基面接触,再用销钉5将第一螺纹盘2钉牢在地基面,上下调节刻度指示板7,使刻度指示板7的某个整数刻度线对准刻度盘42的顶面,并记下读数A,开始施力扭动扭力机构4使连接杆1缓慢进入沉渣层,同时注意每深入1厘米在刻度盘42对应的读数,直至某一时刻连接杆1深入1厘米,读数盘读数与之前相比明显增加较大,则说明这时候杆件末端开始进入持力层,停止施力,再次读取刻度指示板7读数B,读数AB之差即为所需要测量的沉渣层厚度。After the cast-in-place pile is formed into a hole, the connecting rod 1 is spliced together, and then passes through the first threaded
实施例而已,并不用以限制本发明,凡在本发明的精神和原则之内,所作的任何修改、等同替换、改进等,均应包含在本发明的保护范围之内。Examples are only examples, and are not intended to limit the present invention. Any modification, equivalent replacement, improvement, etc. made within the spirit and principle of the present invention should be included within the protection scope of the present invention.
Claims (8)
Priority Applications (1)
| Application Number | Priority Date | Filing Date | Title |
|---|---|---|---|
| CN202010537047.7A CN111677022B (en) | 2020-06-12 | 2020-06-12 | Sediment thickness detection device before bored concrete pile formation |
Applications Claiming Priority (1)
| Application Number | Priority Date | Filing Date | Title |
|---|---|---|---|
| CN202010537047.7A CN111677022B (en) | 2020-06-12 | 2020-06-12 | Sediment thickness detection device before bored concrete pile formation |
Publications (2)
| Publication Number | Publication Date |
|---|---|
| CN111677022A true CN111677022A (en) | 2020-09-18 |
| CN111677022B CN111677022B (en) | 2024-07-09 |
Family
ID=72435519
Family Applications (1)
| Application Number | Title | Priority Date | Filing Date |
|---|---|---|---|
| CN202010537047.7A Active CN111677022B (en) | 2020-06-12 | 2020-06-12 | Sediment thickness detection device before bored concrete pile formation |
Country Status (1)
| Country | Link |
|---|---|
| CN (1) | CN111677022B (en) |
Cited By (1)
| Publication number | Priority date | Publication date | Assignee | Title |
|---|---|---|---|---|
| CN113295125A (en) * | 2021-06-21 | 2021-08-24 | 重庆工商大学 | Array type sediment thickness detection device, system and detection method |
Citations (4)
| Publication number | Priority date | Publication date | Assignee | Title |
|---|---|---|---|---|
| CN209353383U (en) * | 2018-11-15 | 2019-09-06 | 中国建筑第八工程局有限公司 | Sediment detection device |
| CN110499793A (en) * | 2019-09-09 | 2019-11-26 | 浙江诚博建设工程有限公司 | A kind of tool and its application method measuring grout pile bottom sediment thickness |
| CN209745188U (en) * | 2019-06-24 | 2019-12-06 | 中冶建工集团有限公司 | Bored concrete pile sediment thickness measurement appearance |
| CN212358401U (en) * | 2020-06-12 | 2021-01-15 | 东华理工大学 | A device for detecting the thickness of sediment before the cast-in-place pile is formed into a pile |
-
2020
- 2020-06-12 CN CN202010537047.7A patent/CN111677022B/en active Active
Patent Citations (4)
| Publication number | Priority date | Publication date | Assignee | Title |
|---|---|---|---|---|
| CN209353383U (en) * | 2018-11-15 | 2019-09-06 | 中国建筑第八工程局有限公司 | Sediment detection device |
| CN209745188U (en) * | 2019-06-24 | 2019-12-06 | 中冶建工集团有限公司 | Bored concrete pile sediment thickness measurement appearance |
| CN110499793A (en) * | 2019-09-09 | 2019-11-26 | 浙江诚博建设工程有限公司 | A kind of tool and its application method measuring grout pile bottom sediment thickness |
| CN212358401U (en) * | 2020-06-12 | 2021-01-15 | 东华理工大学 | A device for detecting the thickness of sediment before the cast-in-place pile is formed into a pile |
Non-Patent Citations (1)
| Title |
|---|
| 李海梁: "大直径钻孔灌注桩沉渣检测技术的探索", 中外公路, no. 02, 19 April 2005 (2005-04-19), pages 96 - 98 * |
Cited By (2)
| Publication number | Priority date | Publication date | Assignee | Title |
|---|---|---|---|---|
| CN113295125A (en) * | 2021-06-21 | 2021-08-24 | 重庆工商大学 | Array type sediment thickness detection device, system and detection method |
| CN113295125B (en) * | 2021-06-21 | 2023-02-28 | 重庆工商大学 | Array type sediment thickness detection device, system and detection method |
Also Published As
| Publication number | Publication date |
|---|---|
| CN111677022B (en) | 2024-07-09 |
Similar Documents
| Publication | Publication Date | Title |
|---|---|---|
| CN105181199B (en) | A kind of side hole stress relief method of detecting earth stress | |
| CN109469125B (en) | Pile foundation load test device for fiber bragg grating sensing detection and detection method thereof | |
| CN101250866A (en) | Rapid in-situ test method for foundation bearing capacity and deformation modulus | |
| CN104328810B (en) | Prefabricated tubular pile single pile foundation bearing capacity detection improvement method | |
| CN105806721A (en) | Large rock-soil mass in-situ direct shear testing apparatus | |
| CN101936161B (en) | In-situ measurement method for coal rock strength and deformation modulus | |
| CN118756766A (en) | A dynamic excitation ring shear apparatus with controllable normal stress on both sides | |
| CN106088172A (en) | Testing device for combined measurement of pile top and pile end displacement of cast-in-place pile | |
| CN111677022A (en) | A device for detecting the thickness of the sediment before the cast-in-place pile is formed | |
| CN211849649U (en) | Centrifugal model test device for determining the vertical and horizontal ultimate bearing capacity of pile foundations | |
| CN106088173A (en) | Combined testing device for horizontal displacement of pile top and stress of pile body of precast pile | |
| CN212358401U (en) | A device for detecting the thickness of sediment before the cast-in-place pile is formed into a pile | |
| CN207228185U (en) | Open-end PHC tubular pile end resistance testing device | |
| CN105862944B (en) | A kind of spread foundation full scale test device | |
| CN209798848U (en) | Pile foundation load test device for fiber bragg grating sensing detection | |
| CN215165894U (en) | Special umbrella-type aperture detection device of bored concrete pile | |
| CN209690084U (en) | A kind of strain controlling formula shearing test device of soil | |
| CN203616239U (en) | Simple rock and concrete cement plane cutting test device | |
| JP4115216B2 (en) | In-hole vertical loading test method and apparatus | |
| CN113897938B (en) | Pile system capable of dynamically monitoring interaction distribution force of pile and freeze-thaw soil | |
| CN106480908A (en) | A kind of mini pile horizontally loading test device and method | |
| CN205934996U (en) | Combined testing device for horizontal displacement of pile top and stress of pile body of precast pile | |
| CN210426694U (en) | Underground water level measuring device | |
| CN203569600U (en) | Pile bottom bedrock load test device | |
| CN108252339A (en) | A kind of engineering pile dead-load detection device |
Legal Events
| Date | Code | Title | Description |
|---|---|---|---|
| PB01 | Publication | ||
| PB01 | Publication | ||
| SE01 | Entry into force of request for substantive examination | ||
| SE01 | Entry into force of request for substantive examination | ||
| GR01 | Patent grant | ||
| GR01 | Patent grant |
