CN111673991A - Ejector structure of injection mold - Google Patents
Ejector structure of injection mold Download PDFInfo
- Publication number
- CN111673991A CN111673991A CN202010508650.2A CN202010508650A CN111673991A CN 111673991 A CN111673991 A CN 111673991A CN 202010508650 A CN202010508650 A CN 202010508650A CN 111673991 A CN111673991 A CN 111673991A
- Authority
- CN
- China
- Prior art keywords
- plate
- mold
- die
- ejector
- rod
- Prior art date
- Legal status (The legal status is an assumption and is not a legal conclusion. Google has not performed a legal analysis and makes no representation as to the accuracy of the status listed.)
- Pending
Links
- 238000002347 injection Methods 0.000 title claims abstract description 26
- 239000007924 injection Substances 0.000 title claims abstract description 26
- 230000007246 mechanism Effects 0.000 claims abstract description 24
- 238000003825 pressing Methods 0.000 claims description 4
- 239000000463 material Substances 0.000 claims description 3
- 238000001746 injection moulding Methods 0.000 description 7
- 238000000034 method Methods 0.000 description 3
- 230000006835 compression Effects 0.000 description 2
- 238000007906 compression Methods 0.000 description 2
- 238000010586 diagram Methods 0.000 description 2
- 230000000694 effects Effects 0.000 description 2
- 230000006872 improvement Effects 0.000 description 2
- 230000008569 process Effects 0.000 description 2
- 239000000243 solution Substances 0.000 description 2
- 230000009471 action Effects 0.000 description 1
- 238000001816 cooling Methods 0.000 description 1
- 230000007812 deficiency Effects 0.000 description 1
- 238000009434 installation Methods 0.000 description 1
- 238000004519 manufacturing process Methods 0.000 description 1
- 238000012986 modification Methods 0.000 description 1
- 230000004048 modification Effects 0.000 description 1
- 210000000633 nuclear envelope Anatomy 0.000 description 1
- 238000003672 processing method Methods 0.000 description 1
- 238000007711 solidification Methods 0.000 description 1
- 230000008023 solidification Effects 0.000 description 1
Images
Classifications
-
- B—PERFORMING OPERATIONS; TRANSPORTING
- B29—WORKING OF PLASTICS; WORKING OF SUBSTANCES IN A PLASTIC STATE IN GENERAL
- B29C—SHAPING OR JOINING OF PLASTICS; SHAPING OF MATERIAL IN A PLASTIC STATE, NOT OTHERWISE PROVIDED FOR; AFTER-TREATMENT OF THE SHAPED PRODUCTS, e.g. REPAIRING
- B29C45/00—Injection moulding, i.e. forcing the required volume of moulding material through a nozzle into a closed mould; Apparatus therefor
- B29C45/17—Component parts, details or accessories; Auxiliary operations
- B29C45/40—Removing or ejecting moulded articles
- B29C45/4005—Ejector constructions; Ejector operating mechanisms
-
- B—PERFORMING OPERATIONS; TRANSPORTING
- B29—WORKING OF PLASTICS; WORKING OF SUBSTANCES IN A PLASTIC STATE IN GENERAL
- B29C—SHAPING OR JOINING OF PLASTICS; SHAPING OF MATERIAL IN A PLASTIC STATE, NOT OTHERWISE PROVIDED FOR; AFTER-TREATMENT OF THE SHAPED PRODUCTS, e.g. REPAIRING
- B29C45/00—Injection moulding, i.e. forcing the required volume of moulding material through a nozzle into a closed mould; Apparatus therefor
- B29C45/17—Component parts, details or accessories; Auxiliary operations
- B29C45/26—Moulds
- B29C45/33—Moulds having transversely, e.g. radially, movable mould parts
Landscapes
- Engineering & Computer Science (AREA)
- Manufacturing & Machinery (AREA)
- Mechanical Engineering (AREA)
- Moulds For Moulding Plastics Or The Like (AREA)
Abstract
本发明公开了注塑模具的顶出结构,包括前模和后模、侧滑块镶针机构、互锁机构和顶料机构;侧滑块镶针机构包括斜向导杆、滑块和镶针;斜向导杆设置于前模,滑块滑动配合于后模上并与斜向导孔导向配合;镶针设置于滑块上;顶料机构包括顶针板和顶针司筒组件;互锁机构包括复位弹簧、限位块、第一限位杆和第二限位杆;复位弹簧设置于顶针板和后模的垫板之间;第一限位杆的第一端固定于前模的侧壁上,第二端延伸至后模的侧壁处;限位块固定于顶针板的侧壁;第二限位杆的第一端转动连接于固定板的侧壁上,第二端可摆动设置,以及当前模和后模处于开模状态时,第一限位杆的侧壁脱离第二限位杆的抵靠。本发明具有脱模便利、脱模效率高的特点。
The invention discloses an ejection structure of an injection mold, including a front mold and a rear mold, a side slider inserting mechanism, an interlocking mechanism and an ejector mechanism; the side slider inserting mechanism includes an oblique guide rod, a slider and an inserting needle; The oblique guide rod is arranged on the front mold, and the sliding block is slidably fitted on the rear mold and guided and matched with the oblique guide hole; the insert needle is arranged on the sliding block; the ejector mechanism includes an ejector plate and an ejector cylinder assembly; the interlock mechanism includes a return spring , limit block, first limit rod and second limit rod; the return spring is arranged between the ejector plate and the backing plate of the rear mold; the first end of the first limit rod is fixed on the side wall of the front mold, The second end extends to the side wall of the rear mold; the limit block is fixed on the side wall of the ejector plate; the first end of the second limit rod is rotatably connected to the side wall of the fixing plate, and the second end can be swingably arranged, and When the front mold and the rear mold are in the mold opening state, the side wall of the first limit rod is released from the abutment of the second limit rod. The invention has the characteristics of convenient demoulding and high demoulding efficiency.
Description
技术领域technical field
本发明涉及模具领域,更具体的涉及一种注塑模具的顶出结构。The invention relates to the field of molds, and more particularly to an ejection structure of an injection mold.
背景技术Background technique
注塑模具是一种生产塑胶制品的工具,也是赋予塑胶制品完整结构和精确尺寸的工具。注塑成型是批量生产某些形状复杂部件时用到的一种加工方法。具体指将受热融化的塑料由注塑机高压射入模腔,经冷却固化后,得到成形品。Injection mold is a tool for producing plastic products, and it is also a tool for giving plastic products complete structure and precise dimensions. Injection molding is a processing method used in the mass production of some complex-shaped parts. Specifically, it refers to the injection of the heated and melted plastic into the cavity of the injection molding machine at high pressure, and after cooling and solidification, a molded product is obtained.
现有技术中,在注塑侧面具有凹槽或是开口的注塑件时,需要设置侧滑杆镶针,在注塑时,该滑块镶针伸入到型腔内,从而在注塑件上形成侧开口。成型的注塑件在脱模时,需先开模,然后利用侧滑机构将将滑块镶针从注塑件中滑出,最后利用顶针或是司筒针将注塑件从后模芯子上顶出,达到脱模的效果。上述注塑件在脱模时,脱模操作较为繁琐,导致脱模效率较低,因此存在着改进的空间。In the prior art, when injecting an injection molded part with a groove or an opening on the side, it is necessary to set a side slide bar insert. Open your mouth. When the molded injection part is demolded, it is necessary to open the mold first, then use the side sliding mechanism to slide the slider insert out of the injection part, and finally use the ejector pin or the cylinder pin to push the injection part from the back mold core. out to achieve the effect of demoulding. When the above-mentioned injection molded parts are demolded, the demolding operation is cumbersome, resulting in low demolding efficiency, so there is room for improvement.
发明内容SUMMARY OF THE INVENTION
针对现有技术的不足,本发明提供了一种注塑模具的顶出结构,具有脱模便利以及脱模效率高的特点,而且使用安全。In view of the deficiencies of the prior art, the present invention provides an ejection structure of an injection mold, which has the characteristics of convenient demolding, high demolding efficiency, and safe use.
为实现上述目的,本发明提供了如下技术方案:For achieving the above object, the present invention provides the following technical solutions:
一种注塑模具的顶出结构,包括前模和后模,前模包括前底板和前模架,后模包括依次排列的后模架、垫板、固定板、支撑板和后底板,支撑板具有两块并与固定板和后底板之间形成移动腔,前模架和后模架之间形成型腔,其特征是:还包括有侧滑块镶针机构、互锁机构和顶料机构;An ejection structure of an injection mold includes a front mold and a rear mold, the front mold includes a front bottom plate and a front mold base, and the rear mold includes a rear mold base, a backing plate, a fixed plate, a support plate, and a rear bottom plate, which are arranged in sequence. It has two pieces and forms a moving cavity between the fixed plate and the rear bottom plate, and a cavity is formed between the front mold base and the rear mold base. ;
所述侧滑块镶针机构包括斜向导杆、滑块和镶针;所述斜向导杆设置于前模,并且斜向导杆的前端杆体位于前模的外部;所述滑块滑动配合于后模上,并且具有与斜向导杆位于前模外部的前端杆体导向配合的斜向导孔,以及前模相对于后模移动时,斜向导杆带动滑块相对于型腔移动;所述镶针设置于滑块朝向型腔的一侧;The side-slider needle-inserting mechanism includes an oblique guide rod, a sliding block and an inlaid needle; the oblique guide rod is arranged on the front mold, and the front end rod body of the oblique guide rod is located outside the front mold; the slider is slidably fitted to the rear mold on the mold, and has an oblique guide hole that guides and cooperates with the front end rod body of the oblique guide rod located outside the front mold, and when the front mold moves relative to the rear mold, the oblique guide rod drives the slider to move relative to the cavity; the insert pin is set On the side of the slider facing the cavity;
所述顶料机构包括顶针板和顶针司筒组件;所述顶针板位于移动腔内,并且在移动腔内朝向或是背向前模可移动设置;所述顶针司筒组件的上端与型腔或是主流道对应,下端支撑于顶针板上;The ejector mechanism includes an ejector plate and an ejector cylinder assembly; the ejector plate is located in the moving cavity, and is movably arranged in the moving cavity toward or away from the front mold; the upper end of the ejector cylinder assembly is connected to the cavity Or the main channel corresponds, and the lower end is supported on the thimble plate;
所述互锁机构包括复位弹簧、限位块、第一限位杆和第二限位杆;所述复位弹簧设置于顶针板和垫板之间;所述第一限位杆的第一端固定于前模的侧壁上,第二端延伸至后模的侧壁处;所述限位块固定于顶针板的侧壁;所述第二限位杆的第一端转动连接于固定板的侧壁上,第二端可摆动设置并且可抵靠至第一限位杆以及可供限位块抵靠,第二限位杆的长度大于第二限位杆的第一端至第一限位杆的距离,同时大于第二限位杆的第一端至限位块的距离,以及当前模和后模处于开模状态时,第一限位杆的侧壁脱离第二限位杆的抵靠。The interlocking mechanism includes a reset spring, a limit block, a first limit rod and a second limit rod; the reset spring is arranged between the ejector plate and the backing plate; the first end of the first limit rod It is fixed on the side wall of the front mold, and the second end extends to the side wall of the rear mold; the limit block is fixed on the side wall of the ejector plate; the first end of the second limit rod is rotatably connected to the fixing plate On the side wall of the , the second end can swing and can abut against the first limit rod and the limit block, and the length of the second limit rod is greater than the length of the second limit rod from the first end to the first limit rod. The distance of the limit rod is greater than the distance from the first end of the second limit rod to the limit block, and when the front mold and the rear mold are in the open state, the side wall of the first limit rod is separated from the second limit rod 's abutment.
优选的,所述后模架朝向前模架的侧壁上具有供滑块滑动配合的导向滑槽,以及所述导向滑槽的底壁具有倾斜导向段。Preferably, the side wall of the rear mold frame facing the front mold frame is provided with a guide chute for sliding fit of the slider, and the bottom wall of the guide chute has an inclined guide section.
优选的,所述倾斜导向段上具有供斜向导杆的头部插入的定位槽。Preferably, the inclined guide segment has a positioning groove into which the head of the inclined guide rod is inserted.
优选的,所述后模架包括推板和模仁;所述滑块滑动配合在推板上,并且滑块朝向模仁的侧壁上具有安装孔,所述安装孔内设置有能抵靠至模仁外侧壁的缓冲弹簧。Preferably, the rear mold frame includes a push plate and a mold core; the slider is slidably fitted on the push plate, and a side wall of the slider facing the mold core has a mounting hole, and a mounting hole is provided in the mounting hole that can abut against the mold core. Buffer spring to the outer side wall of the mold core.
优选的,所述前模架上设置有压紧螺栓,当前模和后模处于合模状态时,压紧螺栓的端部抵压于滑块上。Preferably, a pressing bolt is provided on the front mold frame, and when the front mold and the rear mold are in a clamping state, the end of the pressing bolt is pressed against the slider.
本发明的优点为:在前模和后模开模时,通过斜向导向杆和斜向导孔的配合,使得滑块背向型腔移动,使得镶针脱离型腔,因此便可利用顶出机构直接将注塑件顶出即可,顶出简便,提高了注塑件脱料的效率;在合模过程中,通过先复位机构,带动顶针司筒组件先脱离型腔后,再合模复位,达到互锁作用,避免顶针司筒组件的上端于镶针发生碰撞的问题,显著提升了本发明使用的安全性。The advantages of the present invention are: when the front mold and the rear mold are opened, the sliding block moves away from the cavity through the cooperation of the oblique guide rod and the oblique guide hole, so that the insert pin is separated from the cavity, so the ejector can be used. The mechanism can directly eject the injection molded parts, which is easy to eject and improves the ejection efficiency of the injection molded parts; during the mold clamping process, the ejector cylinder assembly is driven to leave the cavity first by the reset mechanism, and then the mold is closed and reset. The interlocking effect is achieved, the problem of collision between the upper end of the thimble cylinder assembly and the insert needle is avoided, and the safety of the present invention is significantly improved.
附图说明Description of drawings
图1为本实施例所提供的注塑模具的顶出结构的示意图;Fig. 1 is the schematic diagram of the ejection structure of the injection mold provided by this embodiment;
图2为本实施例所提供的注塑模具的顶出结构的另一示意图。FIG. 2 is another schematic diagram of the ejection structure of the injection mold provided in this embodiment.
具体实施方式Detailed ways
结合图1至图2对本发明注塑模具的顶出结构作进一步的说明。The ejection structure of the injection mold of the present invention will be further described with reference to FIG. 1 to FIG. 2 .
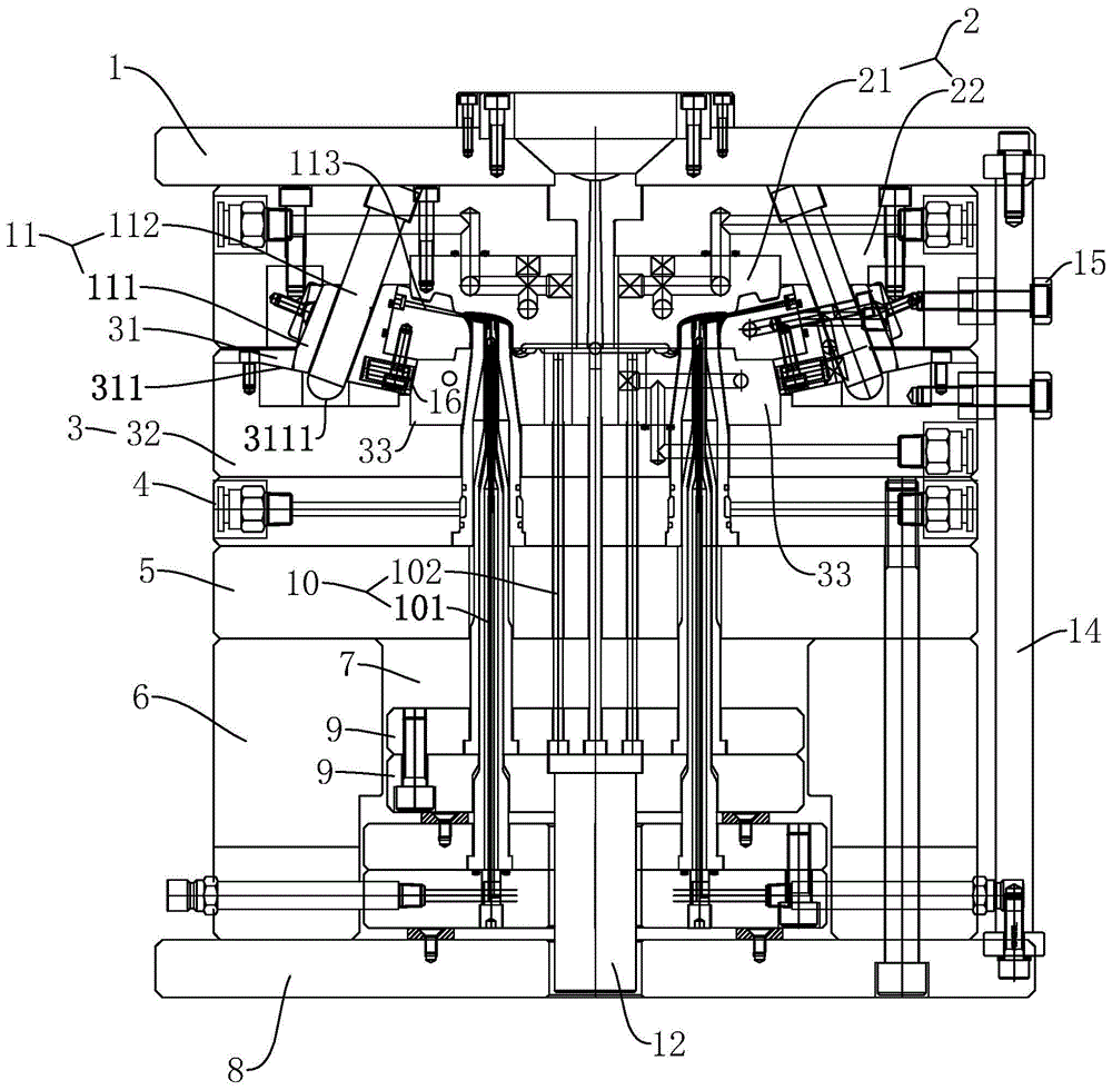
一种注塑模具的顶出结构,包括前模和后模,前模包括前底板1和前模架2,前模架2包括前模板22和安装于前模板22中的前模仁21;后模包括依次排列的后模架3、垫板4、固定板5、支撑板6和后底板8,支撑板6具有两块并与固定板5和后底板8之间形成移动腔7,前模架2和后模架3之间形成型腔。注塑模具的四个顶角处均具有导向拉杆14,以及前模架2和后模架3上均通过螺栓连接有与导向拉杆滑动配合的导向块。An ejection structure of an injection mold includes a front mold and a rear mold, the front mold includes a front bottom plate 1 and a front mold base 2, and the front mold base 2 includes a
注塑模具的顶出结构还包括有侧滑块镶针机构11、互锁机构13和顶料机构。The ejection structure of the injection mold also includes a side slider inserting mechanism 11 , an
所述侧滑块镶针机构11包括斜向导杆112、滑块111和镶针113;所述斜向导杆112的后端杆体固定于前模内,前端杆体位于前模的外部;所述滑块111滑动配合于后模架3,并且具有与斜向导杆112位于前模外部的前端杆体导向配合的斜向导孔,以及后模相对于前模移动时,斜向导杆112带动滑块111相对于型腔移动;所述镶针113设置于滑块111朝向型腔的一侧。The side slider needle inserting mechanism 11 includes an
所述顶料机构包括顶针板9和顶针司筒组件10;所述顶针板9位于移动腔7内,并且在移动腔7内朝向或是背向型腔可移动设置;所述顶针司筒组件10的上端与主流道和型腔对应,下端支撑于顶针板9上。The ejector mechanism includes an
所述互锁机构13包括复位弹簧134、限位块133、第一限位杆131和第二限位杆132;所述复位弹簧设置于顶针板9和垫板4之间;所述第一限位杆131的第一端通过螺栓固定于前模架2的侧壁上,第二端延伸至后模的侧壁处;所述限位块133通过螺栓固定于顶针板9的侧壁;所述第二限位杆132的第一端通过销杆以及扭簧转动连接于固定板5的侧壁上,第二端可转动设置并且可抵靠至合模状态下的第一限位杆131的侧壁以及可供限位块133抵靠,第二限位杆132的长度大于第二限位杆132的第一端至第一限位杆131的距离,同时大于第二限位杆132的第一端至限位块133的距离,以及当前模和后模处于开模状态时,第一限位杆131的侧壁脱离第二限位杆132第二端的抵靠。The
本发明处于合模状态时,镶针113的头部位于型腔内,顶针板9位于移动腔7的下方位置,顶针司筒组件10中的顶针102未与主流道接触,司筒101未进入到型腔内,限位块133抵靠在第二限位杆132的第二端,以及第二限位杆132呈倾斜状态并且其第二端支撑在第一限位杆131的侧壁上形成固定。该状态下,在第一限位杆131、第二限位杆132、复位弹簧134和限位块133的作用下,顶针板9无法朝向前模移动,有效避免顶针司筒组件10意外顶料或是顶主流道的问题。When the present invention is in the clamping state, the head of the
开模操作时,注塑机中的驱动部件通过与导向块15连接,带动后模相对于前模直线移动,移动过程中,斜向导杆112同步带动滑块111背向型腔移动,使得镶针113脱离型腔;移动到一定距离后,第一限位杆131的侧壁脱离第二限位杆132的第二端,使得第二限位杆132的第二端抵靠在第一限位杆131的下端位置上,同时使得第二限位杆132的第二端朝向前模方向转动一定角度,为顶针板9预留出朝向前模方向移动的空间;注塑机中的顶棍12穿过后底板8支撑在顶针板9上并推送顶针板9以及顶针司筒组件10朝向前模移动,以将注塑件以及主流道推出后模架3。During the mold opening operation, the driving part in the injection molding machine is connected with the
合模操作时,注塑机带动后模朝向前模移动,移动过程中,第一限位杆131的第二端抵压第二限位杆132的第二端,使得第二限位杆132的第二端向下转动,带动顶针板9以及顶针司筒组件10背向前模移动,使得镶针113以及主流道安全复位。During the mold clamping operation, the injection molding machine drives the rear mold to move toward the front mold. During the movement, the second end of the
本实施例进一步设置为:所述后模架3朝向前模架2的侧壁上具有供滑块111滑动配合的导向滑槽31,以及所述导向滑槽31的底壁具有倾斜导向段311。导向滑槽31的设置,能够提升滑块111移动的稳定性,倾斜导向段311的设置,能够实现镶针113的斜向进出型腔。This embodiment is further configured as follows: the side wall of the rear mold frame 3 facing the front mold frame 2 has a guide chute 31 for slidingly fitting the
本实施例进一步设置为:所述倾斜导向段311上具有供斜向导杆112的头部插入的定位槽3111。当前模和后模处于合模状态时,斜向导杆112的头部位于该定位槽内,该结构能够提升斜向导杆112对滑块111限位的稳定性,从而提升滑块111在注塑过程中的稳定性,以提升产品注塑的质量。In this embodiment, it is further configured that: the
本实施例进一步设置为:所述后模架3包括推板32和模仁33;所述滑块111滑动配合在推板32上,并且滑块111朝向模仁33的侧壁上具有安装孔,所述安装孔内设置有能抵靠至模仁33外侧壁的缓冲弹簧16。该结构下能对滑块111与模仁33起到保护作用,避免两者之间因合模时发生碰撞而发生损坏的问题。This embodiment is further configured as follows: the rear mold frame 3 includes a push plate 32 and a
本实施例进一步设置为:所述前模架2上设置有压紧螺栓,当前模和后模处于合模状态时,压紧螺栓的端部抵压于滑块111上。该结构下能够进一步提升核膜状态下,滑块111的稳定性,以进一步提升注塑件成型的质量。This embodiment is further configured as follows: the front mold frame 2 is provided with a compression bolt, and when the front mold and the rear mold are in a clamping state, the end of the compression bolt is pressed against the
如无特殊说明,本发明中,若有术语“宽度”、“上”、“下”、“前”、“后”、“左”、“右”、“竖直”、“水平”、“顶”、“底”“内”、“外”、“顺时针”、“逆时针”、“轴向”、“径向”、“周向”等指示的方位或位置关系是基于附图所示的方位或位置关系,仅是为了便于描述本发明和简化描述,而不是指示或暗示所指的装置或元件必须具有特定的方位、以特定的方位构造和操作,因此本发明中描述方位或位置关系的用语仅用于示例性说明,不能理解为对本专利的限制,对于本领域的普通技术人员而言,可以结合附图,并根据具体情况理解上述术语的具体含义。Unless otherwise specified, in the present invention, if the terms "width", "upper", "lower", "front", "rear", "left", "right", "vertical", "horizontal", " The orientation or positional relationship indicated by top, bottom, inner, outer, clockwise, counterclockwise, axial, radial, circumferential, etc., is based on the drawings. The orientation or positional relationship shown is only for the convenience of describing the present invention and simplifying the description, rather than indicating or implying that the indicated device or element must have a specific orientation, be constructed and operated in a specific orientation, and therefore the orientation or The terms of the positional relationship are only used for exemplary description, and should not be construed as a limitation on the present patent. For those of ordinary skill in the art, the specific meanings of the above terms can be understood according to specific situations with reference to the drawings.
除非另有明确的规定和限定,本发明中,若有术语“设置”、“相连”及“连接”应做广义理解,例如,可以是固定连接,也可以是可拆卸连接,或一体地连接;可以是直接相连,也可以通过中间媒介间接相连,可以是两个元件内部的连通。对于本领域的普通技术人员而言,可以具体情况理解上述术语在本发明中的具体含义。Unless otherwise specified and limited, in the present invention, the terms "arranged", "connected" and "connected" should be understood in a broad sense, for example, it may be a fixed connection, a detachable connection, or an integral connection ; It can be directly connected, or indirectly connected through an intermediate medium, and it can be the internal connection of two components. For those of ordinary skill in the art, the specific meanings of the above terms in the present invention can be understood in specific situations.
以上所述仅是本发明的优选实施方式,本发明的保护范围并不仅局限于上述实施例,凡属于本发明思路下的技术方案均属于本发明的保护范围。应当指出,对于本技术领域的普通技术人员来说,在不脱离本发明原理前提下的若干改进和润饰,这些改进和润饰也应视为本发明的保护范围。The above are only the preferred embodiments of the present invention, and the protection scope of the present invention is not limited to the above-mentioned embodiments, and all technical solutions under the idea of the present invention belong to the protection scope of the present invention. It should be pointed out that for those skilled in the art, some improvements and modifications without departing from the principle of the present invention should also be regarded as the protection scope of the present invention.
Claims (5)
Priority Applications (1)
| Application Number | Priority Date | Filing Date | Title |
|---|---|---|---|
| CN202010508650.2A CN111673991A (en) | 2020-06-06 | 2020-06-06 | Ejector structure of injection mold |
Applications Claiming Priority (1)
| Application Number | Priority Date | Filing Date | Title |
|---|---|---|---|
| CN202010508650.2A CN111673991A (en) | 2020-06-06 | 2020-06-06 | Ejector structure of injection mold |
Publications (1)
| Publication Number | Publication Date |
|---|---|
| CN111673991A true CN111673991A (en) | 2020-09-18 |
Family
ID=72454343
Family Applications (1)
| Application Number | Title | Priority Date | Filing Date |
|---|---|---|---|
| CN202010508650.2A Pending CN111673991A (en) | 2020-06-06 | 2020-06-06 | Ejector structure of injection mold |
Country Status (1)
| Country | Link |
|---|---|
| CN (1) | CN111673991A (en) |
Cited By (2)
| Publication number | Priority date | Publication date | Assignee | Title |
|---|---|---|---|---|
| CN115648561A (en) * | 2022-10-27 | 2023-01-31 | 嘉亨家化股份有限公司 | A bottle cap mold |
| CN119116283A (en) * | 2024-11-13 | 2024-12-13 | 佛山市顺德区天玛仕电子有限公司 | Plug housing injection mold |
Citations (6)
| Publication number | Priority date | Publication date | Assignee | Title |
|---|---|---|---|---|
| JP2000158497A (en) * | 1998-11-25 | 2000-06-13 | Nissan Motor Co Ltd | Resin molding equipment |
| CN2897621Y (en) * | 2006-05-26 | 2007-05-09 | 比亚迪股份有限公司 | Reset mechanism of injection mold |
| CN103660187A (en) * | 2013-11-22 | 2014-03-26 | 宁波天龙电子股份有限公司 | Mold ejection mechanism for product and flow passage separation |
| CN203557644U (en) * | 2013-12-02 | 2014-04-23 | 昌辉汽车电器(黄山)股份公司 | Slider demoulding structure for injection mould |
| CN206536784U (en) * | 2017-03-14 | 2017-10-03 | 东莞市奥特模具有限公司 | A kind of straight top type is stripped injection mold structure |
| CN213006348U (en) * | 2020-06-06 | 2021-04-20 | 浙江泰欣塑料模具有限公司 | Ejection structure of injection mold |
-
2020
- 2020-06-06 CN CN202010508650.2A patent/CN111673991A/en active Pending
Patent Citations (6)
| Publication number | Priority date | Publication date | Assignee | Title |
|---|---|---|---|---|
| JP2000158497A (en) * | 1998-11-25 | 2000-06-13 | Nissan Motor Co Ltd | Resin molding equipment |
| CN2897621Y (en) * | 2006-05-26 | 2007-05-09 | 比亚迪股份有限公司 | Reset mechanism of injection mold |
| CN103660187A (en) * | 2013-11-22 | 2014-03-26 | 宁波天龙电子股份有限公司 | Mold ejection mechanism for product and flow passage separation |
| CN203557644U (en) * | 2013-12-02 | 2014-04-23 | 昌辉汽车电器(黄山)股份公司 | Slider demoulding structure for injection mould |
| CN206536784U (en) * | 2017-03-14 | 2017-10-03 | 东莞市奥特模具有限公司 | A kind of straight top type is stripped injection mold structure |
| CN213006348U (en) * | 2020-06-06 | 2021-04-20 | 浙江泰欣塑料模具有限公司 | Ejection structure of injection mold |
Cited By (2)
| Publication number | Priority date | Publication date | Assignee | Title |
|---|---|---|---|---|
| CN115648561A (en) * | 2022-10-27 | 2023-01-31 | 嘉亨家化股份有限公司 | A bottle cap mold |
| CN119116283A (en) * | 2024-11-13 | 2024-12-13 | 佛山市顺德区天玛仕电子有限公司 | Plug housing injection mold |
Similar Documents
| Publication | Publication Date | Title |
|---|---|---|
| CN102794876B (en) | Injection mold for making helical fan | |
| CN102785335B (en) | Cutting mechanism for drawn wire at sprue of injection mold | |
| CN110549564A (en) | Combined core-pulling mechanism and combined core-pulling die | |
| CN110815735A (en) | Demoulding structure of injection mould for decorative plate on automobile column | |
| CN106738694A (en) | Mould ejection Injection Mold Design before and after a kind of micromachine case | |
| CN111673991A (en) | Ejector structure of injection mold | |
| CN210733112U (en) | Compact structure's mould | |
| CN105415588B (en) | The injection molding process and mould of a kind of remote control | |
| CN208305589U (en) | A kind of aerospace of insert or composite structure plastic battery arrangement harness board mold | |
| CN211662576U (en) | Secondary ejection core-pulling structure of spoiler support mold | |
| CN213437074U (en) | Three-dimensional core-pulling die-casting die for support base | |
| CN115230094B (en) | Inner core-pulling injection mold with spring protection mechanism | |
| CN202727245U (en) | De-molding mechanism for thimble pushed product | |
| CN111168942B (en) | Injection mold built-in inclined top linkage slider core pulling mechanism | |
| CN213006348U (en) | Ejection structure of injection mold | |
| CN209257408U (en) | The embedded retaining mechanism of injection mould slide block spring core pulling inclined wedge | |
| CN215396622U (en) | Display screen rubber frame injection mold | |
| CN217414712U (en) | A side core-pulling injection mold with multiple limits | |
| CN211763197U (en) | Sliding block injection mold | |
| CN209320220U (en) | Mold ejection mechanism | |
| CN209440717U (en) | A kind of insertion needle housing injection mold | |
| CN210139584U (en) | Cover half intelligence post drawing of patterns injection mould structure | |
| CN220146583U (en) | A kind of integrated demoulding injection mold | |
| CN207535216U (en) | In-molded mold and its ejecting mechanism | |
| CN207013698U (en) | Metal die-casting mold secondary side core-pulling die mechanism |
Legal Events
| Date | Code | Title | Description |
|---|---|---|---|
| PB01 | Publication | ||
| PB01 | Publication | ||
| SE01 | Entry into force of request for substantive examination | ||
| SE01 | Entry into force of request for substantive examination | ||
| CB02 | Change of applicant information |
Address after: 713 Zhenghua Road, Wanghai street, Haiyan County, Jiaxing City, Zhejiang Province Applicant after: Zhejiang Taixin plastic mould Co.,Ltd. Address before: 713 Zhenghua Road, Wanghai street, Haiyan County, Jiaxing City, Zhejiang Province Applicant before: Zhejiang Taixin plastic mould Co.,Ltd. |
|
| CB02 | Change of applicant information | ||
| RJ01 | Rejection of invention patent application after publication |
Application publication date: 20200918 |
|
| RJ01 | Rejection of invention patent application after publication |
