CN111672741A - Material-homogenizing double-roller peanut sorting machine - Google Patents
Material-homogenizing double-roller peanut sorting machine Download PDFInfo
- Publication number
- CN111672741A CN111672741A CN202010513574.4A CN202010513574A CN111672741A CN 111672741 A CN111672741 A CN 111672741A CN 202010513574 A CN202010513574 A CN 202010513574A CN 111672741 A CN111672741 A CN 111672741A
- Authority
- CN
- China
- Prior art keywords
- screen
- fixed
- peanut
- fruit
- roller
- Prior art date
- Legal status (The legal status is an assumption and is not a legal conclusion. Google has not performed a legal analysis and makes no representation as to the accuracy of the status listed.)
- Withdrawn
Links
- 235000020232 peanut Nutrition 0.000 title claims abstract description 121
- 235000017060 Arachis glabrata Nutrition 0.000 title claims abstract description 115
- 235000010777 Arachis hypogaea Nutrition 0.000 title claims abstract description 115
- 235000018262 Arachis monticola Nutrition 0.000 title claims abstract description 115
- 241001553178 Arachis glabrata Species 0.000 title claims abstract 24
- 238000012216 screening Methods 0.000 claims abstract description 114
- 230000005540 biological transmission Effects 0.000 claims abstract description 21
- 235000013399 edible fruits Nutrition 0.000 claims description 86
- 238000007599 discharging Methods 0.000 claims description 18
- 239000000463 material Substances 0.000 claims description 8
- 230000009977 dual effect Effects 0.000 claims 1
- 239000012535 impurity Substances 0.000 abstract description 15
- 238000004140 cleaning Methods 0.000 abstract description 8
- 230000000694 effects Effects 0.000 abstract description 8
- 244000105624 Arachis hypogaea Species 0.000 description 97
- 235000017166 Bambusa arundinacea Nutrition 0.000 description 14
- 235000017491 Bambusa tulda Nutrition 0.000 description 14
- 241001330002 Bambuseae Species 0.000 description 14
- 235000015334 Phyllostachys viridis Nutrition 0.000 description 14
- 239000011425 bamboo Substances 0.000 description 14
- 239000011435 rock Substances 0.000 description 7
- 238000000034 method Methods 0.000 description 4
- 239000002689 soil Substances 0.000 description 4
- 239000004575 stone Substances 0.000 description 4
- 239000004744 fabric Substances 0.000 description 3
- 235000013305 food Nutrition 0.000 description 3
- 238000004519 manufacturing process Methods 0.000 description 3
- 238000007873 sieving Methods 0.000 description 3
- 238000010009 beating Methods 0.000 description 2
- 238000010276 construction Methods 0.000 description 2
- 230000002093 peripheral effect Effects 0.000 description 2
- 238000012545 processing Methods 0.000 description 2
- 238000005096 rolling process Methods 0.000 description 2
- 238000000926 separation method Methods 0.000 description 2
- 238000003860 storage Methods 0.000 description 2
- 238000003466 welding Methods 0.000 description 2
- 230000009286 beneficial effect Effects 0.000 description 1
- 230000007547 defect Effects 0.000 description 1
- 238000013461 design Methods 0.000 description 1
- 238000011161 development Methods 0.000 description 1
- 235000014113 dietary fatty acids Nutrition 0.000 description 1
- 238000005516 engineering process Methods 0.000 description 1
- 229930195729 fatty acid Natural products 0.000 description 1
- 239000000194 fatty acid Substances 0.000 description 1
- 150000004665 fatty acids Chemical class 0.000 description 1
- 238000009776 industrial production Methods 0.000 description 1
- 239000004615 ingredient Substances 0.000 description 1
- 239000010813 municipal solid waste Substances 0.000 description 1
- 235000016709 nutrition Nutrition 0.000 description 1
- 239000003921 oil Substances 0.000 description 1
- 102000004169 proteins and genes Human genes 0.000 description 1
- 108090000623 proteins and genes Proteins 0.000 description 1
- 239000002994 raw material Substances 0.000 description 1
Images
Classifications
-
- B—PERFORMING OPERATIONS; TRANSPORTING
- B07—SEPARATING SOLIDS FROM SOLIDS; SORTING
- B07B—SEPARATING SOLIDS FROM SOLIDS BY SIEVING, SCREENING, SIFTING OR BY USING GAS CURRENTS; SEPARATING BY OTHER DRY METHODS APPLICABLE TO BULK MATERIAL, e.g. LOOSE ARTICLES FIT TO BE HANDLED LIKE BULK MATERIAL
- B07B1/00—Sieving, screening, sifting, or sorting solid materials using networks, gratings, grids, or the like
- B07B1/18—Drum screens
- B07B1/22—Revolving drums
-
- B—PERFORMING OPERATIONS; TRANSPORTING
- B07—SEPARATING SOLIDS FROM SOLIDS; SORTING
- B07B—SEPARATING SOLIDS FROM SOLIDS BY SIEVING, SCREENING, SIFTING OR BY USING GAS CURRENTS; SEPARATING BY OTHER DRY METHODS APPLICABLE TO BULK MATERIAL, e.g. LOOSE ARTICLES FIT TO BE HANDLED LIKE BULK MATERIAL
- B07B1/00—Sieving, screening, sifting, or sorting solid materials using networks, gratings, grids, or the like
- B07B1/28—Moving screens not otherwise provided for, e.g. swinging, reciprocating, rocking, tilting or wobbling screens
-
- B—PERFORMING OPERATIONS; TRANSPORTING
- B07—SEPARATING SOLIDS FROM SOLIDS; SORTING
- B07B—SEPARATING SOLIDS FROM SOLIDS BY SIEVING, SCREENING, SIFTING OR BY USING GAS CURRENTS; SEPARATING BY OTHER DRY METHODS APPLICABLE TO BULK MATERIAL, e.g. LOOSE ARTICLES FIT TO BE HANDLED LIKE BULK MATERIAL
- B07B1/00—Sieving, screening, sifting, or sorting solid materials using networks, gratings, grids, or the like
- B07B1/42—Drive mechanisms, regulating or controlling devices, or balancing devices, specially adapted for screens
-
- B—PERFORMING OPERATIONS; TRANSPORTING
- B07—SEPARATING SOLIDS FROM SOLIDS; SORTING
- B07B—SEPARATING SOLIDS FROM SOLIDS BY SIEVING, SCREENING, SIFTING OR BY USING GAS CURRENTS; SEPARATING BY OTHER DRY METHODS APPLICABLE TO BULK MATERIAL, e.g. LOOSE ARTICLES FIT TO BE HANDLED LIKE BULK MATERIAL
- B07B1/00—Sieving, screening, sifting, or sorting solid materials using networks, gratings, grids, or the like
- B07B1/46—Constructional details of screens in general; Cleaning or heating of screens
- B07B1/4609—Constructional details of screens in general; Cleaning or heating of screens constructional details of screening surfaces or meshes
-
- B—PERFORMING OPERATIONS; TRANSPORTING
- B07—SEPARATING SOLIDS FROM SOLIDS; SORTING
- B07B—SEPARATING SOLIDS FROM SOLIDS BY SIEVING, SCREENING, SIFTING OR BY USING GAS CURRENTS; SEPARATING BY OTHER DRY METHODS APPLICABLE TO BULK MATERIAL, e.g. LOOSE ARTICLES FIT TO BE HANDLED LIKE BULK MATERIAL
- B07B1/00—Sieving, screening, sifting, or sorting solid materials using networks, gratings, grids, or the like
- B07B1/46—Constructional details of screens in general; Cleaning or heating of screens
- B07B1/50—Cleaning
Landscapes
- Combined Means For Separation Of Solids (AREA)
Abstract
The invention discloses a material-homogenizing double-roller peanut sorting machine which comprises a rack, wherein a roller screening device and a shaking screening device are sequentially arranged on the rack from top to bottom, the roller screening device comprises a screen roller group, a roller driving motor, a peanut supply mechanism and a peanut receiving mechanism, the screen roller group comprises two screen rollers which are rotationally fixed on the rack at intervals along the longitudinal direction, the two screen rollers are both fixed in a manner that the front part is higher and the rear part is inclined, and the screen rollers are in transmission connection with the roller driving motor; anti-blocking rubber rollers are arranged between the two screen drums in parallel; the peanut pod sorting machine is simple in structure and convenient to use, is provided with the two screen drums, is high in screening efficiency, can screen out sundries doped in peanut pods when the peanut pods are sorted, reduces the impurity content of the peanut pods, is provided with the anti-blocking rubber roller between the two screen drums, can clean the peanut pods blocked in the screen holes, and is good in cleaning effect.
Description
Technical Field
The invention belongs to the technical field of agricultural peanut sorting devices, and particularly relates to a material-homogenizing double-roller peanut sorting machine.
Background
In the industrial production of food, peanuts are used as raw materials or ingredients to process and manufacture a great number of foods. This is because peanuts are rich in oils, proteins, fatty acids, and the like, and have a high nutritional value. However, sorting and grading before processing of peanut food is one of the very important links in the whole production process, and directly influences the quality of products, and especially plays an important role in the later-stage peanut shelling effect and fruit cultivation.
Traditional manual separation peanut pod not only work intensity is big, and work efficiency is low moreover, and is with high costs, be difficult to satisfy the demand in production and market, along with the development of science and technology, there has been selling of many peanut sorters on the market now, current sorter is in the screening process, the sieve mesh is blockked up easily to the peanut to influence the screening efficiency of peanut pod, and the peanut of jam in the sieve mesh is in the clearance, need shut down the clearance, thereby operating efficiency has been reduced, the screening time has been increased.
Chinese patent document with publication number "CN 208131432U" is searched and inquired, and the patent discloses a peanut sorting device which comprises a rack, a rotary drum, a storage box and a driving device; the global section of thick bamboo wall of rotatory section of thick bamboo is equipped with the bar sieve mesh that constitutes evenly distributed by the plural number connecting rib, and this bar sieve mesh self-rotation section of thick bamboo head end to the tail end widen gradually, and the connecting rib passes through two at least circle frame fixed connection, and the one end of rubber bat and motor device's power output shaft fixed connection, the other end discontinuity of rubber bat is repeated beats the global section of thick bamboo wall in centre of rotatory section of thick bamboo.
The technical scheme is reasonable in structural design, the width of the strip-shaped sieve mesh on the rotary drum is gradually widened, peanuts fall into a storage box below the bottom at the strip-shaped sieve mesh with corresponding size, and then peanut pods with different sizes can be separated, but the peanut sorting machine provided by the technical scheme is directly subjected to primary screening through the rotary drum, the screening effect is poor, the impurity content of the screened peanuts is high, the processing quality of later-stage peanut products is affected, one end of a rubber bat in the technical scheme is fixedly connected with a power output shaft of a motor device, the other end of the rubber bat intermittently and repeatedly beats the middle peripheral wall of the rotary drum, the rotary drum can only be partially vibrated by beating the rubber row, when the peanut pods are blocked at the two ends of the rotary drum, the blocked peanut pods are not easily vibrated from the strip-shaped sieve mesh by beating the middle peripheral wall of the rotary drum, the cleaning effect is not good.
Disclosure of Invention
Aiming at the defects and problems of the existing peanut sorting machine, the invention provides the material-homogenizing double-roller peanut sorting machine which is simple in structure and convenient to use, is provided with two screen rollers, is high in screening efficiency, can screen out sundries doped in peanut pods when the peanut pods are sorted, reduces the impurity content of the peanut pods, and is good in cleaning effect because the anti-blocking rubber roller is arranged between the two screen rollers, so that the peanut pods blocked in the screen holes can be cleaned.
The technical scheme adopted by the invention for solving the technical problems is as follows: a material-homogenizing double-roller peanut sorting machine comprises a rack, wherein a roller screening device and a shaking screening device are sequentially arranged on the rack from top to bottom, the roller screening device comprises a screen roller group, a roller driving motor, a peanut supply mechanism and a peanut receiving mechanism, the screen roller group comprises two screen rollers which are rotationally fixed on the rack at intervals along the longitudinal direction, the two screen rollers are uniformly fixed in a manner that the front parts are higher and the back parts are obliquely fixed, and the screen rollers are in transmission connection with the roller driving motor; the anti-blocking rubber roller is arranged between the two screen drums in parallel and comprises a fixed shaft and a rubber roller which are obliquely arranged, the front end and the rear end of the fixed shaft are rotationally fixed on the rack, the oblique direction and the angle of the fixed shaft are the same as those of the screen drums, the rubber roller is sleeved on the fixed shaft, the circumferential side surfaces of the rubber roller are respectively in tangential meshing contact with the screen drums on the left side and the right side, and the front end and the rear end of the rubber roller are respectively flush with the front end and the rear end of the screen drums; the fruit supply mechanism comprises a fruit homogenizing box obliquely arranged on the front side of the screen roller group, the oblique direction of the fruit homogenizing box is the same as that of the screen roller, openings are formed in the upper ends of the fruit homogenizing box and the fruit receiving box, the fruit homogenizing box is hinged and fixed on the rack on the front side of the screen roller group through a parallel hanger rod assembly, the left end and the right end of the rear side of the fruit homogenizing box extend backwards into the corresponding screen rollers and are provided with lower fruit openings, a connecting rod is fixed to the fruit homogenizing box in a hinged mode, the other end of the connecting rod is in transmission connection with the first eccentric driving mechanism, and the first eccentric driving mechanism can drive the fruit homogenizing box to shake left and right in a reciprocating mode through the connecting rod; the fruit receiving mechanism comprises a fruit receiving box which is obliquely arranged below the rear end of the screen roller group, an opening is formed in the upper end of the fruit receiving box, the oblique direction of the fruit receiving box is the same as that of the screen roller, the fruit receiving box is fixed with the shaking screening mechanism through a connecting rod assembly, the fruit receiving box is driven to shake left and right through the connecting rod assembly when the shaking screening mechanism shakes front and back, and a fruit discharging opening is formed in the rear side of the fruit receiving box and extends out of the rack; the shaking screening mechanism comprises a shaking screening shell with an open upper end, a parallel suspender mechanism and a second eccentric driving motor, the shaking screening shell is obliquely arranged below the drum screening group at intervals, the shaking screening shell is hinged and fixed with the rack through the parallel suspender mechanism, one side of the shaking screening shell is provided with a hinged seat and is in transmission connection with the second eccentric driving motor through a push-pull rod, and when the eccentric driving motor works, the shaking screening shell is driven to shake back and forth through the push-pull rod; the fruit row screening device is characterized in that screening plates with the rear ends inclined downwards are fixed above the bottom of the inner shell of the shaking screening shell at intervals in parallel, screening holes are uniformly distributed in the screening plates, small fruit row openings are formed in the right end of the shaking screening shell, the extending inclination direction of the screening plates corresponds to the fruit row openings, and small fruit row openings extending out of the rack are formed in the rear wall of the shaking screening shell on the upper side of the rear end of the screening plates.
The size of the sieve holes on the screening plate is smaller than that of the sieve holes of the screen drum.
The screen cloth cylinder includes that preceding high back end slope sets up sieve section of thick bamboo fixed axle and cavity both ends are the sieve section of thick bamboo of mouth, both ends all rotate through the bearing frame around the sieve section of thick bamboo fixed axle and fix in the frame, and the one end of sieve section of thick bamboo fixed axle outwards extends the bearing frame and is connected with the transmission of drum drive motor, the bar sieve mesh has been laid on the circumference side of a sieve section of thick bamboo, a sieve section of thick bamboo is established on sieve section of thick bamboo fixed axle with the axle center cover, the interval is equipped with a plurality of support frameworks on the sieve section of thick bamboo fixed axle in the sieve section of thick bamboo, supports fixed other end and is.
The screen drum is characterized in that the front end of the screen drum fixing shaft extends out of the bearing seat and is fixedly sleeved with a driven belt wheel, the drum driving motor is fixed on the rack on the front side of the screen drum through bolts, a motor rotating shaft of the drum driving motor is sleeved with a driving belt wheel, and the driving belt wheel is in transmission connection with the driven belt wheel through a transmission belt.
The support framework comprises a fixed shaft sleeve and support rods, the fixed shaft sleeve is fixedly sleeved on the screen drum fixed shaft, a plurality of radially arranged support rods are welded on the outer annular surface of the fixed shaft sleeve at intervals along the circumference, and the other ends of the support rods are welded and fixed with the inner annular surface of the screen drum.
The parallel suspender component comprises a hinged seat and a suspender, the middle parts of the left side wall and the right side wall of the fruit box are fixed with the hinged seat at equal intervals, and the hinged seat on the left side wall and the right side wall of the fruit box is hinged and fixed together with the frame on the adjacent side through the suspender.
The first eccentric driving mechanism comprises a first driving motor and a driving disc, the first driving motor is fixed on the rack below the equal fruit box through bolts, the driving disc is sleeved on a motor rotating shaft of the first driving motor, a driving shaft is axially welded at the edge of the outer end face of the driving disc and sleeved with a bearing, the upper end of the connecting rod is hinged and fixed with the equal fruit box, and the lower end of the connecting rod is sleeved on the bearing of the driving shaft in a matching mode.
The connecting rod assembly comprises vertical fixing rods, the two vertical fixing rods are welded on the left end face and the right end face of the fruit receiving box at intervals, and the bottom ends of the vertical fixing rods are welded and fixed on the end faces of the adjacent sides of the shaking screening shells.
Parallel jib mechanism is including fixed jib and jib fixed axle, it has two jib fixed axles to rock screen shell left and right sides wall and rock the equal interval welding in the frame of screening shell top adjacent side, rocks the jib fixed axle on the screen shell left and right sides wall and all articulates fixedly together through fixed jib and the jib fixed axle that faces corresponding on the side frame 1 mutually.
And a sundry collecting pipe with the right end inclined downwards and the upper end opened is welded and fixed at the bottom opening of the sundry discharging opening, and a sundry outlet is formed at the right end of the sundry collecting pipe.
The invention has the beneficial effects that: compared with the existing peanut separator, the homogenizing double-roller peanut separator provided by the invention has 3 advantages:
1. the invention provides a material-homogenizing double-roller peanut sorting machine, wherein a roller screening device is arranged on a rack, the roller screening device comprises a screen roller group, a roller driving motor, a peanut supply mechanism and a peanut receiving mechanism, the screen roller group comprises two screen rollers, the two screen rollers can simultaneously carry out primary sorting on peanut pods to sort out larger peanuts, the screening efficiency is high, and the peanut pods can be simultaneously put into the two screen rollers through a peanut homogenizing box of the peanut supply mechanism, so that the use is convenient.
2. According to the material-homogenizing double-roller peanut sorting machine provided by the invention, the anti-blocking rubber roller is arranged between the two screen roller groups in parallel, the anti-blocking rubber roller comprises the fixed shaft and the rubber roller which are obliquely arranged, the circumferential side surfaces of the rubber roller are respectively in tangential meshing contact with the screen rollers on the left side and the right side, the front end and the rear end of the rubber roller are respectively flush with the front end and the rear end of the screen roller screen barrel, when the screen holes blocked with peanut pods rotate to be attached to the rubber roller of the anti-blocking rubber roller, the rubber roller can be squeezed into the screen holes from the outer parts of the screen holes, so that the peanut pods blocked in the screen holes are squeezed inwards out of the screen holes, and compared with the existing sorting machine, the cleaning effect of the blocked peanut.
3. The shaking screening mechanism comprises a shaking screening shell with an open upper end, screening plates with the rear ends inclined downwards are fixed above the bottom of the shell in the shaking screening shell at intervals in parallel, screening holes are uniformly distributed in the screening plates, small peanut discharging holes are formed in the right end of the shaking screening shell, peanut pods falling from the screening holes of the screen drum and other impurities such as soil blocks and stones can fall on the screening plates of the peanut receiving box below the screen drum, the screening plates can perform secondary sorting on the peanuts sorted by the screen drum, and the peanut pods are separated from the impurities, so that the impurity content of the peanut pods is reduced, and the sorting quality is improved.
The invention provides a material-homogenizing double-roller peanut sorting machine which is simple in structure and convenient to use, is provided with two screen rollers, is high in screening efficiency, can screen out sundries doped in peanut pods when the peanut pods are sorted, reduces the impurity content of the peanut pods, and is good in cleaning effect because an anti-blocking rubber roller is arranged between the two screen rollers, so that the peanut pods blocked in the screen holes can be cleaned.
Drawings
Fig. 1 is a schematic perspective view of the present invention.
Fig. 2 is a schematic view of the drum driving motor fixing position of the present invention.
Fig. 3 is a schematic perspective view of another perspective structure according to the present invention.
Fig. 4 is a schematic perspective view of a screen roller set according to the present invention.
FIG. 5 is a schematic perspective view of the fruit box of the present invention.
Fig. 6 is a schematic perspective view of the fruit feeding mechanism of the present invention.
FIG. 7 is a schematic view of the construction of the shaking screen housing of the present invention.
Fig. 8 is a schematic view of the construction of the parallel boom mechanism of the present invention.
Fig. 9 is a schematic view of the fruit receiving box structure of the present invention.
Fig. 10 is a schematic structural view of a second eccentric drive mechanism of the present invention.
Fig. 11 is a schematic structural view of the anti-blocking rubber roller of the present invention.
FIG. 12 is a schematic view showing the state of use of the anti-clogging rubber roller of the present invention.
Fig. 13 is an enlarged view of the structure of fig. 1A.
Fig. 14 is an enlarged view of the structure of fig. 2B.
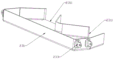
Reference numbers in the figures: 1 is a frame, 11 is a motor fixing bracket, 12 is a homogenizing box fixing rod, 21 is a screen drum, 211 is a screen drum, 2111 is a screen hole, 212 is a screen drum fixing shaft, 213 is a supporting framework, 2131 is a fixing shaft sleeve, 2132 is a supporting rod, 214 is a driven pulley, 22 is a drum driving motor, 221 is a driving pulley, 23 is a fruit supply mechanism, 231 is a homogenizing box, 2311 is a fruit outlet, 232 is a first eccentric driving mechanism, 2321 is a first driving motor, 2322 is a driving disk, 2323 is a driving shaft, 233 is a hinged seat, 234 is a connecting rod, 235 is a hanging rod, 24 is a fruit receiving mechanism, 241 is a fruit receiving box, 2411 is a fruit discharging port, 242 is a vertical fixing rod, 25 is a driving belt, 3 is a shaking screening device, 31 is a shaking screening shell, 311 is a sundries discharging port, 312 is a sundries collecting pipe, 313 is a sundries outlet, 314 is a screening plate, 315 is a small fruit discharging port, 32 is a second eccentric driving mechanism, 321 is a second driving motor, 322 is the second driving disk, 323 is the second driving shaft, 33 is the fixed boom, 36 is the push-pull rod, 4 is the anti-blocking rubber roller, 41 is the fixed axle, 42 is the rubber roller.
Detailed Description
The invention is further illustrated with reference to the following figures and examples.
Example 1
The embodiment provides a material-homogenizing double-roller peanut sorting machine, as shown in fig. 1-14, including frame 1, frame 1 is from last to being equipped with cylinder screening device 1 down in proper order and rocking screening device 2, cylinder screening device 1 includes screen drum group, roller driving motor 22, supply fruit mechanism 23 and connect fruit mechanism 24, screen drum group includes two screen drums 21 that rotate along longitudinal separation and fix in the frame, two screen drums 21 are all high before and the bottom slope is fixed, two screen drums 21 all link together with roller driving motor 22 transmission, can order to order about two screen drums 21 to begin to rotate simultaneously through roller driving motor 22, specifically:
as shown in fig. 2-4, a motor fixing bracket 11 is welded to the front side of the upper end of the frame 1, a drum driving motor 22 is fixed to the motor fixing bracket 11 by bolts, a driving pulley 221 is fixed to a motor shaft of the drum driving motor 11, the screen drum 21 includes a screen drum fixing shaft 212 with a front high and a rear bottom inclined, and a screen drum 211 with a hollow end, bearing seats are respectively sleeved on the front and rear ends of the screen drum fixing shaft 212 in a matching manner, the bearing seats are fixed to the frame 1 by bolts, the front end of the screen drum fixing shaft 212 extends out of the bearing seats along the axial direction and is sleeved with a driven pulley 214 in a matching manner, the driven pulley 214 is connected with the driving pulley 221 by a transmission belt 25 in a transmission manner, when the drum driving motor 22 works, the driven pulley 214 is driven by the transmission belt 25 to drive the screen drum fixing shaft 212 to rotate, the screen drum, bar-shaped sieve holes 2111 are uniformly distributed on the circumferential side surface of the sieve cylinder 211, as shown in fig. 13, 3 support frameworks 213 are arranged on a sieve cylinder fixing shaft 212 in the sieve cylinder 211 at intervals, each support framework 213 comprises a fixing shaft sleeve 2131 and a support rod 2132, the fixing shaft sleeve 2131 is fixedly sleeved on the sieve cylinder fixing shaft 212, 4 radially arranged support rods 2132 are welded on the outer annular surface of the fixing shaft sleeve 2131 along the circumference at uniform intervals, the other ends of the support rods 2132 are welded and fixed with the inner annular surface of the sieve cylinder 211, and when a roller driving motor drives the roller fixing shaft to rotate through a driving belt, the sieve cylinder sleeved on the roller fixing shaft in a matching mode can rotate along with the roller fixing shaft.
Because screen cylinder 21 is preceding high back end slope setting, so with wait that the peanut pod of sorting drops into screen cylinder 21 back from screen cylinder 21's front end, the peanut pod can roll to screen cylinder 21 rear end along screen cylinder 21's inner annular wall, and the sieve mesh that can pass on screen cylinder 21 at rolling in-process less peanut pod and some clods, other impurity such as small stone drops to the shaking screening device below the cylinder screening device on, and bigger peanut pod rolls out screen cylinder 21 from screen cylinder 21 rear end along screen cylinder 21 inner annular wall.
As shown in fig. 4, 11 and 12, an anti-blocking rubber roller 4 is disposed in parallel between two screen drums of a screen drum set, the anti-blocking rubber roller 4 includes a fixed shaft 41 and a rubber roller 42 which are obliquely disposed, the front and rear ends of the fixed shaft 41 are both rotationally fixed on the frame 1 through bearing seats, the oblique direction and angle of the fixed shaft 41 are both the same as those of the screen drum 21, the rubber roller is sleeved on the fixed shaft, the circumferential side surfaces of the rubber roller are respectively in tangential meshing contact with the screen drums on the left and right sides, the front and rear ends of the rubber roller are respectively flush with the front and rear ends of the screen drum 21, when the drum driving motor 22 drives the two screen drums 21 to simultaneously rotate through a driving belt, the two rotating screen drums 21 rotate with the anti-blocking rubber roller 7 in, and because of the special item of rubber roller material, when the rubber roller 42 is fitted with the sieve mesh of the screen drum, the rubber roller 42 will be squeezed into the sieve mesh of the adjustable screen drum, when in use, when peanut pods rolling down along the inner ring surface of the screen drum are blocked in the sieve mesh of the screen drum, when the sieve mesh blocked with peanut pods rotates to be fitted with the rubber roller 42 of the anti-blocking rubber roller 4, the rubber roller 42 will be squeezed into the sieve mesh from the outside of the sieve mesh, so that the peanut pods blocked in the sieve mesh are pushed out of the sieve mesh and fall into the screen drum again; compared with the existing separator, the cleaning effect of the peanut pod blockage is better.
As shown in fig. 1-6, the fruit supply mechanism 23 includes a fruit box 231 obliquely disposed at the front side of the screen roller set, the upper end of the fruit box 231 is opened with an opening, the oblique direction of the fruit box 231 is the same as the oblique direction of the screen roller 21, the fruit box 231 is fixed on the frame 1 at the front side of the screen roller set through a parallel hanger rod assembly in a hinged manner, the left and right ends of the rear side of the fruit box both extend backwards into the corresponding screen roller 21 and are provided with a lower fruit opening 2311, the bottom surface of the fruit box is fixed with a connecting rod 234 in a hinged manner, and the other end of the connecting rod 234 is in transmission connection with a first eccentric driving mechanism 232, specifically:
as shown in fig. 1 and 14, the frames at the left and right sides of the screen roller set are welded and fixed with the uniform fruit box fixing rods 12 extending forward out of the frames, the parallel hanger rod assembly includes a hinge seat 233 and a hanger rod 235, the bottom surfaces of the two uniform fruit box fixing rods 12 and the middle portions of the left and right side walls of the uniform fruit box are fixed with hinge seats 233 at intervals, the hinge seats 233 on the left and right side walls of the uniform fruit box are hinged and fixed with the corresponding hinge seats 233 on the adjacent uniform fruit box fixing rods 12 through the hanger rod 235, the bottom surface of the uniform fruit box 231 is hinged and fixed with a connecting rod 234, the lower end of the connecting rod 234 is in transmission connection with the first eccentric driving mechanism 232, the first eccentric driving mechanism 232 includes a first driving motor 2321 fixed on the frame 1 below the uniform fruit box 231 through bolts, a driving disk 2322 is sleeved on the motor rotating shaft of the first driving motor 2321, and a bearing is welded at the, the lower end of the connecting rod 234 is provided with a shaft hole and is sleeved on a bearing of the driving shaft 2323 in a matching manner, when the first driving motor 2321 works, the first driving motor 2321 can drive the driving disc 2322 to rotate, because the driving disc 2322 and the driving shaft 2323 are not coaxial, when the driving disc 2322 rotates, the driving shaft 2323 can drive the peanut homogenizing box 231 to shake left and right in a reciprocating manner through the connecting rod 234, when the peanut pod sorting device is used, peanut pods to be sorted are directly thrown into the peanut homogenizing box 231, because the peanut pod sorting box 231 is obliquely arranged, the peanut pods thrown into the peanut box 231 can roll into the screen rollers 21 corresponding to the screen roller group from lower fruit openings 2311 decibels at the left and right ends of the rear side of the peanut homogenizing box 231, and because the peanut pod sorting box 231 is driven by the first eccentric driving mechanism to shake left and right in a reciprocating manner when the peanut box 231 is used, the peanut pods thrown into the peanut box 231 can not be piled any more.
As shown in fig. 3 and 9, the peanut collecting mechanism 24 includes a peanut collecting box 241 obliquely disposed below the rear end of the screen roller set, the oblique direction of the peanut collecting box 241 is the same as the oblique direction of the screen roller 21, an opening is formed at the upper end of the peanut collecting box 241, peanut pods rolled out from the screen roller of the screen roller set fall into the peanut collecting box 241, a peanut discharging opening is formed at the rear side of the peanut collecting box and extends out of the frame, and peanut pods falling into the peanut collecting box 241 are discharged from the peanut discharging opening of the peanut collecting box 241; the fruit receiving box 241 is fixed in a manner of, for example: connect fruit box 241 to be in the same place through link assembly with rock screening mechanism 3 is articulated fixed, link assembly including erect dead lever 242, connect all the interval welding on fruit box 241 left and right sides both ends face to put two and erect dead lever 242, erect the bottom of putting dead lever 242 and rock the screening device welded fastening of cylinder screening device below and be in the same place.
As shown in fig. 1-9, the shaking and screening mechanism 3 includes a shaking and screening shell 31 with an open upper end, a parallel suspender mechanism and a second eccentric driving mechanism, the shaking and screening shell 31 is obliquely arranged below the drum screening group at intervals, the tilting direction of the shaking and screening shell 31 is the same as the tilting direction of the screen drum 21, a screening plate with a rear end inclined downwards is fixed above the bottom of the inner shell of the shaking and screening shell at parallel intervals, screen holes are uniformly distributed on the screening plate, the size of the screen holes on the screening plate 314 is smaller than that of the screen holes of the screen drum, a small fruit discharging opening 315 is arranged at the right end of the shaking and screening shell 31, the extending tilting direction of the screening plate 31 corresponds to the fruit discharging opening 416, and a trash discharging opening flush with the bottom of the shaking and screening shell 31 is longitudinally arranged on the rear side wall of the shaking and screening shell 31.
Rock and screen shell 31 and be in the same place through parallel jib mechanism and frame 1 is articulated, connect fruit box 241 about both ends face erect the bottom of putting dead lever 242 and weld fixation respectively at the both ends face about rocking screen shell 31, rock one side of screening shell 31 and articulate and be fixed with the push-pull rod, the other end and the second eccentric actuating mechanism 32 transmission of push-pull rod are connected, specifically:
the parallel suspender mechanism comprises a fixed suspender 33 and suspender fixed shafts, two suspender fixed shafts are welded on the left side wall and the right side wall of the shaking screening shell 31 and the adjacent side frame above the shaking screening shell 31 at intervals, the suspender fixed shafts on the left side wall and the right side wall of the shaking screening shell 31 are hinged and fixed with the corresponding suspender fixed shafts on the adjacent side frame 1 through the fixed suspender 33, a driving shaft is welded and fixed on the left end surface of the shaking screening shell 31, a push-pull rod 36 is rotatably sleeved on the driving shaft, the tail end of the push-pull rod is in transmission connection with a second eccentric driving mechanism 32, the second eccentric driving mechanism 32 comprises a second driving motor 321 which is longitudinally fixed on the frame 1 below the left side of the shaking screening box through bolts, a second driving disc 322 is sleeved on a motor rotating shaft of the second driving motor 321, a second driving shaft 323 is axially welded on the edge of the outer end surface of, the tail end of the push-pull rod 36 is provided with a shaft hole and is sleeved on a bearing of the second driving shaft 323 in a matching manner, when the second driving motor 321 works, the second driving motor 321 can drive the driving disc 2322 to rotate, and because the second driving disc 322 and the second driving shaft 323 are not coaxial, when the second driving disc 322 rotates, the second driving shaft 323 can drive the shaking screening shell 31 to shake left and right on the rack 1 in a reciprocating manner through the push-pull rod 36, and when the shaking screening shell 31 shakes left and right in a reciprocating manner, the vertical fixing rod 242 can be used for driving the fruit receiving box 241 to shake left and right.
When the roller screening device is used for primarily screening peanut pods thrown into the screen roller, peanut pods falling from screen holes of the screen roller and other impurities such as soil blocks, stones and the like can fall on the screening plate 314 of the peanut receiving box 241 below the screen roller 21, because the screen holes are uniformly distributed on the screening plate 314 and the screening plate 314 is obliquely arranged, therefore, when the shaking screening shell 31 is shaken, peanut pods and other impurities such as soil blocks, pebbles and the like on the screening plate 314 slide down along the screening plate 314 toward the pod discharge opening 315, in the process of sliding off, soil blocks, small stones and some heavy and small impurities mixed in the peanut pods can pass through the sieve holes on the sieving plate 314 and fall on the bottom of the shaking sieving shell 31, and because the shaking sieving shell 31 is obliquely arranged, the impurities falling on the bottom of the shaking screen shell 31 are discharged from the apparatus along the bottom of the shaking screen shell 31 through the impurity discharge port 311.
The utility model provides a pair of material homogenizing double drum peanut sorter, this sorter simple structure is equipped with two screen cloth cylinders, and screening efficiency is high to when dialogue sound pod is selected separately, can sieve out the debris of doping in the peanut pod, reduced the miscellaneous rate of peanut pod, be equipped with moreover between two screen cloth cylinders and prevent blockking up the rubber roller, can clear up the peanut pod of jam in the sieve hole, clear up effectually.
Example 2
The difference between the embodiment 2 and the embodiment 1 is that a sundry collecting pipe with the right end inclined downwards and the upper end opened is welded and fixed at the bottom opening of the sundry discharging opening.
As shown in fig. 2 and 7, a sundries collecting pipe 312 with a right end inclined downwards and a longitudinal upper end opening is welded and fixed at the bottom opening of the sundries discharging opening 311, a sundries outlet is arranged at the right end of the sundries collecting pipe 312, when in use, impurities discharged along the sundries discharging opening 311 can fall into the sundries collecting pipe 312, and the impurities sliding into the sundries discharging pipe 312 can be discharged along the sundries discharging pipe because the right end of the sundries collecting pipe 312 is arranged obliquely and provided with the sundries outlet 313; the debris separated from the peanut pods is discharged from the right side of the housing through the debris collector tube 312, which facilitates the collection and cleaning of debris as compared to the embodiment 1, which discharges debris directly from the debris discharge opening 311.
Example 3
The same points of the embodiment 3 and the embodiment 2 are not described, but the difference is that the left and the right sides of the screen roller group are provided with anti-blocking rubber rollers in parallel.
Equal parallel of screen cylinder group left and right sides is equipped with prevents stifled rubber roller 4, the fixed mode of preventing stifled rubber roller 4 of preventing the 4 screen cylinder group left and right sides of rubber roller is the same with the fixed mode of preventing stifled rubber roller 4 at screen cylinder group middle part, and the rubber roller of preventing stifled rubber roller 4 of the screen cylinder group left and right sides contacts with the tangent meshing of adjacent screen cylinder respectively, the stifled rubber roller of preventing of screen cylinder group both sides can clear the hole operation to screen cylinder simultaneously with the stifled rubber roller 4 of preventing of screen cylinder group in when using, compare with embodiment 2, single roller clearance is compared, the cleaning efficiency has been improved.
Claims (10)
1. A material-homogenizing double-roller peanut sorting machine comprises a rack and is characterized in that a roller screening device and a shaking screening device are sequentially arranged on the rack from top to bottom, the roller screening device comprises a screen roller group, a roller driving motor, a peanut supply mechanism and a peanut receiving mechanism, the screen roller group comprises two screen rollers which are rotationally fixed on the rack at intervals along the longitudinal direction, the two screen rollers are uniformly fixed in a manner that the front part is higher and the rear part is inclined, and the screen rollers are in transmission connection with the roller driving motor; the anti-blocking rubber roller is arranged between the two screen drums in parallel and comprises a fixed shaft and a rubber roller which are obliquely arranged, the front end and the rear end of the fixed shaft are rotationally fixed on the rack, the oblique direction and the angle of the fixed shaft are the same as those of the screen drums, the rubber roller is sleeved on the fixed shaft, the circumferential side surfaces of the rubber roller are respectively in tangential meshing contact with the screen drums on the left side and the right side, and the front end and the rear end of the rubber roller are respectively flush with the front end and the rear end of the screen drums; the fruit supply mechanism comprises a fruit homogenizing box obliquely arranged on the front side of the screen roller group, the oblique direction of the fruit homogenizing box is the same as that of the screen roller, openings are formed in the upper ends of the fruit homogenizing box and the fruit receiving box, the fruit homogenizing box is hinged and fixed on the rack on the front side of the screen roller group through a parallel hanger rod assembly, the left end and the right end of the rear side of the fruit homogenizing box extend backwards into the corresponding screen rollers and are provided with lower fruit openings, a connecting rod is fixed to the fruit homogenizing box in a hinged mode, the other end of the connecting rod is in transmission connection with the first eccentric driving mechanism, and the first eccentric driving mechanism can drive the fruit homogenizing box to shake left and right in a reciprocating mode through the connecting rod; the fruit receiving mechanism comprises a fruit receiving box which is obliquely arranged below the rear end of the screen roller group, an opening is formed in the upper end of the fruit receiving box, the oblique direction of the fruit receiving box is the same as that of the screen roller, the fruit receiving box is fixed with the shaking screening mechanism through a connecting rod assembly, the fruit receiving box is driven to shake left and right through the connecting rod assembly when the shaking screening mechanism shakes front and back, and a fruit discharging opening is formed in the rear side of the fruit receiving box and extends out of the rack; the shaking screening mechanism comprises a shaking screening shell with an open upper end, a parallel suspender mechanism and a second eccentric driving motor, the shaking screening shell is obliquely arranged below the drum screening group at intervals, the shaking screening shell is hinged and fixed with the rack through the parallel suspender mechanism, one side of the shaking screening shell is provided with a hinged seat and is in transmission connection with the second eccentric driving motor through a push-pull rod, and when the eccentric driving motor works, the shaking screening shell is driven to shake back and forth through the push-pull rod; the fruit row screening device is characterized in that screening plates with the rear ends inclined downwards are fixed above the bottom of the inner shell of the shaking screening shell at intervals in parallel, screening holes are uniformly distributed in the screening plates, small fruit row openings are formed in the right end of the shaking screening shell, the extending inclination direction of the screening plates corresponds to the fruit row openings, and small fruit row openings extending out of the rack are formed in the rear wall of the shaking screening shell on the upper side of the rear end of the screening plates.
2. The homogenizing dual drum peanut sorter of claim 1 wherein the size of the screen openings on the screen deck are smaller than the size of the screen drum openings.
3. The material-homogenizing double-drum peanut separator as claimed in claim 1, wherein the screen drum comprises a screen drum fixing shaft with a front high end and a rear bottom inclined and a hollow screen drum with openings at two ends, the front end and the rear end of the screen drum fixing shaft are both rotatably fixed on the frame through bearing seats, one end of the screen drum fixing shaft extends outwards out of the bearing seats and is in transmission connection with the drum driving motor, strip-shaped screen holes are distributed on the circumferential side surface of the screen drum, the screen drum is coaxially sleeved on the screen drum fixing shaft, a plurality of supporting frameworks are arranged on the screen drum fixing shaft in the screen drum at intervals, and the other end of the supporting and fixing is fixed with the inner ring surface of the screen drum.
4. The material-homogenizing double-drum peanut separator as claimed in claim 3, wherein the front end of the screen drum fixing shaft extends out of the bearing seat and is fixedly sleeved with a driven pulley, the drum driving motor is fixed on the frame at the front side of the screen drum through a bolt, the motor shaft of the drum driving motor is sleeved with a driving pulley, and the driving pulley is in transmission connection with the driven pulley through a transmission belt.
5. The material homogenizing double-drum peanut separator as claimed in claim 3, wherein the supporting framework comprises a fixed shaft sleeve and a supporting rod, the fixed shaft sleeve is fixedly sleeved on the fixed shaft of the screen drum, a plurality of radially arranged supporting rods are welded on the outer annular surface of the fixed shaft sleeve at intervals along the circumference, and the other ends of the supporting rods are welded and fixed with the inner annular surface of the screen drum.
6. The material homogenizing double-drum peanut separator as claimed in claim 1, wherein the parallel hanger rod assembly comprises a hinge seat and a hanger rod, the hinge seat is fixed at the middle part of each of the left and right side walls of the fruit homogenizing box at intervals, and the hinge seats on the left and right side walls of the fruit homogenizing box are fixed with the machine frame on the adjacent side in a hinged mode through the hanger rod.
7. The material homogenizing double-drum peanut sorting machine according to claim 1, wherein the first eccentric driving mechanism comprises a first driving motor and a driving disc, the first driving motor is fixed on a rack below the peanut homogenizing box through bolts, the driving disc is sleeved on a motor rotating shaft of the first driving motor, a driving shaft is axially welded at the edge of the outer end face of the driving disc and sleeved with a bearing, the upper end of the connecting rod is hinged and fixed with the peanut homogenizing box, and the lower end of the connecting rod is sleeved on the bearing of the driving shaft in a matching manner.
8. The material homogenizing double-drum peanut separator as claimed in claim 1, wherein the connecting rod assembly comprises vertical fixing rods, two vertical fixing rods are welded to the left end face and the right end face of the peanut receiving box at intervals, and the bottom ends of the vertical fixing rods are welded and fixed to the end faces of the adjacent sides of the shaking screening shells.
9. The material homogenizing double-drum peanut sorting machine according to claim 1, wherein the parallel suspender mechanism comprises a fixed suspender and a suspender fixing shaft, the two suspender fixing shafts are welded on the left side wall and the right side wall of the shaking screening shell and the frame on the adjacent side above the shaking screening shell at intervals, and the suspender fixing shafts on the left side wall and the right side wall of the shaking screening shell are hinged and fixed with the corresponding suspender fixing shafts on the frame on the adjacent side through the fixed suspender.
10. The material homogenizing double-roller peanut separator as claimed in claim 1, wherein a sundries collecting pipe with a right end inclined downwards and a longitudinal upper end open is welded and fixed at the bottom opening of the sundries discharging opening, and a sundries outlet is formed at the right end of the sundries collecting pipe.
Priority Applications (1)
| Application Number | Priority Date | Filing Date | Title |
|---|---|---|---|
| CN202010513574.4A CN111672741A (en) | 2020-06-08 | 2020-06-08 | Material-homogenizing double-roller peanut sorting machine |
Applications Claiming Priority (1)
| Application Number | Priority Date | Filing Date | Title |
|---|---|---|---|
| CN202010513574.4A CN111672741A (en) | 2020-06-08 | 2020-06-08 | Material-homogenizing double-roller peanut sorting machine |
Publications (1)
| Publication Number | Publication Date |
|---|---|
| CN111672741A true CN111672741A (en) | 2020-09-18 |
Family
ID=72435123
Family Applications (1)
| Application Number | Title | Priority Date | Filing Date |
|---|---|---|---|
| CN202010513574.4A Withdrawn CN111672741A (en) | 2020-06-08 | 2020-06-08 | Material-homogenizing double-roller peanut sorting machine |
Country Status (1)
| Country | Link |
|---|---|
| CN (1) | CN111672741A (en) |
Cited By (6)
| Publication number | Priority date | Publication date | Assignee | Title |
|---|---|---|---|---|
| CN112570248A (en) * | 2020-11-24 | 2021-03-30 | 湖南省农友机械集团有限公司 | Sorting device |
| CN112568450A (en) * | 2020-11-24 | 2021-03-30 | 湖南省农友机械集团有限公司 | Sorting and husking equipment |
| CN115445903A (en) * | 2022-10-19 | 2022-12-09 | 广东金晟新能源股份有限公司 | Waste lithium battery retrieves with thin multistage screening plant after breakage |
| CN117861998A (en) * | 2024-03-12 | 2024-04-12 | 甘肃万代晟浩建材有限公司 | Anti-blocking roller screening device |
| CN118719571A (en) * | 2024-09-02 | 2024-10-01 | 惠创科技(台州)有限公司 | Semiconductor bonding adhesive preparation raw material filtering equipment and method |
| CN120133157A (en) * | 2025-05-13 | 2025-06-13 | 安徽华中机械配套工程有限公司 | A double drum vibrating screen with anti-blocking function |
-
2020
- 2020-06-08 CN CN202010513574.4A patent/CN111672741A/en not_active Withdrawn
Cited By (8)
| Publication number | Priority date | Publication date | Assignee | Title |
|---|---|---|---|---|
| CN112570248A (en) * | 2020-11-24 | 2021-03-30 | 湖南省农友机械集团有限公司 | Sorting device |
| CN112568450A (en) * | 2020-11-24 | 2021-03-30 | 湖南省农友机械集团有限公司 | Sorting and husking equipment |
| CN115445903A (en) * | 2022-10-19 | 2022-12-09 | 广东金晟新能源股份有限公司 | Waste lithium battery retrieves with thin multistage screening plant after breakage |
| CN117861998A (en) * | 2024-03-12 | 2024-04-12 | 甘肃万代晟浩建材有限公司 | Anti-blocking roller screening device |
| CN117861998B (en) * | 2024-03-12 | 2024-05-28 | 甘肃万代晟浩新材料有限公司 | Anti-blocking roller screening device |
| CN118719571A (en) * | 2024-09-02 | 2024-10-01 | 惠创科技(台州)有限公司 | Semiconductor bonding adhesive preparation raw material filtering equipment and method |
| CN118719571B (en) * | 2024-09-02 | 2024-12-03 | 惠创科技(台州)有限公司 | Semiconductor bonding adhesive preparation raw material filtering equipment and method |
| CN120133157A (en) * | 2025-05-13 | 2025-06-13 | 安徽华中机械配套工程有限公司 | A double drum vibrating screen with anti-blocking function |
Similar Documents
| Publication | Publication Date | Title |
|---|---|---|
| CN111672741A (en) | Material-homogenizing double-roller peanut sorting machine | |
| CN109953355B (en) | Foreign body removal and sorting equipment for agricultural products after harvest | |
| CN211275385U (en) | Material screening device | |
| CN210411542U (en) | A grain color sorter capable of preprocessing grains | |
| CN110773431B (en) | Dry and wet peanut cleaner | |
| CN111659604A (en) | Adjustable peanut sorting machine | |
| CN107051673B (en) | Full-automatic fungus package waste processing system | |
| CN201380155Y (en) | Efficient Pepper Cleaning Machine | |
| CN214385890U (en) | Multistage snail tail removing machine | |
| CN220716711U (en) | Multistage screening mechanism is used in feed factory fodder production | |
| CN212468746U (en) | Material-homogenizing double-roller peanut sorting machine | |
| CN214710212U (en) | Peanut shelling and cleaning all-in-one machine | |
| CN109570037A (en) | A kind of sunflower screening system and its screening technology | |
| CN212349367U (en) | Adjustable peanut sorting machine | |
| CN208863165U (en) | Self-propelled cyperue esculentus cropper | |
| CN110024516B (en) | Rod chain and side backward-inclined vibrating screen combined type residual film recycling machine | |
| CN110367567A (en) | A kind of Kiwi fresh fruit grading plant | |
| CN209985733U (en) | Rotary tobacco stalk and broken stem removing machine | |
| CN218072522U (en) | Household corn threshing equipment | |
| CN114425472B (en) | Biomass energy raw materials pulverizes sieving mechanism | |
| CN110314835A (en) | A kind of Kiwi fresh fruit shape grader | |
| CN115971154A (en) | Thin-layer double-roller double-superposition rape seed cleaning device | |
| CN210386124U (en) | Smashing device capable of efficiently screening and removing impurities for hot peppers | |
| CN112772702A (en) | Multistage snail tail removing machine | |
| CN217120792U (en) | Be used for bean products processing soybean sieving mechanism |
Legal Events
| Date | Code | Title | Description |
|---|---|---|---|
| PB01 | Publication | ||
| PB01 | Publication | ||
| SE01 | Entry into force of request for substantive examination | ||
| SE01 | Entry into force of request for substantive examination | ||
| WW01 | Invention patent application withdrawn after publication |
Application publication date: 20200918 |
|
| WW01 | Invention patent application withdrawn after publication |