CN111670729B - 一种快速填充种植土的设备 - Google Patents

一种快速填充种植土的设备 Download PDF

Info

Publication number
CN111670729B
CN111670729B CN202010553933.9A CN202010553933A CN111670729B CN 111670729 B CN111670729 B CN 111670729B CN 202010553933 A CN202010553933 A CN 202010553933A CN 111670729 B CN111670729 B CN 111670729B
Authority
CN
China
Prior art keywords
bearing seat
planting soil
bottom plate
hopper
blocks
Prior art date
Legal status (The legal status is an assumption and is not a legal conclusion. Google has not performed a legal analysis and makes no representation as to the accuracy of the status listed.)
Active
Application number
CN202010553933.9A
Other languages
English (en)
Other versions
CN111670729A (zh
Inventor
钟军莲
Current Assignee (The listed assignees may be inaccurate. Google has not performed a legal analysis and makes no representation or warranty as to the accuracy of the list.)
Beijing Chaoyue Chuangshi Technology Co ltd
Original Assignee
Individual
Priority date (The priority date is an assumption and is not a legal conclusion. Google has not performed a legal analysis and makes no representation as to the accuracy of the date listed.)
Filing date
Publication date
Application filed by Individual filed Critical Individual
Priority to CN202010553933.9A priority Critical patent/CN111670729B/zh
Publication of CN111670729A publication Critical patent/CN111670729A/zh
Application granted granted Critical
Publication of CN111670729B publication Critical patent/CN111670729B/zh
Active legal-status Critical Current
Anticipated expiration legal-status Critical

Links

Images

Classifications

    • AHUMAN NECESSITIES
    • A01AGRICULTURE; FORESTRY; ANIMAL HUSBANDRY; HUNTING; TRAPPING; FISHING
    • A01GHORTICULTURE; CULTIVATION OF VEGETABLES, FLOWERS, RICE, FRUIT, VINES, HOPS OR SEAWEED; FORESTRY; WATERING
    • A01G9/00Cultivation in receptacles, forcing-frames or greenhouses; Edging for beds, lawn or the like
    • A01G9/08Devices for filling-up flower-pots or pots for seedlings; Devices for setting plants or seeds in pots
    • A01G9/081Devices for filling-up pots

Landscapes

  • Life Sciences & Earth Sciences (AREA)
  • Environmental Sciences (AREA)
  • Cultivation Receptacles Or Flower-Pots, Or Pots For Seedlings (AREA)

Abstract

本发明涉及一种填充设备,尤其涉及一种快速填充种植土的设备。技术问题为提供一种可以批量对花盆进行填土,且可以使得花盆中的种植土的量基本相同的快速填充种植土的设备。一种快速填充种植土的设备,包括有底板,所述底板的形状为长方体;下料机构,所述下料机构设置在所述底板上中部;传送机构,所述传送机构设置在所述底板上;导向块,所述导向块对称设置在所述下料机构下部。本发明达到了可以批量对花盆进行填土,且可以使得花盆中的种植土的量基本相同的效果,当花盆向右移动至第一漏斗下时,花盆会停止移动,种植土便会从第一漏斗内掉落,由于每次停止的时间是一致的,故花盆中的种植土的量也是一致的。

Description

一种快速填充种植土的设备
技术领域
本发明涉及一种填充设备,尤其涉及一种快速填充种植土的设备。
背景技术
现在许多人都喜欢在家中种植一些植物或者花卉,可以使得家里的空气更加清新,也可以使得家中更加美观,而在种植这些植物时,花盆和种植土是必不可少的,人们首先需要挑选好合适的花盆,并且在其中装好适量的合适的种植土,才能使得植物和花卉能够更好地生长,目前,花盆中的种植土一般都是人工将适量的种植土直接装入花盆中,若需要大量生产带有种植土的花盆,仅仅靠人工填充种植土的效率十分低,难以进行批量生产,且不易控制每个花盆中种植土的量。
通过上述的内容可知,设计一种可以批量对花盆进行填土,且可以使得花盆中的种植土的量基本相同的快速填充种植土的设备具有非常重要的现实意义。
发明内容
为了克服人工填充种植土的效率十分低,存在难以进行批量生产,且不易控制每个花盆中种植土的量,技术问题为:提供一种可以批量对花盆进行填土,且可以使得花盆中的种植土的量基本相同的快速填充种植土的设备具有非常重要的现实意义。
技术方案为:一种快速填充种植土的设备,包括有:底板,所述底板的形状为长方体;下料机构,所述下料机构设置在所述底板上中部;传送机构,所述传送机构设置在所述底板上;导向块,所述导向块对称设置在所述下料机构下部;挡板,所述挡板滑动式设置在所述导向块上;弹簧,所述弹簧连接在所述下料机构与所述挡板之间;连接板,所述连接板固定连接在所述挡板外侧底部;滚轮,所述滚轮设置在所述连接板内侧下部。
进一步的,下料机构包括有:支架,所述支架对称固定连接在所述底板上中部,其中的一个所述支架内侧上部与所述弹簧连接;连接框架,所述连接框架通过螺栓连接在所述支架之间;连接块,所述连接块对称设置在所述连接框架内侧,所述连接块的数量为四个;第一漏斗,所述第一漏斗设置在所述连接块之间;第一连接杆,所述第一连接杆对称设置在所述第一漏斗内侧,所述第一连接杆的数量为四个;斜槽板,所述斜槽板设置在所述第一连接杆之间;支撑杆,所述支撑杆对称设置在所述连接框架顶部;支撑块,所述支撑块对称设置在所述连接框架顶部,所述支撑块与所述支撑杆不处于同一条线上;第二漏斗,所述第二漏斗设置在所述支撑块顶端,所述支撑杆上部均穿过所述第二漏斗。
进一步的,传送机构包括有:第一轴承座,所述第一轴承座安装在所述底板上一侧;支撑件,所述支撑件固定连接在所述底板上靠近所述第一轴承座的一侧,且所述支撑件与所述第一轴承座前后设置。伺服电机,所述伺服电机的机体安装在所述支撑件顶部;缺齿齿轮,所述缺齿齿轮连接在所述伺服电机的输出轴上;第二轴承座,所述第二轴承座安装在所述支撑件顶部一侧;转轴,所述转轴转动式设置在所述第二轴承座内,所述转轴一端与所述第一轴承座转动式连接;全齿齿轮,所述全齿齿轮设置在所述转轴上,所述全齿齿轮位于所述缺齿齿轮上方并与所述缺齿齿轮配合;第三轴承座,所述第三轴承座对称安装在所述底板上远离所述第一轴承座的一侧;滚轴,所述滚轴设置在左右两侧,右侧的所述滚轴转动式设置在所述第三轴承座之间,左侧的所述滚轴设置在所述转轴上;传送带,所述传送带绕在两侧的所述滚轴上;凸块,所述凸块均匀间隔设置在所述传送带上靠近所述滚轮的一侧,所述凸块与所述滚轮配合接触。
进一步的,还包括有:第二连接杆,所述第二连接杆均固定连接在所述支撑杆顶部;电动推杆,所述电动推杆安装在所述第二连接杆之间;推动杆,所述推动杆设置在所述电动推杆底部;第三连接杆,所述第三连接杆对称设置在所述推动杆下部,所述第三连接杆的数量为四个;连接环,所述连接环设置在所述第三连接杆外端;L形推动块,所述L形推动块均匀间隔设置在所述连接环外侧,所述L形推动块的数量至少为十个。
进一步的,还包括有:活动圆盘,所述活动圆盘设置在所述推动杆下部,所述活动圆盘位于所述第二漏斗内。
有益效果是:1、本发明达到了可以批量对花盆进行填土,且可以使得花盆中的种植土的量基本相同的效果;
2、人们只需要将空的花盆放置在传送带上,传送带会不断顺时针转动并带动花盆不断向右移动,并同时通过下料机构在花盆中下料,最后人们只需要在被设备右侧将填充好的花盆收集即可,非常方便快捷;
3、当花盆向右移动至第一漏斗下时,花盆会停止移动,种植土便会从第一漏斗内掉落,由于每次停止的时间是一致的,故花盆中的种植土的量也是一致的。
附图说明
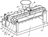
图1为本发明的立体结构示意图。
图2为本发明的第一部分立体结构示意图。
图3为本发明的第二部分立体结构示意图。
图4为本发明的第三部分立体结构示意图。
图5为本发明A的放大结构示意图。
图6为本发明B的放大结构示意图。
图7为本发明C的放大结构示意图。
附图标记说明:1:底板,2:下料机构,20:支架,21:连接框架,22:连接块,23:第一漏斗,24:第一连接杆,25:斜槽板,26:支撑杆,27:支撑块,28:第二漏斗,3:传送机构,30:第一轴承座,31:支撑件,32:伺服电机,33:缺齿齿轮,34:第二轴承座,35:转轴,36:全齿齿轮,37:第三轴承座,38:滚轴,39:传送带,310:凸块,4:导向块,5:挡板,6:弹簧,7:连接板,8:滚轮,9:第二连接杆,10:电动推杆,11:推动杆,12:第三连接杆,13:连接环,14:L形推动块,15:活动圆盘。
具体实施方式
为使本发明的目的、技术方案和优点更加清楚明了,下面结合具体实施方式并参照附图,对本发明进一步详细说明。应该理解,这些描述只是示例性的,而并非要限制本发明的范围。此外,在以下说明中,省略了对公知结构和技术的描述,以避免不必要地混淆本发明的概念。
实施例1
一种快速填充种植土的设备,如图1-6所示,包括有底板1、下料机构2、传送机构3、导向块4、挡板5、弹簧6、连接板7和滚轮8,底板1上中部设有下料机构2,底板1上设有传送机构3,下料机构2下部左右对称设有导向块4,左右两侧的导向块4上滑动式设有挡板5,挡板5前侧与下料机构2之间连接有弹簧6,挡板5前侧底部固定连接有连接板7,连接板7后侧下部设有滚轮8。
下料机构2包括有支架20、连接框架21、连接块22、第一漏斗23、第一连接杆24、斜槽板25、支撑杆26、支撑块27和第二漏斗28,底板1中部前后对称固定连接有支架20,前侧的支架20上部后侧与弹簧6连接,前后两侧的支架20之间通过螺栓连接有连接框架21,连接框架21内部前后两侧和左右两侧均设有连接块22,连接块22之间设有第一漏斗23,导向块4连接在第一漏斗23底部左右两侧,第一漏斗23内部前后两侧和左右两侧均设有第一连接杆24,第一连接杆24之间设有斜槽板25,连接框架21顶部前后两侧均设有支撑杆26,连接框架21顶部左右两侧均设有支撑块27,支撑块27顶端之间设有第二漏斗28,支撑杆26上部均穿过第二漏斗28。
传送机构3包括有第一轴承座30、支撑件31、伺服电机32、缺齿齿轮33、第二轴承座34、转轴35、全齿齿轮36、第三轴承座37、滚轴38、传送带39和凸块310,底板1上左前侧安装有第一轴承座30,底板1上左后侧固定连接有支撑件31,支撑件31顶部安装有伺服电机32,伺服电机32的输出轴上连接有缺齿齿轮33,支撑件31顶部后侧安装有第二轴承座34,第二轴承座34内转动式设有转轴35,转轴35前端与第一轴承座30转动式连接,转轴35后部设有全齿齿轮36,全齿齿轮36位于缺齿齿轮33上方并与缺齿齿轮33配合,底板1上右侧前后对称安装有第三轴承座37,第三轴承座37之间转动式设有滚轴38,转轴35上固定式设有滚轴38,两侧的滚轴38上绕有传送带39,传送带39前侧均匀间隔设有凸块310,凸块310与滚轮8配合接触。
当人们需要将种植土填充进花盆中时可以使用本设备,首先将足量的种植土放在下料机构2中,再把花盆依次排列在传送机构3上,通过传送机构3带动花盆向右移动,当其中一个花盆移动至下料机构2下方时,传送机构3正好向前推动滚轮8和连接板7,从而带动挡板5向前移动,弹簧6被压缩挡板5不再挡住下料机构2,种植土便会从下料机构2中掉落至花盆中,然后花盆会继续向右移动,传送机构3不再推动滚轮8和连接板7,在弹簧6的复位作用下,滚轮8、连接板7和挡板5向后恢复原位,挡板5重新挡住下料机构2,种植土不再向下掉落,如此往复,便能不断地通过下料机构2和传送机构3把依次种植土填充进花盆内。
当人们需要通过下料机构2进行下料时,将足量的种植土放入第二漏斗28内,种植土会通过第二漏斗28底部的开口慢慢掉落至斜槽板25上,然后种植土会通过斜槽板25上的斜槽再次慢慢掉落,初始状态下,第一漏斗23底部的开口被挡板5挡住,种植土不会向下掉落,当挡板5移走时,种植土便会自动掉落。
当人们需要通过传送机构3将花盆间歇性向右移动且控制挡板5的移动时,伺服电机32的输出轴会带动缺齿齿轮33逆时针转动,当缺齿齿轮33与全齿齿轮36啮合时,会带动全齿齿轮36顺时针转动,从而带动转轴35和左侧的滚轴38不断顺时针转动,从而带动传送带39和右侧的滚轴38顺时针转动,进而带动传送带39上的花盆向右侧移动,当缺齿齿轮33与全齿齿轮36脱离时,传送带39和其上面的花盆则不会移动,此时花盆正好位于第一漏斗23下方,凸块310恰好向前推动滚轮8和连接板7,使得挡板5不再挡住第一漏斗23,第一漏斗23内的种植土便会掉落至花盆内,如此往复,便能使得花盆间歇性向右移动,并在花盆停止移动时进行下料。
实施例2
在实施例1的基础之上,如图4和图7所示,还包括有第二连接杆9、电动推杆10、推动杆11、第三连接杆12、连接环13和L形推动块14,支撑杆26顶部均固定连接有第二连接杆9,第二连接杆9之间安装有电动推杆10,电动推杆10的推杆底部设有推动杆11,推动杆11下部四周均固定连接有第三连接杆12,第三连接杆12外端设有连接环13,连接环13外侧均匀间隔设有L形推动块14。
还包括有活动圆盘15,推动杆11下部设有活动圆盘15,活动圆盘15位于第三连接杆12上方。
启动第二连接杆9之间的电动推杆10,从而带动推动杆11和第三连接杆12不断上下移动,从而带动连接环13和L形推动块14不断上下移动,如此便能通过L形推动块14将斜槽板25上的种植土推出,防止种植土堆积在斜槽板25上,使用完毕后关闭电动推杆10即可。
活动圆盘15也会随着推动杆11而上下移动,从而使得第二漏斗28内的种植土可以更好的掉落。
以上所述,仅为本发明的具体实施方式,但本发明的保护范围并不局限于此,任何熟悉本技术领域的技术人员在本发明揭露的技术范围内,可轻易想到变化或替换,都应涵盖在本发明的保护范围之内。因此,本发明的保护范围应以所述权利要求的保护范围为准。

Claims (3)

1.一种快速填充种植土的设备,其特征在于,包括有:
底板(1),所述底板(1)的形状为长方体;
下料机构(2),所述下料机构(2)设置在所述底板(1)上中部;
传送机构(3),所述传送机构(3)设置在所述底板(1)上;
导向块(4),所述导向块(4)对称设置在所述下料机构(2)下部;
挡板(5),所述挡板(5)滑动式设置在所述导向块(4)上;
弹簧(6),所述弹簧(6)连接在所述下料机构(2)与所述挡板(5)之间;
连接板(7),所述连接板(7)固定连接在所述挡板(5)外侧底部;
滚轮(8),所述滚轮(8)设置在所述连接板(7)内侧下部;
下料机构(2)包括有:
支架(20),所述支架(20)对称固定连接在所述底板(1)上中部,其中的一个所述支架(20)内侧上部与所述弹簧(6)连接;
连接框架(21),所述连接框架(21)通过螺栓连接在所述支架(20)之间;
连接块(22),所述连接块(22)对称设置在所述连接框架(21)内侧,所述连接块(22)的数量为四个;
第一漏斗(23),所述第一漏斗(23)设置在所述连接块(22)之间;
第一连接杆(24),所述第一连接杆(24)对称设置在所述第一漏斗(23)内侧,所述第一连接杆(24)的数量为四个;
斜槽板(25),所述斜槽板(25)设置在所述第一连接杆(24)之间;
支撑杆(26),所述支撑杆(26)对称设置在所述连接框架(21)顶部;
支撑块(27),所述支撑块(27)对称设置在所述连接框架(21)顶部,所述支撑块(27)与所述支撑杆(26)不处于同一条线上;
第二漏斗(28),所述第二漏斗(28)设置在所述支撑块(27)顶端,所述支撑杆(26)上部均穿过所述第二漏斗(28);
传送机构(3)包括有:
第一轴承座(30),所述第一轴承座(30)安装在所述底板(1)上一侧;
支撑件(31),所述支撑件(31)固定连接在所述底板(1)上靠近所述第一轴承座(30)的一侧,且所述支撑件(31)与所述第一轴承座(30)前后设置;
伺服电机(32),所述伺服电机(32)的机体安装在所述支撑件(31)顶部;
缺齿齿轮(33),所述缺齿齿轮(33)连接在所述伺服电机(32)的输出轴上;
第二轴承座(34),所述第二轴承座(34)安装在所述支撑件(31)顶部一侧;
转轴(35),所述转轴(35)转动式设置在所述第二轴承座(34)内,所述转轴(35)一端与所述第一轴承座(30)转动式连接;
全齿齿轮(36),所述全齿齿轮(36)设置在所述转轴(35)上,所述全齿齿轮(36)位于所述缺齿齿轮(33)上方并与所述缺齿齿轮(33)配合;
第三轴承座(37),所述第三轴承座(37)对称安装在所述底板(1)上远离所述第一轴承座(30)的一侧;
滚轴(38),所述滚轴(38)设置在左右两侧,右侧的所述滚轴(38)转动式设置在所述第三轴承座(37)之间,左侧的所述滚轴(38)设置在所述转轴(35)上;
传送带(39),所述传送带(39)绕在两侧的所述滚轴(38)上;
凸块(310),所述凸块(310)均匀间隔设置在所述传送带(39)上靠近所述滚轮(8)的一侧,所述凸块(310)与所述滚轮(8)配合接触。
2.按照权利要求1所述的一种快速填充种植土的设备,其特征在于,还包括有:
第二连接杆(9),所述第二连接杆(9)均固定连接在所述支撑杆(26)顶部;
电动推杆(10),所述电动推杆(10)安装在所述第二连接杆(9)之间;
推动杆(11),所述推动杆(11)设置在所述电动推杆(10)底部;
第三连接杆(12),所述第三连接杆(12)对称设置在所述推动杆(11)下部,所述第三连接杆(12)的数量为四个;
连接环(13),所述连接环(13)设置在所述第三连接杆(12)外端;
L形推动块(14),所述L形推动块(14)均匀间隔设置在所述连接环(13)外侧,所述L形推动块(14)的数量至少为十个。
3.按照权利要求2所述的一种快速填充种植土的设备,其特征在于,还包括有:活动圆盘(15),所述活动圆盘(15)设置在所述推动杆(11)下部,所述活动圆盘(15)位于所述第二漏斗(28)内。
CN202010553933.9A 2020-06-17 2020-06-17 一种快速填充种植土的设备 Active CN111670729B (zh)

Priority Applications (1)

Application Number Priority Date Filing Date Title
CN202010553933.9A CN111670729B (zh) 2020-06-17 2020-06-17 一种快速填充种植土的设备

Applications Claiming Priority (1)

Application Number Priority Date Filing Date Title
CN202010553933.9A CN111670729B (zh) 2020-06-17 2020-06-17 一种快速填充种植土的设备

Publications (2)

Publication Number Publication Date
CN111670729A CN111670729A (zh) 2020-09-18
CN111670729B true CN111670729B (zh) 2022-07-15

Family

ID=72435880

Family Applications (1)

Application Number Title Priority Date Filing Date
CN202010553933.9A Active CN111670729B (zh) 2020-06-17 2020-06-17 一种快速填充种植土的设备

Country Status (1)

Country Link
CN (1) CN111670729B (zh)

Families Citing this family (5)

* Cited by examiner, † Cited by third party
Publication number Priority date Publication date Assignee Title
CN112690144A (zh) * 2020-12-10 2021-04-23 刘永龙 一种种植用纽荷尔装杯填土装置
CN112715228A (zh) * 2021-01-26 2021-04-30 李相银 一种园林花盆种植用辅助覆土装置
CN113070765A (zh) * 2021-03-05 2021-07-06 周银辉 一种制造加工用金属漏勺打磨装置
CN112997752A (zh) * 2021-04-22 2021-06-22 涂曦雯 一种盆栽用花盆批量覆土装置
CN113455373B (zh) * 2021-07-09 2023-06-13 北京城农科工科技发展有限公司 苗钵支撑落土装置

Citations (7)

* Cited by examiner, † Cited by third party
Publication number Priority date Publication date Assignee Title
JPH09275811A (ja) * 1996-04-15 1997-10-28 Yanmar Agricult Equip Co Ltd 養土供給装置
JP2938044B1 (ja) * 1998-06-23 1999-08-23 株式会社キタムラ 水耕苗の自動定植方法及びその自動定植装置
CN108243788A (zh) * 2018-01-22 2018-07-06 赵依依 一种专用于市政用花苗培育箱填土设备
CN108811935A (zh) * 2018-06-29 2018-11-16 何爱建 一种专用于水稻育苗板填泥浆设备
CN110089310A (zh) * 2019-04-26 2019-08-06 赖炳明 一种育苗盆定量装土装置
CN209218721U (zh) * 2018-12-04 2019-08-09 安徽奥申园林有限责任公司 一种营养袋装土机
CN110100613A (zh) * 2019-05-06 2019-08-09 朱丽萍 一种盆景花盆自动填土装置

Family Cites Families (1)

* Cited by examiner, † Cited by third party
Publication number Priority date Publication date Assignee Title
CN108811943B (zh) * 2018-06-21 2020-09-11 浙江勤奋建设有限公司 一种用于园艺花盆土壤批量填充设备

Patent Citations (7)

* Cited by examiner, † Cited by third party
Publication number Priority date Publication date Assignee Title
JPH09275811A (ja) * 1996-04-15 1997-10-28 Yanmar Agricult Equip Co Ltd 養土供給装置
JP2938044B1 (ja) * 1998-06-23 1999-08-23 株式会社キタムラ 水耕苗の自動定植方法及びその自動定植装置
CN108243788A (zh) * 2018-01-22 2018-07-06 赵依依 一种专用于市政用花苗培育箱填土设备
CN108811935A (zh) * 2018-06-29 2018-11-16 何爱建 一种专用于水稻育苗板填泥浆设备
CN209218721U (zh) * 2018-12-04 2019-08-09 安徽奥申园林有限责任公司 一种营养袋装土机
CN110089310A (zh) * 2019-04-26 2019-08-06 赖炳明 一种育苗盆定量装土装置
CN110100613A (zh) * 2019-05-06 2019-08-09 朱丽萍 一种盆景花盆自动填土装置

Also Published As

Publication number Publication date
CN111670729A (zh) 2020-09-18

Similar Documents

Publication Publication Date Title
CN111670729B (zh) 一种快速填充种植土的设备
CN109041703B (zh) 一种水稻育秧播种流水线
CN112896647A (zh) 一种盒装罐头灌装设备
CN113079760B (zh) 一种可自动精准定量下种的蔬菜育苗装置
CN110301269A (zh) 一种多功能烟草播种系统
CN107672841B (zh) 一种水果包装方法
CN110089310A (zh) 一种育苗盆定量装土装置
CN112520123A (zh) 一种生物胶囊用自动均匀装盒机
CN109051829B (zh) 码叠装置
CN111713305B (zh) 一种泥土装袋机
CN110606383B (zh) 一种育秧盘自动铺设装置
CN111418445A (zh) 一种香菇袋种植用自动化灌菌种设备
CN219487886U (zh) 一种食品生产用单料斗
CN213974654U (zh) 一种全自动粉料包装机的收料装置
CN110476660A (zh) 一种育苗用营养钵自动播种装填装置
CN212487544U (zh) 一种用于咖啡种植育苗的填料装置
CN220875065U (zh) 一种水稻插秧机自动补秧装置
CN221163452U (zh) 一种裹衣坚果生产用包装机
CN113557910B (zh) 一种农业种植用具有精准定量功能的菌包自动填充装置
CN114633909B (zh) 一种茶叶包装设备的称量装置
CN113184258A (zh) 一种适用于草莓采摘机的装盒装置和采摘机
CN113650818A (zh) 一种黄桃罐头制作设备
CN216916369U (zh) 一种花卉种苗装袋机
CN214608336U (zh) 一种高效的玫瑰花茶包装机
CN114128613B (zh) 一种豆芽辅助种植装置

Legal Events

Date Code Title Description
PB01 Publication
PB01 Publication
SE01 Entry into force of request for substantive examination
SE01 Entry into force of request for substantive examination
GR01 Patent grant
GR01 Patent grant
TR01 Transfer of patent right
TR01 Transfer of patent right

Effective date of registration: 20240808

Address after: Next to the payment counter in Meilianmei Muxiyuan Supermarket, No. 101 Yongdingmenwai Street, Dongcheng District, Beijing 100010

Patentee after: Beijing Chaoyue Chuangshi Technology Co.,Ltd.

Country or region after: China

Address before: 330006 plant 8, natural village, Xinhu village, Tangshan village, Tangshan town, Qingshanhu District, Nanchang City, Jiangxi Province

Patentee before: Zhong Junlian

Country or region before: China