CN111664054A - Power generation device based on wind-solar hybrid - Google Patents
Power generation device based on wind-solar hybrid Download PDFInfo
- Publication number
- CN111664054A CN111664054A CN202010524447.4A CN202010524447A CN111664054A CN 111664054 A CN111664054 A CN 111664054A CN 202010524447 A CN202010524447 A CN 202010524447A CN 111664054 A CN111664054 A CN 111664054A
- Authority
- CN
- China
- Prior art keywords
- power generation
- wind
- generation device
- solar
- solar hybrid
- Prior art date
- Legal status (The legal status is an assumption and is not a legal conclusion. Google has not performed a legal analysis and makes no representation as to the accuracy of the status listed.)
- Granted
Links
- 238000010248 power generation Methods 0.000 title claims abstract description 69
- 230000002093 peripheral effect Effects 0.000 claims abstract description 11
- 239000003638 chemical reducing agent Substances 0.000 claims abstract description 10
- 238000003780 insertion Methods 0.000 claims description 19
- 230000037431 insertion Effects 0.000 claims description 18
- 238000000034 method Methods 0.000 claims description 3
- 230000000295 complement effect Effects 0.000 claims description 2
- 238000009434 installation Methods 0.000 claims description 2
- 230000000694 effects Effects 0.000 abstract description 3
- 230000009471 action Effects 0.000 description 3
- 230000003139 buffering effect Effects 0.000 description 2
- 238000011161 development Methods 0.000 description 2
- 230000007613 environmental effect Effects 0.000 description 2
- 239000000463 material Substances 0.000 description 2
- 230000009286 beneficial effect Effects 0.000 description 1
- 230000008859 change Effects 0.000 description 1
- 230000003247 decreasing effect Effects 0.000 description 1
- 238000010586 diagram Methods 0.000 description 1
- 230000005611 electricity Effects 0.000 description 1
- 238000012986 modification Methods 0.000 description 1
- 230000004048 modification Effects 0.000 description 1
- 230000008569 process Effects 0.000 description 1
Images
Classifications
-
- F—MECHANICAL ENGINEERING; LIGHTING; HEATING; WEAPONS; BLASTING
- F03—MACHINES OR ENGINES FOR LIQUIDS; WIND, SPRING, OR WEIGHT MOTORS; PRODUCING MECHANICAL POWER OR A REACTIVE PROPULSIVE THRUST, NOT OTHERWISE PROVIDED FOR
- F03D—WIND MOTORS
- F03D9/00—Adaptations of wind motors for special use; Combinations of wind motors with apparatus driven thereby; Wind motors specially adapted for installation in particular locations
- F03D9/007—Adaptations of wind motors for special use; Combinations of wind motors with apparatus driven thereby; Wind motors specially adapted for installation in particular locations the wind motor being combined with means for converting solar radiation into useful energy
-
- F—MECHANICAL ENGINEERING; LIGHTING; HEATING; WEAPONS; BLASTING
- F03—MACHINES OR ENGINES FOR LIQUIDS; WIND, SPRING, OR WEIGHT MOTORS; PRODUCING MECHANICAL POWER OR A REACTIVE PROPULSIVE THRUST, NOT OTHERWISE PROVIDED FOR
- F03D—WIND MOTORS
- F03D9/00—Adaptations of wind motors for special use; Combinations of wind motors with apparatus driven thereby; Wind motors specially adapted for installation in particular locations
- F03D9/20—Wind motors characterised by the driven apparatus
- F03D9/25—Wind motors characterised by the driven apparatus the apparatus being an electrical generator
-
- H—ELECTRICITY
- H02—GENERATION; CONVERSION OR DISTRIBUTION OF ELECTRIC POWER
- H02S—GENERATION OF ELECTRIC POWER BY CONVERSION OF INFRARED RADIATION, VISIBLE LIGHT OR ULTRAVIOLET LIGHT, e.g. USING PHOTOVOLTAIC [PV] MODULES
- H02S10/00—PV power plants; Combinations of PV energy systems with other systems for the generation of electric power
- H02S10/10—PV power plants; Combinations of PV energy systems with other systems for the generation of electric power including a supplementary source of electric power, e.g. hybrid diesel-PV energy systems
- H02S10/12—Hybrid wind-PV energy systems
-
- H—ELECTRICITY
- H02—GENERATION; CONVERSION OR DISTRIBUTION OF ELECTRIC POWER
- H02S—GENERATION OF ELECTRIC POWER BY CONVERSION OF INFRARED RADIATION, VISIBLE LIGHT OR ULTRAVIOLET LIGHT, e.g. USING PHOTOVOLTAIC [PV] MODULES
- H02S20/00—Supporting structures for PV modules
- H02S20/30—Supporting structures being movable or adjustable, e.g. for angle adjustment
-
- Y—GENERAL TAGGING OF NEW TECHNOLOGICAL DEVELOPMENTS; GENERAL TAGGING OF CROSS-SECTIONAL TECHNOLOGIES SPANNING OVER SEVERAL SECTIONS OF THE IPC; TECHNICAL SUBJECTS COVERED BY FORMER USPC CROSS-REFERENCE ART COLLECTIONS [XRACs] AND DIGESTS
- Y02—TECHNOLOGIES OR APPLICATIONS FOR MITIGATION OR ADAPTATION AGAINST CLIMATE CHANGE
- Y02E—REDUCTION OF GREENHOUSE GAS [GHG] EMISSIONS, RELATED TO ENERGY GENERATION, TRANSMISSION OR DISTRIBUTION
- Y02E10/00—Energy generation through renewable energy sources
- Y02E10/50—Photovoltaic [PV] energy
-
- Y—GENERAL TAGGING OF NEW TECHNOLOGICAL DEVELOPMENTS; GENERAL TAGGING OF CROSS-SECTIONAL TECHNOLOGIES SPANNING OVER SEVERAL SECTIONS OF THE IPC; TECHNICAL SUBJECTS COVERED BY FORMER USPC CROSS-REFERENCE ART COLLECTIONS [XRACs] AND DIGESTS
- Y02—TECHNOLOGIES OR APPLICATIONS FOR MITIGATION OR ADAPTATION AGAINST CLIMATE CHANGE
- Y02E—REDUCTION OF GREENHOUSE GAS [GHG] EMISSIONS, RELATED TO ENERGY GENERATION, TRANSMISSION OR DISTRIBUTION
- Y02E10/00—Energy generation through renewable energy sources
- Y02E10/70—Wind energy
- Y02E10/72—Wind turbines with rotation axis in wind direction
Landscapes
- Engineering & Computer Science (AREA)
- Life Sciences & Earth Sciences (AREA)
- Sustainable Development (AREA)
- Sustainable Energy (AREA)
- Power Engineering (AREA)
- Chemical & Material Sciences (AREA)
- Combustion & Propulsion (AREA)
- Mechanical Engineering (AREA)
- General Engineering & Computer Science (AREA)
- Photovoltaic Devices (AREA)
- Wind Motors (AREA)
Abstract
本发明公开了一种基于风光互补的发电装置,涉及风光互补发电技术领域。本发明包括固定支架、光伏发电组件、风力发电组件、动力组件以及用于调节光伏发电组件朝向的调节组件;固定支架上端周侧面开设有环形槽;固定支架下端固定安装有一安装板;光伏发电组件包括底座;底座上转动连接有转动架;转动架上固定安装有太阳能电池板;风力发电组件包括风力发电机组;风力发电机组下端连接有减速机。本发明通过固定支架、光伏发电组件、风力发电组件、动力组件以及调节组件的作用,具有达到利用风能和温差变化来调节光伏发电组件的朝向,保证光伏组件能较好的随着太阳移动调节朝向,减少光伏发电组件转动的摩擦力的效果。
The invention discloses a wind-solar hybrid power generation device, which relates to the technical field of wind-solar hybrid power generation. The invention includes a fixed bracket, a photovoltaic power generation component, a wind power generation component, a power component and an adjustment component for adjusting the orientation of the photovoltaic power generation component; an annular groove is formed on the peripheral side of the upper end of the fixed bracket; a mounting plate is fixedly installed at the lower end of the fixed bracket; the photovoltaic power generation component It includes a base; a turret is rotatably connected to the base; a solar panel is fixedly installed on the turret; the wind power generation assembly includes a wind generator set; the lower end of the wind generator set is connected with a reducer. The present invention has the functions of fixing brackets, photovoltaic power generation components, wind power generation components, power components and adjustment components to adjust the orientation of photovoltaic power generation components by utilizing wind energy and temperature difference changes, and ensures that photovoltaic components can better adjust the orientation with the movement of the sun , the effect of reducing the frictional force of the rotation of photovoltaic power generation components.
Description
技术领域technical field
本发明属于风光互补发电技术领域,特别是涉及一种基于风光互补的发电装置。The invention belongs to the technical field of wind-solar hybrid power generation, and in particular relates to a wind-solar hybrid power generation device.
背景技术Background technique
随着传统能源的日益枯竭,各个国家越来越注重新能源的开发与利用。在新能源的开发过程中,风能与太阳能使用的最为广泛,人们也开始使用风能与太阳能互补进行发电。在传统的光伏发电装置中,由于光伏组件一般是在安装的时候就固定了安装的朝向,导致光伏组件难以很好的面朝太阳,保证发电的效率;现有的一些设计往往是完全通过电机或其他驱动设备调节光伏组件的朝向,这无疑消耗了一部分电能,不够节能环保。With the increasing depletion of traditional energy, various countries pay more and more attention to the development and utilization of new energy. In the development process of new energy, wind energy and solar energy are the most widely used, and people also begin to use wind energy and solar energy complementary to generate electricity. In traditional photovoltaic power generation devices, since photovoltaic modules are generally installed in a fixed orientation during installation, it is difficult for photovoltaic modules to face the sun well to ensure the efficiency of power generation; some existing designs are often completely driven by motors. Or other driving devices to adjust the orientation of the photovoltaic modules, which undoubtedly consumes a part of the electric energy, which is not energy-saving and environmentally friendly.
针对上述问题,本发明通过固定支架、光伏发电组件、风力发电组件、动力组件以及调节组件的作用,具有达到利用风能和温差变化来调节光伏发电组件的朝向,保证光伏组件能较好的随着太阳移动调节朝向,减少光伏发电组件转动的摩擦力,减少电能的使用,更加的节能环保的效果。In view of the above problems, the present invention has the functions of fixing brackets, photovoltaic power generation components, wind power generation components, power components and adjustment components to adjust the orientation of photovoltaic power generation components by utilizing wind energy and temperature difference changes, and ensures that photovoltaic components can better follow The movement of the sun adjusts the direction, reduces the frictional force of the rotation of photovoltaic power generation components, reduces the use of electric energy, and has more energy-saving and environmental protection effects.
发明内容SUMMARY OF THE INVENTION
本发明的目的在于提供一种基于风光互补的发电装置,通过固定支架、光伏发电组件、风力发电组件、动力组件以及调节组件的作用,解决了现有的光伏组件难以很好的随太阳移动调节朝向,难以保证发电的效率,现有的一些设计完全通过电机调节光伏组件的朝向,需要消耗一部分电能的问题。The purpose of the present invention is to provide a wind-solar hybrid power generation device, which solves the problem that the existing photovoltaic modules are difficult to adjust with the movement of the sun through the functions of fixed brackets, photovoltaic power generation components, wind power generation components, power components and adjustment components. Orientation, it is difficult to ensure the efficiency of power generation, some existing designs completely adjust the orientation of the photovoltaic module through the motor, which needs to consume a part of the electric energy.
为解决上述技术问题,本发明是通过以下技术方案实现的:In order to solve the above-mentioned technical problems, the present invention is achieved through the following technical solutions:
本发明为一种基于风光互补的发电装置,包括固定支架、光伏发电组件、风力发电组件、动力组件以及用于调节光伏发电组件朝向的调节组件;The present invention is a wind-solar hybrid power generation device, comprising a fixed bracket, a photovoltaic power generation assembly, a wind power generation assembly, a power assembly, and an adjustment assembly for adjusting the orientation of the photovoltaic power generation assembly;
所述固定支架上端周侧面开设有环形槽;所述固定支架下端固定安装有一安装板;所述光伏发电组件包括底座;所述底座上转动连接有转动架;所述转动架上固定安装有太阳能电池板;所述风力发电组件包括风力发电机组;所述风力发电机组下端连接有减速机;所述动力组件包括一密封容器;所述密封容器内部向固定支架内延伸并形成有一瓶颈;所述瓶颈内配合有一活塞;所述密封容器内填充有膨胀气体。An annular groove is formed on the peripheral side of the upper end of the fixing bracket; a mounting plate is fixedly installed at the lower end of the fixing bracket; the photovoltaic power generation component includes a base; a turret is rotatably connected to the base; a battery board; the wind power generation assembly includes a wind turbine; the lower end of the wind turbine is connected with a reducer; the power assembly includes a sealed container; the inside of the sealed container extends into the fixed bracket and forms a bottleneck; the A piston is fitted in the neck of the neck; the airtight container is filled with inflation gas.
进一步地,所述底座上表面开设有环形槽;所述环形槽内设置有若干滚珠;所述环形槽横截面为半圆形结构。Further, an annular groove is formed on the upper surface of the base; a plurality of balls are arranged in the annular groove; the cross-section of the annular groove is a semicircular structure.
进一步地,所述底座上表面固定有一电机;所述电机输出端固定安装有一齿轮。Further, a motor is fixed on the upper surface of the base; a gear is fixed on the output end of the motor.
进一步地,所述转动架为一环形板结构;所述转动架下表面开设有环形凹槽;所述转动架沿其周侧面设置有轮齿;所述转动架周侧面固定安装有一支撑板;所述轮齿与齿轮相啮合;所述支撑板上表面通过一太阳能电池板安装架固定安装有一倾斜的太阳能电池板。Further, the turret is an annular plate structure; the lower surface of the turret is provided with an annular groove; the turret is provided with gear teeth along its peripheral side; a support plate is fixedly installed on the peripheral side of the turret; The gear teeth are engaged with the gears; an inclined solar cell panel is fixedly mounted on the upper surface of the support plate through a solar cell panel mounting frame.
进一步地,所述转动架内表面固定连接有一连接杆;所述连接杆下方固定安装有一插杆;所述插杆为一倒置的圆台结构。Further, a connecting rod is fixedly connected to the inner surface of the turret; an insertion rod is fixedly installed under the connecting rod; and the insertion rod is an inverted circular truncated structure.
进一步地,所述减速机两侧均设置有输出轴;位于下方的所述输出轴固定安装有一曲杆;所述曲杆端部竖直设置有一插块;所述插块为一倒置的圆台结构。Further, both sides of the reducer are provided with output shafts; the output shaft located below is fixedly installed with a curved rod; the end of the curved rod is vertically provided with an insert block; the insert block is an inverted round table structure.
进一步地,所述密封容器为一环形密封容器。Further, the sealed container is an annular sealed container.
进一步地,所述瓶颈为L形结构;所述活塞下方配合有一弹簧A。Further, the bottle neck is an L-shaped structure; a spring A is fitted under the piston.
进一步地,所述调节组件包括转动连接于活塞周侧面的固定板;所述固定板上表面配合有弹簧B;所述弹簧B上表面配合有活动板;所述活动板上表面开设有一对倒圆台结构的贯通孔;所述固定板上表面固定安装有一对导向杆,并贯穿活动板。Further, the adjustment assembly includes a fixed plate rotatably connected to the peripheral side of the piston; a spring B is fitted on the upper surface of the fixed plate; a movable plate is fitted on the upper surface of the spring B; A through hole of the circular truncated structure; a pair of guide rods are fixedly installed on the upper surface of the fixed plate and penetrate through the movable plate.
进一步地,所述活塞上端固定安装有一限位块。Further, a limit block is fixedly installed on the upper end of the piston.
本发明具有以下有益效果:The present invention has the following beneficial effects:
1、本发明通过风力发电机组下端连接有减速机,便于对风力发电机组输出的转速进行减缓,使得太阳能电池板大致随着太阳可以缓慢转动,保证发电效率。1. In the present invention, the lower end of the wind turbine is connected with a reducer, which is convenient for slowing down the output speed of the wind turbine, so that the solar panel can rotate slowly with the sun to ensure the power generation efficiency.
2、本发明通过环形槽内设置有若干滚珠以及环形槽横截面为半圆形结构,便于调节光伏发电组件的朝向,减少光伏发电组件转动的摩擦力。2. In the present invention, several balls are arranged in the annular groove and the cross-section of the annular groove is a semi-circular structure, which is convenient to adjust the orientation of the photovoltaic power generation components and reduce the frictional force of the photovoltaic power generation components to rotate.
3、本发明通过电机连接有控制面板;电机输出端固定安装有一齿轮,晚上时通过电机带动转动架反向转动,使得太阳能电池板朝向东方,进行复位。3. The present invention is connected with a control panel through a motor; a gear is fixedly installed at the output end of the motor, and the motor drives the turret to reversely rotate at night, so that the solar panel faces east and resets.
4、本发明通过密封容器为一环形密封容器,便于四周都接受阳光照射,充分受热,保证膨胀气体能够进行受热膨胀,从而便于调节光伏发电组件的朝向。4. In the present invention, the sealed container is a ring-shaped sealed container, which is convenient for the surrounding to receive sunlight and be fully heated, so as to ensure that the expanding gas can be heated and expand, so as to facilitate the adjustment of the orientation of the photovoltaic power generation components.
5、本发明通过活塞下方配合有一弹簧A,防止温度降低,活塞向下运动时不会损坏瓶颈,起到缓冲作用。5. In the present invention, a spring A is fitted under the piston to prevent the temperature from being lowered, and the bottle neck will not be damaged when the piston moves downward, and it plays a buffering role.
6、本发明通过固定板上表面配合有弹簧B,密封容器内的膨胀气体受热膨胀带动活塞向上运动,插杆、插块均与贯通孔卡紧配合,当膨胀气体受热膨胀带动活塞继续向上运动时,由于弹簧B的作用使得活动板不会继续向上顶插杆与插块,同时弹簧B也使得插杆、插块不会与贯通孔配合过紧,导致不容易相互脱离,具有达到利用风能和温差变化来调节光伏发电组件的朝向,保证光伏组件能较好的随着太阳移动调节朝向,减少光伏发电组件转动的摩擦力,减少电能的使用,更加的节能环保的效果。6. In the present invention, a spring B is fitted on the surface of the fixed plate, and the expansion gas in the sealed container is heated and expanded to drive the piston to move upward, and the insertion rod and the insertion block are clamped with the through hole. When the expansion gas is heated and expanded, the piston continues to move upward. At the same time, due to the action of the spring B, the movable plate will not continue to push the rod and the block upward, and the spring B also prevents the rod and block from being too tight with the through hole, resulting in not easy to separate from each other, and has the ability to utilize wind energy. It can adjust the orientation of photovoltaic power generation components according to the change of temperature difference, so as to ensure that the photovoltaic modules can better adjust the orientation with the movement of the sun, reduce the frictional force of the rotation of photovoltaic power generation components, reduce the use of electric energy, and have more energy-saving and environmental protection effects.
当然,实施本发明的任一产品并不一定需要同时达到以上所述的所有优点。Of course, it is not necessary for any product embodying the present invention to achieve all of the above-described advantages simultaneously.
附图说明Description of drawings
为了更清楚地说明本发明实施例的技术方案,下面将对实施例描述所需要使用的附图作简单地介绍,显而易见地,下面描述中的附图仅仅是本发明的一些实施例,对于本领域普通技术人员来讲,在不付出创造性劳动的前提下,还可以根据这些附图获得其他的附图。In order to illustrate the technical solutions of the embodiments of the present invention more clearly, the following briefly introduces the accompanying drawings used in the description of the embodiments. Obviously, the drawings in the following description are only some embodiments of the present invention. For those of ordinary skill in the art, other drawings can also be obtained from these drawings without any creative effort.
图1为本发明的一种基于风光互补的发电装置的结构示意图;FIG. 1 is a schematic structural diagram of a wind-solar hybrid power generation device according to the present invention;
附图中,各标号所代表的部件列表如下:In the accompanying drawings, the list of components represented by each number is as follows:
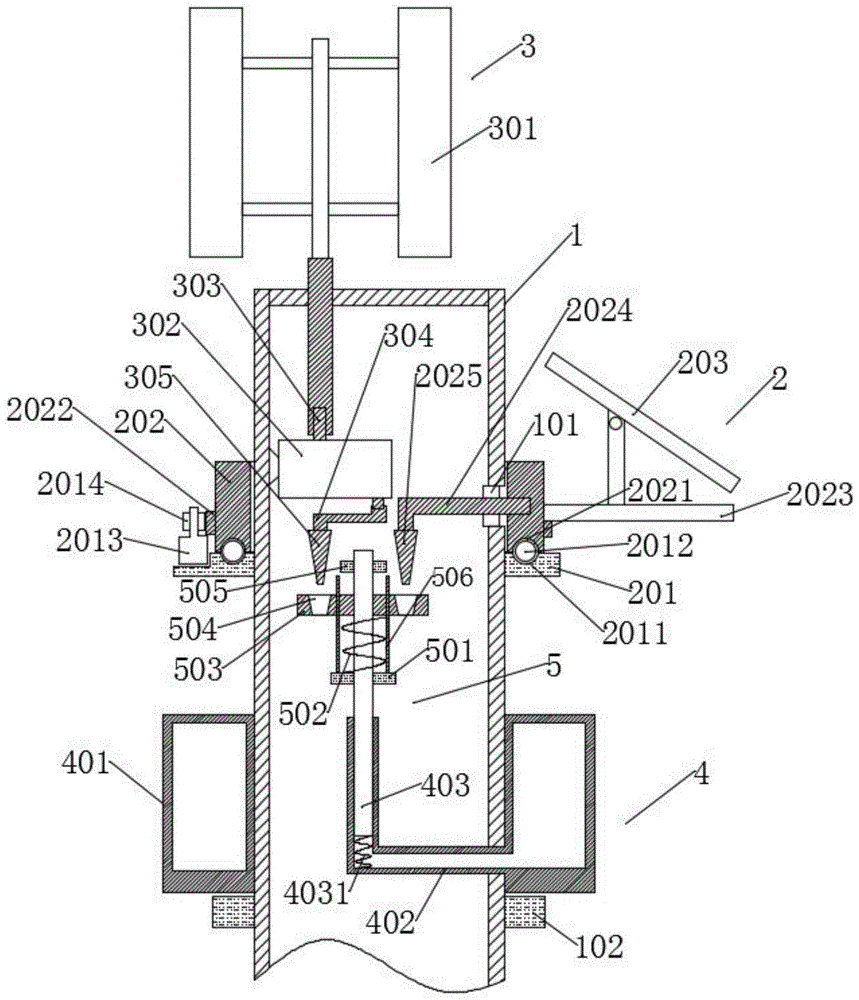
1-固定支架,2-光伏发电组件,3-风力发电组件,4-动力组件,5-调节组件,101-环形槽,102-安装板,201-底座,202-转动架,203-太阳能电池板,301-风力发电机组,302-减速机,303-输出轴,304-曲杆,305-插块,401-密封容器,402-瓶颈,403-活塞,501-固定板,502-弹簧B,503-活动板,504-贯通孔,505-限位块,506-导向杆,2011-环形槽,2012-滚珠,2013-电机,2014-齿轮,2021-环形凹槽,2022-轮齿,2023-支撑板,2024-连接杆,2025-插杆,4031-弹簧A。1-Fixed bracket, 2-Photovoltaic power generation module, 3-Wind power generation module, 4-Power module, 5-Adjustment module, 101-Annular groove, 102-Mounting plate, 201-Base, 202-Turn frame, 203-Solar cell Plate, 301- Wind Turbine, 302- Reducer, 303- Output Shaft, 304- Crank Rod, 305- Insert, 401- Sealed Container, 402- Bottleneck, 403- Piston, 501- Fixed Plate, 502- Spring B , 503-movable plate, 504-through hole, 505-limit block, 506-guide rod, 2011-annular groove, 2012-ball, 2013-motor, 2014-gear, 2021-annular groove, 2022-gear, 2023-support plate, 2024-connecting rod, 2025-insertion rod, 4031-spring A.
具体实施方式Detailed ways
下面将结合本发明实施例中的附图,对本发明实施例中的技术方案进行清楚、完整地描述,显然,所描述的实施例仅仅是本发明一部分实施例,而不是全部的实施例。基于本发明中的实施例,本领域普通技术人员在没有作出创造性劳动前提下所获得的所有其它实施例,都属于本发明保护的范围。The technical solutions in the embodiments of the present invention will be clearly and completely described below with reference to the accompanying drawings in the embodiments of the present invention. Obviously, the described embodiments are only a part of the embodiments of the present invention, but not all of the embodiments. Based on the embodiments of the present invention, all other embodiments obtained by those of ordinary skill in the art without creative efforts shall fall within the protection scope of the present invention.
请参阅图1所示,本发明为一种基于风光互补的发电装置,包括固定支架1、光伏发电组件2、风力发电组件3、动力组件4以及用于调节光伏发电组件2朝向的调节组件5;Referring to FIG. 1 , the present invention is a wind-solar hybrid power generation device, comprising a fixed bracket 1 , a photovoltaic power generation assembly 2 , a wind power generation assembly 3 , a power assembly 4 , and an adjustment assembly 5 for adjusting the orientation of the photovoltaic power generation assembly 2 ;
固定支架1上端周侧面开设有环形槽101,便于限制光伏发电组件2转动的角度;固定支架1下端固定安装有一安装板102;光伏发电组件2包括底座201;底座201上转动连接有转动架202;转动架202上固定安装有太阳能电池板203;风力发电组件3包括风力发电机组301,便于进行风力发电;风力发电机组301下端连接有减速机302,便于对风力发电机组301输出的转速进行减缓;动力组件4包括一密封容器401;密封容器401内部向固定支架1内延伸并形成有一瓶颈402;瓶颈402内配合有一活塞403;密封容器401内填充有膨胀气体,便于根据阳光照射和温度进行调节。An
优选的,如图1所示,底座201上表面开设有环形槽2011;环形槽2011内设置有若干滚珠2012;环形槽2011横截面为半圆形结构,便于调节光伏发电组件2的朝向,减少光伏发电组件2转动的摩擦力。Preferably, as shown in FIG. 1 , an
优选的,如图1所示,底座201上表面固定有一电机2013;电机2013连接有控制面板;电机2013输出端固定安装有一齿轮2014,晚上时通过电机2013带动转动架202反向转动,使得太阳能电池板203朝向东方,进行复位。Preferably, as shown in FIG. 1, a
优选的,如图1所示,转动架202为一环形板结构;转动架202下表面开设有环形凹槽2021;转动架202沿其周侧面设置有轮齿2022;转动架202周侧面固定安装有一支撑板2023;轮齿2022与齿轮2014相啮合;支撑板2023上表面通过一太阳能电池板安装架固定安装有一倾斜的太阳能电池板203。Preferably, as shown in FIG. 1, the
优选的,如图1所示,转动架202内表面固定连接有一连接杆2024;连接杆2024下方固定安装有一插杆2025;插杆2025为一倒置的圆台结构。Preferably, as shown in FIG. 1 , a connecting
优选的,如图1所示,减速机302两侧均设置有输出轴303;位于下方的输出轴303固定安装有一曲杆304;曲杆304端部竖直设置有一插块305;插块305为一倒置的圆台结构,便于与贯通孔504卡紧配合。Preferably, as shown in FIG. 1 ,
优选的,如图1所示,密封容器401为一环形密封容器,便于四周都接受阳光照射,照射充分,保证膨胀气体能够进行受热膨胀。Preferably, as shown in FIG. 1 , the sealed
优选的,如图1所示,瓶颈402为L形结构;活塞403下方配合有一弹簧A4031,防止温度降低,活塞403向下运动时不会损坏瓶颈402,起到缓冲作用。Preferably, as shown in FIG. 1 , the
优选的,如图1所示,调节组件5包括转动连接于活塞403周侧面的固定板501;固定板501上表面配合有弹簧B502,密封容器401内的膨胀气体受热膨胀带动活塞403向上运动,插杆2025、插块305均与贯通孔504卡紧配合,当膨胀气体受热膨胀带动活塞403继续向上运动时,由于弹簧B502的作用使得活动板503不会继续向上顶插杆2025与插块305,同时弹簧B502也使得插杆2025、插块305不会与贯通孔504配合过紧,导致不容易相互脱离;弹簧B502上表面配合有活动板503;活动板503上表面开设有一对倒圆台结构的贯通孔504,便于与插杆2025、插块305配合;固定板501上表面固定安装有一对导向杆506,并贯穿活动板503,便于对活动板503的运动进行导向,使得插杆2025、插块305与贯通孔504能够准确配合与连接。Preferably, as shown in FIG. 1 , the adjustment assembly 5 includes a
优选的,如图1所示,活塞403上端固定安装有一限位块505,用于限制活动板503的位置,防止其脱出。Preferably, as shown in FIG. 1 , a
工作原理:早上的时候,风力发电组件3在进行风力发电,太阳能电池板203大概朝向东方,随着温度升高,密封容器401内的膨胀气体受热膨胀,带动活塞403向上运动,从而带动活动板503向上运动;当密封容器401内的膨胀气体膨胀到一定程度时,插杆2025、插块305与贯通孔504配合,风力发电组件3通过减速机302带动活动板503转动,从而带动转动架202以及太阳能电池板203一起转动,从而达到调节朝向的作用;由于减速机302的作用使得太阳能电池板203随着太阳可以缓慢转动,保证发电效率;当到晚上时,活塞403向下运动,插杆2025、插块305与贯通孔504相脱离,此时风力发电组件3无法带动太阳能电池板203转动,通过电机2013带动转动架202反向转动,使得太阳能电池板203朝向东方,周而复始。Working principle: In the morning, the wind power generation module 3 is generating wind power, and the
在本说明书的描述中,参考术语“一个实施例”、“示例”、“具体示例”等的描述意指结合该实施例或示例描述的具体特征、结构、材料或者特点包含于本发明的至少一个实施例或示例中。在本说明书中,对上述术语的示意性表述不一定指的是相同的实施例或示例。而且,描述的具体特征、结构、材料或者特点可以在任何的一个或多个实施例或示例中以合适的方式结合。In the description of this specification, description with reference to the terms "one embodiment," "example," "specific example," etc. means that a particular feature, structure, material, or characteristic described in connection with the embodiment or example is included in at least one aspect of the present invention. in one embodiment or example. In this specification, schematic representations of the above terms do not necessarily refer to the same embodiment or example. Furthermore, the particular features, structures, materials or characteristics described may be combined in any suitable manner in any one or more embodiments or examples.
以上公开的本发明优选实施例只是用于帮助阐述本发明。优选实施例并没有详尽叙述所有的细节,也不限制该发明仅为所述的具体实施方式。显然,根据本说明书的内容,可作很多的修改和变化。本说明书选取并具体描述这些实施例,是为了更好地解释本发明的原理和实际应用,从而使所属风光互补发电技术领域技术人员能很好地理解和利用本发明。本发明仅受权利要求书及其全部范围和等效物的限制。The above-disclosed preferred embodiments of the present invention are provided only to help illustrate the present invention. The preferred embodiments do not exhaust all the details, nor do they limit the invention to only the described embodiments. Obviously, many modifications and variations are possible in light of the contents of this specification. This specification selects and describes these embodiments in order to better explain the principle and practical application of the present invention, so that those skilled in the field of wind-solar hybrid power generation can well understand and utilize the present invention. The present invention is to be limited only by the claims and their full scope and equivalents.
Claims (10)
Priority Applications (1)
| Application Number | Priority Date | Filing Date | Title |
|---|---|---|---|
| CN202010524447.4A CN111664054B (en) | 2020-06-10 | 2020-06-10 | Power generation device based on wind-solar hybrid |
Applications Claiming Priority (1)
| Application Number | Priority Date | Filing Date | Title |
|---|---|---|---|
| CN202010524447.4A CN111664054B (en) | 2020-06-10 | 2020-06-10 | Power generation device based on wind-solar hybrid |
Publications (2)
| Publication Number | Publication Date |
|---|---|
| CN111664054A true CN111664054A (en) | 2020-09-15 |
| CN111664054B CN111664054B (en) | 2021-11-05 |
Family
ID=72386769
Family Applications (1)
| Application Number | Title | Priority Date | Filing Date |
|---|---|---|---|
| CN202010524447.4A Active CN111664054B (en) | 2020-06-10 | 2020-06-10 | Power generation device based on wind-solar hybrid |
Country Status (1)
| Country | Link |
|---|---|
| CN (1) | CN111664054B (en) |
Cited By (4)
| Publication number | Priority date | Publication date | Assignee | Title |
|---|---|---|---|---|
| CN112066327A (en) * | 2020-09-22 | 2020-12-11 | 合肥安能智控技术有限公司 | Wind-solar complementary solar street lamp with adjustable angle |
| CN112212275A (en) * | 2020-10-15 | 2021-01-12 | 合肥凌山新能源科技有限公司 | Solar street lamp with adjustable angle |
| CN116015181A (en) * | 2023-02-24 | 2023-04-25 | 徐州日托光伏科技有限公司 | Adjustable photovoltaic power generation device based on wind generating set |
| CN120083655A (en) * | 2025-03-04 | 2025-06-03 | 斯科瑞新材料科技(山东)股份有限公司 | A coaxial wind and steam complementary power generation device |
Citations (5)
| Publication number | Priority date | Publication date | Assignee | Title |
|---|---|---|---|---|
| CN102072096A (en) * | 2010-12-30 | 2011-05-25 | 广东奥其斯科技有限公司 | Wind-solar hybrid power generation device |
| CN201937506U (en) * | 2011-01-12 | 2011-08-17 | 广东奥其斯科技有限公司 | Wind-solar hybrid power generation device with adjustable solar panel angle |
| DE202011107155U1 (en) * | 2011-10-25 | 2013-02-08 | Manfred Herrmann | Device for energy conversion |
| KR20150018658A (en) * | 2013-08-08 | 2015-02-23 | 백광플라텍 주식회사 | Hybrid Generation Systems using Solar and Wind Energy |
| CN207751190U (en) * | 2017-10-27 | 2018-08-21 | 浙江谷高光伏科技有限公司 | A kind of solar bracket of self-adjustable inclination |
-
2020
- 2020-06-10 CN CN202010524447.4A patent/CN111664054B/en active Active
Patent Citations (5)
| Publication number | Priority date | Publication date | Assignee | Title |
|---|---|---|---|---|
| CN102072096A (en) * | 2010-12-30 | 2011-05-25 | 广东奥其斯科技有限公司 | Wind-solar hybrid power generation device |
| CN201937506U (en) * | 2011-01-12 | 2011-08-17 | 广东奥其斯科技有限公司 | Wind-solar hybrid power generation device with adjustable solar panel angle |
| DE202011107155U1 (en) * | 2011-10-25 | 2013-02-08 | Manfred Herrmann | Device for energy conversion |
| KR20150018658A (en) * | 2013-08-08 | 2015-02-23 | 백광플라텍 주식회사 | Hybrid Generation Systems using Solar and Wind Energy |
| CN207751190U (en) * | 2017-10-27 | 2018-08-21 | 浙江谷高光伏科技有限公司 | A kind of solar bracket of self-adjustable inclination |
Cited By (5)
| Publication number | Priority date | Publication date | Assignee | Title |
|---|---|---|---|---|
| CN112066327A (en) * | 2020-09-22 | 2020-12-11 | 合肥安能智控技术有限公司 | Wind-solar complementary solar street lamp with adjustable angle |
| CN112212275A (en) * | 2020-10-15 | 2021-01-12 | 合肥凌山新能源科技有限公司 | Solar street lamp with adjustable angle |
| CN116015181A (en) * | 2023-02-24 | 2023-04-25 | 徐州日托光伏科技有限公司 | Adjustable photovoltaic power generation device based on wind generating set |
| CN116015181B (en) * | 2023-02-24 | 2023-10-20 | 徐州日托光伏科技有限公司 | Adjustable photovoltaic power generation device based on wind generating set |
| CN120083655A (en) * | 2025-03-04 | 2025-06-03 | 斯科瑞新材料科技(山东)股份有限公司 | A coaxial wind and steam complementary power generation device |
Also Published As
| Publication number | Publication date |
|---|---|
| CN111664054B (en) | 2021-11-05 |
Similar Documents
| Publication | Publication Date | Title |
|---|---|---|
| CN111664054A (en) | Power generation device based on wind-solar hybrid | |
| CN102255566B (en) | Wind-light complementary generating device | |
| CN102035434B (en) | Automatic tracking solar power generating device | |
| CN107171619B (en) | Multifunctional power generation system | |
| CN205102445U (en) | Biax tracker and solar thermal power generation system | |
| CN209608579U (en) | A kind of generation of electricity by new energy device | |
| CN205622587U (en) | Domestic formula solar panel control system | |
| CN201869124U (en) | Single-shaft tracking single-driving double-array device | |
| CN213987276U (en) | Solar photovoltaic power generation board adjusting device | |
| CN201570997U (en) | Photovoltaic automatic reversing chassis | |
| CN201523342U (en) | Automatic track solar energy generation device | |
| CN212115247U (en) | Photovoltaic device capable of continuously generating electricity in adjustable direction | |
| CN209805733U (en) | photovoltaic power generation solar panel adjusts seat | |
| CN206360846U (en) | Wind energy and solar energy co-generation system | |
| EP4303432B1 (en) | Hybrid solar wind power generation device | |
| CN220331131U (en) | Wind driven generator base plane processing support tool | |
| CN106936372A (en) | A wind-solar complementary integrated power generation structure | |
| CN218734087U (en) | Solar photovoltaic support of angularly adjustable | |
| CN201623663U (en) | Photovoltaic automatic reversing chassis capable of pitching | |
| CN207603533U (en) | A kind of device for photovoltaic generation | |
| CN211082138U (en) | Special direction adjusting mechanism for wind driven generator | |
| CN210157124U (en) | Solar generator | |
| CN204327392U (en) | A kind of vertical-axis tide energy electricity generating device | |
| CN204947989U (en) | A kind of solar energy cell plate mounting bracket | |
| CN201583846U (en) | Inclined single-shaft solar energy tracking mechanism |
Legal Events
| Date | Code | Title | Description |
|---|---|---|---|
| PB01 | Publication | ||
| PB01 | Publication | ||
| SE01 | Entry into force of request for substantive examination | ||
| SE01 | Entry into force of request for substantive examination | ||
| TA01 | Transfer of patent application right | ||
| TA01 | Transfer of patent application right |
Effective date of registration: 20211012 Address after: 230000 No.202, innovation building, science and Technology Park, Anhui University, No.2 Tianda Road, hi tech Zone, Hefei City, Anhui Province Applicant after: Anhui Saian Safety Technology Co.,Ltd. Address before: 236516 no.215, Jiangwan natural village, Jiangwan administrative village, Tianying Town, Jieshou City, Fuyang City, Anhui Province Applicant before: Jieshou Gufeng Photovoltaic Technology Co.,Ltd. |
|
| GR01 | Patent grant | ||
| GR01 | Patent grant | ||
| TR01 | Transfer of patent right | ||
| TR01 | Transfer of patent right |
Effective date of registration: 20241203 Address after: Room C1837, Building 24, No. 2 Xincheng Road, Lingang New Area, China (Shanghai) Pilot Free Trade Zone, Pudong New Area, Shanghai, 201317 Patentee after: SHANGHAI LINGANG HONGBO NEW ENERGY DEVELOPMENT CO.,LTD. Country or region after: China Address before: 230000 No.202, innovation building, science and Technology Park, Anhui University, No.2 Tianda Road, hi tech Zone, Hefei City, Anhui Province Patentee before: Anhui Saian Safety Technology Co.,Ltd. Country or region before: China |
