CN111622371A - 自复位剪切型铅阻尼器及其工作方法 - Google Patents

自复位剪切型铅阻尼器及其工作方法 Download PDF

Info

Publication number
CN111622371A
CN111622371A CN202010574880.9A CN202010574880A CN111622371A CN 111622371 A CN111622371 A CN 111622371A CN 202010574880 A CN202010574880 A CN 202010574880A CN 111622371 A CN111622371 A CN 111622371A
Authority
CN
China
Prior art keywords
guide
plate
self
guide plate
lead damper
Prior art date
Legal status (The legal status is an assumption and is not a legal conclusion. Google has not performed a legal analysis and makes no representation as to the accuracy of the status listed.)
Pending
Application number
CN202010574880.9A
Other languages
English (en)
Inventor
颜学渊
杨永泰
郑晓悦
张裕东
王思杭
林誉清
蓝丽娟
Current Assignee (The listed assignees may be inaccurate. Google has not performed a legal analysis and makes no representation or warranty as to the accuracy of the list.)
Fujian Zhuochang Construction Co ltd
Fuzhou Zhonglin Engineering Construction Co ltd
Cccc Lujian Co ltd
Fuzhou University
Original Assignee
Fujian Zhuochang Construction Co ltd
Fuzhou Zhonglin Engineering Construction Co ltd
Cccc Lujian Co ltd
Fuzhou University
Priority date (The priority date is an assumption and is not a legal conclusion. Google has not performed a legal analysis and makes no representation as to the accuracy of the date listed.)
Filing date
Publication date
Application filed by Fujian Zhuochang Construction Co ltd, Fuzhou Zhonglin Engineering Construction Co ltd, Cccc Lujian Co ltd, Fuzhou University filed Critical Fujian Zhuochang Construction Co ltd
Priority to CN202010574880.9A priority Critical patent/CN111622371A/zh
Publication of CN111622371A publication Critical patent/CN111622371A/zh
Pending legal-status Critical Current

Links

Images

Classifications

    • EFIXED CONSTRUCTIONS
    • E04BUILDING
    • E04BGENERAL BUILDING CONSTRUCTIONS; WALLS, e.g. PARTITIONS; ROOFS; FLOORS; CEILINGS; INSULATION OR OTHER PROTECTION OF BUILDINGS
    • E04B1/00Constructions in general; Structures which are not restricted either to walls, e.g. partitions, or floors or ceilings or roofs
    • E04B1/62Insulation or other protection; Elements or use of specified material therefor
    • E04B1/92Protection against other undesired influences or dangers
    • E04B1/98Protection against other undesired influences or dangers against vibrations or shocks; against mechanical destruction, e.g. by air-raids
    • EFIXED CONSTRUCTIONS
    • E04BUILDING
    • E04HBUILDINGS OR LIKE STRUCTURES FOR PARTICULAR PURPOSES; SWIMMING OR SPLASH BATHS OR POOLS; MASTS; FENCING; TENTS OR CANOPIES, IN GENERAL
    • E04H9/00Buildings, groups of buildings or shelters adapted to withstand or provide protection against abnormal external influences, e.g. war-like action, earthquake or extreme climate
    • E04H9/02Buildings, groups of buildings or shelters adapted to withstand or provide protection against abnormal external influences, e.g. war-like action, earthquake or extreme climate withstanding earthquake or sinking of ground
    • E04H9/021Bearing, supporting or connecting constructions specially adapted for such buildings

Landscapes

  • Engineering & Computer Science (AREA)
  • Architecture (AREA)
  • Environmental & Geological Engineering (AREA)
  • Civil Engineering (AREA)
  • Structural Engineering (AREA)
  • Business, Economics & Management (AREA)
  • Emergency Management (AREA)
  • Physics & Mathematics (AREA)
  • Electromagnetism (AREA)
  • Buildings Adapted To Withstand Abnormal External Influences (AREA)
  • Vibration Prevention Devices (AREA)
  • Vibration Dampers (AREA)

Abstract

本发明涉及一种自复位剪切型铅阻尼器及其工作方法,其中该阻尼器包括竖直方向上相对设置的底板和顶板,所述底板上表面竖直设有至少两块相对间隔设置的第一导向板,所述顶板的下表面竖直设有与第一导向板相互贴近的第二导向板,第一、第二导向板竖向错位设置,在第一导向板上设有至少一个第一槽孔,在第二导向板上设有第二槽孔,第一槽孔与第二槽孔内嵌设有金属块,所述底板的上表面位于两块第一导向板之间设有导向杆和套设在导向杆上的碟形弹簧,所述顶板的下表面位于两块第二导向板之间设有套设在导向杆外围的导向套,所述导向套下端的翼缘紧贴在碟形弹簧的上表面。本发明在具有良好的耗能性能的同时不会发生疲劳破坏,从而提高阻尼器的寿命。

Description

自复位剪切型铅阻尼器及其工作方法
技术领域:
本发明涉及一种自复位剪切型铅阻尼器及其工作方法。
背景技术:
现有的常规阻尼器在地震中的耗能效果差,易损坏,维修替换费用较昂贵,且维修后抗震性能降低。
如2018年05月08日中国国家知识产权局授权公告了“阻尼弹簧复合减震器”的实用新型专利(公告号为:CN 207333543 U),该专利方案公开的阻尼弹簧复合减震器,包括底板,所述底板的上端面设置有第一套筒,所述第一套筒上垂直设置有导向杆,所述导向杆的外壁套设有弹簧,所述弹簧一端与第一套筒连接,另一端与套设在导向杆上的第二套筒连接,所述底板的上端面在第一套筒的两侧对称设置有两块第一导向板,所述第一导向板的内侧滑动设置有第二导向板,所述第二导向板的顶端与顶板连接,所述顶板的下端面设置有套筒,所述套筒与第二套筒的顶部连接,所述顶板和套筒均套设在导向杆上,所述顶板、底板、第一导向板和第二导向板采用橡胶制成,具有一定的减震效果,该技术方案的缺陷在于橡胶材料抗环境污染及抗温度变化能力弱,寿命短,且所述弹簧为圆柱体螺旋式弹簧,减震效果较差,后续维修较为复杂。
如2017年06月20日中国国家知识产权局公开了 “一种两阶段耗能阻尼板可更换的弧形钢板”发明专利申请(公告号为:CN 106869357 A),该专利申请的所公开的技术方案是一种两阶段耗能阻尼板可更换的弧形钢板,包括复合弹性体和分别设置在复合弹性体两端的柱端上部连接、柱端下部连接、梁端连接。所述复合弹性体为弧形装置,所述柱端上部连接、柱端下部连接与梁端连接均为矩形钢板,且所述梁端连接钢板四周设有梁端固定螺栓安装口,所述柱端上部连接与所述柱端下部连接钢板四周设有柱端固定螺栓安装口。该发明耗能形式多样化,第一阶段,依靠搓断剪切耗能碟片进行耗能,第二阶段,当剪切耗能碟片发生破坏后,还可依靠拉伸或压缩形状记忆合金丝圈进行耗能,防止阻尼器失去耗能效果;该技术方案的缺陷在于形状记忆合金丝圈耗能能力有限,且形状记忆合金价格高昂,不利于在实际应用中进行推广。
又如2015年09月30日国家知识产权局公开了一种“自复位铅挤压阻尼器”发明专利申请(公告号为:CN 204676725 U),该专利申请的所公开的技术方案是一种自复位铅挤压阻尼器,是由四组结构相同的阻尼单元通过连接销轴依次铰接构成,阻尼单元有通过销轴依次连接设置的上层板、中间层板和底层板,上层板、中间层板和底层板的主体为圆形结构,且在圆形结构的侧边一体形成有连接把手,上层板和底层板结构相同均是在圆形结构部分开有中心通孔的圆盘状结构,中间层板的圆形结构部分为圆环状结构,在中间层板的圆环状结构的环内壁上有向圆心凸出的限位凸块,该技术方案的缺陷在于一旦中间层板上突出的限位凸块与星形拔件结构向外突出的拔片边缘在大荷载作用下发生剪切破坏,铅挤压耗能减震则无法实现,且该构件的构造复杂,一旦损坏则不易更换。
发明内容:
鉴于现有技术的不足,本发明的目的在于提供一种自复位剪切型铅阻尼器及其工作方法,该自复位剪切型铅阻尼器结构简单、设计合理,其在具有良好的耗能性能的同时不会发生疲劳破坏,从而提高阻尼器的寿命。
本发明自复位剪切型铅阻尼器,其特征在于:包括竖直方向上相对设置的底板和顶板,所述底板上表面竖直设有至少两块相对间隔设置的第一导向板,所述顶板的下表面竖直设有与第一导向板相互贴近的第二导向板,第一导向板与第二导向板在竖直方向上错位设置,在第一导向板上设有至少一个第一槽孔,在第二导向板上与第一槽孔相对应的位置设有第二槽孔,第一槽孔与第二槽孔内嵌设有金属块,所述底板的上表面位于两块第一导向板之间设有导向杆和套设在导向杆上的碟形弹簧,所述顶板的下表面位于两块第二导向板之间设有套设在导向杆外围的导向套,所述导向套下端的翼缘紧贴在碟形弹簧的上表面。
进一步的,上述第一槽孔为矩形通孔,在第一槽孔外表面设有盖住金属块的盖板,所述第二槽孔为矩形沉孔。
进一步的,上述金属块为矩形铅块。
进一步的,上述第一导向板、第二导向板为平板或弧形板。
进一步的,每块第一导向板与第二导向板上阵列设有四个金属块。
进一步的,上述自复位剪切型铅阻尼器安装于多发地震带中结构物框架、框架-剪力墙以及连梁跨中等位置。
进一步的,上述自复位剪切型铅阻尼器的底板和顶板与支撑相连布置于结构中,采用斜向型和人字型安装方式。
本发明自复位剪切型铅阻尼器的工作方法,其特征在于:所述自复位剪切型铅阻尼器包括竖直方向上相对设置的底板和顶板,所述底板上表面竖直设有至少两块相对间隔设置的第一导向板,所述顶板的下表面竖直设有与第一导向板相互贴近的第二导向板,第一导向板与第二导向板在竖直方向上错位设置,在第一导向板上设有至少一个第一槽孔,在第二导向板上与第一槽孔相对应的位置设有第二槽孔,第一槽孔与第二槽孔内嵌设有金属块,所述底板的上表面位于两块第一导向板之间设有导向杆和套设在导向杆上的碟形弹簧,所述顶板的下表面位于两块第二导向板之间设有套设在导向杆外围的导向套,所述导向套下端的翼缘紧贴在碟形弹簧的上表面;组装前,两块第一导向板预先焊接固定在底板上表面,在底板上表面中心部上焊接固定导向杆,并在导向杆上套设碟形弹簧,两块第二导向板预先焊接固定在顶板下表面,在顶板下表面中心部焊接导向套,组装时,将第二导向板与第一导向板侧面相对贴近并沿竖直方向移动以使第二槽孔与第一槽孔正对,从第一槽孔外侧塞入金属块至第二槽孔槽底,并在第一槽孔外侧使用盖板盖住金属块,安装形成自复位剪切型铅阻尼器。
进一步的,将组装形成的自复位剪切型铅阻尼器安装于多发地震带中结构物框架、框架-剪力墙以及连梁跨中等位置。
进一步的,将自复位剪切型铅阻尼器的底板和顶板采用斜向型和人字型安装方式与支撑相连布置于结构中。
本发明采用第一导向板与第二导向板上下错动引起铅块剪切变形的形式,实现耗能的目的,当结构层间发生相对位移时碟形弹簧受到挤压,其所产生的反力为阻尼器提供了回复力,从而使得阻尼器具有自复位的特点。
附图说明:
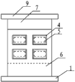
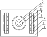
图1是本发明自复位剪切型铅阻尼器的剖面图;
图2是图1的侧视图;
图3是图1的俯视图。
图中:1-底板;2-导向杆;3-碟形弹簧;4-盖板;5-金属块;6-第一导向板;601-第一槽孔;7-第二导向板;701-第二槽孔;8-导向套;9-顶板。
具体实施方式:
下面结合实施例对本发明方法作进一步的详细说明。需要特别说明的是,本发明的保护范围应当包括但不限于本实施例所公开的技术内容。
本发明自复位剪切型铅阻尼器包括竖直方向上相对设置的底板1和顶板9,所述底板1上表面竖直设有至少两块相对间隔设置的第一导向板6,所述顶板9的下表面竖直设有与第一导向板相互贴近的第二导向板7,第一导向板与第二导向板在竖直方向上错位设置,在第一导向板6上设有至少一个第一槽孔601,在第二导向板7上与第一槽孔相对应的位置设有第二槽孔701,第一槽孔与第二槽孔内嵌设有金属块5,所述底板1的上表面位于两块第一导向板之间设有导向杆2和套设在导向杆2上的碟形弹簧3,碟形弹簧由单片或多片碟形弹簧通过叠合或对合形成,所述顶板9的下表面位于两块第二导向板之间设有套设在导向杆外围的导向套8,所述导向套8下端的翼缘紧贴在碟形弹簧3的上表面。
其中一种实施例是,为了加工方便,上述第一槽孔601为矩形通孔,在第一槽孔外表面设有盖住金属块的盖板4,所述第二槽孔701为矩形沉孔,为了方便与矩形沉孔与矩形通孔的配合使用,上述金属块为矩形铅块。
其中一种实施例是,上述第一导向板6、第二导向板7可以是平板,或是弧形板等,第一导向板与第二导向板是平板时,或是弧形板时,相互之间都是面与面的贴合。
为了设计合理,每块第一导向板与第二导向板上阵列设有四个金属块5,该矩形第一槽孔、第二槽孔和金属块的长度或宽度尺寸可以是2-30厘米。
上述自复位剪切型铅阻尼器安装于多发地震带中结构物框架、框架-剪力墙以及连梁跨中等位置;上述自复位剪切型铅阻尼器的底板和顶板与支撑相连布置于结构中,采用斜向型和人字型安装方式。
本发明自复位剪切型铅阻尼器的工作方法,所述自复位剪切型铅阻尼器包括竖直方向上相对设置的底板和顶板,所述底板上表面竖直设有至少两块相对间隔设置的第一导向板,所述顶板的下表面竖直设有与第一导向板相互贴近的第二导向板,第一导向板与第二导向板在竖直方向上错位设置,在第一导向板上设有至少一个第一槽孔,在第二导向板上与第一槽孔相对应的位置设有第二槽孔,第一槽孔与第二槽孔内嵌设有金属块,所述底板的上表面位于两块第一导向板之间设有导向杆和套设在导向杆上的碟形弹簧,所述顶板的下表面位于两块第二导向板之间设有套设在导向杆外围的导向套,所述导向套下端的翼缘紧贴在碟形弹簧的上表面;组装前,两块第一导向板预先焊接固定在底板上表面,在底板上表面中心部焊接固定导向杆,并在导向杆上套设碟形弹簧,两块第二导向板预先焊接固定在顶板下表面,在顶板下表面中心部焊接导向套,组装时,将第二导向板与第一导向板侧面相对贴近并沿竖直方向移动以使第二槽孔与第一槽孔正对,从第一槽孔外侧塞入金属块至第二槽孔槽底,并在第一槽孔外侧使用盖板盖住金属块,安装形成自复位剪切型铅阻尼器。
可以将组装形成的自复位剪切型铅阻尼器安装于多发地震带中结构物框架、框架-剪力墙以及连梁跨中等位置;并且可将自复位剪切型铅阻尼器的底板和顶板采用斜向型和人字型安装方式与支撑相连布置于结构中。
其中斜向型安装:阻尼器串联在对角支撑上,阻尼器两端的相对位移大于结构的层间侧移,构造简单、易于装配,但所占空间较大,不利于人员通行和门窗布置,节点负担较重。
其中人字型安装:阻尼器串联在人字形支撑顶端的水平杆上,或直接将阻尼器连接在人字形支撑与框架梁之间,阻尼器两端的相对位移等于结构的层间侧移,该安装形式中阻尼器可以充分利用其消能能力,方便跨中开门洞,支撑设计时要充分考虑侧向稳定。
本发明利用铅是一种室温下做塑性循环不会发生积累疲劳的金属这一性质,使得该装置在具有良好的耗能性能的同时不会发生疲劳破坏,从而提高阻尼器的寿命;通过第一导向板与第二导向板上下错动,引起铅块剪切变形实现耗能,装置构造简单,更换方便,同时设置碟形弹簧提供回复力(多片碟形弹簧形成的碟簧组也具有耗能能力),消除残余变形且具有一定的缓冲吸震效果,从而实现自复位功能;此外本申请所用材料为钢材和铅,材料价格低廉,铅块拆卸更换简便,维修费用低,不易造成材料的浪费,可以很好的符合“环保可持续”的建筑原则。
以上所述仅为本发明的较佳实施例,凡依本发明申请专利范围所做的均等变化与修饰,皆应属本发明的涵盖范围。

Claims (10)

1.一种自复位剪切型铅阻尼器,其特征在于:包括竖直方向上相对设置的底板和顶板,所述底板上表面竖直设有至少两块相对间隔设置的第一导向板,所述顶板的下表面竖直设有与第一导向板相互贴近的第二导向板,第一导向板与第二导向板在竖直方向上错位设置,在第一导向板上设有至少一个第一槽孔,在第二导向板上与第一槽孔相对应的位置设有第二槽孔,第一槽孔与第二槽孔内嵌设有金属块,所述底板的上表面位于两块第一导向板之间设有导向杆和套设在导向杆上的碟形弹簧,所述顶板的下表面位于两块第二导向板之间设有套设在导向杆外围的导向套,所述导向套下端的翼缘紧贴在碟形弹簧的上表面。
2.根据权利要求1所述的自复位剪切型铅阻尼器,其特征在于:所述第一槽孔为矩形通孔,在第一槽孔外表面设有盖住金属块的盖板,所述第二槽孔为矩形沉孔。
3.根据权利要求1或2所述的自复位剪切型铅阻尼器,其特征在于:所述金属块为矩形铅块。
4.根据权利要求1所述的自复位剪切型铅阻尼器,其特征在于:所述第一导向板、第二导向板为平板或弧形板。
5.根据权利要求1所述的自复位剪切型铅阻尼器,其特征在于:每块第一导向板与第二导向板上阵列设有四个金属块。
6.根据权利要求1所述的自复位剪切型铅阻尼器,其特征在于:所述自复位剪切型铅阻尼器安装于多发地震带中结构物框架、框架-剪力墙以及连梁跨中位置。
7.根据权利要求6所述的自复位剪切型铅阻尼器,其特征在于:所述自复位剪切型铅阻尼器的底板和顶板与支撑相连布置于结构中,采用斜向型和人字型安装方式。
8.一种自复位剪切型铅阻尼器的工作方法,其特征在于:所述自复位剪切型铅阻尼器包括竖直方向上相对设置的底板和顶板,所述底板上表面竖直设有至少两块相对间隔设置的第一导向板,所述顶板的下表面竖直设有与第一导向板相互贴近的第二导向板,第一导向板与第二导向板在竖直方向上错位设置,在第一导向板上设有至少一个第一槽孔,在第二导向板上与第一槽孔相对应的位置设有第二槽孔,第一槽孔与第二槽孔内嵌设有金属块,所述底板的上表面位于两块第一导向板之间设有导向杆和套设在导向杆上的碟形弹簧,所述顶板的下表面位于两块第二导向板之间设有套设在导向杆外围的导向套,所述导向套下端的翼缘紧贴在碟形弹簧的上表面;组装前,两块第一导向板预先焊接固定在底板上表面,在底板上表面中心部上焊接固定导向杆,并在导向杆上套设碟形弹簧,两块第二导向板预先焊接固定在顶板下表面,在顶板下表面中心部焊接导向套,组装时,将第二导向板与第一导向板侧面相对贴近并沿竖直方向移动以使第二槽孔与第一槽孔正对,从第一槽孔外侧塞入金属块至第二槽孔槽底,并在第一槽孔外侧使用盖板盖住金属块,安装形成自复位剪切型铅阻尼器。
9.根据权利要求8所述自复位剪切型铅阻尼器的工作方法,其特征在于:将组装形成的自复位剪切型铅阻尼器安装于多发地震带中结构物框架、框架-剪力墙以及连梁跨中位置。
10.根据权利要求8所述自复位剪切型铅阻尼器的工作方法,其特征在于:将自复位剪切型铅阻尼器的底板和顶板采用斜向型和人字型安装方式与支撑相连布置于结构中。
CN202010574880.9A 2020-06-22 2020-06-22 自复位剪切型铅阻尼器及其工作方法 Pending CN111622371A (zh)

Priority Applications (1)

Application Number Priority Date Filing Date Title
CN202010574880.9A CN111622371A (zh) 2020-06-22 2020-06-22 自复位剪切型铅阻尼器及其工作方法

Applications Claiming Priority (1)

Application Number Priority Date Filing Date Title
CN202010574880.9A CN111622371A (zh) 2020-06-22 2020-06-22 自复位剪切型铅阻尼器及其工作方法

Publications (1)

Publication Number Publication Date
CN111622371A true CN111622371A (zh) 2020-09-04

Family

ID=72258523

Family Applications (1)

Application Number Title Priority Date Filing Date
CN202010574880.9A Pending CN111622371A (zh) 2020-06-22 2020-06-22 自复位剪切型铅阻尼器及其工作方法

Country Status (1)

Country Link
CN (1) CN111622371A (zh)

Citations (5)

* Cited by examiner, † Cited by third party
Publication number Priority date Publication date Assignee Title
CN203320722U (zh) * 2013-05-23 2013-12-04 中南大学 一种铅剪切阻尼器
CN205935224U (zh) * 2016-07-18 2017-02-08 山东兴华建设集团有限公司 一种多维建筑隔震支座
CN110241937A (zh) * 2019-06-20 2019-09-17 海南大学 一种自复位铅剪切阻尼器
CN210658779U (zh) * 2019-06-20 2020-06-02 海南大学 一种自复位叠层钢板铅芯阻尼器
CN212453164U (zh) * 2020-06-22 2021-02-02 中交鹭建有限公司 自复位剪切型铅阻尼器

Patent Citations (5)

* Cited by examiner, † Cited by third party
Publication number Priority date Publication date Assignee Title
CN203320722U (zh) * 2013-05-23 2013-12-04 中南大学 一种铅剪切阻尼器
CN205935224U (zh) * 2016-07-18 2017-02-08 山东兴华建设集团有限公司 一种多维建筑隔震支座
CN110241937A (zh) * 2019-06-20 2019-09-17 海南大学 一种自复位铅剪切阻尼器
CN210658779U (zh) * 2019-06-20 2020-06-02 海南大学 一种自复位叠层钢板铅芯阻尼器
CN212453164U (zh) * 2020-06-22 2021-02-02 中交鹭建有限公司 自复位剪切型铅阻尼器

Similar Documents

Publication Publication Date Title
CN109024960B (zh) 一种sma自复位摩擦阻尼器
WO2011088603A1 (zh) 非线性阻尼辐减隔震支座
CN110409614B (zh) 一种抗拔的盆式柱连接装置及其施工方法
CN209429306U (zh) 一种可更换的双向复合耗能软钢阻尼器
CN106969077A (zh) 一种复合式三向智能隔震支座
CN216552506U (zh) 具有竖向与多向水平地震隔震能力的自复位隔震支座
CN113550492B (zh) 一种双向双铰接可恢复功能柱脚节点
CN102979181A (zh) 用于大跨度空间结构(网架)的智能隔震减震镍钛合金支座
CN207620142U (zh) 一种分阶段屈服型波形钢板软钢阻尼器
CN107366367B (zh) 分梯段金属屈服耗能型隔震装置及安装方法
CN109653392A (zh) 一种柱脚耗能阻尼器
CN212077603U (zh) 一种可复位滑动摩擦隔减震支座
CN109811640B (zh) 一种两级缓冲限位隔震装置
CN111877584A (zh) 一种具有自复位功能的碟簧软钢耗能减震装置
CN205000484U (zh) 一种形状记忆合金螺旋弹簧阻尼器
CN111622371A (zh) 自复位剪切型铅阻尼器及其工作方法
CN119686205B (zh) 一种用于梁式桥纵桥向的分阶段自适应减震装置
CN114439123A (zh) 一种竖向抗拉的滑移隔震装置
CN206189977U (zh) 分阶段屈服型软钢阻尼器
CN207364163U (zh) 一种复合式三向智能隔震支座
CN212453164U (zh) 自复位剪切型铅阻尼器
CN209686627U (zh) 一种柱脚耗能阻尼器
CN218843401U (zh) 基于sma的可更换耗能阻尼器的摇摆结构
CN207453165U (zh) 一种用于框架梁端的转动耗能器
CN218028292U (zh) 一种双阶摩擦阻尼器

Legal Events

Date Code Title Description
PB01 Publication
PB01 Publication
SE01 Entry into force of request for substantive examination
SE01 Entry into force of request for substantive examination
RJ01 Rejection of invention patent application after publication

Application publication date: 20200904