CN111616911A - 一种卧床式下肢康复训练器 - Google Patents

一种卧床式下肢康复训练器 Download PDF

Info

Publication number
CN111616911A
CN111616911A CN202010329466.1A CN202010329466A CN111616911A CN 111616911 A CN111616911 A CN 111616911A CN 202010329466 A CN202010329466 A CN 202010329466A CN 111616911 A CN111616911 A CN 111616911A
Authority
CN
China
Prior art keywords
bed
pedal
column
vibrator
tube
Prior art date
Legal status (The legal status is an assumption and is not a legal conclusion. Google has not performed a legal analysis and makes no representation as to the accuracy of the status listed.)
Pending
Application number
CN202010329466.1A
Other languages
English (en)
Inventor
曹纪保
谭玉婷
Current Assignee (The listed assignees may be inaccurate. Google has not performed a legal analysis and makes no representation or warranty as to the accuracy of the list.)
First Peoples Hospital of Chenzou
Original Assignee
First Peoples Hospital of Chenzou
Priority date (The priority date is an assumption and is not a legal conclusion. Google has not performed a legal analysis and makes no representation as to the accuracy of the date listed.)
Filing date
Publication date
Application filed by First Peoples Hospital of Chenzou filed Critical First Peoples Hospital of Chenzou
Priority to CN202010329466.1A priority Critical patent/CN111616911A/zh
Publication of CN111616911A publication Critical patent/CN111616911A/zh
Pending legal-status Critical Current

Links

Images

Classifications

    • AHUMAN NECESSITIES
    • A61MEDICAL OR VETERINARY SCIENCE; HYGIENE
    • A61HPHYSICAL THERAPY APPARATUS, e.g. DEVICES FOR LOCATING OR STIMULATING REFLEX POINTS IN THE BODY; ARTIFICIAL RESPIRATION; MASSAGE; BATHING DEVICES FOR SPECIAL THERAPEUTIC OR HYGIENIC PURPOSES OR SPECIFIC PARTS OF THE BODY
    • A61H1/00Apparatus for passive exercising; Vibrating apparatus; Chiropractic devices, e.g. body impacting devices, external devices for briefly extending or aligning unbroken bones
    • A61H1/02Stretching or bending or torsioning apparatus for exercising
    • A61H1/0237Stretching or bending or torsioning apparatus for exercising for the lower limbs
    • AHUMAN NECESSITIES
    • A61MEDICAL OR VETERINARY SCIENCE; HYGIENE
    • A61HPHYSICAL THERAPY APPARATUS, e.g. DEVICES FOR LOCATING OR STIMULATING REFLEX POINTS IN THE BODY; ARTIFICIAL RESPIRATION; MASSAGE; BATHING DEVICES FOR SPECIAL THERAPEUTIC OR HYGIENIC PURPOSES OR SPECIFIC PARTS OF THE BODY
    • A61H1/00Apparatus for passive exercising; Vibrating apparatus; Chiropractic devices, e.g. body impacting devices, external devices for briefly extending or aligning unbroken bones
    • A61H1/02Stretching or bending or torsioning apparatus for exercising
    • A61H1/0214Stretching or bending or torsioning apparatus for exercising by rotating cycling movement
    • AHUMAN NECESSITIES
    • A61MEDICAL OR VETERINARY SCIENCE; HYGIENE
    • A61HPHYSICAL THERAPY APPARATUS, e.g. DEVICES FOR LOCATING OR STIMULATING REFLEX POINTS IN THE BODY; ARTIFICIAL RESPIRATION; MASSAGE; BATHING DEVICES FOR SPECIAL THERAPEUTIC OR HYGIENIC PURPOSES OR SPECIFIC PARTS OF THE BODY
    • A61H23/00Percussion or vibration massage, e.g. using supersonic vibration; Suction-vibration massage; Massage with moving diaphragms
    • A61H23/02Percussion or vibration massage, e.g. using supersonic vibration; Suction-vibration massage; Massage with moving diaphragms with electric or magnetic drive
    • AHUMAN NECESSITIES
    • A63SPORTS; GAMES; AMUSEMENTS
    • A63BAPPARATUS FOR PHYSICAL TRAINING, GYMNASTICS, SWIMMING, CLIMBING, OR FENCING; BALL GAMES; TRAINING EQUIPMENT
    • A63B21/00Exercising apparatus for developing or strengthening the muscles or joints of the body by working against a counterforce, with or without measuring devices
    • A63B21/00178Exercising apparatus for developing or strengthening the muscles or joints of the body by working against a counterforce, with or without measuring devices for active exercising, the apparatus being also usable for passive exercising
    • AHUMAN NECESSITIES
    • A63SPORTS; GAMES; AMUSEMENTS
    • A63BAPPARATUS FOR PHYSICAL TRAINING, GYMNASTICS, SWIMMING, CLIMBING, OR FENCING; BALL GAMES; TRAINING EQUIPMENT
    • A63B22/00Exercising apparatus specially adapted for conditioning the cardio-vascular system, for training agility or co-ordination of movements
    • A63B22/06Exercising apparatus specially adapted for conditioning the cardio-vascular system, for training agility or co-ordination of movements with support elements performing a rotating cycling movement, i.e. a closed path movement
    • A63B22/0605Exercising apparatus specially adapted for conditioning the cardio-vascular system, for training agility or co-ordination of movements with support elements performing a rotating cycling movement, i.e. a closed path movement performing a circular movement, e.g. ergometers
    • AHUMAN NECESSITIES
    • A61MEDICAL OR VETERINARY SCIENCE; HYGIENE
    • A61HPHYSICAL THERAPY APPARATUS, e.g. DEVICES FOR LOCATING OR STIMULATING REFLEX POINTS IN THE BODY; ARTIFICIAL RESPIRATION; MASSAGE; BATHING DEVICES FOR SPECIAL THERAPEUTIC OR HYGIENIC PURPOSES OR SPECIFIC PARTS OF THE BODY
    • A61H2201/00Characteristics of apparatus not provided for in the preceding codes
    • A61H2201/12Driving means
    • A61H2201/1207Driving means with electric or magnetic drive
    • AHUMAN NECESSITIES
    • A61MEDICAL OR VETERINARY SCIENCE; HYGIENE
    • A61HPHYSICAL THERAPY APPARATUS, e.g. DEVICES FOR LOCATING OR STIMULATING REFLEX POINTS IN THE BODY; ARTIFICIAL RESPIRATION; MASSAGE; BATHING DEVICES FOR SPECIAL THERAPEUTIC OR HYGIENIC PURPOSES OR SPECIFIC PARTS OF THE BODY
    • A61H2201/00Characteristics of apparatus not provided for in the preceding codes
    • A61H2201/16Physical interface with patient
    • A61H2201/1602Physical interface with patient kind of interface, e.g. head rest, knee support or lumbar support
    • A61H2201/164Feet or leg, e.g. pedal
    • AHUMAN NECESSITIES
    • A61MEDICAL OR VETERINARY SCIENCE; HYGIENE
    • A61HPHYSICAL THERAPY APPARATUS, e.g. DEVICES FOR LOCATING OR STIMULATING REFLEX POINTS IN THE BODY; ARTIFICIAL RESPIRATION; MASSAGE; BATHING DEVICES FOR SPECIAL THERAPEUTIC OR HYGIENIC PURPOSES OR SPECIFIC PARTS OF THE BODY
    • A61H2205/00Devices for specific parts of the body
    • A61H2205/10Leg
    • AHUMAN NECESSITIES
    • A63SPORTS; GAMES; AMUSEMENTS
    • A63BAPPARATUS FOR PHYSICAL TRAINING, GYMNASTICS, SWIMMING, CLIMBING, OR FENCING; BALL GAMES; TRAINING EQUIPMENT
    • A63B2210/00Space saving
    • A63B2210/04Space saving incorporated in beds, sofas

Landscapes

  • Health & Medical Sciences (AREA)
  • Physical Education & Sports Medicine (AREA)
  • General Health & Medical Sciences (AREA)
  • Life Sciences & Earth Sciences (AREA)
  • Pain & Pain Management (AREA)
  • Epidemiology (AREA)
  • Rehabilitation Therapy (AREA)
  • Animal Behavior & Ethology (AREA)
  • Public Health (AREA)
  • Veterinary Medicine (AREA)
  • Vascular Medicine (AREA)
  • Biophysics (AREA)
  • Orthopedic Medicine & Surgery (AREA)
  • Cardiology (AREA)
  • Rehabilitation Tools (AREA)

Abstract

本发明提供一种卧床式下肢康复训练器,脚踏驱动轴的两端伸至驱动安装座的两侧并垂直连接有脚踏旋转轴,两个脚踏旋转轴的一端与脚踏驱动轴连接,两个脚踏旋转轴的另一端向相反方向延伸并连接有脚踏板,脚踏板与脚踏旋转轴可枢转地连接,脚踏板内部设有安装腔,安装腔内设有振动器,控制装置可选择性的关闭和开启转动电机和振动器。本发明的卧床式下肢康复训练器,具有四种锻炼模式,包括被动运动模式、主动运动模式、被动振动模式和主动振动模式,可以在一定程度上提高患者下肢本体感觉的恢复,维持、提高下肢关节活动,锻炼下肢肌肉力量,提高下肢灵活性以及协调性,利于患者身体功能恢复以及缩短住院周期,减少经济支出。

Description

一种卧床式下肢康复训练器
技术领域
本发明属于康复运动训练机领域,涉及一种专为卧床患者的下肢而进行设计的促进患者感觉和运动的康复设备,特别是涉及一种卧床式下肢康复训练器。
背景技术
首先市场上大部分是给患者坐位下进行力量训练的仪器设备,早期患者不能坐起来,只能采取躺着训练,因此需要研发康复运动训练机来满足瘫痪患者躺在床上做训练的要求。康复运动训练机是用于训练人体肌肉的设备,尤其是对于患有多发性硬化症、中风和偏瘫、风湿病、截瘫和四肢麻痹、帕金森综合症、肌力障碍、下肢术后感觉障碍、颅脑损伤、脑卒中、心脏血管病等疾病的患者具有很重要的疗效,能够起到很好的辅助治疗效果。其次市场上的下肢训练仪器设备大多是为了促进患者运动功能而设计,包括关节活动训练、力量训练、协调训练等,但是很多患者存在严重的感觉缺失,特别是下肢本体感觉的缺失严重影响了患者后期恢复,因此需要研发这样一种带有通过足底不同强度和频率的振动来促进下肢本体感觉恢复的仪器设备。再次目前市场上销售的训练机结构单一,其各部件的尺寸及相对位置难以调节,常常与病人的体征尺寸不合,因而无法满足不同病人的需求,达不到良好的康复训练效果。
为了解决上述技术问题,申请号为“201120320541.4”的实用新型专利公开了一种床旁可调式下肢康复运动训练机,包括底座、竖直支撑管、床体固定夹、斜撑梁、下肢辅助支撑管以及带电机的下肢训练器,其竖直支撑管包括外套支撑管及其上部套装的内套支撑管,外套支撑管下端固装在底座上,斜撑梁包括固定斜撑梁和伸缩斜撑梁,固定斜撑梁一端与内套支撑管上端固装,固定斜撑梁的另一端部内套装伸缩斜撑梁一端,该伸缩斜撑梁的另一端与带电机的下肢训练器固装,该伸缩斜撑梁上面固装下肢辅助支撑管,该下肢辅助支撑管上端部固装有一转轴,该转轴通过吊绳连接绑腿。
以及申请号为“201711459901.7”的发明专利申请公开了一种底座可调型床边下肢康复训练器,包括可进行底座宽度调节的宽度调节底座、高度可调的立柱、驱动部、旋转横梁、下肢固定装置、腿部减重引导装置;所述立柱竖直置于所述宽度调节底座上,所述旋转横梁固定连接于所述立柱顶端,所述驱动部固定于所述旋转横梁末端,所述驱动部与所述下肢固定装置连接,所述腿部减重引导装置设置于所述旋转横梁上,所述腿部减重引导装置与所述下肢固定装置相连,用于减轻患者在训练过程中腿部重量。
现有技术和上述专利技术中的下肢康复训练器的下肢固定装置可以适应不同病人的需要,并且具有多样化的训练效果,但尚存在结构改进空间,对于本领域技术人员来说,如何提供一种新结构的卧床式下肢康复训练器,具有比较现实的意义。
发明内容
针对现有技术的现状,本发明的目的在于提供一种新结构的卧床式下肢康复训练器。
为了解决上述技术问题,本发明提供一种卧床式下肢康复训练器,包括底座、高度可调的立柱、斜撑梁以及驱动安装座,还包括控制装置和供电装置,所述立柱竖直置于所述底座上,所述立柱的顶端固定安装有显示屏,所述斜撑梁的近端与所述立柱的上端固定连接,所述斜撑梁的远端相对所述立柱倾斜向下延伸,所述驱动安装座固定于所述斜撑梁的远端,所述驱动安装座内设有转动电机,所述转动电机驱动连接有脚踏驱动轴,所述脚踏驱动轴的两端伸至所述驱动安装座的两侧并垂直连接有脚踏旋转轴,两个脚踏旋转轴的一端与所述脚踏驱动轴连接,两个脚踏旋转轴的另一端向相反方向延伸并连接有脚踏板,所述脚踏板与所述脚踏旋转轴可枢转地连接,所述脚踏板内部设有安装腔,所述安装腔内设有振动器,所述转动电机、振动器、供电装置和所述显示屏分别与所述控制装置连接,所述控制装置可选择性的关闭和开启所述转动电机和所述振动器,使得所述卧床式下肢康复训练器具备包括被动运动模式、主动运动模式、被动振动模式和主动振动模式在内的四种锻炼模式;在被动运动模式下,所述控制装置开启所述转动电机但关闭所述振动器;在主动运动模式下,所述控制装置关闭所述转动电机和所述振动器;在被动振动模式下,所述控制装置开启所述转动电机和所述振动器;在主动振动模式下,所述控制装置关闭所述转动电机但开启所述振动器,所述显示屏用于显示参数和输入命令。
作为上述方案在一方面的改进,所述脚踏板上设有软垫。
作为上述方案在一方面的改进,还包括支撑管,所述支撑管的近端与所述斜撑梁连接,所述支撑管的远端相对所述立柱倾斜向上延伸,且所述支撑管的远端设有滑轮,所述滑轮通过两根吊绳连接两个绑腿,一个绑腿对应一个脚踏板,每个绑腿通过连接件与一个脚踏板连接。
作为上述方案在一方面的改进,所述振动器为振动电机。
作为上述方案在一方面的改进,所述立柱包括滑动连接的柱内管及柱外管,且所述柱内管及所述柱外管内设置有伸缩油缸,所述柱外管与所述底座固定连接,所述显示屏和所述斜撑梁设置在所述柱内管上,所述伸缩油缸的一端与所述柱内管铰接,所述伸缩油缸的另一端与所述柱外管铰接。
作为上述方案在一方面的改进,所述斜撑梁包括滑动连接的斜撑内管及斜撑外管,且所述斜撑内管及所述斜撑外管内设置有驱动油缸,所述斜撑外管与所述立柱固定连接,所述驱动安装座设置于所述斜撑内管上,所述驱动油缸的一端与所述斜撑内管铰接,所述驱动油缸的另一端与所述斜撑外管铰接。
作为上述方案在一方面的改进,所述底座下方设有带刹车固定装置的行走轮。
作为上述方案在一方面的改进,所述行走轮的数量为四个。
作为上述方案在一方面的改进,在主动运动模式或主动振动模式下,所述转动电机具有多个档位,在不同的档位下,所述转动电机的转动速度不同。
作为上述方案在一方面的改进,所述立柱背向斜撑梁的一侧设有推手。
作为上述方案在一方面的改进,所述立柱面向斜撑梁的一侧设有用于卡住病床或者治疗床床尾的床体固定夹。
作为上述方案在一方面的改进,在被动振动模式或主动振动模式下,所述振动器具有多个档位,在不同的档位下,所述振动器的振动频率和/或振动强度不同。
本发明具有以下有益效果:
本发明的卧床式下肢康复训练器,控制装置可选择性的关闭和开启所述转动电机和所述振动器,使得本申请的康复训练器具有四种锻炼模式,包括被动运动模式、主动运动模式、被动振动模式和主动振动模式,可以在一定程度上提高患者下肢本体感觉的恢复,维持、提高下肢关节活动,锻炼下肢肌肉力量,提高下肢灵活性以及协调性,利于患者身体功能恢复以及缩短住院周期,减少经济支出。本发明的卧床式下肢康复训练器的适应症包括:昏迷、意识障碍患者的促醒治疗;中风、昏迷或者脑损伤术后卧床患者的下肢恢复训练;截肢、关节置换、下肢软组织损伤患者的本体感觉训练;为预防其他疾病引起的关节挛缩或者肌力减弱的康复训练。
附图说明
为了更清楚地说明本发明实施例或现有技术中的技术方案,下面将对实施例或现有技术描述中所需要使用的附图作简单地介绍,显而易见地,下面描述中的附图仅仅是本发明的一些实施例,对于本领域普通技术人员来讲,在不付出创造性劳动的前提下,还可以根据这些附图获得其他的附图。
图1是本发明的卧床式下肢康复训练器第一实施例结构示意图。
图2是本发明的卧床式下肢康复训练器第二实施例结构示意图。
图3是本发明的卧床式下肢康复训练器第三实施例结构示意图。
图4是本发明的卧床式下肢康复训练器第四实施例结构示意图。
图5是本发明的卧床式下肢康复训练器第五实施例结构示意图。
图6是本发明的显示屏具体实施例中的显示界面示意图。
附图中:
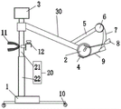
1-底座 20-立柱 30-斜撑梁
2-驱动安装座 3-显示屏 4-脚踏板
5-支撑管 6-滑轮 7-吊绳
8-绑腿 9-连接件 21-柱内管
22-柱外管 31-斜撑内管 32-斜撑外管
10-行走轮 11-推手 12-床体固定夹
具体实施方式
以下由特定的具体实施例说明本发明的实施方式,熟悉此技术的人士可由本说明书所揭露的内容轻易地了解本发明的其他优点及功效。
请参阅附图。须知,本说明书所附图式所绘示的结构、比例、大小等,均仅用以配合说明书所揭示的内容,以供熟悉此技术的人士了解与阅读,并非用以限定本发明可实施的限定条件,故不具技术上的实质意义,任何结构的修饰、比例关系的改变或大小的调整,在不影响本发明所能产生的功效及所能达成的目的下,均应仍落在本发明所揭示的技术内容得能涵盖的范围内。
在本发明的描述中,需要说明的是,如出现术语“上”、“下”、“侧”、“底”、“顶”、“中心”、“外”等,其所指示的方位或位置关系为基于附图所示的方位或位置关系,仅是为了便于描述本发明和简化描述,而不是指示或暗示所指的装置或元件必须具有特定的方位、以特定的方位构造和操作,因此不能理解为对本发明的限制。在本发明的描述中,需要说明的是,除非另有明确的规定和限定,否则对于本领域的普通技术人员而言,可以具体情况理解上述术语在本发明中的具体含义。为了叙述的便利,在此规定,靠近立柱的一端为近端,远离立柱的一端为远端。
本发明的设计理念在于设计一款专为卧床患者的下肢而进行设计的康复设备,遵循康复早期介入的原则,采用简便可移动的康复终端理念,实现病床边康复训练的可能。具有被动活动、主动运动和节律振动等运动模式,有效诱发正确的感觉和运动产生。本发明是在现有技术的基础上作出的改进发明,因而本发明的相关结构均可以参考或者直接借用现有设计,如申请号为“201120320541.4”的发明专利公开了一种床旁可调式下肢康复运动训练机以及申请号为“201711459901.7”的发明专利申请公开了一种底座可调型床边下肢康复训练器。
如图1至图6所示,本发明提供一种卧床式下肢康复训练器,包括底座1、高度可调的立柱20、斜撑梁30以及驱动安装座2,还包括控制装置(图中未示出)和供电装置(图中未示出),所述立柱20竖直置于所述底座1上,所述立柱20的顶端固定安装有显示屏3,所述斜撑梁30的近端与所述立柱20的上端固定连接,所述斜撑梁30的远端相对所述立柱20倾斜向下延伸,所述驱动安装座2固定于所述斜撑梁30的远端,所述驱动安装座2内设有转动电机,所述转动电机驱动连接有脚踏驱动轴,所述脚踏驱动轴的两端伸至所述驱动安装座2的两侧并垂直连接有脚踏旋转轴,两个脚踏旋转轴的一端与所述脚踏驱动轴连接,两个脚踏旋转轴的另一端向相反方向延伸并连接有脚踏板4,所述脚踏板4与所述脚踏旋转轴可枢转地连接,所述脚踏板4内部设有安装腔(图中未示出),所述安装腔内设有振动器(图中未示出),所述转动电机、振动器、供电装置和所述显示屏3分别与所述控制装置连接,所述控制装置可选择性的关闭和开启所述转动电机和所述振动器,使得所述卧床式下肢康复训练器具备包括被动运动模式、主动运动模式、被动振动模式和主动振动模式在内的四种锻炼模式;在被动运动模式下,所述控制装置开启所述转动电机但关闭所述振动器;在主动运动模式下,所述控制装置关闭所述转动电机和所述振动器;在被动振动模式下,所述控制装置开启所述转动电机和所述振动器;在主动振动模式下,所述控制装置关闭所述转动电机但开启所述振动器,所述显示屏3 用于显示参数和输入命令。
其中,作为立柱20高度可调的一种具体实现形式,所述立柱20包括滑动连接的柱内管21及柱外管22,且所述柱内管21及所述柱外管22内设置有伸缩油缸,所述柱外管 22与所述底座1固定连接,所述显示屏3和所述斜撑梁30设置在所述柱内管21上,所述伸缩油缸的一端与所述柱内管21铰接,所述伸缩油缸的另一端与所述柱外管22铰接,所述伸缩油缸的有杆腔和无杆腔通过油路连接有外部液压动力源,控制装置与外部液压动力源连接,通过所述伸缩油缸的伸长和缩短驱动所述柱内管21相对所述柱外管22向上伸出和向下缩回,从而实现对所述立柱20的高度调节。所述控制装置可以为单片机或 PLC可编程控制器。所述供电装置可以为蓄电池,也可以为外接电源。显示屏3为触摸屏或者显示屏3上形成有控制面板。
需要说明的是,驱动安装座2内设有转动电机,转动电机驱动连接有脚踏驱动轴,脚踏驱动轴的两端伸至驱动安装座2的两侧并垂直连接有脚踏旋转轴,两个脚踏旋转轴的一端与脚踏驱动轴连接,两个脚踏旋转轴的另一端向相反方向延伸并连接有脚踏板4,脚踏板4与脚踏旋转轴可枢转地连接,即本发明的卧床式下肢康复训练器采用的是脚踏车型的结构,该结构可以参考或者直接借用现有的自行车的脚踏结构进行设置,在此不作具体展开,通过本申请的卧床式下肢康复训练器,患者可以进行模拟踩脚踏车的运动来预防肌肉挛缩、疼痛及血栓症。
在本发明的技术方案中,由于所述控制装置可选择性的关闭和开启所述转动电机和所述振动器,从而使得本发明的卧床式下肢康复训练器具有四种锻炼模式:
1、被动运动模式,开机后将患者下肢按照要求放置到仪器上,设备根据机器设定好的自动模式自动进行运转,所述控制装置开启所述转动电机,患者可以被动的模拟踩脚踏车的运动来预防下肢关节挛缩活动受限、提高肌肉力量及预防血栓症。
2、主动运动模式,开机后将患者下肢按照要求放置到仪器上,通过显示屏3输入命令,控制装置关闭所述转动电机,患者需要用力踩踏板才能实现踏板转动进行训练,由此,患者可以主动的模拟踩脚踏车的运动来预防下肢关节挛缩活动受限、疼痛及血栓症。
3、被动振动模式,开机后将患者下肢按照要求放置到仪器上,设备根据机器设定好的自动模式自动进行运转,所述控制装置开启所述转动电机和所述振动器,患者可以被动的模拟踩脚踏车的运动来提高肌肉力量及预防血栓症,同时振动器可以给脚踏板4增加一个振动效果,有利于刺激患者的脚部,提高康复效果。
4、主动振动模式,开机后将患者下肢按照要求放置到仪器上,通过显示屏3输入命令,控制装置关闭所述转动电机但开启振动器,患者需要用力踩踏板才能实现踏板转动进行训练,由此,患者可以主动的模拟踩脚踏车的运动来提高肌肉力量及预防血栓症,同时振动器可以给脚踏板4增加一个振动效果,有利于刺激患者的脚部,提高康复效果。
在上述四种锻炼模式中,值得一提的是,很多病人存在肌肉力量不够和本体感觉丧失的双重问题,市面上多是练习力量的设备,而力量训练和感觉训练统合的这种设计是空白的,本设备的主动或被动振动模式可以大大提高患者本体感觉的恢复,利于患者身体恢复以及缩短住院周期,减少经济支出;而且这些都有理论依据文献支持的:尽早床上运动可以减少并发症;肌力训练可加速患者恢复进度;有节律的振动可以提高本体感觉恢复。
由上述内容可知,本发明的卧床式下肢康复训练器,控制装置可选择性的关闭和开启所述转动电机和所述振动器,使得本申请的康复训练器具有四种锻炼模式,包括被动运动模式、主动运动模式、被动振动模式和主动振动模式,可以在一定程度上提高患者下肢本体感觉的恢复,维持、提高下肢关节活动,锻炼下肢肌肉力量,提高下肢灵活性以及协调性,利于患者身体功能恢复以及缩短住院周期,减少经济支出。本发明的卧床式下肢康复训练器的适应症包括:昏迷、意识障碍患者的促醒治疗;中风、昏迷或者脑损伤术后卧床患者的下肢恢复训练;截肢、关节置换、下肢软组织损伤患者的本体感觉训练;为预防其他疾病引起的关节挛缩或者肌力减弱的康复训练。
为了提高锻炼的舒适性,所述脚踏板4上还设有软垫,所述软垫可以通过胶水或者魔术贴与所述脚踏板4连接。
在一种优选实施例中,还包括支撑管5,所述支撑管5的近端与所述斜撑梁30连接,所述支撑管5的远端相对所述立柱20倾斜向上延伸,且所述支撑管5的远端设有滑轮6,所述滑轮6通过两根吊绳7连接两个绑腿8,每个绑腿8通过连接件9与一个脚踏板4 连接,可选的,连接件9的一端与绑腿8铰接,连接件9的另一端与脚踏板4铰接。
具体可选的,所述振动器为振动电机。为了便于移动设备,所述底座1下方设有带刹车固定装置的行走轮10,所述行走轮10的数量为四个,四个行走轮10分为两组,每组两个行走轮10,每组行走轮10通过支撑柱与底座1连接,与斜撑梁30位于立柱20 同一侧的那一组行走轮10所连的支撑柱的长度为50公分,位于立柱20背向斜撑梁30 一侧的那一组行走轮10所连的支撑柱的长度为17公分,底座1的长度为35公分。整台设备由4个带有刹车功能的轮子承托,移动方便,实现可移动康复终端理念,且刹车固定安全牢靠,减少安全隐患,且设备利于移动,省去来回搬运的不便,可尽早推入病房投入使用,把握康复最佳恢复期,为步行做准备。
在一种优选实施例中,在主动运动模式或主动振动模式下,所述转动电机具有多个档位,在不同的档位下,所述转动电机的转动速度不同,所述转动电机的转动速度系统默认设计为1—120转/分钟,以满足不同卧床患者的需要。同样的,在被动振动模式或主动振动模式下,所述振动器具有多个档位,在不同的档位下,所述振动器的振动频率和/或振动强度不同,所述振动器的振动频率系统默认设计0---240次/分钟,以满足不同卧床患者的需要。每次锻炼时长系统默认设计是20分钟。
在一种优选实施例中,所述脚踏驱动轴通过阻尼可调轴承转动设置在所述驱动安装座2内,控制装置通过阻尼调节驱动部件与阻尼可调轴承连接,在主动运动模式和主动振动模式下,控制装置可以通过阻尼调节驱动部件对阻尼可调轴承的阻尼大小即阻力大小进行调节,以满足不同卧床患者的需要。阻尼可调轴承的结构可以参考或直接借用现有技术实现,如申请号为“201911036498.6”的发明专利申请公开了一种阻尼可调轴承,以及申请号为“201010294336.5”的发明专利申请公开了一种可调阻尼大小的轴承,以及申请号为“201420461645.0”的实用新型专利申请公开了一种转动阻尼可调轴承机构。如图6所示,为本发明的显示屏具体实施例中的显示界面示意图,在该示意图中,显示屏为触摸屏,显示了被动运动模式、主动运动模式、被动振动模式、主动振动模式、速度、频率、强度、阻力、开始、时间和结束等功能按键,可以根据需要选择被动运动模式、主动运动模式、被动振动模式和主动振动模式中的任意锻炼模式,并且可以对速度、频率、强度、阻力、时间等五个参数进行增减调节。
具体可选的,所述斜撑梁30的长度可调,所述斜撑梁30包括滑动连接的斜撑内管31及斜撑外管32,且所述斜撑内管31及所述斜撑外管32内设置有驱动油缸,所述斜撑外管32与所述立柱20固定连接,所述驱动安装座2设置于所述斜撑内管31上,所述驱动油缸的一端与所述斜撑内管31铰接,所述驱动油缸的另一端与所述斜撑外管32铰接,所述驱动油缸的有杆腔和无杆腔通过油路连接有外部液压动力源,控制装置与外部液压动力源连接,通过所述驱动油缸的伸长和缩短驱动所述斜撑内管31相对所述斜撑外管32 向上伸出和向下缩回,从而实现对所述斜撑梁30的长度调节。
具体可选的,所述立柱20背向斜撑梁30的一侧设有推手11,所述立柱20面向斜撑梁30的一侧设有用于卡住病床或者治疗床床尾的床体固定夹12。使用时,治疗人员通过推手11手推仪器进入病房,将立柱20调至合适高度,通过床体固定夹12固定在床尾,并踩下设备刹车,接通电源,调试设备。
综上所述,本发明的卧床式下肢康复训练器,控制装置可选择性的关闭和开启所述转动电机和所述振动器,使得本申请的康复训练器具有四种锻炼模式,包括被动运动模式、主动运动模式、被动振动模式和主动振动模式,可以在一定程度上提高患者下肢本体感觉的恢复,维持、提高下肢关节活动,锻炼下肢肌肉力量,提高下肢灵活性以及协调性,利于患者身体功能恢复以及缩短住院周期,减少经济支出。本发明的卧床式下肢康复训练器的适应症包括:昏迷、意识障碍患者的促醒治疗;中风、昏迷或者脑损伤术后卧床患者的下肢恢复训练;截肢、关节置换、下肢软组织损伤患者的本体感觉训练;为预防其他疾病引起的关节挛缩或者肌力减弱的康复训练。
以上仅为本发明的较佳实施例而已,并不用以限制本发明,凡在本发明的精神和原则之内,所作的任何修改、等同替换、改进等,均应包含在本发明的保护范围之内。

Claims (10)

1.一种卧床式下肢康复训练器,包括底座(1)、高度可调的立柱(20)、斜撑梁(30)以及驱动安装座(2),其特征在于:还包括控制装置和供电装置,所述立柱(20)竖直置于所述底座(1)上,所述立柱(20)的顶端固定安装有显示屏(3),所述斜撑梁(30)的近端与所述立柱(20)的上端固定连接,所述斜撑梁(30)的远端相对所述立柱(20)倾斜向下延伸,所述驱动安装座(2)固定于所述斜撑梁(30)的远端,所述驱动安装座(2)内设有转动电机,所述转动电机驱动连接有脚踏驱动轴,所述脚踏驱动轴的两端伸至所述驱动安装座(2)的两侧并垂直连接有脚踏旋转轴,两个脚踏旋转轴的一端与所述脚踏驱动轴连接,两个脚踏旋转轴的另一端向相反方向延伸并连接有脚踏板(4),所述脚踏板(4)与所述脚踏旋转轴可枢转地连接,所述脚踏板(4)内部设有安装腔,所述安装腔内设有振动器,所述转动电机、振动器、供电装置和所述显示屏(3)分别与所述控制装置连接,所述控制装置可选择性的关闭和开启所述转动电机和所述振动器,使得所述卧床式下肢康复训练器具备包括被动运动模式、主动运动模式、被动振动模式和主动振动模式在内的四种锻炼模式;在被动运动模式下,所述控制装置开启所述转动电机但关闭所述振动器;在主动运动模式下,所述控制装置关闭所述转动电机和所述振动器;在被动振动模式下,所述控制装置开启所述转动电机和所述振动器;在主动振动模式下,所述控制装置关闭所述转动电机但开启所述振动器,所述显示屏(3)用于显示参数和输入命令。
2.根据权利要求1所述的卧床式下肢康复训练器,其特征在于:所述脚踏板(4)上设有软垫。
3.根据权利要求1所述的卧床式下肢康复训练器,其特征在于:还包括支撑管(5),所述支撑管(5)的近端与所述斜撑梁(30)连接,所述支撑管(5)的远端相对所述立柱(20)倾斜向上延伸,且所述支撑管(5)的远端设有滑轮(6),所述滑轮(6)通过两根吊绳(7)连接两个绑腿(8),每个绑腿(8)通过连接件(9)与一个脚踏板(4)连接。
4.根据权利要求1所述的卧床式下肢康复训练器,其特征在于:所述振动器为振动电机。
5.根据权利要求1所述的卧床式下肢康复训练器,其特征在于:所述立柱(20)包括滑动连接的柱内管(21)及柱外管(22),且所述柱内管(21)及所述柱外管(22)内设置有伸缩油缸,所述柱外管(22)与所述底座(1)固定连接,所述显示屏(3)和所述斜撑梁(30)设置在所述柱内管(21)上,所述伸缩油缸的一端与所述柱内管(21)铰接,所述伸缩油缸的另一端与所述柱外管(22)铰接。
6.根据权利要求1所述的卧床式下肢康复训练器,其特征在于:所述斜撑梁(30)包括滑动连接的斜撑内管(31)及斜撑外管(32),且所述斜撑内管(31)及所述斜撑外管(32)内设置有驱动油缸,所述斜撑外管(32)与所述立柱(20)固定连接,所述驱动安装座(2)设置于所述斜撑内管(31)上,所述驱动油缸的一端与所述斜撑内管(31)铰接,所述驱动油缸的另一端与所述斜撑外管(32)铰接。
7.根据权利要求1-6任一项所述的卧床式下肢康复训练器,其特征在于:所述底座(1)下方设有带刹车固定装置的行走轮(10),所述行走轮(10)的数量为四个。
8.根据权利要求1-6任一项所述的卧床式下肢康复训练器,其特征在于:在主动运动模式或主动振动模式下,所述转动电机具有多个档位,在不同的档位下,所述转动电机的转动速度不同。
9.根据权利要求1-6任一项所述的卧床式下肢康复训练器,其特征在于:所述立柱(20)背向斜撑梁(30)的一侧设有推手(11);和/或,所述立柱(20)面向斜撑梁(30)的一侧设有用于卡住病床或者治疗床床尾的床体固定夹(12)。
10.根据权利要求1-6任一项所述的卧床式下肢康复训练器,其特征在于:在被动振动模式或主动振动模式下,所述振动器具有多个档位,在不同的档位下,所述振动器的振动频率和/或振动强度不同。
CN202010329466.1A 2020-04-23 2020-04-23 一种卧床式下肢康复训练器 Pending CN111616911A (zh)

Priority Applications (1)

Application Number Priority Date Filing Date Title
CN202010329466.1A CN111616911A (zh) 2020-04-23 2020-04-23 一种卧床式下肢康复训练器

Applications Claiming Priority (1)

Application Number Priority Date Filing Date Title
CN202010329466.1A CN111616911A (zh) 2020-04-23 2020-04-23 一种卧床式下肢康复训练器

Publications (1)

Publication Number Publication Date
CN111616911A true CN111616911A (zh) 2020-09-04

Family

ID=72254881

Family Applications (1)

Application Number Title Priority Date Filing Date
CN202010329466.1A Pending CN111616911A (zh) 2020-04-23 2020-04-23 一种卧床式下肢康复训练器

Country Status (1)

Country Link
CN (1) CN111616911A (zh)

Cited By (6)

* Cited by examiner, † Cited by third party
Publication number Priority date Publication date Assignee Title
CN112515914A (zh) * 2020-11-12 2021-03-19 东南大学 卧式双腿运动康复机
CN113081679A (zh) * 2021-04-13 2021-07-09 阁步(上海)医疗科技有限公司 一种床旁康复训练机器人
CN113457100A (zh) * 2021-07-06 2021-10-01 舒华体育股份有限公司 通过自发电实现屏幕互动及比赛骑行的健身车系统
CN113769323A (zh) * 2021-10-15 2021-12-10 中国人民解放军海军军医大学第一附属医院 一种多功能主被动康复训练装置
CN113827447A (zh) * 2021-10-31 2021-12-24 清华大学 下肢床旁训练康复装置
CN114367082A (zh) * 2022-01-20 2022-04-19 河北格美医疗器械科技有限公司 下肢主被动康复训练系统

Citations (5)

* Cited by examiner, † Cited by third party
Publication number Priority date Publication date Assignee Title
CN202191656U (zh) * 2011-08-30 2012-04-18 天津泽普科技发展有限公司 床旁可调式下肢康复运动训练机
CN205164023U (zh) * 2015-11-25 2016-04-20 刘爱华 康复训练床
CN105748261A (zh) * 2016-05-13 2016-07-13 安阳市翔宇医疗设备有限责任公司 一种倾斜式踏步训练系统
CN106618946A (zh) * 2016-11-01 2017-05-10 国家康复辅具研究中心 一种用于下肢训练的康复训练床
CN212282103U (zh) * 2020-04-23 2021-01-05 郴州市第一人民医院 一种卧床式下肢康复训练器

Patent Citations (5)

* Cited by examiner, † Cited by third party
Publication number Priority date Publication date Assignee Title
CN202191656U (zh) * 2011-08-30 2012-04-18 天津泽普科技发展有限公司 床旁可调式下肢康复运动训练机
CN205164023U (zh) * 2015-11-25 2016-04-20 刘爱华 康复训练床
CN105748261A (zh) * 2016-05-13 2016-07-13 安阳市翔宇医疗设备有限责任公司 一种倾斜式踏步训练系统
CN106618946A (zh) * 2016-11-01 2017-05-10 国家康复辅具研究中心 一种用于下肢训练的康复训练床
CN212282103U (zh) * 2020-04-23 2021-01-05 郴州市第一人民医院 一种卧床式下肢康复训练器

Cited By (7)

* Cited by examiner, † Cited by third party
Publication number Priority date Publication date Assignee Title
CN112515914A (zh) * 2020-11-12 2021-03-19 东南大学 卧式双腿运动康复机
CN113081679A (zh) * 2021-04-13 2021-07-09 阁步(上海)医疗科技有限公司 一种床旁康复训练机器人
CN113457100A (zh) * 2021-07-06 2021-10-01 舒华体育股份有限公司 通过自发电实现屏幕互动及比赛骑行的健身车系统
CN113769323A (zh) * 2021-10-15 2021-12-10 中国人民解放军海军军医大学第一附属医院 一种多功能主被动康复训练装置
CN113827447A (zh) * 2021-10-31 2021-12-24 清华大学 下肢床旁训练康复装置
CN113827447B (zh) * 2021-10-31 2022-12-02 清华大学 下肢床旁训练康复装置
CN114367082A (zh) * 2022-01-20 2022-04-19 河北格美医疗器械科技有限公司 下肢主被动康复训练系统

Similar Documents

Publication Publication Date Title
CN111616911A (zh) 一种卧床式下肢康复训练器
CN106618946A (zh) 一种用于下肢训练的康复训练床
CN110200783A (zh) 一种锻炼上肢下肢用体育康复装置
WO1989001353A1 (en) Active and passive coordinated walking device
CN203886116U (zh) 腿臂坐卧运动康复机
CN114733145B (zh) 智能多功能下肢康复训练一体机
CN114010454B (zh) 下肢运动康复床
CN212282103U (zh) 一种卧床式下肢康复训练器
CN113827446B (zh) 下肢床旁运动康复装置
CN210903927U (zh) 一种康复锻炼装置
CN216536718U (zh) 一种多功能主被动康复训练装置
CN108030640B (zh) 一种神经科康复训练装置
CN107440886B (zh) 髋关节拉伸治疗性训练装置
CN212395333U (zh) 一种便携式纳米热磁疗自动偏瘫康复机
CN211301002U (zh) 一种小腿肌肉康复及护理装置
CN204864733U (zh) 健身器
CN103908393A (zh) 一种恢复腿部运动能力的训练器械
CN112473080A (zh) 一种多功能下肢康复训练床
CN217744957U (zh) 一种改善化疗所致周围神经病变主被动康复训练理疗器械
CN210019980U (zh) 一种轮椅
CN113827447B (zh) 下肢床旁训练康复装置
CN117224361A (zh) 一种绳索驱动踝关节康复机器人
CN212997330U (zh) 一种被动运动式跳跃康复训练设备
CN108245377A (zh) 一种pnf运动轨迹训练康复床
CN2194173Y (zh) 一种康复理疗机

Legal Events

Date Code Title Description
PB01 Publication
PB01 Publication
SE01 Entry into force of request for substantive examination
SE01 Entry into force of request for substantive examination
RJ01 Rejection of invention patent application after publication

Application publication date: 20200904

RJ01 Rejection of invention patent application after publication