CN111576188A - Steel construction bridge antidumping structure - Google Patents
Steel construction bridge antidumping structure Download PDFInfo
- Publication number
- CN111576188A CN111576188A CN202010408008.7A CN202010408008A CN111576188A CN 111576188 A CN111576188 A CN 111576188A CN 202010408008 A CN202010408008 A CN 202010408008A CN 111576188 A CN111576188 A CN 111576188A
- Authority
- CN
- China
- Prior art keywords
- anchor
- steel
- bolt
- crab
- anchoring
- Prior art date
- Legal status (The legal status is an assumption and is not a legal conclusion. Google has not performed a legal analysis and makes no representation as to the accuracy of the status listed.)
- Pending
Links
- 229910000831 Steel Inorganic materials 0.000 title claims abstract description 73
- 239000010959 steel Substances 0.000 title claims abstract description 73
- 238000010276 construction Methods 0.000 title claims abstract description 18
- 230000003014 reinforcing effect Effects 0.000 claims abstract description 26
- 239000004567 concrete Substances 0.000 claims abstract description 16
- 238000004873 anchoring Methods 0.000 claims description 42
- 229910001294 Reinforcing steel Inorganic materials 0.000 claims description 22
- 238000009510 drug design Methods 0.000 abstract description 2
- 230000010485 coping Effects 0.000 abstract 2
- 238000000034 method Methods 0.000 description 6
- 230000006835 compression Effects 0.000 description 5
- 238000007906 compression Methods 0.000 description 5
- 238000005452 bending Methods 0.000 description 1
- 230000009286 beneficial effect Effects 0.000 description 1
- 238000010586 diagram Methods 0.000 description 1
- 239000000463 material Substances 0.000 description 1
- 239000011513 prestressed concrete Substances 0.000 description 1
- 239000011150 reinforced concrete Substances 0.000 description 1
- 238000003466 welding Methods 0.000 description 1
Images
Classifications
-
- E—FIXED CONSTRUCTIONS
- E01—CONSTRUCTION OF ROADS, RAILWAYS, OR BRIDGES
- E01D—CONSTRUCTION OF BRIDGES, ELEVATED ROADWAYS OR VIADUCTS; ASSEMBLY OF BRIDGES
- E01D19/00—Structural or constructional details of bridges
-
- E—FIXED CONSTRUCTIONS
- E01—CONSTRUCTION OF ROADS, RAILWAYS, OR BRIDGES
- E01D—CONSTRUCTION OF BRIDGES, ELEVATED ROADWAYS OR VIADUCTS; ASSEMBLY OF BRIDGES
- E01D19/00—Structural or constructional details of bridges
- E01D19/02—Piers; Abutments ; Protecting same against drifting ice
-
- E—FIXED CONSTRUCTIONS
- E01—CONSTRUCTION OF ROADS, RAILWAYS, OR BRIDGES
- E01D—CONSTRUCTION OF BRIDGES, ELEVATED ROADWAYS OR VIADUCTS; ASSEMBLY OF BRIDGES
- E01D19/00—Structural or constructional details of bridges
- E01D19/04—Bearings; Hinges
-
- E—FIXED CONSTRUCTIONS
- E01—CONSTRUCTION OF ROADS, RAILWAYS, OR BRIDGES
- E01D—CONSTRUCTION OF BRIDGES, ELEVATED ROADWAYS OR VIADUCTS; ASSEMBLY OF BRIDGES
- E01D21/00—Methods or apparatus specially adapted for erecting or assembling bridges
Landscapes
- Engineering & Computer Science (AREA)
- Architecture (AREA)
- Civil Engineering (AREA)
- Structural Engineering (AREA)
- Bridges Or Land Bridges (AREA)
Abstract
The utility model provides a steel construction bridge antidumping structure, concrete abutment cap or pier coping top set up reinforcing bar or crab-bolt backing ring, behind reinforcing bar or the crab-bolt backing ring is passed to the lower part of reinforcing bar or crab-bolt, bury in concrete abutment cap or pier coping, the anchor end plate is established to steel construction crossbeam bottom plate top, the anchor end plate is arranged in on the anchor end plate, the screw thread is established to the upper end of reinforcing bar or crab-bolt, reinforcing bar or crab-bolt are from steel construction crossbeam bottom plate, anchor end plate and anchor backing plate pass the back, the upper end screw thread portion of reinforcing bar or crab-bolt exposes anchor backing plate top, screw up the anchor nut on the upper end screw thread of reinforcing bar or crab-bolt, with the holistic torsion of restriction bridge. This resistance to plucking crab-bolt structure is succinct, and the cost is economic, does not influence the support and changes, and adaptable bridge longitudinal temperature warp, through rational design, under the prerequisite that structural damage does not appear in the roof beam pier stud, can effectively avoid steel construction bridge transverse overturning unstability.
Description
Technical Field
The invention relates to the technical field of civil construction of steel structure bridges, in particular to an anti-overturning structure of a steel structure bridge, which is used for solving the problem of transverse overturning instability after a steel structure bridge support is emptied.
Background
In recent years, steel structures are increasingly applied to small and medium-span bridges in highways and municipal administration. The bridge transverse overturning instability occurs until the collapse accidents happen successively, which becomes an important bridge damage form and has serious damage consequences. The bridge overturning accident damage process generally comprises the following steps: the one-way stressed support is separated from a normal stressed state, a support system of the upper structure does not provide effective restraint any more, the torsional deformation of the upper structure tends to be divergent and transverse instability and collapse, and the support and the lower structure are damaged together, so that the bearing capacity limit state is damaged.
Compared with a concrete structure bridge, the small and medium span steel structure bridge has light dead weight and is more prone to overturning damage.
Provisions are made in the relevant provisions of the design Specification of steel structures and bridges for highways (JTG D64-2015) and the design Specification of reinforced concrete and prestressed concrete bridges and culverts for highways (JTG 3362 and 2018): 1. the unidirectional compression support under the basic combination always keeps a compression state; 2. the standard value is combined to obtain the anti-overturning coefficient greater than or equal to 2.5.
In order to solve the problem of transverse overturning instability after the steel structure bridge support is emptied and reach the above standard requirements, the design means adopted at present are as follows:
1. when the bridge is arranged overall, the position of the fulcrum is reasonably set, but the support cannot be prevented from being emptied under all conditions.
2. The concrete weight is arranged in the steel box girder, and if the weight is only arranged near the support, the support cannot be prevented from being empty under all conditions. The ballast section is lengthened, so that the steel structure is unfavorable, the interior needs to be stiffened, and the steel plate beam is not applicable.
3. The anti-overturning structure is applied to concrete cast-in-place continuous beams and steel structure pedestrian bridges and is not suitable for medium and small-span highways or municipal vehicle steel structure bridges.
In summary, an anti-overturning structure for preventing transverse overturning instability of a support of a medium and small-span steel structure bridge after the support is emptied and also for preventing transverse overturning instability of the support after the support is emptied in the construction process of a large-span steel bridge is provided.
Disclosure of Invention
The invention aims to provide a steel structure bridge anti-overturning structure for preventing transverse overturning instability of a steel structure bridge support after the steel structure bridge support is emptied.
In order to achieve the purpose, the technical scheme of the invention is as follows:
the utility model provides a steel structure bridge antidumping structure, concrete abutment cap or pier cap below including the steel construction crossbeam and being located the girder steel, its characterized in that concrete abutment cap or pier cap top set up reinforcing bar or crab-bolt backing ring, the lower part of reinforcing bar or crab-bolt passes behind reinforcing bar or crab-bolt backing ring, bury in concrete abutment cap or pier cap, steel construction crossbeam bottom plate top is established the anchor end plate, the anchor end plate is arranged in on the anchor end plate, the screw thread is established to the upper end of reinforcing bar or crab-bolt, reinforcing bar or crab-bolt are from steel construction crossbeam bottom plate, anchor end plate and anchor backing plate pass the back, the upper end screw thread portion of reinforcing bar or crab-bolt exposes anchor backing plate top, screw up the anchor nut on the upper end screw thread of reinforcing bar or crab-bolt, in order to restrict the holistic torsion of bridge.
Furthermore, an anchoring stiffening rib is welded on a web plate of the steel structure beam, an anchoring end plate is arranged above the anchoring stiffening rib, and the anchoring end plate is welded with the top surface of the anchoring stiffening rib.
Further, the outer diameter of the reinforcing steel bar or the anchor bolt backing ring is not less than 3d, the thickness of the reinforcing steel bar or the anchor bolt backing ring is not less than 20mm, and d is the diameter of the reinforcing steel bar or the anchor bolt.
Further, the distance from the top surface of the abutment cap or pier cap to the bottom surface of the anchoring end plate is not less than 30 times of the diameter of the reinforcing steel bar or anchor bolt.
Further, the steel structure crossbeam bottom plate is at the position trompil that corresponds with reinforcing bar or crab-bolt, and the trompil diameter is not less than 5 times the diameter of reinforcing bar or crab-bolt.
Further, the anchoring end plate is provided with a hole at a position corresponding to the steel bar or the anchor bolt, and the diameter of the hole is not less than 3 times of the diameter of the steel bar or the anchor bolt.
Furthermore, the anchoring backing plate is provided with a hole, and the hole diameter of the hole is smaller than the outer diameter of the anchoring nut and larger than the diameter of the steel bar or the anchor bolt.
Further, a rubber cushion block is arranged between the anchoring nut and the anchoring base plate, and the thickness of the rubber cushion block is not less than 5 mm.
Furthermore, a plurality of nuts are connected to the upper end threads of the steel bars or the anchor bolts.
This resistance to plucking crab-bolt structure is succinct, and the cost is economic, does not influence the support and changes, and adaptable bridge longitudinal temperature warp, through rational design, under the prerequisite that structural damage does not appear in the roof beam pier stud, can effectively avoid steel construction bridge transverse overturning unstability.
The technical scheme of the invention can obtain the following beneficial effects:
1. the problem of transverse overturning instability of the steel structure bridge support after the support is emptied is economically solved by simple materials and processes.
2. The characteristic of low bending rigidity of the long steel bars is utilized when the bridge is extended and contracted at temperature, so that the beam body and the abutment are hardly stressed, and the local stress of the concrete lower part structure is reduced by anchoring the steel bar backing ring.
3. By loosening the anchor bolts, the replacement of the support can be achieved.
Drawings
FIG. 1 is a longitudinal arrangement diagram of the anti-overturning anchor bolt cross bridge of the steel structure bridge
FIG. 2 is a schematic view of the arrangement of the anti-overturning anchor bolts of the steel structure bridge along the direction of the bridge
FIG. 3 is a plan view of the anchoring pad plate of the anti-overturning anchor bolt of the steel structure bridge
FIG. 4 is a plan view of the steel structure bridge anti-overturning anchor bolt anchoring stiffening rib of the present invention
FIG. 5 is a plan view of the steel beam bottom plate of the anti-overturning anchor bolt of the steel structure bridge
FIG. 6 is a plan view of the reinforcing steel bar of the anti-overturning anchor bolt or the backing ring of the anchor bolt of the steel structure bridge of the present invention
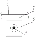
The figure includes: the method comprises the following steps of 1-concrete abutment cap or pier cap of a bridge pier, 2-steel structure beam web, 3-steel structure beam bottom plate, 4-reinforcing steel bar or anchor bolt, 5-reinforcing steel bar or anchor bolt backing ring, 6-anchoring stiffening rib, 7-anchoring end plate, 8-anchoring backing plate and 9-anchoring nut.
Detailed Description
The construction, construction process and related design requirements of the present invention are further illustrated in the following figures of the specification.
There are 2 well-defined characteristic states in the bridge overturning process: in a characteristic state 1, the one-way compression support of the box girder begins to be released from compression; in characteristic state 2, the torsion-resistant support of the box girder fails in its entirety. The relevant provisions of the aforementioned specifications are the provisions made for these two states.
The invention discloses an anti-overturning structure of a steel structure bridge, which comprises a steel structure beam and a concrete abutment cap or a pier cap positioned below the steel beam.
The invention is arranged near the support, provides anti-torsion support when the unidirectional compression support is empty, and enables the anti-overturning stability coefficient to be more than or equal to 2.5 by designing the diameter and the number of anchor bolts.
The concrete construction steps are as follows:
firstly, the number and the diameter of the anti-pulling anchor bolts are determined according to calculation, and the positions of the anti-pulling anchor bolts are determined according to the upper and lower structure design.
Before pouring the abutment cap or pier cap 1 concrete, arranging the reinforcing steel bars or anchor bolts 4 according to the determined positions, wherein the embedding depth of the reinforcing steel bars or anchor bolts 4 in the abutment cap or pier cap 1 is not less than 30 times of the diameter of the reinforcing steel bars or anchor bolts 4.
The reinforcing steel bar or anchor bolt 4 passes anchor reinforcing steel bar backing ring 5 and adopts plug welding to connect, 5 top surfaces of anchor reinforcing steel bar backing ring and abutment cap or 1 top surface parallel and level of pier cap, 5 external diameters of anchor reinforcing steel bar backing ring are not less than 3d, and thickness is not less than 20 mm.
Girder steel bottom plate 3 is at the trompil of corresponding position, and above-mentioned trompil diameter is not less than 5 times reinforcing bar or the diameter of crab-bolt 4, guarantees reinforcing bar or crab-bolt 4 during girder steel hoist and mount as far as possible and passes from above-mentioned trompil center.
The anchoring stiffening ribs 6 are welded at the proper positions of the steel structure beam, and the plate thickness and the length of the anchoring stiffening ribs 6 are designed according to the principle of equal strength with the reinforcing steel bars or anchor bolts 4.
The anchoring end plate 7 is arranged above the anchoring stiffening rib 6, and the anchoring end plate 7 is provided with a hole, and the diameter of the hole is not less than 3 times of that of the reinforcing steel bar or the anchor bolt 4.
The anchoring backing plate 8 is provided with a hole and is arranged above the anchoring end plate 7, and the hole diameter of the anchoring backing plate 8 is smaller than the outer diameter of the anchoring nut 9 and slightly larger than the diameter of the reinforcing steel bar or the anchor bolt 4.
The reinforcing bar or anchor bolt 4 passes through the opening of the anchor backing plate 8, part of the turning thread is exposed, and the anchor nut 9 is screwed on the thread to limit the whole torsion of the bridge. The anchoring nuts 9 can be a plurality of ones, and the thickness of the rubber cushion block arranged between the anchoring nuts 9 and the anchoring backing plate 8 is not less than 5 mm.
The distance from the top surface of the abutment cap or pier cap 1 to the bottom surface of the anchoring end plate 7 is not less than 30 times of the diameter of the reinforcing steel bar or anchor bolt 4.
Claims (9)
1. The utility model provides a steel structure bridge antidumping structure, concrete abutment cap or pier cap below including the steel construction crossbeam and being located the girder steel, its characterized in that concrete abutment cap or pier cap top set up reinforcing bar or crab-bolt backing ring, the lower part of reinforcing bar or crab-bolt passes behind reinforcing bar or crab-bolt backing ring, bury in concrete abutment cap or pier cap, steel construction crossbeam bottom plate top is established the anchor end plate, the anchor end plate is arranged in on the anchor end plate, the screw thread is established to the upper end of reinforcing bar or crab-bolt, reinforcing bar or crab-bolt are from steel construction crossbeam bottom plate, anchor end plate and anchor backing plate pass the back, the upper end screw thread portion of reinforcing bar or crab-bolt exposes anchor backing plate top, screw up the anchor nut on the upper end screw thread of reinforcing bar or crab-bolt, in order to restrict the holistic torsion of bridge.
2. The steel structural bridge anti-overturning structure of claim 1, wherein the steel structural beam web plate is welded with the anchoring stiffening rib, the anchoring end plate is arranged above the anchoring stiffening rib, and the anchoring end plate is welded with the top surface of the anchoring stiffening rib.
3. The steel structure bridge anti-overturning structure of claim 1, wherein the outside diameter of the steel bar or anchor pad ring is not less than 3d, the thickness is not less than 20mm, and d is the diameter of the steel bar or anchor.
4. The steel structure bridge anti-overturning structure of claim 1, wherein the distance from the top surface of the abutment cap or pier cap to the bottom surface of the anchoring end plate is not less than 30 times the diameter of the reinforcing steel bar or anchor bolt.
5. The anti-overturning structure of the steel structure bridge of claim 1, wherein the steel structure beam bottom plate is provided with a hole at a position corresponding to the steel bar or the anchor bolt, and the diameter of the hole is not less than 5 times of the diameter of the steel bar or the anchor bolt.
6. The anti-overturning structure of the steel structure bridge of claim 1, wherein the anchoring end plate is perforated at a position corresponding to the reinforcing steel bars or the anchor bolts, and the diameter of the perforated hole is not less than 3 times the diameter of the reinforcing steel bars or the anchor bolts.
7. The anti-overturning structure of the steel structure bridge of claim 1, wherein the anchoring backing plate is provided with an opening, and the diameter of the opening is smaller than the outer diameter of the anchoring nut and larger than the diameter of the steel bar or the anchor bolt.
8. The steel structure bridge anti-overturning structure of claim 1, wherein a rubber cushion block is arranged between the anchoring nut and the anchoring backing plate, and the thickness of the rubber cushion block is not less than 5 mm.
9. The anti-overturning structure of the steel structure bridge of claim 1, wherein a plurality of nuts are connected to the upper threads of the reinforcing steel bars or the anchor bolts.
Priority Applications (1)
| Application Number | Priority Date | Filing Date | Title |
|---|---|---|---|
| CN202010408008.7A CN111576188A (en) | 2020-05-14 | 2020-05-14 | Steel construction bridge antidumping structure |
Applications Claiming Priority (1)
| Application Number | Priority Date | Filing Date | Title |
|---|---|---|---|
| CN202010408008.7A CN111576188A (en) | 2020-05-14 | 2020-05-14 | Steel construction bridge antidumping structure |
Publications (1)
| Publication Number | Publication Date |
|---|---|
| CN111576188A true CN111576188A (en) | 2020-08-25 |
Family
ID=72117414
Family Applications (1)
| Application Number | Title | Priority Date | Filing Date |
|---|---|---|---|
| CN202010408008.7A Pending CN111576188A (en) | 2020-05-14 | 2020-05-14 | Steel construction bridge antidumping structure |
Country Status (1)
| Country | Link |
|---|---|
| CN (1) | CN111576188A (en) |
Cited By (3)
| Publication number | Priority date | Publication date | Assignee | Title |
|---|---|---|---|---|
| CN112239993A (en) * | 2020-10-19 | 2021-01-19 | 上海市政工程设计研究总院(集团)有限公司 | Bridge anti-overturning device adaptive to multidirectional displacement and construction method thereof |
| CN114737467A (en) * | 2022-05-20 | 2022-07-12 | 中亿丰建设集团股份有限公司 | Bridge anti-overturning device and construction method thereof |
| CN115652826A (en) * | 2022-07-15 | 2023-01-31 | 武汉理工大学 | Reinforcing device and reinforcing method for preventing falling beam and overturning of in-service bridge |
Citations (12)
| Publication number | Priority date | Publication date | Assignee | Title |
|---|---|---|---|---|
| KR100474299B1 (en) * | 2004-06-29 | 2005-03-14 | 박병준 | A |
| CN203096599U (en) * | 2013-03-01 | 2013-07-31 | 河海大学 | Tension-compression rod type anti-toppling device of steel-and-concrete-combination beam bridge |
| KR101312759B1 (en) * | 2013-07-18 | 2013-09-27 | 효진건설 (주) | Safety construction method against overturning of steel cross beam using psc curved girder |
| CN103510460A (en) * | 2012-11-13 | 2014-01-15 | 孙超 | Bridge sliding clamping plate hook lock type box girder overturning prevention mechanism |
| CN105200911A (en) * | 2015-04-25 | 2015-12-30 | 清华大学 | Bridge anti-overturning structure and construction method thereof |
| CN105970799A (en) * | 2016-05-18 | 2016-09-28 | 清华大学 | Structure for preventing bridge from overturning transversely and construction method of structure |
| CN206279440U (en) * | 2016-10-26 | 2017-06-27 | 上海市政工程设计研究总院(集团)有限公司 | A kind of pull rod device for improving Single column pier bridge anti-overturning energy |
| CN206721653U (en) * | 2017-04-26 | 2017-12-08 | 程斌 | A kind of Single column pier bridge adds steel structure support antidumping bracing means |
| CN107794834A (en) * | 2017-09-06 | 2018-03-13 | 中铁宝桥集团有限公司 | Big section steel box-girder framing mating structure and preparation method |
| CN108035260A (en) * | 2017-12-18 | 2018-05-15 | 武船重型工程股份有限公司 | A kind of diaphragm plate positioning tool |
| CN207435876U (en) * | 2017-10-16 | 2018-06-01 | 中铁七局集团武汉工程有限公司 | A kind of pre-stress concrete small box girder structure |
| CN209412683U (en) * | 2018-10-30 | 2019-09-20 | 中国水利水电第九工程局有限公司 | A kind of supporting system for aqueduct |
-
2020
- 2020-05-14 CN CN202010408008.7A patent/CN111576188A/en active Pending
Patent Citations (12)
| Publication number | Priority date | Publication date | Assignee | Title |
|---|---|---|---|---|
| KR100474299B1 (en) * | 2004-06-29 | 2005-03-14 | 박병준 | A |
| CN103510460A (en) * | 2012-11-13 | 2014-01-15 | 孙超 | Bridge sliding clamping plate hook lock type box girder overturning prevention mechanism |
| CN203096599U (en) * | 2013-03-01 | 2013-07-31 | 河海大学 | Tension-compression rod type anti-toppling device of steel-and-concrete-combination beam bridge |
| KR101312759B1 (en) * | 2013-07-18 | 2013-09-27 | 효진건설 (주) | Safety construction method against overturning of steel cross beam using psc curved girder |
| CN105200911A (en) * | 2015-04-25 | 2015-12-30 | 清华大学 | Bridge anti-overturning structure and construction method thereof |
| CN105970799A (en) * | 2016-05-18 | 2016-09-28 | 清华大学 | Structure for preventing bridge from overturning transversely and construction method of structure |
| CN206279440U (en) * | 2016-10-26 | 2017-06-27 | 上海市政工程设计研究总院(集团)有限公司 | A kind of pull rod device for improving Single column pier bridge anti-overturning energy |
| CN206721653U (en) * | 2017-04-26 | 2017-12-08 | 程斌 | A kind of Single column pier bridge adds steel structure support antidumping bracing means |
| CN107794834A (en) * | 2017-09-06 | 2018-03-13 | 中铁宝桥集团有限公司 | Big section steel box-girder framing mating structure and preparation method |
| CN207435876U (en) * | 2017-10-16 | 2018-06-01 | 中铁七局集团武汉工程有限公司 | A kind of pre-stress concrete small box girder structure |
| CN108035260A (en) * | 2017-12-18 | 2018-05-15 | 武船重型工程股份有限公司 | A kind of diaphragm plate positioning tool |
| CN209412683U (en) * | 2018-10-30 | 2019-09-20 | 中国水利水电第九工程局有限公司 | A kind of supporting system for aqueduct |
Cited By (4)
| Publication number | Priority date | Publication date | Assignee | Title |
|---|---|---|---|---|
| CN112239993A (en) * | 2020-10-19 | 2021-01-19 | 上海市政工程设计研究总院(集团)有限公司 | Bridge anti-overturning device adaptive to multidirectional displacement and construction method thereof |
| CN114737467A (en) * | 2022-05-20 | 2022-07-12 | 中亿丰建设集团股份有限公司 | Bridge anti-overturning device and construction method thereof |
| CN115652826A (en) * | 2022-07-15 | 2023-01-31 | 武汉理工大学 | Reinforcing device and reinforcing method for preventing falling beam and overturning of in-service bridge |
| CN115652826B (en) * | 2022-07-15 | 2025-10-17 | 武汉理工大学 | Reinforcing device and reinforcing method for preventing falling beam and overturning in-service bridge |
Similar Documents
| Publication | Publication Date | Title |
|---|---|---|
| CN105568853B (en) | Wide-span reinforced concrete flitch-trussed beam side position is traversing, the construction method of the beam that falls | |
| CN106087707B (en) | A kind of accessory configurations for preventing existing bridge lateral from toppling and its construction method | |
| CN111576188A (en) | Steel construction bridge antidumping structure | |
| CN105970799B (en) | A kind of construction for preventing bridge lateral from toppling and its construction method | |
| CN213038218U (en) | Predictive continuous rigid frame bridge capable of supplementing tensioning prestress | |
| CN110863563B (en) | Ultra-long cantilever and pull rod combined structure and construction method | |
| CN113356097B (en) | Angle-adjustable bridge single-column pier reinforcing device | |
| CN112853934A (en) | Novel energy-consuming and shock-absorbing type inter-tower linkage structure of framing tower-connected cable-stayed bridge | |
| CN207484288U (en) | A kind of steel-superhigh tenacity concrete light combination beam pier top bridge floor continuous structure | |
| CN113356093A (en) | Bridge single-column pier reinforcing device with elastic self-resetting function | |
| CN110820607B (en) | Parallel single-column pier bridge non-contact connection reinforcing device | |
| CN110847022A (en) | A multi-support CFST single-column pier with concrete cover beam | |
| CN212801168U (en) | Single-column pier bridge concreties antidumping reinforced structure | |
| CN113430922A (en) | Concrete-filled steel tube pier with corrugated sleeve and resettable double-column pier and construction method thereof | |
| CN210685070U (en) | Replaceable built-in profile steel inclined strut assembly type prestress energy dissipation shear wall | |
| CN210216110U (en) | Box girder bridge is assembled to split type prefabricated segment of pier top crossbeam of encorbelmenting greatly | |
| CN215518422U (en) | Anti-pulling structure assembly for resisting overturning moment of vase pier bridge | |
| CN218263465U (en) | Cable tower X supports and sets up | |
| CN212052383U (en) | Bridge beam body side anchor structure | |
| CN211713661U (en) | Multi-support steel pipe concrete single-column pier with concrete cover beam | |
| CN215051998U (en) | Novel energy-consuming and shock-absorbing type inter-tower linkage structure of framing tower-connected cable-stayed bridge | |
| CN212053177U (en) | Overlength is encorbelmented and pull rod integrated configuration | |
| CN215329416U (en) | Steel construction of uninterrupted traffic column mound bridge jacking usefulness | |
| CN213653170U (en) | Anti-overturning structure suitable for small-radius curve steel box girder | |
| CN213173358U (en) | Side span cast-in-place construction support system |
Legal Events
| Date | Code | Title | Description |
|---|---|---|---|
| PB01 | Publication | ||
| PB01 | Publication | ||
| SE01 | Entry into force of request for substantive examination | ||
| SE01 | Entry into force of request for substantive examination |