CN111544881B - Ball storage and storage device - Google Patents

Ball storage and storage device Download PDF

Info

Publication number
CN111544881B
CN111544881B CN202010405852.4A CN202010405852A CN111544881B CN 111544881 B CN111544881 B CN 111544881B CN 202010405852 A CN202010405852 A CN 202010405852A CN 111544881 B CN111544881 B CN 111544881B
Authority
CN
China
Prior art keywords
base
piece
lower support
limit
storage
Prior art date
Legal status (The legal status is an assumption and is not a legal conclusion. Google has not performed a legal analysis and makes no representation as to the accuracy of the status listed.)
Expired - Fee Related
Application number
CN202010405852.4A
Other languages
Chinese (zh)
Other versions
CN111544881A (en
Inventor
刘芳
Current Assignee (The listed assignees may be inaccurate. Google has not performed a legal analysis and makes no representation or warranty as to the accuracy of the list.)
Shandong Womens University
Original Assignee
Shandong Womens University
Priority date (The priority date is an assumption and is not a legal conclusion. Google has not performed a legal analysis and makes no representation as to the accuracy of the date listed.)
Filing date
Publication date
Application filed by Shandong Womens University filed Critical Shandong Womens University
Priority to CN202010405852.4A priority Critical patent/CN111544881B/en
Publication of CN111544881A publication Critical patent/CN111544881A/en
Application granted granted Critical
Publication of CN111544881B publication Critical patent/CN111544881B/en
Expired - Fee Related legal-status Critical Current
Anticipated expiration legal-status Critical

Links

Images

Classifications

    • AHUMAN NECESSITIES
    • A63SPORTS; GAMES; AMUSEMENTS
    • A63BAPPARATUS FOR PHYSICAL TRAINING, GYMNASTICS, SWIMMING, CLIMBING, OR FENCING; BALL GAMES; TRAINING EQUIPMENT
    • A63B71/00Games or sports accessories not covered in groups A63B1/00 - A63B69/00
    • A63B71/0036Accessories for stowing, putting away or transporting exercise apparatus or sports equipment

Landscapes

  • Health & Medical Sciences (AREA)
  • General Health & Medical Sciences (AREA)
  • Physical Education & Sports Medicine (AREA)
  • Holders For Apparel And Elements Relating To Apparel (AREA)

Abstract

球类储存收纳装置,包括有基础固定架、上支撑件、下支撑件、收纳件以及固定件,基础固定架至少包括有一网格状的骨架,其竖向安装于一立面上,并与地面保持合适间隔,上、下支撑件均包括有底座,底座开设有贯穿的球类通过口,下支撑件在通过口侧壁上开设有限位器,限位器包括有能进行伸缩运动的限位机构,该限位机构设置在下支撑件通过口侧壁上开设的限位凹槽内,当限位机构伸出时以关闭通过口,当限位机构收缩时开启通过口;上、下支撑件分别安装在骨架上,收纳件也呈网格状且其为软性材质,收纳件的上下两端分别对应安装在上支撑件与下支撑件上,上述安装操作通过固定件实现。

Figure 202010405852

The ball storage and storage device includes a base fixing frame, an upper support piece, a lower support piece, a storage piece and a fixing piece. The base fixing frame at least includes a grid-shaped skeleton, which is vertically installed on a vertical surface and is connected with the façade. The ground is kept at an appropriate interval, the upper and lower support members both include a base, and the base is provided with a ball passage opening through, and the lower support member is provided with a limiter on the side wall of the through port, and the limiter includes a limiter that can perform telescopic motion. The limit mechanism is arranged in the limit groove opened on the side wall of the passage port of the lower support. When the limit mechanism extends, the through port is closed, and when the limit mechanism is retracted, the through port is opened; the upper and lower supports The parts are respectively installed on the skeleton, the storage parts are also grid-shaped and made of soft material, the upper and lower ends of the storage parts are respectively installed on the upper support and the lower support, and the above installation operation is realized by the fixing parts.

Figure 202010405852

Description

Ball storage and storage device
Technical Field
The invention belongs to a storage device, and particularly relates to a device for storing balls.
Background
The physical education course is an important means for strengthening the physique of students and improving the literacy of the students, in the oral account of the comprehensive development of the moral intelligence body and the beauty, which is publicized vigorously in the age, the physical exercise is vigorously carried out by the response of all the people, and numerous sports projects are gradually popularized, wherein ball games are more popular. In the campus sports course, the advantages brought by ball sports are not replaceable, for example, in the university sports class which is generally executed, it is clearly pointed out that big ball projects such as basketball, football, volleyball and the like have the advantages of training the endurance, agility, strength, physical coordination and the like of students, and the students can know the importance of team consciousness and can also know the importance of division work cooperation, so that the advantages of the students are fully played, and the honor sense is improved.
But in all ball games the ball size of the big ball game is among them the larger one. The balls purchased by schools must be circumferentially consistent, which means that the ball equipment must be stored properly. On the basis, the most common basketball and football are taken as an example, wherein the basketball is generally divided into a competition ball and a daily ball, a large amount of daily balls and a small amount of competition balls are purchased for cost saving, but no matter which ball is the No. 7 size ball, the weight of the No. 7 ball is generally between 567-. The football generally adopts a No. 5 ball, namely a common normal football with the diameter between 685 and 695. Therefore, although the size of the large ball equipment is not the largest among all sports equipment, the amateurs widely make the large ball equipment in large quantity, have requirements on proper storage, have larger volume after being uniformly stored, and become a headache and anecdotal thing.
In the existing scheme, a facility for storing ball equipment in an instrument room is a ball storage basket or a ball cart, the ball storage basket is the most practical facility, balls of most large ball projects are all loaded into the storage basket, but the balls cannot be distinguished according to sports types, so that the large ball equipment such as volleyball, football and basketball are mixed together, and the size of the storage basket is inevitably larger to meet the requirement of the continuously increasing balls.
Because accomodate the basket size great, can occupy not few space, its accommodation space can't expand simultaneously, and the more expensive ball for the race need be deposited alone, and is extravagant. In summary, there is a need for a storage facility that can be expanded and has a small floor space for storing ball equipment.
Disclosure of Invention
In order to solve the technical problem, the ball storage and storage device comprises a basic fixing frame, an upper supporting piece, a lower supporting piece, a storage piece and a fixing piece, wherein the basic fixing frame at least comprises a latticed framework which is vertically arranged on a vertical face and keeps a proper interval with the ground; the upper support member and the lower support member are respectively installed on the framework, the containing member is also in a grid shape and made of soft materials, the upper end and the lower end of the containing member are respectively and correspondingly installed on the upper support member and the lower support member, and the installation operation is realized through the fixing member.
On the basis of the technical scheme, the limiting device comprises a limiting plate, a limiting spring, an electromagnetic device and an armature, a limiting groove is formed in the side wall of the through opening of the lower supporting piece, one end of the limiting plate is arranged in the limiting groove through the rotating shaft in a rotating mode, the other end of the limiting plate is fixed with the limiting groove through the limiting spring, the electromagnetic device is further arranged in the limiting groove, the armature which is matched with the electromagnetic device in a magnetic mode is arranged on the limiting plate, when the electromagnetic device is powered off, the spring pushes the limiting plate to stretch out from the limiting groove to prevent balls from passing through, when the electromagnetic device is powered on, the armature is connected with the magnetic device in a magnetic mode.
On above-mentioned technical scheme's basis, the mounting includes first latch assembly, and first latch assembly is including plug-in components and the latch fitting that has the slot, and the slot is formed by many recess intercrossings, and the plug-in components are installed in the base outside and the slot outwards, and the plug-in components insert the frame cross node of frame structure spare through the slot on, add the frame structure spare through the latch fitting and hold in the centre and through threaded connection latch fitting and plug-in components.
On the basis of the technical scheme, the fixing piece further comprises a second locking assembly, the second locking assembly comprises an annular plate, a limiting flange is arranged on the inner ring edge of the annular plate in a surrounding mode, a containing groove for inserting the limiting flange is formed in the outer surface of the base, the containing groove surrounds the edge of the passing hole, a closed cavity is formed after the limiting flange is inserted into the containing groove, the vertical height h of the cavity is smaller than or equal to the thickness of the containing piece, the end portion of the containing piece slides into the containing groove, the limiting flange of the annular plate is aligned to the containing groove to be inserted into the base and is fixed on the base through threads, and the containing groove of the upper support piece and the containing groove of the lower support piece are arranged on.
On the basis of the technical scheme, the base fixing frame further comprises a base in a frame shape, the framework is arranged in the frame, threaded holes are formed in the periphery of the base, and the base is fixed through threads.
On the basis of the technical scheme, the number of the frameworks is two, the two frameworks are respectively arranged at the front end and the rear end in the base, and the frameworks are matched at intervals.
On the basis of the technical scheme, the adjustable structural part comprises a covering plate, a threaded rod arranged in front of the covering plate and a fixing nut arranged on the threaded rod, wherein a first locking piece is arranged behind the covering plate, the covering plate is arranged on a basic fixing frame through the first locking piece, and a base is in sliding fit with the threaded rod and is fixed on the threaded rod by using the fixing nut.
Has the advantages that: 1. the invention can better contain ball equipment, can not touch the ground and does not occupy limited ground space; 2. the framework of the basic fixing frame is provided with a plurality of grids, the upper support member and the lower support member can freely select positions on the framework, the mutual distance or the ground clearance can be freely adjusted, and if the distance between the upper support member and the lower support member is increased, the accommodating members with larger sizes can be conveniently replaced, and more ball equipment can be accommodated; 3. the accommodating piece is arranged on the base through the first locking component, the contact area of the accommodating piece and the base is larger, the accommodating piece is integrally fixed in a large area, the fixing stability is good, the service life of the accommodating piece is effectively prolonged, and the defects of traditional threaded direct connection and other rough connection modes are avoided; 4. through the mode that the electromagnetic induction principle and spacing spring combined together, reduced the volume of stopper, reduced the reaction time of stopper, can be faster carry out spacing operation, the structure compares traditional motion simply many.
Drawings
FIG. 1 is an exploded side view of the present invention.
Fig. 2 is a front view of the basic fixture of the present invention.
Fig. 3 is a schematic perspective view of the base structure of the basic fixing frame of the present invention.
Fig. 4 is a schematic perspective view of the basic fixing frame of the present invention.
Fig. 5 is a partial cross-sectional view of fig. 1 of the present invention.
Fig. 6 is an exploded perspective view of the first latch assembly of the present invention.
Fig. 7 is a cross-sectional view of the lower support member according to the first usage state of the present invention.
FIG. 8 is a cross-sectional view of the lower support member of the present invention in a second use state.
Fig. 9 is a top view of the upper support of the present invention.
Fig. 10 is an enlarged partial schematic view of fig. 9 of the present invention.
FIG. 11 is a top view of the lower support of the present invention.
FIG. 12 is a schematic perspective view of a second latch assembly of the present invention.
Detailed Description
The first embodiment.
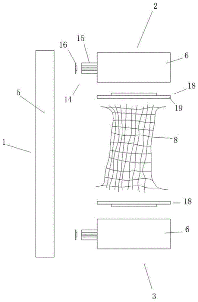
Referring to fig. 1 to 5 and 7 to 11, there is shown a combined storage device, in which the base frame 1 is placed on a stable vertical surface, such as a building vertical surface, and the rest of the device is directly or indirectly mounted on the base frame 1 at a suitable distance from the ground. The proper distance means that a male with normal height can put balls into or put or throw the balls into the product for storage and storage, and the balls can be taken out when the balls need to be used, so that the basic fixing frame 1, the upper supporting piece 2 and the lower supporting piece 3 are arranged at the height matched with the height of a human body.
In this embodiment, the main body of the base fixing frame 1 is a frame 4, and the frame 4 is a grid-shaped structural member, which is not limited to a material, and can be installed on a vertical surface by a fixing screw.
The upper supporting member 2 is similar to the lower supporting member 3 in structure, and the upper supporting member 2 is taken as an example, and the main body thereof is a base 6, and the base 6 is provided with a through opening 7 for balls to pass through and be accommodated. The lower support member 3 includes the whole structure of the upper support member 2, and the difference is that a stopper is further arranged on the through opening 7 of the lower support member 3, the stopper is arranged on a limit groove 9 on the side wall of the through opening 7 of the lower support member 3, the main body of the stopper is a mechanism capable of performing telescopic action, such as a part of reciprocating linear motion mechanism, and the reciprocating linear motion mechanism can adopt a four-bar motion mechanism, a rack and pinion motion mechanism and the like. When the limiter is in an extending state, the limiting mechanism of the limiter extends out of the limiting groove 9 and enters the passing opening 7 to prevent balls from falling from the passing opening 7; when the limiter is in a contraction state, the limiting mechanism of the limiter retracts into the limiting groove 9 from the through hole 7, so that balls can smoothly drop through the through hole 7.
When the device is installed, the base 6 of the upper supporting piece 2 is installed and fixed on the framework 4 by using the fixing piece, then the lower supporting piece 3 is installed on the framework 4 through the fixing piece according to a proper height, and the lower supporting piece 3 is located below the upper supporting piece 2. And finally, the upper end and the lower end of the accommodating part 8 are respectively arranged on the upper supporting part 2 and the lower supporting part 3, and the installation and fixation can still be realized through fixing parts.
The mounting can be prior art, but not single fixed mode, also not single structure, but increase or reduce the structure for fixing according to the fixed demand difference, for example when fixing base 6 installation on skeleton 4, prior art can provide a fixed steel sheet and a fixing bolt, use fixed steel sheet cooperation base 6 with skeleton 4 centre gripping, and use fixing bolt to pass fixed steel sheet, the net space of skeleton 4 in proper order, finally insert and realize installation and fixed on base 6, can use many sets of above-mentioned mountings to realize the installation on base 6 as required, in order to increase the stability of installation. When the accommodating part 8 is installed and fixed on the base 6, for example, a bolt and gasket scheme is used, a proper gasket is selected according to the size of the grid of the accommodating part 8, the gasket size is ensured to be larger than the grid size of the accommodating part 8, and the area covered by the gasket is ensured to be larger than the area of one grid. When the bolt is installed, firstly, a gasket is sleeved on the bolt, then, the bolt penetrates through the latticed accommodating piece 8 and is inserted into the base 6, and then installation and fixation are completed. The above-described solution of the fixing element is an example, and other possible solutions can be adopted according to the prior art. The receptacle 8 is mounted below its base 6 for the upper support 2 and above its base 6 for the lower support 3.
In this embodiment, there is a modification that the base fixing frame further includes a base 5, and the base 5 is a frame structure as shown in fig. 2 to 4, and surrounds the framework therein and is fixedly connected to the framework, so as to improve stability and strength of the framework. Simultaneously for the installation and the fixed effect of improvement upper and lower support piece, the quantity of skeleton is two (as shown in figure 4), and keeps interval or clearance fit between two skeletons, has better spacing effect.
Example two
This embodiment provides a preferred version of the stop.
According to the scheme, the limiting plate 10 extends out of the limiting groove 9 through the limiting spring 11, and the limiting plate 10 is contracted through the combination of the electromagnetic device 12 and the armature 13, as shown in fig. 7 and 8, the size of the purchased ball is determined substantially in time, so that the specification of the selected limiting spring 11 is easily obtained, the ball can be prevented from passing through after the limiting plate 10 is ejected, meanwhile, the distance between the electromagnetic device 12 and the armature 13 is reasonably set, the limiting plate 10 is guaranteed to be sucked back when the electromagnetic device 12 is electrified, and the ball can fall from the passing opening 7 at the moment. The above effects can be obtained by a limited number of experiments.
EXAMPLE III
This embodiment provides a preferred technique for the fastener. This preferred embodiment has a single use.
A first latch assembly 14 and a second latch assembly 18 are provided, which act on different parts. The first locking element 14 is shown in fig. 6 (bolts are not shown), the insert 15 of which has a fork-shaped or X-shaped slot 17, which is formed by a plurality of grooves intersecting one another, the course and angle of the grooves being determined by the grid of the skeleton 4.
The insert 15 of the first locking assembly 14 is pre-fixed to the side wall of the base 6, the slot 17 of the insert 15 is inserted in alignment with the intersection of the grid of the framework 4, and the locking element 16 is fixed to the insert 15 from the other side of the framework 4. The insert 15 and the locking piece 16 may be provided with corresponding threaded holes for fastening with bolts.
As shown in fig. 9 to 10 and 12, the second locking assembly 18 is a ring-shaped plate 19, and the rest of the second locking assembly 18 includes bolts. The plate is annular, the middle of the plate is provided with a hole, the edge of the inner ring of the hole is provided with a flange 20 in a surrounding way, correspondingly, the outer surface of the base 6 is provided with a containing groove 21 opposite to the flange 20, and the containing groove 21 is positioned at the edge of the through hole 7. The second locking assembly 18 is used for mounting the accommodating member 8 on the base 6, and during mounting, a part of the top of the accommodating member 8 needs to be turned outwards, the outer edge of the turned part is pushed into the accommodating groove 21, the flange 20 of the annular plate 19 is inserted into the accommodating groove 21 in alignment, the accommodating member 8 is mounted and fixed on the base 6 by extruding the turned part, and finally the annular plate 19 is fixed on the base 6 by screwing. It should be noted that, since the two ends of the receiving member 8 are fixed on different bases 6, the top end of the receiving member 8 is mounted on the lower surface of the base 6 of the upper support 2, and the bottom end of the corresponding receiving member 8 is mounted on the upper surface of the base 6 of the lower support 3, which are collectively referred to as the outer surface of the base 6 for the sake of simplifying the description.
There is also a modification of the second locking assembly 18 that allows the number of receiving grooves 21 to be increased on the outer surface of the base 6, as shown in fig. 9 and 10, the number of receiving grooves 21 is plural and is diffused in the form of water wave, and a communication groove is correspondingly formed between adjacent receiving grooves 21 toward the center of the through port 7 to communicate with the adjacent receiving grooves 21. The accommodating groove 21 is more suitable for the shape of the accommodating piece 8 after being turned, and the turned part of the accommodating piece 8 (such as a net bag) is generally diffused, so that more turned parts can be inserted into the accommodating groove 21, more parts of the accommodating piece 8 can be fixed after the annular plate 19 is installed in place, and the fixing effect is improved. In the conventional fixing method of the container 8, only the edge portion of the end of the container 8 is usually threaded with a fixing member (shaped like a key ring) having a shape similar to a hanging ring, and thus the fixing method may easily cause the container 8 to break in long-term use. When the second latch assembly 18 is used, the end of the container 8 can be fixed as much as possible, rather than only one edge, which improves the service life of the container 8.
It should be noted that, in the present embodiment, two solutions of the fixing member are provided, but the fixing member is not meant to be only two examples, and the fixed member or component may be the fixing member as long as the operation of mounting or fixing can be performed. And obviously, the traditional mounting and fixing mode cannot be used, and the fixing piece cannot be named as a fixing piece, such as a limiting spring 11 fixed by welding or adhesive. As described in the first embodiment, the two skeletons are spaced apart from each other, so that to ensure the fixing effect, the size of the insert of the first locking component (as shown in fig. 1 or 5, which is a side view, the size of the insert should be the width of the insert) should be greater than or equal to the distance between the two skeletons, so as to avoid that the insert cannot be completely inserted or covered because the skeletons are too far apart.

Claims (3)

1.球类储存收纳装置,其特征在于,包括有:1. Ball storage and storage device, characterized in that, it includes: 基础固定架,基础固定架至少包括有一网格状的骨架,其竖向安装于一立面上,并与地面保持合适间隔;The base fixing frame, the base fixing frame at least includes a grid-shaped skeleton, which is vertically installed on a facade and maintains a proper interval with the ground; 上支撑件,其包括有底座,底座开设有贯穿的球类通过口;The upper support includes a base, and the base is provided with a ball passage opening through; 下支撑件,其具有上支撑件全部结构,且下支撑件在通过口侧壁上设有限位器,用以限制球类穿过下支撑件的通过口;The lower support has the entire structure of the upper support, and the lower support is provided with a stopper on the side wall of the passage port to restrict the balls from passing through the passage port of the lower support; 收纳件,也呈网格状且为软性材质,收纳件的上下两端分别对应安装在上支撑件与下支撑件上,并连通两个底座的通过口,以便球类从上支撑件的通过口穿过并进入收纳件内,最终被下支撑件的限位器阻挡;The storage piece is also grid-shaped and made of soft material. The upper and lower ends of the storage piece are respectively installed on the upper support piece and the lower support piece, and communicate with the passage ports of the two bases, so that the balls can pass from the upper support piece. Pass through the opening and enter into the storage part, and finally be blocked by the limiter of the lower support; 固定件,其将上、下支撑件分别安装并固定在骨架上;A fixing piece, which installs and fixes the upper and lower support pieces on the skeleton respectively; 限位器包括有能进行伸缩运动的限位机构,该限位机构设置在下支撑件通过口侧壁上开设的限位凹槽内,当限位机构伸出时以关闭通过口,当限位机构收缩时开启通过口,限位器包括有限位板、限位弹簧、电磁装置以及衔铁,下支撑件的通过口侧壁开设有限位凹槽,限位板的一端通过转轴转动的设置在限位凹槽内,另一端通过限位弹簧与限位凹槽固定,限位凹槽内还设置有电磁装置,在限位板上设置有与电磁装置磁性配合的衔铁,当电磁装置断电时弹簧推动限位板从限位凹槽伸出以阻止球类通过,当电磁装置通电时衔铁与其磁性连接,带动限位板缩回限位凹槽内,固定件包括第一锁扣组件,第一锁扣组件包括有带有插槽的插件与锁件,插槽由多条凹槽相互交叉形成,插件安装在底座外侧且插槽向外,插件通过插槽插入到骨架的网格交叉的节点上,通过锁件将骨架加持在中间并通过螺纹连接锁件与插件,固定件还包括第二锁扣组件,第二锁扣组件包括有环状板,环状板内环边缘环绕的设置有限位凸缘,底座外表面开设有供限位凸缘插入的容置槽,容置槽环绕在通过口边缘,当限位凸缘插入容置槽后形成一封闭的空腔,该空腔垂直高度小于等于收纳件的厚度,当收纳件端部滑入到容置槽内,将环状板的限位凸缘对准容置槽插入并通过螺纹固定在底座上,上、下支撑件的容置槽开设在两者的底座相对的表面上。The limiter includes a limit mechanism capable of telescopic movement, the limit mechanism is arranged in the limit groove opened on the side wall of the passage port of the lower support, and when the limit mechanism extends, the through port is closed. When the mechanism is retracted, the passage port is opened. The limiter includes a limit plate, a limit spring, an electromagnetic device and an armature. The side wall of the passage port of the lower support is provided with a limit groove, and one end of the limit plate is rotated by the rotating shaft. In the position groove, the other end is fixed with the limit groove by a limit spring, an electromagnetic device is also arranged in the limit groove, and an armature which is magnetically matched with the electromagnetic device is arranged on the limit plate. When the electromagnetic device is powered off The spring pushes the limit plate to protrude from the limit groove to prevent the balls from passing through. When the electromagnetic device is energized, the armature is magnetically connected with it, and drives the limit plate to retract into the limit groove. A lock assembly includes a plug-in with a slot and a lock. The slot is formed by a plurality of grooves intersecting with each other. The plug-in is installed on the outside of the base and the slot is outward. The plug-in is inserted into the grid of the skeleton through the slot. On the node, the skeleton is supported in the middle by the lock piece, and the lock piece and the inserter are connected by thread, and the fixing piece also includes a second lock catch component, and the second lock catch component includes a ring-shaped plate, and the inner ring edge of the ring-shaped plate is surrounded by the setting The limiting flange, the outer surface of the base is provided with an accommodating groove for inserting the limiting flange, the accommodating groove surrounds the edge of the passage opening, and a closed cavity is formed after the limiting flange is inserted into the accommodating groove, and the cavity is The vertical height is less than or equal to the thickness of the receiving part. When the end of the receiving part slides into the accommodating groove, insert the limiting flange of the annular plate into the accommodating groove and fix it on the base by threads. The upper and lower supporting parts The accommodating grooves are opened on the opposite surfaces of the bases of the two. 2.如权利要求1所述的球类储存收纳装置,其特征在于,基础固定架还包括有一框架形状的基座,骨架设置在基座内,基座四周开设有螺纹孔并通过螺纹实现固定。2 . The ball storage and storage device according to claim 1 , wherein the base fixing frame further comprises a frame-shaped base, the skeleton is arranged in the base, and the base is provided with threaded holes around it and is fixed by means of threads. 3 . . 3.如权利要求2所述的球类储存收纳装置,其特征在于,骨架为两个,分别安装在基座内的前端与后端,且骨架之间间隔配合。3 . The ball storage and storage device according to claim 2 , wherein there are two skeletons, which are respectively installed at the front end and the rear end in the base, and the skeletons are fitted at intervals. 4 .
CN202010405852.4A 2020-05-14 2020-05-14 Ball storage and storage device Expired - Fee Related CN111544881B (en)

Priority Applications (1)

Application Number Priority Date Filing Date Title
CN202010405852.4A CN111544881B (en) 2020-05-14 2020-05-14 Ball storage and storage device

Applications Claiming Priority (1)

Application Number Priority Date Filing Date Title
CN202010405852.4A CN111544881B (en) 2020-05-14 2020-05-14 Ball storage and storage device

Publications (2)

Publication Number Publication Date
CN111544881A CN111544881A (en) 2020-08-18
CN111544881B true CN111544881B (en) 2021-05-11

Family

ID=71998613

Family Applications (1)

Application Number Title Priority Date Filing Date
CN202010405852.4A Expired - Fee Related CN111544881B (en) 2020-05-14 2020-05-14 Ball storage and storage device

Country Status (1)

Country Link
CN (1) CN111544881B (en)

Citations (7)

* Cited by examiner, † Cited by third party
Publication number Priority date Publication date Assignee Title
WO2009014012A1 (en) * 2007-07-25 2009-01-29 Kyouwagiken Co., Ltd. Ball rotation adjustment device, attachment for ejection device, and ball ejection device
CN203748967U (en) * 2014-03-13 2014-08-06 中山市东港家具制造有限公司 Screen clip combined structure
CN205549503U (en) * 2016-04-08 2016-09-07 江西锐胜台球制造有限公司 Ball bag and billiard table with independent inside lining
CN205683514U (en) * 2016-05-31 2016-11-16 华电(北京)热电有限公司 Collapsible ball storage device
CN108211304A (en) * 2018-03-09 2018-06-29 陈满林 A kind of volleyball service equipment for sport
CN208193593U (en) * 2018-01-19 2018-12-07 济宁学院 Shuttlecock automatic pitching machine
CN208372418U (en) * 2018-06-30 2019-01-15 湖南人文科技学院 A kind of shuttlecock shaping device

Family Cites Families (1)

* Cited by examiner, † Cited by third party
Publication number Priority date Publication date Assignee Title
US7806259B2 (en) * 2004-12-21 2010-10-05 Rubbermaid Incorporated Sport ball container

Patent Citations (7)

* Cited by examiner, † Cited by third party
Publication number Priority date Publication date Assignee Title
WO2009014012A1 (en) * 2007-07-25 2009-01-29 Kyouwagiken Co., Ltd. Ball rotation adjustment device, attachment for ejection device, and ball ejection device
CN203748967U (en) * 2014-03-13 2014-08-06 中山市东港家具制造有限公司 Screen clip combined structure
CN205549503U (en) * 2016-04-08 2016-09-07 江西锐胜台球制造有限公司 Ball bag and billiard table with independent inside lining
CN205683514U (en) * 2016-05-31 2016-11-16 华电(北京)热电有限公司 Collapsible ball storage device
CN208193593U (en) * 2018-01-19 2018-12-07 济宁学院 Shuttlecock automatic pitching machine
CN108211304A (en) * 2018-03-09 2018-06-29 陈满林 A kind of volleyball service equipment for sport
CN208372418U (en) * 2018-06-30 2019-01-15 湖南人文科技学院 A kind of shuttlecock shaping device

Also Published As

Publication number Publication date
CN111544881A (en) 2020-08-18

Similar Documents

Publication Publication Date Title
US12427386B2 (en) Multiple game device
CN110623423A (en) Game table and its corner components
CA3023052C (en) Sports system and method of use
CN111544881B (en) Ball storage and storage device
US20210354015A1 (en) Portable game assembly
US8528910B2 (en) Wall-mountable game device
CN112350185A (en) Multilayer combined outdoor power distribution cabinet
CN105029908A (en) Combination type tea table with multi-functional fitness function
KR101136977B1 (en) Prefabricated furniture having various uses
CN208660281U (en) A multifunctional table tennis table for physical education equipment
KR101463921B1 (en) One Body Type Net Package for making playgrounds of net sport
US8579111B2 (en) Basketball storage system
CN209047612U (en) A kind of adjustable file management cabinet
CN201719778U (en) Basketball board
CN205440471U (en) Conveniently get ball storage dolly of putting
CN221905701U (en) Sport equipment accomodates frame
CN208356045U (en) Multi-function ball pocket
CN212630292U (en) Sports equipment sharing cabinet for enterprise
CN204582467U (en) Multi-functional lobby ball-collecting rack in a kind of sports equipment
CN106422225B (en) A kind of sports goods storage and transportation device
CN218046394U (en) Badminton net rack convenient to assemble
CN220442227U (en) Medium density fiberboard round cabinet with sliding door
CN213407669U (en) Movable basket ring for children
CN209225196U (en) Portable moving device of sports apparatus
CN220175994U (en) Temporary table tennis table convenient to assemble

Legal Events

Date Code Title Description
PB01 Publication
PB01 Publication
SE01 Entry into force of request for substantive examination
SE01 Entry into force of request for substantive examination
GR01 Patent grant
GR01 Patent grant
CF01 Termination of patent right due to non-payment of annual fee

Granted publication date: 20210511

CF01 Termination of patent right due to non-payment of annual fee