CN111520775B - 加热烹调器 - Google Patents

加热烹调器 Download PDF

Info

Publication number
CN111520775B
CN111520775B CN201910831220.1A CN201910831220A CN111520775B CN 111520775 B CN111520775 B CN 111520775B CN 201910831220 A CN201910831220 A CN 201910831220A CN 111520775 B CN111520775 B CN 111520775B
Authority
CN
China
Prior art keywords
door
air
heating chamber
opening
heating
Prior art date
Legal status (The legal status is an assumption and is not a legal conclusion. Google has not performed a legal analysis and makes no representation as to the accuracy of the status listed.)
Active
Application number
CN201910831220.1A
Other languages
English (en)
Other versions
CN111520775A (zh
Inventor
本间满
川村光辉
关真人
Current Assignee (The listed assignees may be inaccurate. Google has not performed a legal analysis and makes no representation or warranty as to the accuracy of the list.)
Hitachi Global Life Solutions Inc
Original Assignee
Hitachi Global Life Solutions Inc
Priority date (The priority date is an assumption and is not a legal conclusion. Google has not performed a legal analysis and makes no representation as to the accuracy of the date listed.)
Filing date
Publication date
Application filed by Hitachi Global Life Solutions Inc filed Critical Hitachi Global Life Solutions Inc
Publication of CN111520775A publication Critical patent/CN111520775A/zh
Application granted granted Critical
Publication of CN111520775B publication Critical patent/CN111520775B/zh
Active legal-status Critical Current
Anticipated expiration legal-status Critical

Links

Images

Classifications

    • FMECHANICAL ENGINEERING; LIGHTING; HEATING; WEAPONS; BLASTING
    • F24HEATING; RANGES; VENTILATING
    • F24CDOMESTIC STOVES OR RANGES ; DETAILS OF DOMESTIC STOVES OR RANGES, OF GENERAL APPLICATION
    • F24C15/00Details
    • F24C15/02Doors specially adapted for stoves or ranges
    • AHUMAN NECESSITIES
    • A47FURNITURE; DOMESTIC ARTICLES OR APPLIANCES; COFFEE MILLS; SPICE MILLS; SUCTION CLEANERS IN GENERAL
    • A47JKITCHEN EQUIPMENT; COFFEE MILLS; SPICE MILLS; APPARATUS FOR MAKING BEVERAGES
    • A47J37/00Baking; Roasting; Grilling; Frying
    • A47J37/06Roasters; Grills; Sandwich grills
    • A47J37/0623Small-size cooking ovens, i.e. defining an at least partially closed cooking cavity
    • A47J37/0629Small-size cooking ovens, i.e. defining an at least partially closed cooking cavity with electric heating elements
    • AHUMAN NECESSITIES
    • A47FURNITURE; DOMESTIC ARTICLES OR APPLIANCES; COFFEE MILLS; SPICE MILLS; SUCTION CLEANERS IN GENERAL
    • A47JKITCHEN EQUIPMENT; COFFEE MILLS; SPICE MILLS; APPARATUS FOR MAKING BEVERAGES
    • A47J37/00Baking; Roasting; Grilling; Frying
    • A47J37/06Roasters; Grills; Sandwich grills
    • A47J37/0623Small-size cooking ovens, i.e. defining an at least partially closed cooking cavity
    • A47J37/0664Accessories

Landscapes

  • Engineering & Computer Science (AREA)
  • Food Science & Technology (AREA)
  • Chemical & Material Sciences (AREA)
  • Combustion & Propulsion (AREA)
  • Mechanical Engineering (AREA)
  • General Engineering & Computer Science (AREA)
  • Electric Stoves And Ranges (AREA)
  • Baking, Grill, Roasting (AREA)

Abstract

本发明提供抑制从加热室内向门部传递的热并提高门部的冷却效果的加热烹调器。具备在主体(1)的上表面载置被烹调锅的锅载置部(21)和配置于锅载置部的下方的炙烤箱(5)。炙烤箱(5)具备加热室(50)和覆盖加热室的开口部且为了将食品拿出放入加热室(50)内而能前后移动的门部(6)。门部(6)是在内部具有空间的箱体,具备形成于箱体的吸气用开口(61b)和相比吸气用开口位于上方且形成于箱体的侧面的排气用开口(62a)。在加热室(50)的开口部的外侧具备凸缘部(50a),在凸缘部(50a)和与凸缘部(50a)对置的门部(6)之间设置间隙(68),间隙(68)构成在门部(6)的上下方向上贯通的风道,使排气用开口(62a)与该风道连通。

Description

加热烹调器
技术领域
本发明涉及一种具备炙烤箱的加热烹调器。
背景技术
一般地,炙烤箱大多是利用相对于鱼等食品(被烹调物)上下配置的护套式加热器、煤气燃烧器等热源来同时加热被烹调物的两面。
在该炙烤箱的加热室内,除了利用热源的辐射热来加热食品的炙烤烹调之外,还通过加热室内的温度控制,进行例如与披萨或糕点、蛋糕等多种烹调菜单对应的烤箱烹调。因此,炙烤箱的使用频度、高温保持时间增加。在炙烤箱的加热室内具备热敏电阻等温度传感器,基于温度传感器的检测值来进行温度控制。
炙烤箱在加热烹调器的正面侧具有开口部,并以覆盖该开口部的方式设有门部。一般是在使用者向加热室内载置食品时拉拽门部的把手来敞开的构造。若在炙烤箱中进行加热烹调,则箱内温度因热源所供给的热量而上升,与此相伴随地门部温度也上升。虽然门部的外表面温度成为100℃以上的高温,但对于使用者在门部的开闭时所触碰的把手而言成为热量难以传递的结构。从进一步提高安全性的方面看,期望降低门部的外表面温度。作为用于降低门部的外表面温度的技术,例如有专利文献1及专利文献2。
专利文献1中公开如下技术:设置具有手柄并开闭炙烤箱的开口部的门,该门由面向开口部的内壁和面向外部的外壁构成,并且设有用于使空气向形成于内、外壁之间的空气层流通的导入孔及排出孔。
并且,专利文献2中公开如下技术:具备覆盖炙烤箱的开口部的炙烤门,该炙烤门由玻璃所形成的玻璃门前板和保持该炙烤门前板的金属制的前板保持部件构成,并在玻璃门前板与前板保持部件之间设有预定间隔的空气绝热层。
现有技术文献
专利文献
专利文献1:日本特开2006-200831号公报
专利文献2:日本特开2009-213684号公报
发明内容
发明所要解决的课题
一般的炙烤箱利用使烹调中的热源温度为500℃以上的辐射热来加热食品,加热室内的温度上升至200℃以上。因此,与内部空气接触而传导热能的门部的表面温度达到100℃以上的高温。由于配置于主体正面的门部位于与烹调时的使用者面对的一侧,所以从安全性提高方面看,期望降低门部的温度。
在专利文献1所记载的技术中,是相对于门内部的空气层设置导入孔及排出孔来利用自然对流使空气层流动的结构,但由于空气的流动起因于外壁温度,所以手柄侧的门温度与流动性能成为此消彼长(trade-off)的关系。即、利用自然对流使空气层流动是为了使热量从加热箱散逸至门,由于门温度较高从而可促进空气层的流动。若门温度降低某程度,则空气层的流动变小,传热变小。这指的是在仅利用空气层的流动的情况下,门的温度未充分地降低而饱和。
在专利文献2所记载的技术中,通过设置空气绝热层来遮断向炙烤门前板传递的热,但烹调时的前板保持部件成为150℃至200℃以上,厚度为10mm至20mm左右的空气绝热层的话中降低炙烤门前板的温度是不充分的。在使用空气绝热层那样的较低的导热率的情况下,炙烤门前板的温度根据前板保持部件的温度并由起因于导热率的温度梯度决定,炙烤门前板的温度同炙烤门前板与前板保持部件的距离成比例地降低。在加热烹调器中,因设置空间的制约等,难以充分确保炙烤门前板与前板保持部件的距离。因此,形成空气绝热层的炙烤门前板与前板保持部件的距离为10mm至20mm左右,在烹调时,遮断从成为150℃至200℃以上的前板保持部件向炙烤门前板传递的热,从而并未充分降低炙烤门前板的温度。
本发明的目的在于解决上述课题,提供一种加热烹调器,即、在组装于加热烹调器的炙烤箱中,抑制从加热室内传递的热,提高门部的冷却效果。
用于解决课题的方案
为了实现上述目的,本发明的特征在于,具备:主体;锅载置部,其是上述主体的上表面并载置被烹调锅;以及炙烤箱,其配置于上述锅载置部的下方,上述炙烤箱具备:加热室;门部,其覆盖上述加热室的开口部,并且为了将食品拿出放入上述加热室内而能够前后移动;食品载置部,其与上述门部连动地将食品收纳于上述加热室;以及加热机构,其加热上述食品,上述门部是在内部具有空间的箱体,配设有形成于上述箱体的吸气用开口和相比上述吸气用开口位于上方的排气用开口,在上述加热室的上述开口部的外侧具备与上述门部对置的凸缘部,上述凸缘部和与该凸缘部对置的上述门之间的间隙构成在上述门的上下方向上贯通的风道,在该风道设有上述排气用开口。
发明的效果如下。
根据本发明,能够提供一种加热烹调器,即、在组装于加热烹调器的炙烤箱中,抑制从加热室内传递的热,提高门部的冷却效果。
附图说明
图1是本发明的实施例1的加热烹调器的立体图。
图2是图1所示的加热烹调器的分解立体图。
图3是在图1所示的C-C线处剖切的主视剖视图。
图4是在图1所示的A-A线处剖切的侧视剖视图。
图5是图4的炙烤箱的示意图。
图6是图5的炙烤箱的俯视剖视图。
图7是图4的门部的分解立体图。
图8示出图7的炙烤箱的门部的变形例1的图。
图9是示出本发明的门冷却现象的简图。
图10是示出图5的炙烤箱的变形例2的图。
图11是示出图10的炙烤箱的俯视剖视图。
图12是示出图10的炙烤箱的变形例3的图。
图13是示出图5的炙烤箱的变形例4的图。
图14是图12的炙烤箱的俯视剖视图。
图15是在图1所示的B-B线处剖切的侧视剖视图。
图16是本发明的实施例2的炙烤箱5的侧视剖面的示意图。
图17是图16的炙烤箱的俯视剖视图。
图18是本发明的实施例3的炙烤箱5的侧视剖面的示意图。
图19是本发明的实施例4的炙烤箱5的侧视剖面的示意图。
符号的说明
1—主体,2—顶板,3—加热线圈,5—炙烤箱,6—门部,7—基板,8—基板壳体,50—加热室,50a—凸缘部,50b—通气口,51—上加热器,52—下加热器,53—承接盘,54—网台,p—食品,58—烹调锅,59—排气通道,60—前板,60a—风道,61—门基座,61a—把手,61b、62b—吸气用开口,61d—肋,62—框架,62a—排气用开口,63—隔热层,64—分隔板,65—密封件,66—窗部,68—间隙(风道),98—空气流(上升气流),99—空气流,100—排气流。
具体实施方式
以下,适当地参照附图对本发明的实施例进行详细说明。此外,在本发明的各实施例中,以面向加热烹调器Z(参照图1)的用户的视线为基准,如图1等所示地定义前后、上下、左右。此外,在本发明的各实施例中,作为加热烹调器,以具有炙烤箱的内置型的IH电磁炉(Induction Heating)为例进行说明,但若本发明是具有炙烤箱的加热烹调器,则也能够容易地应用于固定型的IH电磁炉或者内置型或固定型的煤气灶。
实施例1
<加热烹调器的整体结构>
图1是本发明的实施例1的加热烹调器Z的立体图,图2是图1的分解立体图,图3是在图1所示的C-C线处剖切的主视剖视图,图4是在图1所示的A-A线处剖切的侧视剖视图,图5是图4的示意图。
实施例1的加热烹调器Z是在金属制的被烹调锅(未图示)的锅底产生涡流,该涡流所产生的焦耳热使被烹调锅其本身发热的装置。
图2中,通过向加热线圈3流动例如20kHz~40kHz左右的高频电流并使磁通随时间变化,来产生上述的涡流。加热烹调器Z主要具备主体1、顶板2、加热线圈3、基板壳体8以及炙烤箱5。
主体1是具有与设置加热烹调器Z的空间(预定的左右宽度、前后宽度、高度)对应的外部轮廓的箱体,并呈上方敞开的箱状(凹状)。在该主体1,在左侧设置有炙烤箱5,在右侧设置有基板壳体8,并且设置有位于上述部件的上方的加热线圈3、显示部P1等,另外以从上覆盖的方式设置有顶板2。在主体1的前表面左侧的炙烤箱5设有前后滑动来开闭并用于设置食品(未图示)的门部6。此外,在图7以后的附图中对实施例1的门部6进行详细说明。
在主体1的正面右侧设有主要用于调整炙烤箱5内的加热程度的操作面板P2和进行主电源的通断的电源开关P3。顶板2具有与三个加热线圈3的设置位置对应的三个锅载置部21、用于调整载置于锅载置部21的被烹调锅的火候的操作部P0、以及排气开口部H2。此外,排气开口部H2配置于顶板2的后方(右侧、左侧),并在其上方设有排气罩25。
基板壳体8为了使主体组装性变得良好而收纳有基板7、风扇装置9等电气部件。在基板壳体8的基板7的主体1背面侧设有冷却用的风扇装置9,成为从设于主体1背面的吸气开口部H1吸入外部空气并朝向基板7吹出的结构。
加热线圈3设置于顶板2的锅载置部21下方,并在其中心附近设置有检测锅底的温度的温度传感器34。并且,加热线圈3配置于离开风扇装置9的下游侧,从风扇装置9的吐出口95吹出的冷却风在冷却基板壳体8内的基板7后,经由通道D1对加热线圈3进行冷却。该管道D1与各加热线圈3的下表面面对。即、以从风扇装置9吹出的空气朝向三个加热线圈3分流的方式将通道D1与基板壳体8连接。由此,对设置于左右和中央里侧的加热线圈3,从下侧直接吹送来自风扇装置9的空气,来冷却加热线圈3。
加热线圈3是通过基板7的逆变电路(未图示)的驱动而流动高频电流的涡旋状的电线,载置于线圈基座31。此外,实施例1中,在俯视时在右、左、中央里侧各设置一个加热线圈3。线圈基座31由三个支撑部32(例如弹簧)支撑,并由该支撑部32施加朝上的作用力。由此,加热线圈被推压至顶板2的下表面,并且被烹调锅与加热线圈3的距离保持恒定。
图3是在图1所示的C-C线处剖切的主视剖视图。主体1内的配置为,当从正面观察时,在上侧的顶板2附近配置有加热线圈3,在左下配置有炙烤箱5的加热室50,在右下配置有基板壳体8。
基板壳体8是收纳基板7和风扇装置9的树脂制的容器,在基板7安装电子部件71或高发热元件72、散热片79,风扇装置9经由基板壳体8内的风道使空气流通,并且在主体1内,基板壳体8设置于加热室50的右侧。
在基板壳体8设置有向三个加热线圈3供给高频电流的逆变器(未图示)、控制加热室50内的上下加热器51、52(加热机构)的继电器电路(未图示)等。由于基板壳体8成为风扇装置9的冷却风流动的风道,所以上下组合来构成为难以产生空气漏出。上下组合的接合部8a可以如附图所示地使外周的一部分或者全部在一侧重叠,或者也可以是呈凸缘形状地扩大接触面来固定的构造。此外,在下文中说明基板和线圈的冷却结构。
<炙烤箱的结构>
如图3及图4所示,炙烤箱5具备在前表面设有用于拿出放入食品(未图示)的开口部的箱型的加热室50。加热室50通过螺丝等或铆接多个部件来组装构成,上述多个部件例如通过对铝合金制的板进行冲压加工来分别成形为预定的形状。
在加热室50中,能够使用载置食品的烹调锅58(食品载置部)来进行加热烹调。烹调锅58呈深盘状,例如利用铝等材料形成为俯视呈矩形,并在表面涂层有氟涂层剂等。烹调锅58构成为凹状,并具有大致呈四方形状的底板、和从底板的外周缘部朝向上方立起的侧板。
在加热室50内设置有作为加热食品的热源的例如护套式加热器等上加热器51和下加热器52,从上下方向同时或者分别对两面进行接通/断开控制地加热食品。
烹调锅58载置于网台54,并收纳在加热室50内的上加热器51与下加热器52之间。网台与门部6连动地沿前后方向滑动。并且,实施例1中,门部6利用设于加热室50的左右下侧的门轨56而沿前后方向移动。
并且,如图3所示,烹调锅58的从底板的外周缘部朝向上方立起的侧板延伸至上加热器51附近。因而,食品在容积比加热室50的容积小的烹调锅58内,经由烹调锅58的底面传递下加热器52所产生的热,另一方面,由于直接辐射来自上加热器51的辐射热,因此能够高效地导热。
此处,在烹调锅58的食品的加热烹调中,上加热器51的辐射热量比来自烹调锅58的底面的传导热量大,而对于烹调锅58内较小的容积,温度快速地上升。在实施例1所示的烹调锅58的加热烹调中,在烹调中产生的油烟、水蒸气难以漏到在烹调锅58的外表面与加热室50之间,因此在加热室50难以附着污垢,清扫的劳力和时间也减少。另外,减少从门部6等的间隙易漏出的烟的担忧。
并且,由于在烹调时从食品的表面飞散出的水分、油分也附着于烹调锅58的内侧,所以仅清洗烹调锅58就能够轻松地进行善后。此处,由于上加热器51的表面温度较高,附着于加热室50的上表面侧(上加热器51附近的壁面)的油分能够烧完,从而能够保持清洁性。
此外,上加热器51也可以不是露出的护套式加热器,但最优选是表面温度较高且辐射热量较大的热源。
图4是在图1所示的A-A线处剖切的侧视剖视图。炙烤箱5配置于左侧的加热线圈3a的下方。炙烤箱5由将食品拿出放入加热室50内的门部6、载置食品的烹调锅58、载置烹调锅58并与门部6连动地将食品收纳于箱内的网台54、以及加热食品的上加热器51、下加热器52构成。
在由金属制的箱体构成的加热室50的前表面侧,设有沿前后方向滑动来进行食品的拿出放入的能够开闭的门部6。并且,门部6的宽度和高度比加热室50前表面的开口部大,在加热室50的前表面侧构成沿上下方向延伸的凸缘部50a,并成为与门部6面接触的构造。此外,可以在其接触面设有例如橡胶状的垫片65等,提高加热室50内的气密性。
在加热室50的内侧,以在食品的上下保持预定距离地夹持食品的方式配置有主要利用辐射热进行加热的电热加热器(上加热器51、下加热器52)。在加热室50的后面侧上方设有排出加热室50内的油烟、蒸气等的排气通道59,成为从设于顶板2的后方的排气开口部H2进行排气的结构(参照图2)。在与排气开口部H2连通的排气通道59内,设有进行除烟、除臭处理的催化剂55。
实施例1中,虽然是利用排气通道59从加热室50以自然对流的方式进行排气的结构,但也可以是在排气通道59的路径中途设置排气用的风扇并使经由催化剂40后的空气强制排出的结构。
<门部的结构>
设于加热室50前表面的门部6由例如透明玻璃所形成的前板60、支撑前板60的门基座61、使门部6滑动来开闭门部6的把手61a、以及支撑前板60、门基座61的框架62构成。门部与炙烤箱能够拆装,并在使用后能够拆下并容易清洗。
实施例1中,由前板60、框架62以及门基座61构成在内部形成空间的作为箱体的门部6,在前板60与框架62之间的间隙设有空气流动的风道60a。
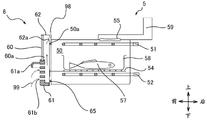
使用图5至图7对具有风道60a的门部6的结构进行说明。此外,为了明确示出门部6与加热室50之间的间隙的结构,以框架62与凸缘部50a分离配置的附图进行记载。图5是在烹调锅58上载置有食品57的图4的炙烤箱的示意图,图6是图5的俯视剖视图,图7是图4的门部6的分解立体图。
如图7所示,构成箱体的一部分的框架62由金属构成,将导热性较高的金属板的上下左右的端部折弯,形成为前侧敞开且后侧闭塞的箱状,形成在前后方向上具有预定厚度的壁面。本实施例中,使框架62的左右端部以从端部朝向后侧中央倾斜的方式倾斜弯曲,成为在对置的凸缘部50a与门部之间设有间隙的结构。
也就是说,如图6所示,该箱体在俯视时呈长方形的两个角被倒角后的大致六边形。由该倒角后的凹凸62c,在框架62与凸缘部50a之间形成在门部6的上下方向贯通的大致直角三角形状的间隙(风道)68。在成为该间隙(风道)68的壁面的框架62的上方(加热室50侧)设有排气用开口62a。也就是说,排气用开口62a的位置位于直角三角性(间隙68)的斜边。间隙68形成在门部6的上下方向上连通的风道,并使排气用开口62a与该风道连通。
前板60的上端由框架62支撑,前板60的下端由门基座61的肋61d支撑。而且,前板60与门基座61成为一体,并覆盖框架62的前表面。
框架62的下方呈切掉而凹入的形状,即使组合门基座61与框架62,在箱体的下表面也设有开口(吸气用开口61b)。根据本结构,容易较大得取得吸气用开口62b的开口面积。并且,当从前方观察时,吸气用开口62b由门基座61隐藏,因而能够提高外观设计性。
前板60与框架62之间的间隙通过由框架62的安装孔62c支撑门基座61来在内部确保空间。此处,前板60一般使用耐热性较高且外观设计性良好的透明的玻璃板等,但若利用实施例1的结构能够降低前板60的温度,则能够应用的材料的选择范围大幅度地扩大。
排气用开口62a和吸气用开口61b分别形成于成为箱体的门部6。排气用开口62a形成于与凸缘部50a对置的箱体的壁面。尤其在实施例1中,排气用开口62a形成于箱体的左右两侧。上下关系中,排气用开口62a位于比吸气用开口61b高的位置。吸气用开口61b、排气用开口62a的开口面积越大,空气越容易流动,本发明的允许范围包括基于其开口形状、开口孔的个数等的性能变化。
(变形例1)
接下来,使用图8对实施例1的变形例1进行说明。图8是示出门部的变形例1的图。在图8所示的变形例1中,前板60的支撑构造及吸气用开口61b的配置与图7不同。
图8中,在将金属板的上下左右折弯而成型为箱状的框架62的上壁面设有安装孔62e,挡板67的突起(未图示)嵌入安装孔62e。挡板67是用于支撑前板60的上端的部件,前板60的下端由门基座61的肋61d支撑。前板60与框架62之间的间隙通过由框架62的安装孔62d支撑门基座61来在内部确保空腔。并且,以与该空腔连通的方式在门基座61设有吸气用开口61b。
图8中,将吸气用开口61b设于门基座61的把手61a的下侧,利用朝向吸气用开口61b的外部空气的流动,成为容易更有效地冷却把手61a的结构。并且,若将吸气用开口61b设于把手61a的根部附近,则在通常的加热烹调器Z的使用中,吸气用开口61b处于在主体的俯视、主视时无法识别的位置,从而容易成为加热烹调器Z的外观设计不会受到影响的配置。
<门冷却的导热现象>
接下来,对门部6周围的空气的流动进行说明。图9是示出门冷却现象的简图。图9的前方的长方体(箱体)模拟简略地记载的门部6,后方的壁模拟凸缘部50a。本实施例中,在关闭了门部6的状态下,成为在门部6与凸缘部50a之间形成间隙68的结构。
实施例1(参照图5)中,若在炙烤箱5中开始加热,则加热室50的温度上升,与加热室50的壁面一体成型的凸缘部50a、覆盖加热室50的开口部的门部6的框架62也成为高温。上加热器51、下加热器52的表面温度为500℃以上,因其热辐射、对流传递,加热室50内的空气温度也为200℃以上。
由于因加热室50的高温空气的导热而温度上升的凸缘部50a、框架62由导热性较高的金属制成,所以广泛地导热而使框架62整体的温度上升。并且,堵塞加热室50的前侧的开口部的框架62与加热室50的凸缘部50a面接触,也从其接触面产生导热所引起的热泄漏,使框架62的上下左右的侧面为高温。
若对置的凸缘部50a与框架62成为高温,则其间隙68内的空气变热,温度较高的空气因自然对流而产生朝上的流动。本实施例中,凸缘部50a与框架62之间的间隙68在上下方向延伸,构成与门部6上下的敞开面(未图示)连通的风道。门部6下方的空气(外部空气)与间隙内的空气的温度差较大,因该温度差在间隙68内产生上升气流。在产生该上升气流的风道(间隙68)的壁面配置有排气用开口62a,利用在排气用开口62a的附近流动的上升气流,经由排气用开口62a来吸引箱体(门部6)内的空气。在箱体(门部6)的下方设有吸气用开口61b,从吸气用开口61b供给在排气用开口62a吸引的空气量。也就是说,因间隙68的上升气流,在箱体内产生从吸气用开口61b朝向排气用开口62a的流动,向箱体(门部6)内引入温度较低的外部空气,从而对箱体(门部6)内进行冷却。
此外,箱体(门部6)本身也在前后方向(框架62和前板60)上产生温度差,来缓慢地产生上升气流,因而能够更高效地产生在排气用开口62a的吸引作用。
由于门部6(箱体)内的上升气流(自然对流)的产生源主要是来自加热室50的热泄漏所引起的框架62的温度上升,所以决定自然对流的强度的温度差较大。此处,决定门部6内的自然对流的强度的温度差是作为风道60a的前后壁面亦即框架62与前板60的温度差。由于前板60的温度因来自框架62的传热(热辐射等)影响而缓缓变高,所以自然对流的强度难以变大。
另一方面,决定间隙68的自然对流的强度的温度差是成为高温的凸缘部50a与外部空气的温度差。因此,在间隙68内产生的流动比箱体(门部6)内的风道60a强。在间隙68内产生由所谓烟囱效应引起的上升气流(空气流动98)。由于间隙68内的空气温度比周边的空气的温度高,所以间隙68的周边的空气成为被导入至间隙68且朝向上方的较强的空气流动98(上升气流)。由于在该间隙68内产生的较强的空气流动98(上升气流)沿门部6的排气用开口62a流动,所以因该流动从排气用开口62a吸引风道60a内的空气,因而在风道60a内也产生较强的空气流动99(图5)。因此,利用在排气用开口62a的吸引作用,从吸气用开口61b向风道60a内高效地导入外部空气,因温度较低的空气,能够使构成风道60a内的壁面的前板60、门基座61的把手61a也接近外部空气温度。根据实施例1,通过高效地利用间隙68的自然对流,能够有效地冷却门部6的前板60的温度。
(变形例2)
接下来,参照图10及图11对变形例2进行说明。图10是示出图5的炙烤箱的变形例2的图。图11是图10的俯视剖视图。图10中,与图5的不同之处在于使门部6中设有排气用开口62a的框架62的左右侧呈矩形地凹入前板60侧的结构(图11的凹凸62c)。本变形例中,通过在加热室50的凸缘部50a与设有排气用开口62a的框架62之间构成间隙,来获得门部6的冷却效果,因而通过使与凸缘部50a对置的框架62的左右端部向前方凹入,来在上下方向上构成风道。
并且,如图12所示,即使在凸缘部50a侧设有凹凸62c,也产生相同的传热现象,当然能够高效地冷却门部6。
(变形例3)
接下来,使用图13及图14对变形例3进行说明。图13是示出图5的炙烤箱的变形例3的图。图14是图13的俯视剖视图。图13中,与图5的不同之处在于成为使把手61a的位置向上方移动来扩大吸气用开口61b的开口面积的结构。本变形例中,由于吸气用开口61b的通风阻力减少,所以利用排气用开口62a的吸引效果高效地向风道60a内引入空气,能够降低前板60、门基座61的温度。
并且,在门部6的框架62设有与加热室50的开口的外侧接触的密封件65。如图14所示,利用密封件65的厚度,能够在加热室50的凸缘部50a与设有排气用开口62a的框架62之间构成间隙68。本结构中,由于门部6的框架62、加热室50的凸缘部50a能够构成平坦且上下宽度较宽的风道,所以能够更高效地产生较强的上升气流,能够从排气用开口62a促进空气的吸引来冷却门。
<基板和线圈的冷却结构>
接下来,对基板和线圈的冷却构造进行说明。图15是在图1所示的B-B线处剖切的侧视剖视图,主要示出右侧的加热线圈3、基板7以及风扇装置9的位置关系。在主体1的背面侧分别设有用于利用风扇装置9的驱动来从外部引入空气的吸气开口部H1。并且,从风扇装置9向主体1内吹出的空气从设于顶板2的后方的排气开口部H2排出。
利用风扇装置9的驱动从外部引入的空气经由吐出口95被引导至基板壳体8内。在基板壳体8,经由基板台73以层叠的方式配置有三张基板7,在各个基板7安装有电子部件71、高发热元件72以及散热片79。被引导至基板壳体8内的空气在由层叠的基板7彼此形成的空间内分流,在冷却电子部件71、高发热元件72以及散热片79后,合流并冷却加热线圈3。另外,在冷却除去输入电力的噪声的过滤基板70后,从排气开口部H2排气。
排气开口部H2由在金属板设有多个小径孔的排气罩25覆盖,在顶板上产生溢出等时流入的液体(未图示)难以直接进入。此外,排气罩25能够拆装,从而在有污垢时能够拆下来清洗。
并且,若除主体1的后方之外,例如在正面下侧也设有吸气开口部,则容易向主体1内引入温度较低的空气。另外,在离位于左侧的炙烤箱5的排气通道59较远的背面侧设置吸气开口部H1(参照图2),从而难以吸入经由吸气开口部H1引入的温度较高的空气。
实施例1所示的风扇装置9经由吸气开口部H1向基板壳体8内引入空气,并朝向加热线圈3吹出引入来的空气,从而冷却电子部件71、加热线圈3。作为风扇的种类,使用多翼风扇。实施例1中,通过使用多翼风扇,在风扇装置9的驱动时,能够提高基板壳体8内的静压,即使在冷却通路的下游侧也能够供给需要的冷却风。
(炙烤烹调的动作)
接下来,使用图1至图7对炙烤烹调的动作进行说明。实施例1中,对加热烹调载置于加热室50的烹调锅58的食品57的情况进行说明。
向前方拉动门部6使之敞开,在将载置有食品57的烹调锅58放入到加热室50之后在操作面板P2中设定烹调温度、时间,或者设定预先设定的自动烹调菜单,按下操作面板P2的烹调按钮来开始炙烤烹调。开始烹调的透射对上加热器51或者下加热器52通电,加热食品57。
在加热中,加热室50的壁面温度上升,加热室的凸缘部50a、门部6的框架62的温度因其热气也上升。该热气在门部6的周围产生朝上的较强的空气流动98(上升气流)。该空气流动98在由框架62的凹凸62c形成的凸缘部50a与框架62之间的间隙(风道)68内流动。与空气流动98的间隙相符地在框架62设有排气用开口62a,在排气用开口62a的附近产生较快的流动。因此,排气用开口62a的内侧(风道60a)成为负压,由空气流动98产生向间隙68侧吸引风道60a内的空气的流动。因而,利用在排气用开口62a处的吸引作用,从设于门基座61的吸气用开口61b吸入外部空气,空气经由风道60a朝向排气用开口62a流动。
另一方面,由于在加热烹调时,框架62的温度也缓缓地上升,所以在框架62与前板60之间的间隙(风道60a)也缓缓地显现由温度差引起的自然对流,辅助从吸气用开口61b向排气用开口62a的空气流动99。该框架62内外的两个自然对流所引起的空气流动98、99在风道60a内产生较强的流动,从而能够降低前板60的温度上升。
即、因加热室50的使用,与加热室50关联地产生上述的上升气流,因而若加热室50不是高温,则前板60的温度难以变高,利用加热室50的温度越高而强的空气流动98、99来降低前板60的温度。
上述现象在加热室50中的加热烹调的结束以及结束后还继续出现,因而能够高效地冷却门部6。
实施例2
接下来,使用图16及图17对本发明的实施例2进行说明。图16是本发明的实施例2的炙烤箱5的侧视剖面的示意图,图17是图16的俯视剖视图。
图16中,配置于顶板2的下方的加热线圈3、基板壳体8与实施例1相同,从而省略其说明。
实施例2中,与实施例1的不同之处在于在门部6的前后方向(框架62与前板60之间)上设有分隔板64。此外,实施例2中,加热室50内构成为在放置于承接盘的网台54上直接载置食品57来进行加热烹调,但本发明能够与加热室50内的构造无关地应用,能够与加热室50内的构造无关地获得前板60的冷却效果。
实施例2的分隔板64配置为在与框架62之间分离3mm至7mm左右的间隔(隔热层63)并作为隔热层63,成为利用该隔热层63难以产生空气的流动的大致密闭的构造。分隔板64由金属、耐热性的玻璃等构成。
分隔板64将门部6的箱体内的空间分割为加热室50侧和把手61a侧。在前板60与分隔板64之间形成有风道60a,在风道60a的下方设有吸气用开口61b,并在风道60a的上方(吸气用开口61b的上方)形成有排气用开口62a。吸气用开口61b及排气用开口62a不与由分隔板64和框架62构成的隔热层63连通。即、吸气用开口61b及排气用开口62a形成于把手侧的空间。
实施例2中,由于设有隔热层63,所以能够减少从加热室50向前板60方向的传热量。若降低前板60的温度,则难以产生由温度差引起的自然对流,风道60a的风量降低。
但是在实施例2中,在框架62与凸缘部50a之间设有间隙68,在构成缝隙的框架62设有排气用开口62a,利用在间隙68内产生的空气流动98(上升气流)来吸引风道60a内的空气,能够确保风道60a内的空气流动99,并且能够减少从加热室50向前板60传递的热量。
此外,本实施例中,使用图13所示的密封件来构成间隙68,但在实施例1所示的框架62设有凹凸62c的结构中也有相同的效果。
实施例2中,在前板60与框架62之间配置分隔板64来设置隔热层63,即使在减少向前板60方向的传热量的情况下,用于产生上升气流的框架62被加热,因而对在排气用开口62a附近产生的吸引作用造成的影响较小,不阻碍风道60a的空气流动99也能够减少从加热室50向前板60传递的热量。因而,能够更高效地抑制前板60温度。
此外,实施例2中设置隔热层63,但即使在配置绝热材料来代替隔热层63的情况下,也能够获得相同的效果。
实施例3
接下来,使用图18对本发明的实施例3进行说明。图18是本发明的实施例3的炙烤箱5的侧视剖面的示意图。图18中,配置于顶板2的下方的加热线圈3、基板壳体8与实施例1、2相同,因而省略其说明。
实施例3中,与其它实施例的不同之处在于在主体1的主视情况下在门部6设有用于使加热室50内可视化的窗部66。此外,门部6的冷却方法与实施例1及2相同,因而省略其说明。
框架62由导热性较高的金属板形成,并且覆盖加热室50的开口,因而无法通过前板60来确认加热室50内的烹调中的状况。
因此,实施例3中,将框架62的一部分切口,并在该切口的部分设置窗部66。窗部66的一端安装于框架62的切口的部分,另一端安装于分隔板64。即、窗部66设置为由框架62和分隔板64夹持。前板60、分隔板64、窗部66例如由耐热性的透明玻璃等部件构成,从而能够确认加热室50内的烹调中的状况。
此处,窗部66的可视面积越小,越能够缓和从加热室50向前板60的热辐射的影响,因而能够抑制前板60的温度上升。本实施例中,窗部66用于判断烹调的有无(上加热器51、下加热器的接通/断开)、例如起火等异常时,主要目的不是食品57的烤制颜色确认等。
实施例3中,窗部66设置为由框架62和分隔板64夹持,因而能够稳定地确保隔热层63的间隙,进而能够稳定地构成在门部6的内侧冷却前板60的导热现象。并且,在实施例1(图5)那样的将食品57载置于烹调锅58来进行加热烹调的炙烤箱5中,通过在遮挡从作为热源的上加热器51、下加热器朝向窗部66照射的辐射能的位置配置烹调锅,能够缓和从加热室50向前板60的热辐射的影响,从而能够抑制前板60的温度上升。
实施例3中,在框架62与分隔板64之间设置窗部66,但也可以不设置分隔板64,而在前板60与框架62之间(箱体的空间内)设置窗部。
实施例4
接下来,使用图19对本发明的实施例4进行说明。图19是本发明的实施例4的炙烤箱5的侧视剖面的示意图。图19中,配置于顶板2的下方的加热线圈3、基板壳体8与实施例1至3相同,因而省略其说明。
实施例4中,与其它实施例的不同之处在于在比加热室50靠下方的凸缘部50a设有通气口50b。本实施例中,在图5(实施例1)的结构中设有通气口50b。此外,门部6的冷却方法与实施例1至3相同,因而省略其说明。
实施例4的通气口50b设于加热室50的凸缘部50a,通气口50b与主体1内的空间连通。并且,通气口50b的一部分或者全部与门部6及凸缘部50a的间隙(风道)68连通。
如实施例1所示,为了冷却加热线圈3、基板7,在主体1内设有风扇装置9。在驱动了风扇装置9的情况下,从吸气开口部H1向主体内吸入外部空气,并吐出升压了的空气,因而主体1内的压力上升。利用该升压了的空气的循环来冷却内部的部件,构成从主体1外部轮廓的排气开口部H2向压力较小的外部(常压)排气的流动。
此处,若在主体1外部轮廓具有其它开口,则同样地构成向外侧排气的流动。在凸缘部50a配置有间隙68的情况下,与主体外部轮廓相同地构成排气路径,因而从风扇装置9吐出来的空气构成经由凸缘部50a的通气口50b而从主体1侧朝向间隙68的流动(排气流100)。
根据本结构,由于在间隙68内产生比由自然对流引起的上升气流更强的流动,所以更积极地从设于间隙68的门部6的排气用开口62a吸引空气,增加门部6内的风道60a的风速,能够有效地冷却前板60。
以上说明的各实施例中,以在主体1的左侧配置有炙烤箱5并在右侧配置有操作面板P2的加热烹调器Z的例子进行了说明,但本发明不限定于该配置。例如,也可以将炙烤箱5配置于中央部,使门部6的框架62的侧面与操作面板P2、装饰面板面对。
并且,在本发明的各实施例中,在框架62的左右两侧设置排气用开口62a,但也可以在左右的任一侧设置。
本发明不限定于上述的实施例,包括各种变形例。上述的实施例是为了容易理解地说明本发明而进行了详细说明的,并非限定于必须具备所说明的所有结构。

Claims (11)

1.一种加热烹调器,其特征在于,
具备:主体;锅载置部,其是上述主体的上表面并载置被烹调锅;以及炙烤箱,其配置于上述锅载置部的下方,
上述炙烤箱具备:加热室;门部,其覆盖上述加热室的开口部,并且为了将食品拿出放入上述加热室内而能够前后移动;食品载置部,其与上述门部连动地将食品收纳于上述加热室;以及加热机构,其加热上述食品,
上述门部是在内部具有空间的箱体,配设有形成于上述箱体的吸气用开口和相比上述吸气用开口位于上方的排气用开口,
在上述加热室的上述开口部的外侧具备与上述门部对置的凸缘部,上述凸缘部和与上述凸缘部对置的上述门部之间的间隙形成在上述门部的上下方向上连通的风道,并且使上述排气用开口与上述风道连通,
上述门部包括框架,使上述框架的左右端部以从端部朝向后侧中央倾斜的方式倾斜弯曲,从而成为在对置的上述凸缘部与上述门部之间设有上述间隙的结构。
2.根据权利要求1所述的加热烹调器,其特征在于,
上述风道由上述凸缘部的凹凸构成。
3.根据权利要求1所述的加热烹调器,其特征在于,
上述风道由上述门部的凹凸构成。
4.根据权利要求1所述的加热烹调器,其特征在于,
上述风道由设于上述凸缘部与上述门部之间的间隙的密封件构成。
5.根据权利要求1~4中任一项所述的加热烹调器,其特征在于,
在上述门部的前表面具备把手,并在上述把手的下方形成有上述吸气用开口。
6.根据权利要求5所述的加热烹调器,其特征在于,
在上述箱体内具备将上述空间分割为上述加热室侧和上述把手侧的分隔板,
在上述把手侧的空间设有上述吸气用开口和上述排气用开口。
7.根据权利要求1~4中任一项所述的加热烹调器,其特征在于,
在上述主体内具备风扇装置,
在上述加热室的下方的上述凸缘部设有通气口,从上述通气口向上述风道供给空气。
8.根据权利要求5所述的加热烹调器,其特征在于,
在上述主体内具备风扇装置,
在上述加热室的下方的上述凸缘部设有通气口,从上述通气口向上述风道供给空气。
9.根据权利要求6所述的加热烹调器,其特征在于,
在上述主体内具备风扇装置,
在上述加热室的下方的上述凸缘部设有通气口,从上述通气口向上述风道供给空气。
10.根据权利要求6所述的加热烹调器,其特征在于,
在上述箱体设有对上述加热室内进行观察的窗部。
11.根据权利要求10所述的加热烹调器,其特征在于,
上述食品载置部是深盘状的烹调锅,并在遮挡从上述加热机构朝向上述窗部照射的辐射能的位置配置有上述烹调锅。
CN201910831220.1A 2019-02-04 2019-09-04 加热烹调器 Active CN111520775B (zh)

Applications Claiming Priority (2)

Application Number Priority Date Filing Date Title
JP2019017930A JP7229797B2 (ja) 2019-02-04 2019-02-04 加熱調理器
JP2019-017930 2019-02-04

Publications (2)

Publication Number Publication Date
CN111520775A CN111520775A (zh) 2020-08-11
CN111520775B true CN111520775B (zh) 2022-04-05

Family

ID=71900574

Family Applications (1)

Application Number Title Priority Date Filing Date
CN201910831220.1A Active CN111520775B (zh) 2019-02-04 2019-09-04 加热烹调器

Country Status (2)

Country Link
JP (1) JP7229797B2 (zh)
CN (1) CN111520775B (zh)

Families Citing this family (4)

* Cited by examiner, † Cited by third party
Publication number Priority date Publication date Assignee Title
JP2022036530A (ja) * 2020-08-24 2022-03-08 日立グローバルライフソリューションズ株式会社 加熱調理器
CN112617626B (zh) * 2020-12-22 2022-04-19 广东美的厨房电器制造有限公司 加热炉及微波加热装置
CN114680651B (zh) * 2020-12-31 2024-05-31 广东美的厨房电器制造有限公司 一种烤制食品的设备
CN112856502B (zh) * 2021-01-08 2022-05-17 宁波方太厨具有限公司 一种用于集成灶的排气盖板结构及具有该结构的集成灶

Citations (3)

* Cited by examiner, † Cited by third party
Publication number Priority date Publication date Assignee Title
JP2006107807A (ja) * 2004-10-01 2006-04-20 Matsushita Electric Ind Co Ltd 加熱調理器
JP2006200831A (ja) * 2005-01-21 2006-08-03 Matsushita Electric Ind Co Ltd 加熱機器
CN107997620A (zh) * 2018-01-08 2018-05-08 青岛海尔智慧厨房电器有限公司 一种门体结构及应用该门体结构的烤箱

Family Cites Families (5)

* Cited by examiner, † Cited by third party
Publication number Priority date Publication date Assignee Title
JPS5254615Y2 (zh) * 1974-11-01 1977-12-10
FR2693538B1 (fr) * 1992-07-07 1994-10-14 Scholtes Ets Eugen Dispositif de refroidissement de la porte d'un four de cuisson domestique.
JPH09229377A (ja) * 1996-02-26 1997-09-05 Sharp Corp 電子レンジ
KR100698204B1 (ko) 2005-12-12 2007-03-22 엘지전자 주식회사 전기 오븐 레인지
JP6913522B2 (ja) 2017-06-12 2021-08-04 リンナイ株式会社 加熱調理器

Patent Citations (3)

* Cited by examiner, † Cited by third party
Publication number Priority date Publication date Assignee Title
JP2006107807A (ja) * 2004-10-01 2006-04-20 Matsushita Electric Ind Co Ltd 加熱調理器
JP2006200831A (ja) * 2005-01-21 2006-08-03 Matsushita Electric Ind Co Ltd 加熱機器
CN107997620A (zh) * 2018-01-08 2018-05-08 青岛海尔智慧厨房电器有限公司 一种门体结构及应用该门体结构的烤箱

Also Published As

Publication number Publication date
JP2020125867A (ja) 2020-08-20
CN111520775A (zh) 2020-08-11
JP7229797B2 (ja) 2023-02-28

Similar Documents

Publication Publication Date Title
CN111520775B (zh) 加热烹调器
KR101531060B1 (ko) 공기 순환 수단을 포함한 오븐 레인지
US11832752B2 (en) Heating apparatus and cooking apparatus including same
CN102239365B (zh) 具有强制对流冷却的灶具
CN102340902B (zh) 埋入式电磁感应加热烹调器
JP7273750B2 (ja) 加熱調理器
KR102806472B1 (ko) 조리기기 및 그 제어방법
CN101258984A (zh) 带有蒸汽发生功能的高频烹调器
CN101261015A (zh) 加热烹调器
CN110873341B (zh) 加热烹调器
CN101261016A (zh) 加热烹调器具
JP7370169B2 (ja) 加熱調理器
EP1680995A1 (en) Cooking apparatus
JP7446897B2 (ja) 加熱調理器
JP2008159337A (ja) 加熱調理装置
KR101531062B1 (ko) 덕트 유니트를 포함한 오븐 레인지
KR20090017299A (ko) 컨벡션 커버에 에어 가이드가 형성된 전기오븐
JP2002280155A (ja) 加熱調理器
JP6270886B2 (ja) 加熱調理器
KR102850856B1 (ko) 후드 겸용 전자 레인지
JP7607199B2 (ja) 加熱調理器
KR101531061B1 (ko) 열 차단 수단을 구비한 오븐 레인지
JP2024042851A (ja) 加熱調理器
JP2022163921A (ja) 加熱調理器
JP5235744B2 (ja) 加熱調理器

Legal Events

Date Code Title Description
PB01 Publication
PB01 Publication
SE01 Entry into force of request for substantive examination
SE01 Entry into force of request for substantive examination
GR01 Patent grant
GR01 Patent grant