CN111502413B - Door lock opening mechanism of anti-theft door - Google Patents

Door lock opening mechanism of anti-theft door Download PDF

Info

Publication number
CN111502413B
CN111502413B CN202010346934.6A CN202010346934A CN111502413B CN 111502413 B CN111502413 B CN 111502413B CN 202010346934 A CN202010346934 A CN 202010346934A CN 111502413 B CN111502413 B CN 111502413B
Authority
CN
China
Prior art keywords
door lock
bevel gear
connecting rod
groove
rod
Prior art date
Legal status (The legal status is an assumption and is not a legal conclusion. Google has not performed a legal analysis and makes no representation as to the accuracy of the status listed.)
Active
Application number
CN202010346934.6A
Other languages
Chinese (zh)
Other versions
CN111502413A (en
Inventor
司国香
何花
吴继才
石正林
Current Assignee (The listed assignees may be inaccurate. Google has not performed a legal analysis and makes no representation or warranty as to the accuracy of the list.)
Anhui Chunge door & Window Manufacturing Co.,Ltd.
Original Assignee
Anhui Chunge Door & Window Manufacturing Co ltd
Priority date (The priority date is an assumption and is not a legal conclusion. Google has not performed a legal analysis and makes no representation as to the accuracy of the date listed.)
Filing date
Publication date
Application filed by Anhui Chunge Door & Window Manufacturing Co ltd filed Critical Anhui Chunge Door & Window Manufacturing Co ltd
Priority to CN202010346934.6A priority Critical patent/CN111502413B/en
Publication of CN111502413A publication Critical patent/CN111502413A/en
Application granted granted Critical
Publication of CN111502413B publication Critical patent/CN111502413B/en
Active legal-status Critical Current
Anticipated expiration legal-status Critical

Links

Images

Classifications

    • EFIXED CONSTRUCTIONS
    • E05LOCKS; KEYS; WINDOW OR DOOR FITTINGS; SAFES
    • E05BLOCKS; ACCESSORIES THEREFOR; HANDCUFFS
    • E05B15/00Other details of locks; Parts for engagement by bolts of fastening devices
    • E05B15/0013Followers; Bearings therefor
    • EFIXED CONSTRUCTIONS
    • E05LOCKS; KEYS; WINDOW OR DOOR FITTINGS; SAFES
    • E05BLOCKS; ACCESSORIES THEREFOR; HANDCUFFS
    • E05B17/00Accessories in connection with locks
    • E05B17/22Means for operating or controlling lock or fastening device accessories, i.e. other than the fastening members, e.g. switches, indicators
    • EFIXED CONSTRUCTIONS
    • E05LOCKS; KEYS; WINDOW OR DOOR FITTINGS; SAFES
    • E05BLOCKS; ACCESSORIES THEREFOR; HANDCUFFS
    • E05B9/00Lock casings or latch-mechanism casings ; Fastening locks or fasteners or parts thereof to the wing

Landscapes

  • Engineering & Computer Science (AREA)
  • Mechanical Engineering (AREA)
  • Wing Frames And Configurations (AREA)

Abstract

The invention discloses a door lock opening mechanism of a security door, comprising: a door lock panel; a box body; the sliding plate is arranged on one side of the box body, which is far away from the door lock panel; the drive unit is located the assembly intracavity, the drive unit includes bearing frame, pivot, first conical gear, second conical gear, third conical gear, fourth conical gear, first connecting rod, rocking arm, first gyro wheel, wedge, second connecting rod, second gyro wheel, first extension board, second extension board, third extension board, fourth extension board, pull rod, first spring, second spring and locking plate. Compared with the prior art, the novel door lock opening mechanism is arranged, the lock opening and closing function of the lock body is achieved through the sliding plate, the square head driving rotating mode is different from the prior art, the novel door lock opening mode is a novel door lock opening mode, product lines can be enriched, in the prior art, a lawbreaker pulls down a handle through a cat eye, and the door lock opening mode also has the function of preventing the lawbreaker from being opened from the cat eye.

Description

Door lock opening mechanism of anti-theft door
Technical Field
The invention relates to the technical field of security doors, in particular to a door lock opening mechanism of a security door.
Background
One side of the current security door close to the room body is opened through installing the handle usually, and the security door on the market can all install the cat eye usually, also has criminals and can utilize the cat eye to open the security door after pulling down the handle, has caused the threat to the personal safety of the people of living in like this, has the potential safety hazard.
Disclosure of Invention
The invention aims to provide a door lock opening mechanism of a security door, which aims to solve the technical problems in the prior art.
The invention provides a door lock opening mechanism of a security door, comprising:
the anti-theft door comprises a door lock panel, a lock body and a locking bolt, wherein the door lock panel is arranged on the anti-theft door, and the lock body is arranged on one side of the door lock panel, which is close to the anti-theft door;
the box body is fixed on one side, away from the security door, of the door lock panel, an assembly cavity is formed in the box body, and an opening is formed in the assembly cavity on one side, away from the security door, of the box body;
the sliding plate is arranged on one side, away from the door lock panel, of the box body, the sliding plate can reciprocate along the horizontal direction, a first groove and a second groove are formed in the sliding plate and correspond to the opening, the first groove and the second groove are arranged at intervals in the vertical direction, the first groove and the second groove both extend along the horizontal direction, the first groove comprises a first horizontal section, an inclined ascending section and a second horizontal section, the first horizontal section and the second horizontal section are connected to two ends of the inclined ascending section, and the height of the second horizontal section is higher than that of the first horizontal section; a slope is formed on the side wall of the second groove;
drive unit, drive unit locates the assembly intracavity, drive unit includes bearing frame, pivot, first bevel gear, second bevel gear, third bevel gear, fourth bevel gear, first connecting rod, rocking arm, first gyro wheel, wedge, second connecting rod, second gyro wheel, first extension board, second extension board, third extension board, fourth extension board, pull rod, first spring, second spring and locking plate, wherein:
the two bearing seats are symmetrically arranged on the bottom surface of the assembly cavity, the rotating shaft is rotatably arranged between the two bearing seats, and the first bevel gear, the second bevel gear and the locking coil are sleeved on the rotating shaft;
the first support plate is fixed on the bottom surface of the assembly cavity, the first connecting rod rotatably penetrates through the first support plate, one end of the first connecting rod is connected with the third bevel gear, the third bevel gear is meshed with the first bevel gear, the other end of the first connecting rod is connected with one end of the rocker arm, the other end of the rocker arm is connected with the first roller wheel, and the first roller wheel is arranged in the first groove in a rolling manner;
the second connecting rod penetrates through the first supporting plate in a sliding mode, one end of the second connecting rod is connected with the wedge-shaped block, a wedge-shaped surface of the wedge-shaped block is arranged away from the second connecting rod, the other end of the second connecting rod is connected with the second roller wheel, and the second roller wheel is arranged in the second groove in a rolling mode; the first spring ring is sleeved on the second connecting rod, one end of the first spring is abutted with the first supporting plate, and the other end of the first spring is abutted with the second roller;
the second support plate and the third support plate are fixed on the bottom surface of the assembly cavity, the pull rod is of an L-shaped structure and comprises a transverse rod section and a longitudinal rod section, the transverse rod section of the pull rod can slidably penetrate through the second support plate and the third support plate, a wedge surface of the wedge-shaped block is abutted with the longitudinal rod section of the pull rod, the second spring ring is sleeved on the transverse rod section of the pull rod, one end of the second spring is abutted with the second support plate, and the other end of the second spring is abutted with the third support plate;
the disc surface of the locking disc is provided with a locking hole, and the tail end of the transverse rod section of the pull rod can penetrate through the locking hole;
the fourth supporting plate is fixed on the bottom surface of the assembling cavity, one end of the fourth bevel gear is meshed with the second bevel gear, a supporting rod is arranged at the other end of the fourth bevel gear, the supporting rod penetrates through the fourth supporting plate in a rotatable mode, and a square head used for driving the spring bolt to work is fixed at the tail end of the supporting rod.
The door lock opening mechanism of the security door is characterized in that one side of the box body, which is far away from the door lock panel, is provided with a guide rod which extends transversely, and the sliding plate is provided with a guide block which is in guide fit with the guide rod.
The door lock opening mechanism of the security door is characterized in that a protruding block is preferably arranged on one side of the box body, which is far away from the door lock panel, and a third spring is arranged between the protruding block and the sliding plate.
The door lock opening mechanism of the security door is characterized in that a protective frame is preferably arranged on one side of the box body, which is far away from the door lock panel, in a surrounding manner, and the sliding plate is arranged in the protective frame.
Compared with the prior art, the novel door lock opening mechanism is arranged, the lock opening and closing function of the lock body is achieved through the sliding plate, the square head driving rotating mode is different from the prior art, the novel door lock opening mode is a novel door lock opening mode, product lines can be enriched, in the prior art, a lawbreaker pulls down a handle through a cat eye, and the door lock opening mode also has the function of preventing the lawbreaker from being opened from the cat eye.
Drawings
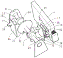
FIG. 1 is an isometric view of the overall structure of the present invention;
FIG. 2 is a schematic view of the slider structure of the present invention;
FIG. 3 is an isometric view of the drive unit;
FIG. 4 is an isometric view of the drive unit two;
fig. 5 is an isometric view of the slide member in a hidden state.
Description of reference numerals: 1-a door lock panel, 2-a box body, 3-an opening, 4-a sliding plate, 5-a first groove, 6-a second groove, 7-a first horizontal section, 8-an inclined ascending section, 9-a second horizontal section, 10-a slope, 11-a bearing seat, 12-a rotating shaft, 13-a first bevel gear, 14-a second bevel gear, 15-a third bevel gear, 16-a fourth bevel gear, 17-a first connecting rod, 18-a rocker arm, 19-a first roller, 20-a wedge block, 21-a second connecting rod, 22-a second roller, 23-a first support plate, 24-a second support plate, 25-a third support plate, 26-a fourth support plate, 27-a pull rod, 28-a first spring, 30-a second spring, 31-a locking disc, 32-locking hole, 33-guide rod, 34-lug, 35-third spring, 36-protective frame, 37-supporting rod and 38-square head.
Detailed Description
The embodiments described below with reference to the drawings are illustrative only and should not be construed as limiting the invention.
As shown in fig. 1 to 5, an embodiment of the present invention provides a door lock opening mechanism of a security door, including:
the anti-theft door comprises a door lock panel 1, wherein the door lock panel 1 is installed on an anti-theft door, and a lock body (not shown) is installed on one side, close to the anti-theft door, of the door lock panel 1; the lock body is embedded into the main body of the anti-theft door, the function of unlocking and locking is realized through the expansion of the lock tongue (not shown) in the lock body, the structure of the lock body can refer to the structure in the prior art, and the details are not repeated here, and the invention aims to provide the unlocking mechanism in the room body, in the prior art, the lock body rotates clockwise through the handle, then the square head 38 is driven to rotate, the square head 38 is connected with the execution part of the lock body, and then the expansion of the lock tongue is realized. And the drive square head 38 pivoted mode of this application is different with prior art, is a novel unlocking mode, can enrich the product line, and among the prior art, lawless persons pull down the handle through the cat eye, and the unlocking mode of this application also prevents the function that lawless persons opened from the cat eye, and concrete structure is as follows:
box body 2, for the cuboid structure, box body 2 is fixed in deviating from of lock panel 1 one side of burglary-resisting door, box body 2 are hollow structure, be formed with the assembly chamber in the box body 2, the assembly chamber in deviating from of box body 2 one side of burglary-resisting door is formed with opening 3.
The sliding plate 4 is arranged on one side, away from the door lock panel 1, of the box body 2, the sliding plate 4 can reciprocate along the horizontal direction, a first groove 5 and a second groove 6 are formed in the sliding plate 4 corresponding to the opening 3, the first groove 5 and the second groove 6 are arranged at intervals in the vertical direction, the height of the first groove 5 is higher than that of the second groove 6, the first groove 5 and the second groove 6 both extend along the horizontal direction, the first groove 5 comprises a first horizontal section 7, an inclined ascending section 8 and a second horizontal section 9, the first horizontal section 7 and the second horizontal section 9 are connected to two ends of the inclined ascending section 8, and the height of the second horizontal section 9 is higher than that of the first horizontal section 7; the side wall of the second groove 6 is formed with a slope 10.
The driving unit is arranged in the assembly cavity and comprises a bearing seat 11, a rotating shaft 12, a first bevel gear 13, a second bevel gear 14, a third bevel gear 15, a fourth bevel gear 16, a first connecting rod 17, a rocker arm 18, a first roller 19, a wedge block 20, a second connecting rod 21, a second roller 22, a first support plate 23, a second support plate 24, a third support plate 25, a fourth support plate 26, a pull rod 27, a first spring 28, a second spring 30 and a locking disc 31, wherein:
the number of the bearing seats 11 is two, the two bearing seats 11 are symmetrically arranged on the bottom surface of the assembly cavity, the rotating shaft 12 is rotatably arranged between the two bearing seats 11, and the first bevel gear 13, the second bevel gear 14 and the locking disc 31 are sleeved and fixed on the rotating shaft 12;
the first support plate 23 is fixed on the bottom surface of the assembly cavity, that is, one surface of the first support plate 23 is perpendicular to the door lock panel 1, the first connecting rod 17 is rotatably inserted through the first support plate 23, one end of the first connecting rod 17 is connected with the third bevel gear 15, the third bevel gear 15 is meshed with the first bevel gear 13, the other end of the first connecting rod 17 is connected with one end of the rocker arm 18, the other end of the rocker arm 18 is connected with the first roller 19, and the first roller 19 is arranged in the first groove 5 in a rolling manner; in the initial state, the first roller 19 is located in the first horizontal section 7, when the sliding plate 4 slides horizontally, the first roller 19 rises from the first horizontal section 7 to the second horizontal section 9 through the inclined rising section 8, the rocker 18 rotates, then the rotating shaft 12 is driven to rotate through the meshing action of the third bevel gear 15 and the first bevel gear 13, when the sliding plate 4 returns to the original position, the first roller 19 descends from the second horizontal section 9 to the first horizontal section 7 through the inclined rising section 8, the rocker 18 rotates in the reverse direction, and the rotating shaft 12 rotates in the reverse direction along with the first roller to return to the initial position.
The second connecting rod 21 slidably penetrates through the first supporting plate 23, one end of the second connecting rod 21 is connected with the wedge-shaped block 20, a wedge-shaped surface of the wedge-shaped block 20 is arranged away from the second connecting rod 21, the other end of the second connecting rod 21 is connected with the second roller 22, and the second roller 22 is arranged in the second groove 6 in a rolling manner; the first spring 28 is looped on the second link 21, one end of the first spring 28 abuts against the first support plate 23, and the other end of the first spring 28 abuts against the second roller 22.
The second support plate 24 and the third support plate 25 are fixed on the bottom surface of the assembly cavity, the pull rod 27 is an L-shaped structure and comprises a transverse rod section and a longitudinal rod section, the transverse rod section of the pull rod 27 slidably penetrates through the second support plate 24 and the third support plate 25, the wedge-shaped surface of the wedge block 20 is abutted to the longitudinal rod section of the pull rod 27, the second spring 30 is sleeved on the transverse rod section of the pull rod 27 in a sleeved mode, one end of the second spring 30 is abutted to the second support plate 24, and the other end of the second spring 30 is abutted to the third support plate 25.
In an initial state, the tail end of the transverse rod section of the pull rod 27 is inserted into the locking hole 32, the second roller 22 is located at the bottom surface of the second groove 6, the first spring 28 is in an extended state, the sliding plate 4 is slid, at this time, the second roller 22 is guided by the bottom surface of the second groove 6 through the slope 10 to push the second connecting rod 21 to extend forward, and at the same time, the first spring 28 is compressed to accumulate elastic force, due to the guiding effect of the wedge surface of the wedge block 20, the pull rod 27 is pulled away, the pull rod 27 is released from the locking hole 32, so that the rotating shaft 12 can rotate, when the sliding plate 4 returns, the second roller 22 returns to the bottom surface of the second groove 6 from the slope 10 of the second groove 6, the second connecting rod 21 retracts, the elastic force of the first spring 28 is released, the pull rod 27 returns, the tail end of the transverse rod section of the pull rod 27 is reinserted into the locking hole 32, and the.
The fourth support plate 26 is fixed to the bottom surface of the assembly cavity, one end of the fourth bevel gear 16 is engaged with the second bevel gear 14, a support rod 37 is arranged at the other end of the fourth bevel gear 16, the support rod 37 rotatably penetrates through the fourth support plate 26, and a square head 38 for driving the lock tongue to work is fixed to the tail end of the support rod 37. The shaft 12 rotates to drive the second bevel gear 14 to drive the fourth bevel gear 16 to rotate, thereby rotating the square head 38, so that the lock tongue of the lock body works to open the security door.
Further, in order to guide the lateral movement of the slide 4. One side that deviates from of box body 2 lock panel 1 is equipped with horizontal extension's guide bar 33, be equipped with on slide 4 with guide bar 33 forms direction complex guide block.
Further, in order to guide the sliding plate 4 to return, a projection 34 is provided on a side of the box body 2 facing away from the door lock panel 1, and a third spring 35 is provided between the projection 34 and the sliding plate 4. After the person releases the slide 4, the slide 4 is automatically returned by the elastic restoring force of the third spring 35.
Further, the box body 2 deviates from one side of door lock panel 1 encloses and is equipped with protective frame 36, slide 4 is located in protective frame 36, protective frame 36 is the open cuboid structure in top, can keep out iron wire slip slide 4 of cat eye department like this, reduces the potential safety hazard.
The construction, features and functions of the present invention are described in detail in the embodiments illustrated in the drawings, which are only preferred embodiments of the present invention, but the present invention is not limited by the drawings, and all equivalent embodiments modified or changed according to the idea of the present invention should fall within the protection scope of the present invention without departing from the spirit of the present invention covered by the description and the drawings.

Claims (4)

1. A door lock opening mechanism of a security door, comprising:
the anti-theft door comprises a door lock panel, a lock body and a locking bolt, wherein the door lock panel is arranged on the anti-theft door, and the lock body is arranged on one side of the door lock panel, which is close to the anti-theft door;
the box body is fixed on one side, away from the security door, of the door lock panel, an assembly cavity is formed in the box body, and an opening is formed in the assembly cavity on one side, away from the security door, of the box body;
the sliding plate is arranged on one side, away from the door lock panel, of the box body, the sliding plate can reciprocate along the horizontal direction, a first groove and a second groove are formed in the sliding plate and correspond to the opening, the first groove and the second groove are arranged at intervals in the vertical direction, the first groove and the second groove both extend along the horizontal direction, the first groove comprises a first horizontal section, an inclined ascending section and a second horizontal section, the first horizontal section and the second horizontal section are connected to two ends of the inclined ascending section, and the height of the second horizontal section is higher than that of the first horizontal section; a slope is formed on the side wall of the second groove;
drive unit, drive unit locates the assembly intracavity, drive unit includes bearing frame, pivot, first bevel gear, second bevel gear, third bevel gear, fourth bevel gear, first connecting rod, rocking arm, first gyro wheel, wedge, second connecting rod, second gyro wheel, first extension board, second extension board, third extension board, fourth extension board, pull rod, first spring, second spring and locking plate, wherein:
the two bearing seats are symmetrically arranged on the bottom surface of the assembly cavity, the rotating shaft is rotatably arranged between the two bearing seats, and the first bevel gear, the second bevel gear and the locking coil are sleeved on the rotating shaft;
the first support plate is fixed on the bottom surface of the assembly cavity, the first connecting rod rotatably penetrates through the first support plate, one end of the first connecting rod is connected with the third bevel gear, the third bevel gear is meshed with the first bevel gear, the other end of the first connecting rod is connected with one end of the rocker arm, the other end of the rocker arm is connected with the first roller wheel, and the first roller wheel is arranged in the first groove in a rolling manner;
the second connecting rod penetrates through the first supporting plate in a sliding mode, one end of the second connecting rod is connected with the wedge-shaped block, a wedge-shaped surface of the wedge-shaped block is arranged away from the second connecting rod, the other end of the second connecting rod is connected with the second roller wheel, and the second roller wheel is arranged in the second groove in a rolling mode; the first spring ring is sleeved on the second connecting rod, one end of the first spring is abutted with the first supporting plate, and the other end of the first spring is abutted with the second roller;
the second support plate and the third support plate are fixed on the bottom surface of the assembly cavity, the pull rod is of an L-shaped structure and comprises a transverse rod section and a longitudinal rod section, the transverse rod section of the pull rod can slidably penetrate through the second support plate and the third support plate, a wedge surface of the wedge-shaped block is abutted with the longitudinal rod section of the pull rod, the second spring ring is sleeved on the transverse rod section of the pull rod, one end of the second spring is abutted with the second support plate, and the other end of the second spring is abutted with the third support plate;
the disc surface of the locking disc is provided with a locking hole, and the tail end of the transverse rod section of the pull rod can penetrate through the locking hole;
the fourth supporting plate is fixed on the bottom surface of the assembling cavity, one end of the fourth bevel gear is meshed with the second bevel gear, a supporting rod is arranged at the other end of the fourth bevel gear, the supporting rod penetrates through the fourth supporting plate in a rotatable mode, and a square head used for driving the lock tongue to work is fixed at the tail end of the supporting rod.
2. The door lock opening mechanism of a security door according to claim 1, wherein: the box body deviates from one side of door lock panel is equipped with the guide bar of horizontal extension, be equipped with on the slide with guide bar forms direction complex guide block.
3. The door lock opening mechanism of a security door according to claim 2, wherein: one side of the box body, which deviates from the door lock panel, is provided with a convex block, and a third spring is arranged between the convex block and the sliding plate.
4. The door lock opening mechanism of a security door according to claim 3, wherein: one side of the box body, which deviates from the door lock panel, is enclosed with a protective frame, and the sliding plate is arranged in the protective frame.
CN202010346934.6A 2020-04-28 2020-04-28 Door lock opening mechanism of anti-theft door Active CN111502413B (en)

Priority Applications (1)

Application Number Priority Date Filing Date Title
CN202010346934.6A CN111502413B (en) 2020-04-28 2020-04-28 Door lock opening mechanism of anti-theft door

Applications Claiming Priority (1)

Application Number Priority Date Filing Date Title
CN202010346934.6A CN111502413B (en) 2020-04-28 2020-04-28 Door lock opening mechanism of anti-theft door

Publications (2)

Publication Number Publication Date
CN111502413A CN111502413A (en) 2020-08-07
CN111502413B true CN111502413B (en) 2021-05-14

Family

ID=71867792

Family Applications (1)

Application Number Title Priority Date Filing Date
CN202010346934.6A Active CN111502413B (en) 2020-04-28 2020-04-28 Door lock opening mechanism of anti-theft door

Country Status (1)

Country Link
CN (1) CN111502413B (en)

Citations (17)

* Cited by examiner, † Cited by third party
Publication number Priority date Publication date Assignee Title
JPH11172975A (en) * 1997-10-07 1999-06-29 Ujihara Kenchiku Jimusho:Kk Locking device unlockable in emergency
JP2005133512A (en) * 2003-10-31 2005-05-26 Toto Ltd Locking device for push-pull lock
JP2006057303A (en) * 2004-08-19 2006-03-02 Meiko:Kk Crescent lock
WO2007103332A2 (en) * 2006-03-06 2007-09-13 Handytrac Systems, Llc Electronic deadbolt lock with a leverage handle
US7543469B1 (en) * 2008-04-07 2009-06-09 Sun-Castle Global Precision Technology Co., Ltd. Mechanism of electronic door lock
CN202441223U (en) * 2012-02-27 2012-09-19 沈逸豪 Novel anti-theft door device
CN202970185U (en) * 2012-11-19 2013-06-05 郭小峰 Lock body
CN204002098U (en) * 2014-06-24 2014-12-10 中山市皇鼎五金制品有限公司 A kind of electronic safety lock lock body
CN204402189U (en) * 2014-10-21 2015-06-17 郭建设 Modularized electric is locked
CN204609487U (en) * 2015-02-09 2015-09-02 卢强 A kind of novel door lock prevented from opal unlatching burglar-proof door
CN205637860U (en) * 2016-05-12 2016-10-12 无锡艾斐凌科技有限公司 Prevent door handle mechanism that cat eye opened
US9681574B1 (en) * 2016-08-18 2017-06-13 Aic Inc. Chassis self-unlock mechanism
CN206477681U (en) * 2017-01-24 2017-09-08 杭州易欣安实业有限公司 The anti-opal opener of Door lock handle
CN108457524A (en) * 2018-05-30 2018-08-28 广东汇泰龙科技有限公司 A kind of door lock with anti-opal unlocking function
CN110388172A (en) * 2019-06-13 2019-10-29 宿州市金长城科技门业有限公司 A kind of high-strength multifunctional security door
CN209742501U (en) * 2018-11-23 2019-12-06 深圳几何科技有限公司 Door handle and intelligent door lock with same
CN110924747A (en) * 2019-11-28 2020-03-27 深圳智云镖科技有限公司 Door lock system for double-door outward-opening type anti-theft door

Patent Citations (17)

* Cited by examiner, † Cited by third party
Publication number Priority date Publication date Assignee Title
JPH11172975A (en) * 1997-10-07 1999-06-29 Ujihara Kenchiku Jimusho:Kk Locking device unlockable in emergency
JP2005133512A (en) * 2003-10-31 2005-05-26 Toto Ltd Locking device for push-pull lock
JP2006057303A (en) * 2004-08-19 2006-03-02 Meiko:Kk Crescent lock
WO2007103332A2 (en) * 2006-03-06 2007-09-13 Handytrac Systems, Llc Electronic deadbolt lock with a leverage handle
US7543469B1 (en) * 2008-04-07 2009-06-09 Sun-Castle Global Precision Technology Co., Ltd. Mechanism of electronic door lock
CN202441223U (en) * 2012-02-27 2012-09-19 沈逸豪 Novel anti-theft door device
CN202970185U (en) * 2012-11-19 2013-06-05 郭小峰 Lock body
CN204002098U (en) * 2014-06-24 2014-12-10 中山市皇鼎五金制品有限公司 A kind of electronic safety lock lock body
CN204402189U (en) * 2014-10-21 2015-06-17 郭建设 Modularized electric is locked
CN204609487U (en) * 2015-02-09 2015-09-02 卢强 A kind of novel door lock prevented from opal unlatching burglar-proof door
CN205637860U (en) * 2016-05-12 2016-10-12 无锡艾斐凌科技有限公司 Prevent door handle mechanism that cat eye opened
US9681574B1 (en) * 2016-08-18 2017-06-13 Aic Inc. Chassis self-unlock mechanism
CN206477681U (en) * 2017-01-24 2017-09-08 杭州易欣安实业有限公司 The anti-opal opener of Door lock handle
CN108457524A (en) * 2018-05-30 2018-08-28 广东汇泰龙科技有限公司 A kind of door lock with anti-opal unlocking function
CN209742501U (en) * 2018-11-23 2019-12-06 深圳几何科技有限公司 Door handle and intelligent door lock with same
CN110388172A (en) * 2019-06-13 2019-10-29 宿州市金长城科技门业有限公司 A kind of high-strength multifunctional security door
CN110924747A (en) * 2019-11-28 2020-03-27 深圳智云镖科技有限公司 Door lock system for double-door outward-opening type anti-theft door

Also Published As

Publication number Publication date
CN111502413A (en) 2020-08-07

Similar Documents

Publication Publication Date Title
US20100313488A1 (en) Adjustable after-market sash window stop
DE29507538U1 (en) Box to protect against shoplifting with a compact locking device that can be opened by the action of a magnet combined with a mechanical actuation
KR0166392B1 (en) Magnetic lock
CN111502413B (en) Door lock opening mechanism of anti-theft door
CN111894352B (en) A button-opening password lock with overload protection
JP5258778B2 (en) Seismic latch structure
EP2365168B1 (en) Fitting for braking the relative motion of device parts, in particular of sliding doors
DE7936680U1 (en) DOOR WITH DOOR LOCK AND PANIC LOCK RELEASE MECHANISM
EP2295689A1 (en) Door stopper and/or door holder assembly
CN205189693U (en) Combined theft -proof door
DE20208183U1 (en) Device for securing emergency exit doors
DE10339674A1 (en) Storage cabinet has ratchet mechanism which anchors sliding door to main body such that anchoring state of ratchet mechanism can be released through operation of handle
CN211448200U (en) Transmission rod locking device
JP4122343B2 (en) Building access door
DE19937362A1 (en) Device for locking a sliding door
JP4102929B2 (en) Shutter security structure
JPS6120940Y2 (en)
CN209398311U (en) Turnover device and slotless rolling screen door comprising it
JP3208088B2 (en) Automatic unlocking device and hinged door furniture with automatic unlocking device
DE102006011792B3 (en) Door handle has square radical to door leaf and handle is engaged to door leaf, and rounded carriage is connected with circular segment guidance
CN106968509B (en) A kind of security door and lockset silencing apparatus
DE102006029353B3 (en) threshold
JP7598565B1 (en) Elevator
KR101599518B1 (en) Anti-fall prevention system
JPS5810552B2 (en) Shoji falling prevention device

Legal Events

Date Code Title Description
PB01 Publication
PB01 Publication
SE01 Entry into force of request for substantive examination
SE01 Entry into force of request for substantive examination
TA01 Transfer of patent application right
TA01 Transfer of patent application right

Effective date of registration: 20210416

Address after: No.26 Xianghe Road, Susong Economic Development Zone, Anqing City, Anhui Province 246500

Applicant after: Anhui Chunge door & Window Manufacturing Co.,Ltd.

Address before: 230000 Xianghe North Road, Susong Economic Development Zone, Anqing City, Anhui Province

Applicant before: Anhui Yuntao Intelligent Technology Co.,Ltd.

GR01 Patent grant
GR01 Patent grant