CN111498557A - Adaptive tension-adjusted tower pack with tractor - Google Patents
Adaptive tension-adjusted tower pack with tractor Download PDFInfo
- Publication number
- CN111498557A CN111498557A CN202010470326.6A CN202010470326A CN111498557A CN 111498557 A CN111498557 A CN 111498557A CN 202010470326 A CN202010470326 A CN 202010470326A CN 111498557 A CN111498557 A CN 111498557A
- Authority
- CN
- China
- Prior art keywords
- tension
- wrapping tape
- signal
- frame
- magnetic powder
- Prior art date
- Legal status (The legal status is an assumption and is not a legal conclusion. Google has not performed a legal analysis and makes no representation as to the accuracy of the status listed.)
- Pending
Links
Images
Classifications
-
- B—PERFORMING OPERATIONS; TRANSPORTING
- B65—CONVEYING; PACKING; STORING; HANDLING THIN OR FILAMENTARY MATERIAL
- B65H—HANDLING THIN OR FILAMENTARY MATERIAL, e.g. SHEETS, WEBS, CABLES
- B65H23/00—Registering, tensioning, smoothing or guiding webs
- B65H23/04—Registering, tensioning, smoothing or guiding webs longitudinally
- B65H23/044—Sensing web tension
-
- B—PERFORMING OPERATIONS; TRANSPORTING
- B65—CONVEYING; PACKING; STORING; HANDLING THIN OR FILAMENTARY MATERIAL
- B65H—HANDLING THIN OR FILAMENTARY MATERIAL, e.g. SHEETS, WEBS, CABLES
- B65H19/00—Changing the web roll
- B65H19/10—Changing the web roll in unwinding mechanisms or in connection with unwinding operations
- B65H19/18—Attaching, e.g. pasting, the replacement web to the expiring web
-
- B—PERFORMING OPERATIONS; TRANSPORTING
- B65—CONVEYING; PACKING; STORING; HANDLING THIN OR FILAMENTARY MATERIAL
- B65H—HANDLING THIN OR FILAMENTARY MATERIAL, e.g. SHEETS, WEBS, CABLES
- B65H23/00—Registering, tensioning, smoothing or guiding webs
- B65H23/04—Registering, tensioning, smoothing or guiding webs longitudinally
- B65H23/06—Registering, tensioning, smoothing or guiding webs longitudinally by retarding devices, e.g. acting on web-roll spindle
-
- H—ELECTRICITY
- H01—ELECTRIC ELEMENTS
- H01B—CABLES; CONDUCTORS; INSULATORS; SELECTION OF MATERIALS FOR THEIR CONDUCTIVE, INSULATING OR DIELECTRIC PROPERTIES
- H01B13/00—Apparatus or processes specially adapted for manufacturing conductors or cables
- H01B13/22—Sheathing; Armouring; Screening; Applying other protective layers
- H01B13/26—Sheathing; Armouring; Screening; Applying other protective layers by winding, braiding or longitudinal lapping
-
- H—ELECTRICITY
- H01—ELECTRIC ELEMENTS
- H01B—CABLES; CONDUCTORS; INSULATORS; SELECTION OF MATERIALS FOR THEIR CONDUCTIVE, INSULATING OR DIELECTRIC PROPERTIES
- H01B13/00—Apparatus or processes specially adapted for manufacturing conductors or cables
- H01B13/22—Sheathing; Armouring; Screening; Applying other protective layers
- H01B13/26—Sheathing; Armouring; Screening; Applying other protective layers by winding, braiding or longitudinal lapping
- H01B13/2613—Sheathing; Armouring; Screening; Applying other protective layers by winding, braiding or longitudinal lapping by longitudinal lapping
Landscapes
- Engineering & Computer Science (AREA)
- Manufacturing & Machinery (AREA)
- Tension Adjustment In Filamentary Materials (AREA)
Abstract
本发明公开了一种自适应张力调节的塔装包带拖包机,包括:机架,机架上设有两转轴和一磁粉制动器,两转轴通过同步带传动连接,磁粉制动器与同步带传动连接。转轴上安装有塔装的绕包带,待绕包的电缆转动设置在机架上,绕包带的另一端卷绕在待绕包的电缆上。机架上还设有张力纠偏装置和张力控制器,张力纠偏装置抵压绕包带,张力控制器的信号输入端与张力纠偏装置信号连接,张力控制器的信号输出端与磁粉制动器信号连接。本发明的有益效果:绕包带采用塔装方式,大大提高了一次性供给绕包带的长度,减少了更换绕包带的频次;可一次性安装两卷塔装的绕包带,提高了工作效率,可实现实时监测并调整绕包带的张力。
The invention discloses a self-adaptive tension-adjusted tower-packing belt towing machine, comprising: a frame, two rotating shafts and a magnetic powder brake are arranged on the frame, the two rotating shafts are connected by a synchronous belt drive, and the magnetic powder brake is connected with the synchronous belt drive . A tower-mounted wrapping tape is installed on the rotating shaft, the cable to be wrapped is rotatably arranged on the frame, and the other end of the wrapping tape is wound on the cable to be wrapped. The frame is also provided with a tension correction device and a tension controller, the tension correction device presses the wrapping tape, the signal input end of the tension controller is connected with the signal of the tension correction device, and the signal output end of the tension controller is connected with the signal of the magnetic powder brake. The beneficial effects of the present invention: the wrapping tape adopts the tower mounting method, which greatly increases the length of the one-time supply wrapping tape and reduces the frequency of replacing the wrapping tape; Work efficiency, real-time monitoring and adjustment of the tension of the wrapping tape.
Description
技术领域technical field
本发明涉及包带拖包机的技术领域,特别涉及一种自适应张力调节的塔装包带拖包机。The present invention relates to the technical field of a bag tug, in particular to a tower-mounted bag tug with self-adaptive tension adjustment.
背景技术Background technique
我国电线电缆产业发展已经具有较长时间的历史,形成了成熟的产业链和完整的工业体系,2019年我国电线电缆行业大大小小企业数量已经达到了24049家,设备的更新换代市场巨大。随着工业的快速发展,现在已经进入工业4.0时代,同时,受国际贸易环境影响以及行业下游需求结构转变,我国电线电缆行业进入深化发展期,产品结构进一步调整,对过剩、劣质产能进一步进行淘汰,对行业整体规模产生了一定影响,很多电缆厂家都在为提高产品的生产质量与生产效率而思考设备的更新。包带拖包机是用于给电缆缠绕上一层软质包带的设备。现有的包带拖包机采用片装式包带拖包机,片装的包带长度有限,导致更换包带频繁,且不能实时调整包带在缠绕过程中的张力,导致生产的电缆包带层一致性差。The development of my country's wire and cable industry has a long history, forming a mature industrial chain and a complete industrial system. In 2019, the number of large and small enterprises in my country's wire and cable industry has reached 24,049, and the market for equipment replacement is huge. With the rapid development of the industry, it has now entered the era of Industry 4.0. At the same time, due to the impact of the international trade environment and the transformation of the downstream demand structure of the industry, my country's wire and cable industry has entered a period of deepening development, the product structure has been further adjusted, and excess and inferior production capacity has been further eliminated. , which has a certain impact on the overall scale of the industry. Many cable manufacturers are thinking about the update of equipment in order to improve the production quality and production efficiency of products. The tape hauler is a device used to wrap a layer of soft tape on the cable. Existing strapping tugs use sheet-type strapping tugs, which have a limited length of strapping, resulting in frequent replacement of straps, and the inability to adjust the tension of the strapping during the winding process in real time, resulting in the production of cable strapping layers. Poor consistency.
发明内容SUMMARY OF THE INVENTION
针对现有技术存在的问题,本发明的主要目的是提供一种自适应张力调节的塔装包带拖包机,旨在解决现有的片装式包带拖包机,包带长度有限,导致更换包带频繁,且不能实时调整包带在缠绕过程中的张力,导致生产的电缆包带层一致性差的问题。Aiming at the problems existing in the prior art, the main purpose of the present invention is to provide a self-adaptive tension-adjusted tower-packed belt tug, which aims to solve the problem that the existing sheet-type belt tug has a limited length of the belt, which leads to replacement The tape is frequently used, and the tension of the tape cannot be adjusted in real time during the winding process, which leads to the problem of poor consistency of the produced cable tape layer.
为实现上述目的,本发明提出的自适应张力调节的塔装包带拖包机,包括:机架,机架上设有两转轴和一磁粉制动器,两转轴通过同步带传动连接,磁粉制动器与同步带传动连接。转轴上安装有塔装的绕包带,待绕包的电缆转动设置在机架上,绕包带的另一端卷绕在待绕包的电缆上。机架上还设有张力纠偏装置和张力控制器,张力纠偏装置抵压绕包带,张力控制器的信号输入端与张力纠偏装置信号连接,张力控制器的信号输出端与磁粉制动器信号连接。In order to achieve the above-mentioned purpose, the self-adaptive tension-adjusted tower-packing belt tugboat includes: a frame, two rotating shafts and a magnetic powder brake are arranged on the frame, the two rotating shafts are connected by a synchronous belt drive, and the magnetic powder brake Belt drive connection. A tower-mounted wrapping tape is installed on the rotating shaft, the cable to be wrapped is rotatably arranged on the frame, and the other end of the wrapping tape is wound on the cable to be wrapped. The frame is also provided with a tension correction device and a tension controller, the tension correction device presses the wrapping tape, the signal input end of the tension controller is signally connected to the tension correction device, and the signal output end of the tension controller is connected to the magnetic powder brake signal.
优选地,张力纠偏装置包括:张力纠偏导轮和张力纠偏器。张力纠偏导轮的侧壁抵压绕包带,其底部转动设置在张力纠偏器上,且张力纠偏导轮可绕张力纠偏器呈角度偏转。张力纠偏器设置在机架上,其包括:用于检测张力纠偏导轮绕张力纠偏器呈角度偏转的左张力传感器和右张力传感器。Preferably, the tension correction device includes: a tension correction guide wheel and a tension correction device. The side wall of the tension rectifying guide wheel presses against the wrapping tape, and the bottom thereof is rotated and arranged on the tension rectifying device, and the tension rectifying guide wheel can be deflected angularly around the tension rectifying device. The tension correction device is arranged on the frame, which includes: a left tension sensor and a right tension sensor for detecting the angular deflection of the tension correction guide pulley around the tension correction device.
优选地,张力控制器包括:CPU处理模块。CPU处理模块的信号输入端与左张力传感器和右张力传感器信号连接,用于输入左张力传感器或右张力传感器检测到的张力纠偏导轮绕张力纠偏器发生偏转的角度信号。CPU处理模块的信号输出端与磁粉制动器信号连接,用于根据角度信号输出控制磁粉制动器制动的功率输出信号。Preferably, the tension controller includes: a CPU processing module. The signal input end of the CPU processing module is connected with the left tension sensor and the right tension sensor signal, and is used to input the angle signal of the deflection of the tension correction guide wheel around the tension correction device detected by the left tension sensor or the right tension sensor. The signal output end of the CPU processing module is connected with the signal of the magnetic powder brake, and is used for outputting the power output signal for controlling the braking of the magnetic powder brake according to the angle signal.
优选地,机架上还转动设有若干压紧轮,压紧轮抵压绕包带。Preferably, a plurality of pressing wheels are also rotatably arranged on the frame, and the pressing wheels press against the wrapping tape.
与现有技术相比,本发明的有益效果在于:绕包带采用塔装方式,大大提高了一次性供给绕包带的长度,减少了更换绕包带的频次;可一次性安装两卷塔装的绕包带,两卷绕包带同步转动,当其中一卷快要用完时,可以快速与另一卷备用的绕包带进行快速搭接,不用停机处理,从而提高了工作效率;通过设置张力纠偏装置、张力控制器及磁粉制动器,可实现实时监测并调整绕包带的张力。Compared with the prior art, the present invention has the beneficial effects that: the wrapping tape adopts the tower mounting method, which greatly increases the length of the one-time supply wrapping tape and reduces the frequency of replacing the wrapping tape; two wrapping towers can be installed at one time. When one roll is about to be used up, it can be quickly overlapped with another roll of spare wrapping tape without stopping the processing, thus improving work efficiency; Set up tension correction device, tension controller and magnetic powder brake, which can realize real-time monitoring and adjustment of the tension of the wrapping tape.
附图说明Description of drawings
为了更清楚地说明本发明实施例或现有技术中的技术方案,下面将对实施例或现有技术描述中所需要使用的附图作简单地介绍,显而易见地,下面描述中的附图仅仅是本发明的一些实施例,对于本领域普通技术人员来讲,在不付出创造性劳动的前提下,还可以根据这些附图示出的结构获得其他的附图。In order to explain the embodiments of the present invention or the technical solutions in the prior art more clearly, the following briefly introduces the accompanying drawings that need to be used in the description of the embodiments or the prior art. Obviously, the accompanying drawings in the following description are only These are some embodiments of the present invention, and for those of ordinary skill in the art, other drawings can also be obtained according to the structures shown in these drawings without creative efforts.
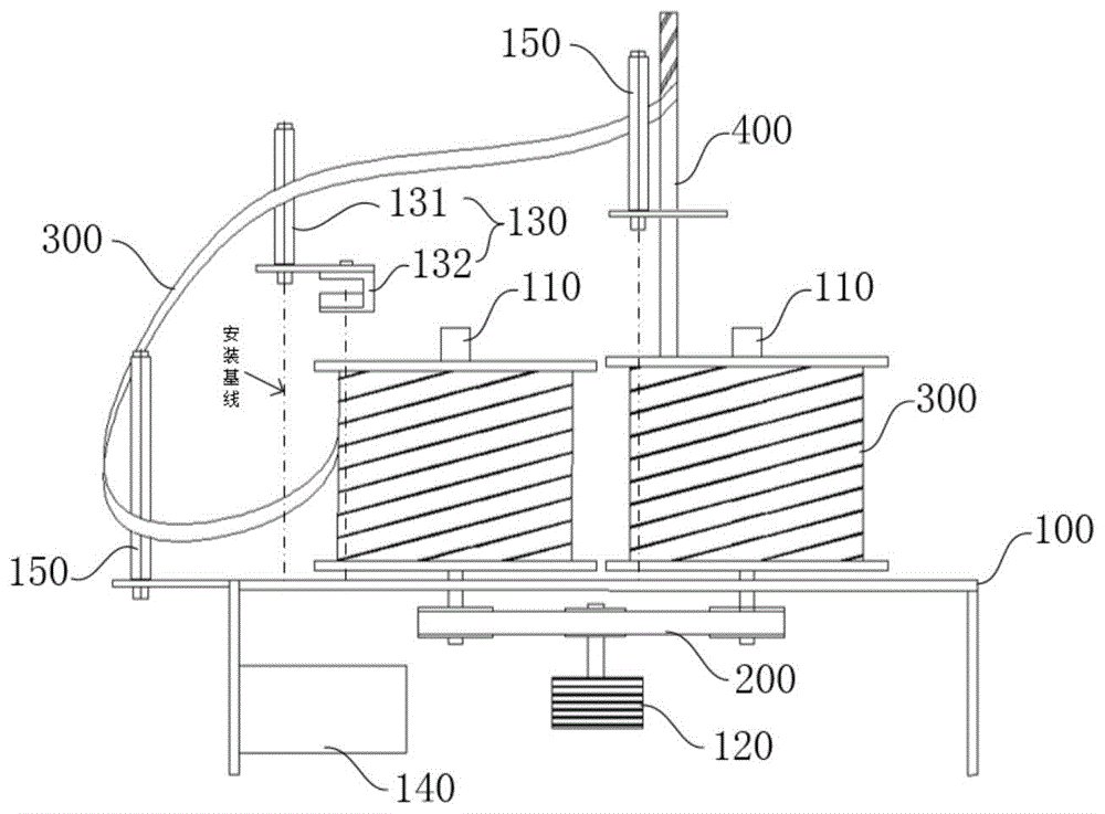
图1为本发明一实施例的整体结构示意图;1 is a schematic diagram of the overall structure of an embodiment of the present invention;
图2为本发明一实施例的俯视工作原理图;FIG. 2 is a top-view working principle diagram of an embodiment of the present invention;
图3为本发明一实施例张力控制器的控制原理图;3 is a control principle diagram of a tension controller according to an embodiment of the present invention;
本发明目的实现、功能特点及优点将结合实施例,参照附图做进一步说明。The object realization, functional features and advantages of the present invention will be further described with reference to the accompanying drawings in conjunction with the embodiments.
具体实施方式Detailed ways
本发明提出一种自适应张力调节的塔装包带拖包机。The present invention provides a self-adaptive tension-adjusted tower-packing belt tug.
参照图1-3,图1为本发明一实施例的整体结构示意图,图2为本发明一实施例的俯视工作原理图,图3为本发明一实施例张力控制器的控制原理图。1-3, FIG. 1 is a schematic diagram of the overall structure of an embodiment of the present invention, FIG. 2 is a top-view working principle diagram of an embodiment of the present invention, and FIG. 3 is a control principle diagram of a tension controller according to an embodiment of the present invention.
如图1-2所示,在本发明实施例中,该自适应张力调节的塔装包带拖包机,包括:机架100,机架100上设有两转轴110和一磁粉制动器120,两转轴110通过同步带200传动连接,磁粉制动器120与同步带200传动连接。As shown in Figures 1-2, in this embodiment of the present invention, the self-adaptive tension-adjusted tower-packed tugboat includes: a
转轴110上安装有塔装的绕包带300,待绕包的电缆400通过驱动器(图中未标示)驱动其在机架100上转动,绕包带300的另一端卷绕在待绕包的电缆400上,从而拖动绕包带300向待绕包的电缆400运动。A tower-mounted
在本发明中的绕包带300通过采用塔装供料的方式,单卷塔装绕包带300一次供料长度可达到5000-10000米,而传统采用片装式包带的拖包机一次供料长度只能达到500-1000米,大大提供了单次供料长度。The
机架100上还设有张力纠偏装置130和张力控制器140。The
张力纠偏装置130包括:张力纠偏导轮131和张力纠偏器132。张力纠偏导轮131的侧壁抵压绕包带300,其底部转动设置在张力纠偏器132上,且张力纠偏导轮131可绕张力纠偏器132呈角度偏转。张力纠偏器132设置在机架100上,其包括:用于检测张力纠偏导轮131绕张力纠偏器132呈角度偏转的左张力传感器1321和右张力传感器1322。The
如图3所示,张力控制器140包括:CPU处理模块141。CPU处理模块141的信号输入端与左张力传感器1321和右张力传感器1322信号连接,用于输入左张力传感器1321或右张力传感器1322检测到的张力纠偏导轮131绕张力纠偏器132发生偏转的角度信号。CPU处理模块141的信号输出端与磁粉制动器120信号连接,用于根据角度信号输出控制磁粉制动器120制动的功率输出信号。As shown in FIG. 3 , the
当塔装的绕包带300被拖动时,绕包带300的张力抵压张力纠偏导轮131绕张力纠偏器132呈一定角度偏转,张力纠偏器132上的左张力传感器1321或右张力传感器1322检测出该角度偏转值,并发出与该角度偏转值对应的角度信号给张力控制器140的CPU处理模块141,CPU处理模块141将接收到的角度信号再转换成角度偏转值,并与预先设定的角度偏转值进行运算比值,运算出差值,再将该差值转换成对应的输出功率控制信号,并输出给磁粉制动器120,磁粉控制器接收到输出功率控制信号后进行制动,并按输出功率控制信号对应的功率运行,从而实现绕包带300全程张力实时跟踪调节,使绕包带300缠绕在电缆400的张力一致,不会出现松紧不一的现象,提高电缆400包带层的一致性。When the
具体地,在本实施例中,为防止绕包带300因跨度太大而松脱,机架100上还转动设有若干压紧轮150,压紧轮150抵压绕包带300。Specifically, in this embodiment, in order to prevent the
与现有技术相比,本发明的有益效果在于:绕包带300采用塔装方式,大大提高了一次性供给绕包带300的长度,减少了更换绕包带300的频次;可一次性安装两卷塔装的绕包带300,两卷绕包带300同步转动,当其中一卷快要用完时,可以快速与另一卷备用的绕包带300进行快速搭接,不用停机处理,从而提高了工作效率;通过设置张力纠偏装置130、张力控制器140及磁粉制动器120,可实现实时监测并调整绕包带300的张力。Compared with the prior art, the present invention has the beneficial effects that: the
以上所述仅为本发明的优选实施例,并非因此限制本发明的专利范围,凡是在本发明的发明构思下,利用本发明说明书及附图内容所作的等效结构变换,或直接/间接运用在其他相关的技术领域均包括在本发明的专利保护范围内。The above descriptions are only the preferred embodiments of the present invention, and are not intended to limit the scope of the present invention. Under the inventive concept of the present invention, the equivalent structural transformations made by the contents of the description and drawings of the present invention, or the direct/indirect application Other related technical fields are included in the scope of patent protection of the present invention.
Claims (4)
Priority Applications (1)
| Application Number | Priority Date | Filing Date | Title |
|---|---|---|---|
| CN202010470326.6A CN111498557A (en) | 2020-05-28 | 2020-05-28 | Adaptive tension-adjusted tower pack with tractor |
Applications Claiming Priority (1)
| Application Number | Priority Date | Filing Date | Title |
|---|---|---|---|
| CN202010470326.6A CN111498557A (en) | 2020-05-28 | 2020-05-28 | Adaptive tension-adjusted tower pack with tractor |
Publications (1)
| Publication Number | Publication Date |
|---|---|
| CN111498557A true CN111498557A (en) | 2020-08-07 |
Family
ID=71866966
Family Applications (1)
| Application Number | Title | Priority Date | Filing Date |
|---|---|---|---|
| CN202010470326.6A Pending CN111498557A (en) | 2020-05-28 | 2020-05-28 | Adaptive tension-adjusted tower pack with tractor |
Country Status (1)
| Country | Link |
|---|---|
| CN (1) | CN111498557A (en) |
Cited By (1)
| Publication number | Priority date | Publication date | Assignee | Title |
|---|---|---|---|---|
| CN119560240A (en) * | 2025-01-24 | 2025-03-04 | 深圳市利路通科技实业有限公司 | A cable core multi-layer belt dragging machine |
Citations (21)
| Publication number | Priority date | Publication date | Assignee | Title |
|---|---|---|---|---|
| US4347993A (en) * | 1979-11-06 | 1982-09-07 | W. J. Industries, Incorporated | Tension monitor means and system |
| JPH0970617A (en) * | 1995-09-07 | 1997-03-18 | Sumitomo Metal Ind Ltd | Rewinder tension control system |
| CN2463400Y (en) * | 2001-02-01 | 2001-12-05 | 上海曙光机械制造厂 | Automatic tenslator for high-vacuum winding coating film magnetic powder clutch |
| CN2788238Y (en) * | 2005-04-11 | 2006-06-14 | 上海南洋电工器材厂 | Package circulating machine circulate strip tension controlling device |
| CN201334274Y (en) * | 2009-01-08 | 2009-10-28 | 玉溪环球彩印纸盒有限公司 | Reeled packing paper rewinding machine |
| CN201427823Y (en) * | 2009-06-08 | 2010-03-24 | 东莞市奥力德自动化机械有限公司 | Tension control device |
| CN101759057A (en) * | 2008-12-26 | 2010-06-30 | 达信科技股份有限公司 | Automatic alignment system and control method thereof |
| CN203439777U (en) * | 2013-07-26 | 2014-02-19 | 桐城信邦电子有限公司 | Leading-in rack of plurality of groups of wires |
| CN203714912U (en) * | 2014-02-25 | 2014-07-16 | 李东 | Film roll changing device |
| CN104724529A (en) * | 2015-01-28 | 2015-06-24 | 苏州工业职业技术学院 | Constant tension control system based on partition-plate-free filterer movement |
| CN105692297A (en) * | 2016-04-06 | 2016-06-22 | 广州贝晓德传动配套有限公司 | Positioning and deviation-rectifying device suitable for flexible material and application method of positioning and deviation-rectifying device |
| CN106276370A (en) * | 2016-09-07 | 2017-01-04 | 华中科技大学 | A kind of Deviation rectifier based on the detection of flexible sensor tension distribution |
| CN206502455U (en) * | 2017-02-20 | 2017-09-19 | 东莞市创展机械有限公司 | A kind of hand push magnetic force pay off rack |
| CN108190606A (en) * | 2018-01-04 | 2018-06-22 | 常州新创航空科技有限公司 | Carbon fiber prepreg winding/unwinding device |
| CN108597693A (en) * | 2018-06-15 | 2018-09-28 | 无锡南方电工机械有限公司 | Cable shield machine and its control technique |
| CN109192405A (en) * | 2018-08-31 | 2019-01-11 | 平湖迪工机械制造有限公司 | A kind of magnetic hysteresis tension winding machine |
| CN208747291U (en) * | 2018-06-20 | 2019-04-16 | 重庆万达薄板有限公司 | Strip hot-dip galvanizing processing deviation correcting device over long distances |
| CN209275862U (en) * | 2018-11-05 | 2019-08-20 | 宁波水艺膜科技发展有限公司 | The wrapped unreeling structure of polytetrafluoroethylhollow hollow fiber membrane |
| CN209822368U (en) * | 2019-04-26 | 2019-12-20 | 乐庭电线工业(惠州)有限公司 | Constant-tension double-head bag dragging machine |
| CN110759153A (en) * | 2019-10-17 | 2020-02-07 | 大族激光科技产业集团股份有限公司 | Self-adaptive taper tension control system |
| CN212402868U (en) * | 2020-05-28 | 2021-01-26 | 深圳市利路通科技实业有限公司 | Self-adaptive tension adjusting tower-mounted belt bag dragging machine |
-
2020
- 2020-05-28 CN CN202010470326.6A patent/CN111498557A/en active Pending
Patent Citations (21)
| Publication number | Priority date | Publication date | Assignee | Title |
|---|---|---|---|---|
| US4347993A (en) * | 1979-11-06 | 1982-09-07 | W. J. Industries, Incorporated | Tension monitor means and system |
| JPH0970617A (en) * | 1995-09-07 | 1997-03-18 | Sumitomo Metal Ind Ltd | Rewinder tension control system |
| CN2463400Y (en) * | 2001-02-01 | 2001-12-05 | 上海曙光机械制造厂 | Automatic tenslator for high-vacuum winding coating film magnetic powder clutch |
| CN2788238Y (en) * | 2005-04-11 | 2006-06-14 | 上海南洋电工器材厂 | Package circulating machine circulate strip tension controlling device |
| CN101759057A (en) * | 2008-12-26 | 2010-06-30 | 达信科技股份有限公司 | Automatic alignment system and control method thereof |
| CN201334274Y (en) * | 2009-01-08 | 2009-10-28 | 玉溪环球彩印纸盒有限公司 | Reeled packing paper rewinding machine |
| CN201427823Y (en) * | 2009-06-08 | 2010-03-24 | 东莞市奥力德自动化机械有限公司 | Tension control device |
| CN203439777U (en) * | 2013-07-26 | 2014-02-19 | 桐城信邦电子有限公司 | Leading-in rack of plurality of groups of wires |
| CN203714912U (en) * | 2014-02-25 | 2014-07-16 | 李东 | Film roll changing device |
| CN104724529A (en) * | 2015-01-28 | 2015-06-24 | 苏州工业职业技术学院 | Constant tension control system based on partition-plate-free filterer movement |
| CN105692297A (en) * | 2016-04-06 | 2016-06-22 | 广州贝晓德传动配套有限公司 | Positioning and deviation-rectifying device suitable for flexible material and application method of positioning and deviation-rectifying device |
| CN106276370A (en) * | 2016-09-07 | 2017-01-04 | 华中科技大学 | A kind of Deviation rectifier based on the detection of flexible sensor tension distribution |
| CN206502455U (en) * | 2017-02-20 | 2017-09-19 | 东莞市创展机械有限公司 | A kind of hand push magnetic force pay off rack |
| CN108190606A (en) * | 2018-01-04 | 2018-06-22 | 常州新创航空科技有限公司 | Carbon fiber prepreg winding/unwinding device |
| CN108597693A (en) * | 2018-06-15 | 2018-09-28 | 无锡南方电工机械有限公司 | Cable shield machine and its control technique |
| CN208747291U (en) * | 2018-06-20 | 2019-04-16 | 重庆万达薄板有限公司 | Strip hot-dip galvanizing processing deviation correcting device over long distances |
| CN109192405A (en) * | 2018-08-31 | 2019-01-11 | 平湖迪工机械制造有限公司 | A kind of magnetic hysteresis tension winding machine |
| CN209275862U (en) * | 2018-11-05 | 2019-08-20 | 宁波水艺膜科技发展有限公司 | The wrapped unreeling structure of polytetrafluoroethylhollow hollow fiber membrane |
| CN209822368U (en) * | 2019-04-26 | 2019-12-20 | 乐庭电线工业(惠州)有限公司 | Constant-tension double-head bag dragging machine |
| CN110759153A (en) * | 2019-10-17 | 2020-02-07 | 大族激光科技产业集团股份有限公司 | Self-adaptive taper tension control system |
| CN212402868U (en) * | 2020-05-28 | 2021-01-26 | 深圳市利路通科技实业有限公司 | Self-adaptive tension adjusting tower-mounted belt bag dragging machine |
Cited By (2)
| Publication number | Priority date | Publication date | Assignee | Title |
|---|---|---|---|---|
| CN119560240A (en) * | 2025-01-24 | 2025-03-04 | 深圳市利路通科技实业有限公司 | A cable core multi-layer belt dragging machine |
| CN119560240B (en) * | 2025-01-24 | 2025-05-30 | 深圳市利路通科技实业有限公司 | A cable core multi-layer belt dragging machine |
Similar Documents
| Publication | Publication Date | Title |
|---|---|---|
| CN111498557A (en) | Adaptive tension-adjusted tower pack with tractor | |
| CN212402868U (en) | Self-adaptive tension adjusting tower-mounted belt bag dragging machine | |
| CN204749451U (en) | Synthetic graphite production equipment | |
| CN104815869B (en) | The control method of tail roller is pressed during strip coiling | |
| CN102039358A (en) | Steel cord corrector | |
| CN201424299Y (en) | Coiling pressure stabilization control system and device | |
| CN206375075U (en) | Cake packaging machine | |
| CN110466834B (en) | Method for judging winding tension of paper placing frame of kraft paper roll packaging machine | |
| CN207226579U (en) | A kind of packaging film unreels hold-down mechanism | |
| CN202816489U (en) | Belting set for fireproof cable | |
| CN101863160B (en) | Web feed printing finishing production equipment | |
| CN205395403U (en) | Flat cutting device of concora crush with intermittent type rotary press on line | |
| CN208772151U (en) | A kind of cold-strip steel centring manual correction device | |
| CN206156427U (en) | Parabola profile paper transmission equipment | |
| CN203903591U (en) | Cloth tensioning device for use on cloth inspecting machine | |
| CN201971491U (en) | Constant-tension unreeling machine | |
| CN202687590U (en) | Membrane tension bridle | |
| CN209226219U (en) | A kind of spiral cleaning adhesive tape wrapping machine | |
| CN201037143Y (en) | Leather gilding press | |
| CN208747262U (en) | A kind of compound material rolling device | |
| CN109047342B (en) | Manual correction device and method for deviation of cold-rolled strip steel | |
| CN206702604U (en) | A kind of roller coat integral type color steel tile process units | |
| CN207433889U (en) | A kind of steel strip bundling machine take-up | |
| CN208245487U (en) | A kind of Full-automatic pole sheet cutting machine | |
| CN207154711U (en) | A kind of amorphous band shaped device |
Legal Events
| Date | Code | Title | Description |
|---|---|---|---|
| PB01 | Publication | ||
| PB01 | Publication | ||
| SE01 | Entry into force of request for substantive examination | ||
| SE01 | Entry into force of request for substantive examination | ||
| RJ01 | Rejection of invention patent application after publication | ||
| RJ01 | Rejection of invention patent application after publication |
Application publication date: 20200807 |
