CN111492863A - Miniature wisdom vegetable cultivation case - Google Patents
Miniature wisdom vegetable cultivation case Download PDFInfo
- Publication number
- CN111492863A CN111492863A CN202010511096.3A CN202010511096A CN111492863A CN 111492863 A CN111492863 A CN 111492863A CN 202010511096 A CN202010511096 A CN 202010511096A CN 111492863 A CN111492863 A CN 111492863A
- Authority
- CN
- China
- Prior art keywords
- fixedly connected
- box
- water inlet
- vegetable cultivation
- cultivation
- Prior art date
- Legal status (The legal status is an assumption and is not a legal conclusion. Google has not performed a legal analysis and makes no representation as to the accuracy of the status listed.)
- Pending
Links
Images
Classifications
-
- A—HUMAN NECESSITIES
- A01—AGRICULTURE; FORESTRY; ANIMAL HUSBANDRY; HUNTING; TRAPPING; FISHING
- A01G—HORTICULTURE; CULTIVATION OF VEGETABLES, FLOWERS, RICE, FRUIT, VINES, HOPS OR SEAWEED; FORESTRY; WATERING
- A01G9/00—Cultivation in receptacles, forcing-frames or greenhouses; Edging for beds, lawn or the like
- A01G9/14—Greenhouses
-
- A—HUMAN NECESSITIES
- A01—AGRICULTURE; FORESTRY; ANIMAL HUSBANDRY; HUNTING; TRAPPING; FISHING
- A01G—HORTICULTURE; CULTIVATION OF VEGETABLES, FLOWERS, RICE, FRUIT, VINES, HOPS OR SEAWEED; FORESTRY; WATERING
- A01G7/00—Botany in general
- A01G7/04—Electric or magnetic or acoustic treatment of plants for promoting growth
- A01G7/045—Electric or magnetic or acoustic treatment of plants for promoting growth with electric lighting
-
- A—HUMAN NECESSITIES
- A01—AGRICULTURE; FORESTRY; ANIMAL HUSBANDRY; HUNTING; TRAPPING; FISHING
- A01G—HORTICULTURE; CULTIVATION OF VEGETABLES, FLOWERS, RICE, FRUIT, VINES, HOPS OR SEAWEED; FORESTRY; WATERING
- A01G9/00—Cultivation in receptacles, forcing-frames or greenhouses; Edging for beds, lawn or the like
- A01G9/24—Devices or systems for heating, ventilating, regulating temperature, illuminating, or watering, in greenhouses, forcing-frames, or the like
-
- A—HUMAN NECESSITIES
- A01—AGRICULTURE; FORESTRY; ANIMAL HUSBANDRY; HUNTING; TRAPPING; FISHING
- A01G—HORTICULTURE; CULTIVATION OF VEGETABLES, FLOWERS, RICE, FRUIT, VINES, HOPS OR SEAWEED; FORESTRY; WATERING
- A01G9/00—Cultivation in receptacles, forcing-frames or greenhouses; Edging for beds, lawn or the like
- A01G9/24—Devices or systems for heating, ventilating, regulating temperature, illuminating, or watering, in greenhouses, forcing-frames, or the like
- A01G9/247—Watering arrangements
-
- Y—GENERAL TAGGING OF NEW TECHNOLOGICAL DEVELOPMENTS; GENERAL TAGGING OF CROSS-SECTIONAL TECHNOLOGIES SPANNING OVER SEVERAL SECTIONS OF THE IPC; TECHNICAL SUBJECTS COVERED BY FORMER USPC CROSS-REFERENCE ART COLLECTIONS [XRACs] AND DIGESTS
- Y02—TECHNOLOGIES OR APPLICATIONS FOR MITIGATION OR ADAPTATION AGAINST CLIMATE CHANGE
- Y02A—TECHNOLOGIES FOR ADAPTATION TO CLIMATE CHANGE
- Y02A40/00—Adaptation technologies in agriculture, forestry, livestock or agroalimentary production
- Y02A40/10—Adaptation technologies in agriculture, forestry, livestock or agroalimentary production in agriculture
- Y02A40/25—Greenhouse technology, e.g. cooling systems therefor
Landscapes
- Life Sciences & Earth Sciences (AREA)
- Environmental Sciences (AREA)
- Biodiversity & Conservation Biology (AREA)
- Botany (AREA)
- Ecology (AREA)
- Forests & Forestry (AREA)
- Cultivation Receptacles Or Flower-Pots, Or Pots For Seedlings (AREA)
Abstract
本发明公开了一种微型智慧蔬菜栽培箱,包括主体箱,所述主体箱的内部设置有栽培台,所述栽培台的上表面开设有空腔,所述空腔的内壁固定连接有横板,所述横板的上表面固定连接有纱布,所述纱布的上表面设置有土壤层,所述栽培台的上表面套接有盖板,所述主体箱的内壁固定连接有日照灯和隔板。该微型智慧蔬菜栽培箱,通过设置水泵,能够将外界水源注入主体箱中,通过设置进水支管的孔洞,能够将水洒向蔬菜,通过设置电机、主动齿轮与从动齿轮,能够带动进水支管转动,通过设置风机与出风口,能够使主体箱通风,通过设置日照灯,能够为蔬菜提供光照,通过设置土壤层,能够为蔬菜提供营养,从而达到该微型智慧蔬菜栽培箱浇灌均匀的效果。
The invention discloses a miniature smart vegetable cultivation box, comprising a main body box, a cultivation table is arranged inside the main body box, a cavity is opened on the upper surface of the cultivation table, and a horizontal plate is fixedly connected to the inner wall of the cavity The upper surface of the horizontal plate is fixedly connected with gauze, the upper surface of the gauze is provided with a soil layer, the upper surface of the cultivation platform is sleeved with a cover plate, and the inner wall of the main body box is fixedly connected with a sunlight lamp and a partition plate. In the miniature smart vegetable cultivation box, the external water source can be injected into the main box by setting the water pump, the water can be sprinkled on the vegetables by setting the holes of the water inlet branch pipe, and the water inlet can be driven by setting the motor, the driving gear and the driven gear. The branch pipe rotates, by setting the fan and the air outlet, the main box can be ventilated, by setting the sunshine lamp, it can provide light for the vegetables, and by setting the soil layer, it can provide nutrients for the vegetables, so as to achieve the uniform watering effect of the miniature smart vegetable cultivation box .
Description
技术领域technical field
本发明涉及栽培箱技术领域,具体为一种微型智慧蔬菜栽培箱。The invention relates to the technical field of cultivation boxes, in particular to a miniature smart vegetable cultivation box.
背景技术Background technique
蔬菜是指可以做菜、烹饪成为食品的一类植物或菌类,蔬菜是人们日常饮食中必不可少的食物之一,蔬菜可提供人体所必需的多种维生素和矿物质等营养物质,据国际物质粮农组织1990年统计,人体必需的维生素C的90%、维生素A的60%来自蔬菜,此外,蔬菜中还有多种多样的植物化学物质,是人们公认的对健康有效的成分,目前果蔬中的营养素可以有效预防慢性、退行性疾病的多种物质,正在被人们研究发现。Vegetables refer to a class of plants or fungi that can be cooked and cooked into food. Vegetables are one of the essential foods in people's daily diet. Vegetables can provide nutrients such as vitamins and minerals necessary for the human body. According to the statistics of the International Food and Agriculture Organization in 1990, 90% of the vitamin C and 60% of the vitamin A necessary for the human body come from vegetables. In addition, there are a variety of phytochemical substances in vegetables, which are recognized as effective ingredients for health. Nutrients in fruits and vegetables can effectively prevent a variety of substances of chronic and degenerative diseases, which are being discovered by people.
随着人们生活水平的日益提高,城市家庭越来越多在阳台、窗台或楼顶平台等进行蔬菜栽培,蔬菜栽培主要有两种:一是采用无机无土栽培方式,用物理方式固定蔬菜,采用机泵循环营养液和补充氧气,提供蔬菜所需养分,满足蔬菜生长需要,达到培养蔬菜的目的;二是采用盆土栽培,是用蔬菜栽培箱箱体或花盆加入营养土壤进行蔬菜栽培。With the increasing improvement of people's living standards, more and more urban households cultivate vegetables on balconies, windowsills or roof platforms. There are two main types of vegetable cultivation: one is to use inorganic soilless cultivation methods, which use physical methods to fix vegetables; The machine pump is used to circulate the nutrient solution and supplementary oxygen to provide the nutrients needed for vegetables, meet the needs of vegetable growth, and achieve the purpose of cultivating vegetables; the second is to use pot soil cultivation, which is to add nutrient soil to vegetable cultivation boxes or flower pots for vegetable cultivation. .
人们通常会利用小型栽培箱对蔬菜行进栽培,栽培箱中需要为蔬菜提供有利于其生长的环境,栽培箱中需要为蔬菜提供水源,而现有的一般栽培箱浇灌不均匀,栽培蔬菜的效果不好。People usually use a small cultivation box to cultivate vegetables. The cultivation box needs to provide an environment conducive to their growth, and the cultivation box needs to provide a water source for the vegetables. However, the existing general cultivation box is not uniformly watered, and the effect of cultivating vegetables is not uniform. not good.
发明内容SUMMARY OF THE INVENTION
本发明的目的在于提供一种微型智慧蔬菜栽培箱,以解决上述背景技术中提出的问题。The purpose of the present invention is to provide a miniature smart vegetable cultivation box to solve the problems raised in the above background technology.
为实现上述目的,本发明提供如下技术方案:一种微型智慧蔬菜栽培箱,包括主体箱,所述主体箱的内部设置有栽培台,所述栽培台的上表面开设有空腔,所述空腔的内壁固定连接有横板,所述横板的上表面固定连接有纱布,所述纱布的上表面设置有土壤层,所述栽培台的上表面套接有盖板,所述主体箱的内壁固定连接有日照灯和隔板,所述隔板的上表面分别固定连接有蓄电池和控制器,所述控制器的上表面固定连接有信号接收器,所述主体箱的上表面固定连接有水泵,所述水泵的出水端固定连接有进水主管,所述进水主管的下表面开设有轴承孔,且轴承孔的内壁固定连接有密封轴承,所述密封轴承的内环面固定连接有进水竖管,所述进水竖管的底端固定连接有进水支管。In order to achieve the above purpose, the present invention provides the following technical solutions: a miniature smart vegetable cultivation box, comprising a main body box, a cultivation table is arranged inside the main body box, a cavity is opened on the upper surface of the cultivation table, and the hollow The inner wall of the cavity is fixedly connected with a horizontal plate, the upper surface of the horizontal plate is fixedly connected with gauze, the upper surface of the gauze is provided with a soil layer, the upper surface of the cultivation table is sleeved with a cover plate, and the main body box is provided with a cover plate. The inner wall is fixedly connected with a sunlight lamp and a partition, the upper surface of the partition is fixedly connected with a battery and a controller, the upper surface of the controller is fixedly connected with a signal receiver, and the upper surface of the main body box is fixedly connected with a A water pump, the water outlet end of the water pump is fixedly connected with a water inlet main pipe, the lower surface of the water inlet main pipe is provided with a bearing hole, and the inner wall of the bearing hole is fixedly connected with a sealing bearing, and the inner ring surface of the sealing bearing is fixedly connected with a The water inlet vertical pipe is fixedly connected with a water inlet branch pipe at the bottom end of the water inlet vertical pipe.
优选的,所述主体箱的下表面固定连接有支撑腿,所述支撑腿的数量为四个,四个所述支撑腿呈矩形阵列设置在主体箱的下表面,所述支撑腿的底端固定连接有底座,所述底座的材料为橡胶,所述底座的下表面设置有若干个防滑凸起。Preferably, supporting legs are fixedly connected to the lower surface of the main body case, the number of the supporting legs is four, and the four supporting legs are arranged on the lower surface of the main body case in a rectangular array, and the bottom ends of the supporting legs are arranged on the lower surface of the main body case. A base is fixedly connected, the base material is rubber, and the lower surface of the base is provided with several anti-skid protrusions.
优选的,所述主体箱的左侧开设有进风口,且进风口的内部固定连接有风机,所述主体箱的右侧开设有若干个出风口,若干个所述出风口呈45度角,所述出风口的位置与风机相适配,若干个所述出风口呈一列多行式设置在主体箱的左侧。Preferably, the left side of the main body box is provided with an air inlet, and the inside of the air inlet is fixedly connected with a fan, and the right side of the main body box is provided with several air outlets, and several of the air outlets are at an angle of 45 degrees, The positions of the air outlets are adapted to the fans, and a plurality of the air outlets are arranged on the left side of the main body box in a row in a row.
优选的,所述空腔的底部呈圆弧状,所述空腔的内底壁固定连接有排水管,所述排水管的底端向下延伸出主体箱外并与外界排水系统相连通,所述水泵的进水端固定连接有进水管,所述进水管与外界水源相连通,所述进水支管的下表面开设有若干个孔洞,且孔洞呈一行多列式设置在进水支管的下表面,所述进水主管的下表面固定连接有支撑块。Preferably, the bottom of the cavity is in the shape of an arc, the inner bottom wall of the cavity is fixedly connected with a drain pipe, and the bottom end of the drain pipe extends downward out of the main body box and communicates with the external drainage system, The water inlet end of the water pump is fixedly connected with a water inlet pipe, the water inlet pipe is communicated with the external water source, and the lower surface of the water inlet branch pipe is provided with a number of holes, and the holes are arranged in a row and multi-column in the water inlet branch pipe. A support block is fixedly connected to the lower surface of the water inlet main pipe.
优选的,所述横板的上表面开设有若干个排水口,所述盖板的上表面开设有若干个栽培孔,所述横板的上表面固定连接有挡水板,所述挡水板的表面开设有通风孔,且通风孔呈45度角。Preferably, the upper surface of the horizontal plate is provided with several drainage openings, the upper surface of the cover plate is provided with several cultivation holes, the upper surface of the horizontal plate is fixedly connected with a water blocking plate, and the water blocking plate is There are ventilation holes on the surface, and the ventilation holes are at a 45-degree angle.
优选的,所述主体箱的内顶壁固定连接有支架,所述支架呈倒7字型,所述支架的内底壁固定连接有减震座,所述减震座的上表面固定连接有电机,所述电机的输出端固定连接有连接杆,且连接杆的左端固定连接有主动齿轮。Preferably, a bracket is fixedly connected to the inner top wall of the main body box, the bracket is in the shape of an inverted 7, the inner bottom wall of the bracket is fixedly connected with a shock-absorbing seat, and the upper surface of the shock-absorbing seat is fixedly connected with a A motor, the output end of the motor is fixedly connected with a connecting rod, and the left end of the connecting rod is fixedly connected with a driving gear.
优选的,所述进水竖管的底端向下延伸至主体箱的内部,所述进水竖管的表面固定连接有从动齿轮,所述从动齿轮与主动齿轮啮合,所述主动齿轮与从动齿轮均为锥齿轮。Preferably, the bottom end of the water inlet vertical pipe extends downward to the interior of the main body case, and a driven gear is fixedly connected to the surface of the water inlet vertical pipe, the driven gear meshes with the driving gear, and the driving gear Both the driven gear and the driven gear are bevel gears.
优选的,所述主体箱的正面固定连接有控制开关,所述主体箱的正面开设有开口,且开口的内壁通过铰链转动连接有用于放置和取出栽培台的开合门,所述开合门的正面固定连接有把手,所述开合门的正面开设有观察口,且观察口的内壁固定连接有观察窗,所述观察窗的材料为透明玻璃。Preferably, a control switch is fixedly connected to the front of the main body box, an opening is opened on the front of the main body box, and the inner wall of the opening is rotatably connected with an opening and closing door for placing and taking out the cultivation table through a hinge. A handle is fixedly connected to the front of the opening and closing door, an observation port is opened on the front of the opening and closing door, and an observation window is fixedly connected to the inner wall of the observation port, and the material of the observation window is transparent glass.
优选的,所述控制器、风机、电机与日照灯均与蓄电池耦合,所述风机、电机与日照灯均通过蓝牙与控制器连接,所述日照灯的表面套设有灯罩。Preferably, the controller, the fan, the motor and the solar lamp are all coupled with the battery, the fan, the motor and the solar lamp are all connected to the controller through Bluetooth, and the surface of the solar lamp is sleeved with a lampshade.
有益效果beneficial effect
本发明提供了一种微型智慧蔬菜栽培箱,具备以下有益效果:The invention provides a miniature smart vegetable cultivation box, which has the following beneficial effects:
1.该微型智慧蔬菜栽培箱,通过设置水泵,能够将外界水源注入主体箱中,通过设置进水支管的孔洞,能够将水洒向蔬菜,通过设置电机、主动齿轮与从动齿轮,能够带动进水支管转动,从而达到该微型智慧蔬菜栽培箱浇灌均匀的效果。1. In this miniature smart vegetable cultivation box, the external water source can be injected into the main box by setting the water pump, the water can be sprinkled on the vegetables by setting the holes of the water inlet branch pipe, and the motor, driving gear and driven gear can be set to drive the vegetables. The water inlet branch pipe is rotated, so as to achieve the uniform watering effect of the miniature smart vegetable cultivation box.
2.该微型智慧蔬菜栽培箱,通过设置风机与出风口,能够使主体箱通风,通过设置日照灯,能够为蔬菜提供光照,通过设置土壤层,能够为蔬菜提供营养,从而达到该微型智慧蔬菜栽培箱利于蔬菜生长的效果。2. In the miniature smart vegetable cultivation box, by setting the fan and the air outlet, the main box can be ventilated, by setting the sunshine lamp, it can provide light for the vegetables, and by setting the soil layer, it can provide nutrients for the vegetables, so as to achieve the miniature smart vegetable. The effect of the cultivation box is conducive to the growth of vegetables.
附图说明Description of drawings
图1为本发明正剖结构示意图;Fig. 1 is the schematic diagram of the front sectional structure of the present invention;
图2为本发明正视结构示意图;Fig. 2 is the front view structure schematic diagram of the present invention;
图3为图1中A处放大结构示意图;Fig. 3 is a schematic diagram of enlarged structure at A place in Fig. 1;
图4为图1中B处放大结构示意图。FIG. 4 is an enlarged schematic view of the structure at B in FIG. 1 .
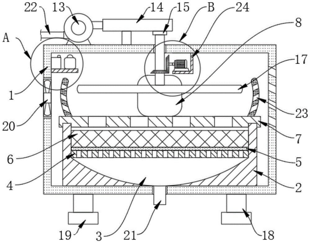
图中:1主体箱、2栽培台、3空腔、4横板、5纱布、6土壤层、7盖板、8日照灯、9隔板、10蓄电池、11控制器、12信号接收器、13水泵、14进水主管、15密封轴承、16进水竖管、17进水支管、18支撑腿、19底座、20风机、21排水管、22进水管、23挡水板、24支架、25电机、26主动齿轮、27从动齿轮、28控制开关、29开合门、30观察窗。In the picture: 1 main box, 2 cultivation table, 3 cavity, 4 horizontal plate, 5 gauze, 6 soil layer, 7 cover plate, 8 sunshine lamp, 9 partition plate, 10 battery, 11 controller, 12 signal receiver, 13 water pump, 14 water inlet main pipe, 15 sealed bearing, 16 water inlet standpipe, 17 water inlet branch pipe, 18 support leg, 19 base, 20 fan, 21 drain pipe, 22 water inlet pipe, 23 water baffle, 24 bracket, 25 Motor, 26 driving gear, 27 driven gear, 28 control switch, 29 door opening and closing, 30 observation window.
具体实施方式Detailed ways
下面将结合本发明实施例中的附图,对本发明实施例中的技术方案进行清楚、完整地描述,显然,所描述的实施例仅仅是本发明一部分实施例,而不是全部的实施例。基于本发明中的实施例,本领域普通技术人员在没有做出创造性劳动前提下所获得的所有其他实施例,都属于本发明保护的范围。The technical solutions in the embodiments of the present invention will be clearly and completely described below with reference to the accompanying drawings in the embodiments of the present invention. Obviously, the described embodiments are only a part of the embodiments of the present invention, but not all of the embodiments. Based on the embodiments of the present invention, all other embodiments obtained by those of ordinary skill in the art without creative efforts shall fall within the protection scope of the present invention.
请参阅图1-4,本发明提供一种技术方案:一种微型智慧蔬菜栽培箱,包括主体箱1,主体箱1的下表面固定连接有支撑腿18,支撑腿18的数量为四个,四个支撑腿18呈矩形阵列设置在主体箱1的下表面,支撑腿18的底端固定连接有底座19,底座19的材料为橡胶,底座19的下表面设置有若干个防滑凸起,主体箱1的左侧开设有进风口,且进风口的内部固定连接有风机20,主体箱1的右侧开设有若干个出风口,若干个出风口呈45度角,出风口的位置与风机20相适配,若干个出风口呈一列多行式设置在主体箱1的左侧,通过设置风机20与出风口,能够使主体箱1通风,风机20运行会产生由左向右的风,使主体箱1中通风效果良好。1-4, the present invention provides a technical solution: a miniature smart vegetable cultivation box, including a
主体箱1的内顶壁固定连接有支架24,支架24呈倒7字型,支架24的内底壁固定连接有减震座,减震座的上表面固定连接有电机25,电机25的输出端固定连接有连接杆,且连接杆的左端固定连接有主动齿轮26,主体箱1的内部设置有栽培台2,主体箱1的正面固定连接有控制开关28,主体箱1的正面开设有开口,且开口的内壁通过铰链转动连接有用于放置和取出栽培台2的开合门29,开合门29的正面固定连接有把手,开合门29的正面开设有观察口,且观察口的内壁固定连接有观察窗30,观察窗30的材料为透明玻璃,通过设置开合门,能够方便取放栽培台,栽培台2的上表面开设有空腔3,空腔3的内壁固定连接有横板4,利用横板4下表面的槽口,可以将横板4套接在栽培台2的上表面,此种结构便于横板4的安装和拆卸,横板4的上表面固定连接有纱布5,纱布5的上表面设置有土壤层6。The inner top wall of the
通过设置土壤层6,能够为蔬菜提供营养,从而达到该微型智慧蔬菜栽培箱利于蔬菜生长的效果,栽培台2的上表面套接有盖板7,横板4的上表面开设有若干个排水口,盖板7的上表面开设有若干个栽培孔,横板4的上表面固定连接有挡水板23,挡水板23的表面开设有通风孔,且通风孔呈45度角,主体箱1的内壁固定连接有日照灯8和隔板9,通过设置日照灯8,能够为蔬菜提供光照,隔板9的上表面分别固定连接有蓄电池10和控制器11,控制器11、风机20、电机25与日照灯8均与蓄电池10耦合,风机20、电机25与日照灯8均通过蓝牙与控制器11连接,日照灯8的表面套设有灯罩。By arranging the
控制器11的上表面固定连接有信号接收器12,主体箱1的上表面固定连接有水泵13,通过设置水泵13,能够将外界水源注入主体箱1中,水泵13的出水端固定连接有进水主管14,进水主管14的下表面开设有轴承孔,且轴承孔的内壁固定连接有密封轴承15,密封轴承15的内环面固定连接有进水竖管16,进水竖管16的底端向下延伸至主体箱1的内部,进水竖管16的表面固定连接有从动齿轮27,从动齿轮27与主动齿轮26啮合,主动齿轮26与从动齿轮27均为锥齿轮。A
进水竖管16的底端固定连接有进水支管17,空腔3的底部呈圆弧状,空腔3的内底壁固定连接有排水管21,排水管21的底端向下延伸出主体箱1外并与外界排水系统相连通,水泵13的进水端固定连接有进水管22,进水管22与外界水源相连通,进水支管17的下表面开设有若干个孔洞,且孔洞呈一行多列式设置在进水支管17的下表面,进水主管14的下表面固定连接有支撑块,通过设置进水支管17的孔洞,能够将水洒向蔬菜,通过设置电机25、主动齿轮26与从动齿轮27,能够带动进水支管17转动,从而达到该微型智慧蔬菜栽培箱浇灌均匀的效果。The bottom end of the water inlet
工作原理:当微型智慧蔬菜栽培箱使用时,将手机蓝牙打开并与控制器11相连通,手机发出指令,利用信号接收器12接收信号,打开水泵13电源,使外界水源通过进水管22、进水主管14与进水竖管16到达进水支管17中,通过孔洞洒向蔬菜,同时打开电机25,利用主动齿轮26与从动齿轮27,带动进水竖管16旋转,从而使进水支管17转动,使得进水支管17洒水均匀,利用挡水板23阻止水洒出盖板7外,利用纱布5与横板4,使多余的水分流入空腔3的底部由排水管21向外界排出,利用风机20加强主体箱1的通风效果,利用日照灯8为蔬菜生长提供光线,从而达到该微型智慧蔬菜栽培箱浇灌均匀的效果。Working principle: When the miniature smart vegetable cultivation box is in use, turn on the Bluetooth of the mobile phone and connect it with the
尽管已经示出和描述了本发明的实施例,对于本领域的普通技术人员而言,可以理解在不脱离本发明的原理和精神的情况下可以对这些实施例进行多种变化、修改、替换和变型,本发明的范围由所附权利要求及其等同物限定。Although embodiments of the present invention have been shown and described, it will be understood by those skilled in the art that various changes, modifications, and substitutions can be made in these embodiments without departing from the principle and spirit of the invention and modifications, the scope of the present invention is defined by the appended claims and their equivalents.
Claims (9)
Priority Applications (1)
| Application Number | Priority Date | Filing Date | Title |
|---|---|---|---|
| CN202010511096.3A CN111492863A (en) | 2020-06-08 | 2020-06-08 | Miniature wisdom vegetable cultivation case |
Applications Claiming Priority (1)
| Application Number | Priority Date | Filing Date | Title |
|---|---|---|---|
| CN202010511096.3A CN111492863A (en) | 2020-06-08 | 2020-06-08 | Miniature wisdom vegetable cultivation case |
Publications (1)
| Publication Number | Publication Date |
|---|---|
| CN111492863A true CN111492863A (en) | 2020-08-07 |
Family
ID=71863641
Family Applications (1)
| Application Number | Title | Priority Date | Filing Date |
|---|---|---|---|
| CN202010511096.3A Pending CN111492863A (en) | 2020-06-08 | 2020-06-08 | Miniature wisdom vegetable cultivation case |
Country Status (1)
| Country | Link |
|---|---|
| CN (1) | CN111492863A (en) |
Cited By (1)
| Publication number | Priority date | Publication date | Assignee | Title |
|---|---|---|---|---|
| CN114568176A (en) * | 2022-03-02 | 2022-06-03 | 定兴县农业农村局(定兴县乡村振兴局) | Seedling raising device and method for solar greenhouse pepper cultivation |
Citations (5)
| Publication number | Priority date | Publication date | Assignee | Title |
|---|---|---|---|---|
| JP2013085551A (en) * | 2011-10-23 | 2013-05-13 | Koichi Nakayama | Method for cultivating sprout by using silver ion, and device for cultivating sprout by using silver ion |
| CN206728697U (en) * | 2017-05-18 | 2017-12-12 | 福建省盛荣生态花卉研究院有限责任公司 | A kind of uniform moisturizing device for raising seedlings in gardens |
| CN207531484U (en) * | 2017-11-02 | 2018-06-26 | 宁洱鑫泰商贸有限公司 | A kind of storage device of bletilla seed stems |
| CN210492036U (en) * | 2019-06-21 | 2020-05-12 | 木人(福建)绿化工程有限公司 | Afforestation is with multi-functional device of growing seedlings |
| CN212324896U (en) * | 2020-06-08 | 2021-01-12 | 山东省农业可持续发展研究所 | A miniature smart vegetable growing box |
-
2020
- 2020-06-08 CN CN202010511096.3A patent/CN111492863A/en active Pending
Patent Citations (5)
| Publication number | Priority date | Publication date | Assignee | Title |
|---|---|---|---|---|
| JP2013085551A (en) * | 2011-10-23 | 2013-05-13 | Koichi Nakayama | Method for cultivating sprout by using silver ion, and device for cultivating sprout by using silver ion |
| CN206728697U (en) * | 2017-05-18 | 2017-12-12 | 福建省盛荣生态花卉研究院有限责任公司 | A kind of uniform moisturizing device for raising seedlings in gardens |
| CN207531484U (en) * | 2017-11-02 | 2018-06-26 | 宁洱鑫泰商贸有限公司 | A kind of storage device of bletilla seed stems |
| CN210492036U (en) * | 2019-06-21 | 2020-05-12 | 木人(福建)绿化工程有限公司 | Afforestation is with multi-functional device of growing seedlings |
| CN212324896U (en) * | 2020-06-08 | 2021-01-12 | 山东省农业可持续发展研究所 | A miniature smart vegetable growing box |
Cited By (1)
| Publication number | Priority date | Publication date | Assignee | Title |
|---|---|---|---|---|
| CN114568176A (en) * | 2022-03-02 | 2022-06-03 | 定兴县农业农村局(定兴县乡村振兴局) | Seedling raising device and method for solar greenhouse pepper cultivation |
Similar Documents
| Publication | Publication Date | Title |
|---|---|---|
| CN203590790U (en) | Integrated intelligent-control plant cultivation equipment | |
| CN205018017U (en) | Intelligence water planting vegetable planting cabinet | |
| CN105104158A (en) | Intelligent hydroponic vegetable cultivating cabinet | |
| CN104429694B (en) | Household fruit and vegetable production system | |
| CN206686837U (en) | Houseplant breeding apparatus associated with a kind of LED and mist training | |
| CN207411021U (en) | A kind of Multifunctional planting frame | |
| WO2012075784A1 (en) | Indoor plant production system | |
| CN207836417U (en) | A kind of intelligence plant cultivating device | |
| CN2274413Y (en) | Apparatus for culturing household flowers or vegetables in water | |
| CN211129093U (en) | Vegetable planting frame | |
| CN207284433U (en) | One kind is easy to rotating plants growth frame | |
| CN201967417U (en) | All-weather household vegetable planting component | |
| WO2012079341A1 (en) | Egg-like household growing device | |
| CN112167042A (en) | Intelligent control vertical farm | |
| CN107258387A (en) | For the intelligent disjunctor plastic canopy of two-layer equation in agricultural production | |
| CN111492863A (en) | Miniature wisdom vegetable cultivation case | |
| CN212324896U (en) | A miniature smart vegetable growing box | |
| CN209420472U (en) | A kind of vegetables, flowers and plants cultivation box | |
| CN102511339A (en) | Multifunctional plant breeding vehicle | |
| CN215992147U (en) | Family aromatic plant planting device | |
| CN213662732U (en) | Vertical farm for three-dimensional planting | |
| CN212487583U (en) | Intelligent control vertical farm | |
| KR20150091640A (en) | Movable garden plant unit | |
| CN110118406A (en) | A kind of small-sized ecological humidifier of desktop | |
| CN105265301A (en) | Household vegetable fruit water planting equipment |
Legal Events
| Date | Code | Title | Description |
|---|---|---|---|
| PB01 | Publication | ||
| PB01 | Publication | ||
| SE01 | Entry into force of request for substantive examination | ||
| SE01 | Entry into force of request for substantive examination | ||
| RJ01 | Rejection of invention patent application after publication |
Application publication date: 20200807 |
|
| RJ01 | Rejection of invention patent application after publication |
