CN111457048A - Self-adaptive hydraulic buffer of shock absorber - Google Patents
Self-adaptive hydraulic buffer of shock absorber Download PDFInfo
- Publication number
- CN111457048A CN111457048A CN202010425432.2A CN202010425432A CN111457048A CN 111457048 A CN111457048 A CN 111457048A CN 202010425432 A CN202010425432 A CN 202010425432A CN 111457048 A CN111457048 A CN 111457048A
- Authority
- CN
- China
- Prior art keywords
- cylinder body
- shock absorber
- piston
- connecting seat
- piston rod
- Prior art date
- Legal status (The legal status is an assumption and is not a legal conclusion. Google has not performed a legal analysis and makes no representation as to the accuracy of the status listed.)
- Pending
Links
- 239000006096 absorbing agent Substances 0.000 title claims abstract description 30
- 230000035939 shock Effects 0.000 title claims abstract description 30
- 239000000872 buffer Substances 0.000 title claims abstract description 11
- 238000007906 compression Methods 0.000 claims abstract description 15
- 230000006835 compression Effects 0.000 claims abstract description 13
- 230000003044 adaptive effect Effects 0.000 claims abstract description 11
- 239000000725 suspension Substances 0.000 abstract description 6
- 238000013016 damping Methods 0.000 abstract description 4
- 239000010720 hydraulic oil Substances 0.000 description 7
- 239000003921 oil Substances 0.000 description 5
- 230000036316 preload Effects 0.000 description 2
- 230000009286 beneficial effect Effects 0.000 description 1
- 238000004891 communication Methods 0.000 description 1
- 238000010586 diagram Methods 0.000 description 1
- 238000005516 engineering process Methods 0.000 description 1
- 230000007246 mechanism Effects 0.000 description 1
- 238000000034 method Methods 0.000 description 1
Images
Classifications
-
- F—MECHANICAL ENGINEERING; LIGHTING; HEATING; WEAPONS; BLASTING
- F16—ENGINEERING ELEMENTS AND UNITS; GENERAL MEASURES FOR PRODUCING AND MAINTAINING EFFECTIVE FUNCTIONING OF MACHINES OR INSTALLATIONS; THERMAL INSULATION IN GENERAL
- F16F—SPRINGS; SHOCK-ABSORBERS; MEANS FOR DAMPING VIBRATION
- F16F9/00—Springs, vibration-dampers, shock-absorbers, or similarly-constructed movement-dampers using a fluid or the equivalent as damping medium
- F16F9/10—Springs, vibration-dampers, shock-absorbers, or similarly-constructed movement-dampers using a fluid or the equivalent as damping medium using liquid only; using a fluid of which the nature is immaterial
- F16F9/14—Devices with one or more members, e.g. pistons, vanes, moving to and fro in chambers and using throttling effect
- F16F9/16—Devices with one or more members, e.g. pistons, vanes, moving to and fro in chambers and using throttling effect involving only straight-line movement of the effective parts
- F16F9/18—Devices with one or more members, e.g. pistons, vanes, moving to and fro in chambers and using throttling effect involving only straight-line movement of the effective parts with a closed cylinder and a piston separating two or more working spaces therein
- F16F9/19—Devices with one or more members, e.g. pistons, vanes, moving to and fro in chambers and using throttling effect involving only straight-line movement of the effective parts with a closed cylinder and a piston separating two or more working spaces therein with a single cylinder and of single-tube type
-
- F—MECHANICAL ENGINEERING; LIGHTING; HEATING; WEAPONS; BLASTING
- F16—ENGINEERING ELEMENTS AND UNITS; GENERAL MEASURES FOR PRODUCING AND MAINTAINING EFFECTIVE FUNCTIONING OF MACHINES OR INSTALLATIONS; THERMAL INSULATION IN GENERAL
- F16F—SPRINGS; SHOCK-ABSORBERS; MEANS FOR DAMPING VIBRATION
- F16F9/00—Springs, vibration-dampers, shock-absorbers, or similarly-constructed movement-dampers using a fluid or the equivalent as damping medium
- F16F9/32—Details
- F16F9/3207—Constructional features
- F16F9/3235—Constructional features of cylinders
- F16F9/3242—Constructional features of cylinders of cylinder ends, e.g. caps
-
- F—MECHANICAL ENGINEERING; LIGHTING; HEATING; WEAPONS; BLASTING
- F16—ENGINEERING ELEMENTS AND UNITS; GENERAL MEASURES FOR PRODUCING AND MAINTAINING EFFECTIVE FUNCTIONING OF MACHINES OR INSTALLATIONS; THERMAL INSULATION IN GENERAL
- F16F—SPRINGS; SHOCK-ABSORBERS; MEANS FOR DAMPING VIBRATION
- F16F9/00—Springs, vibration-dampers, shock-absorbers, or similarly-constructed movement-dampers using a fluid or the equivalent as damping medium
- F16F9/32—Details
- F16F9/50—Special means providing automatic damping adjustment, i.e. self-adjustment of damping by particular sliding movements of a valve element, other than flexions or displacement of valve discs; Special means providing self-adjustment of spring characteristics
- F16F9/512—Means responsive to load action, i.e. static load on the damper or dynamic fluid pressure changes in the damper, e.g. due to changes in velocity
- F16F9/5123—Means responsive to load action, i.e. static load on the damper or dynamic fluid pressure changes in the damper, e.g. due to changes in velocity responsive to the static or steady-state load on the damper
-
- F—MECHANICAL ENGINEERING; LIGHTING; HEATING; WEAPONS; BLASTING
- F16—ENGINEERING ELEMENTS AND UNITS; GENERAL MEASURES FOR PRODUCING AND MAINTAINING EFFECTIVE FUNCTIONING OF MACHINES OR INSTALLATIONS; THERMAL INSULATION IN GENERAL
- F16F—SPRINGS; SHOCK-ABSORBERS; MEANS FOR DAMPING VIBRATION
- F16F9/00—Springs, vibration-dampers, shock-absorbers, or similarly-constructed movement-dampers using a fluid or the equivalent as damping medium
- F16F9/32—Details
- F16F9/50—Special means providing automatic damping adjustment, i.e. self-adjustment of damping by particular sliding movements of a valve element, other than flexions or displacement of valve discs; Special means providing self-adjustment of spring characteristics
- F16F9/512—Means responsive to load action, i.e. static load on the damper or dynamic fluid pressure changes in the damper, e.g. due to changes in velocity
- F16F9/5126—Piston, or piston-like valve elements
Landscapes
- Engineering & Computer Science (AREA)
- General Engineering & Computer Science (AREA)
- Mechanical Engineering (AREA)
- Physics & Mathematics (AREA)
- Fluid Mechanics (AREA)
- Fluid-Damping Devices (AREA)
Abstract
本发明公开了一种减震器的自适应液压缓冲器,包括活塞杆和筒身连接座和筒身,筒身连接座和筒身一体成型,活塞杆插入筒身内部,在筒身前端设有筒身端盖,活塞杆位于筒身外部的一端与汽车的簧下质量相连接,所述筒身连接座内壁具有凹槽侧面,凹槽侧面呈上窄下宽的锥面,活塞杆位于筒身连接座内的一端具有活塞,活塞与凹槽侧面形成锥面结构,在筒身连接座上还设有弹簧锥孔结构;本装置将筒身连接座内的凹槽侧面设计成锥面,缓冲了减震器受到的极限压缩力,避免了减震器和车辆悬挂部件等受到较大冲击,提高了车辆乘坐舒适性;同时在锥孔结构中可设置伸张阀片的弹簧刚度,从而实现针对不同车型、不同工况的自适应液压缓冲阻尼。
The invention discloses an adaptive hydraulic shock absorber for shock absorbers. There is a barrel end cover, the end of the piston rod located outside the barrel is connected with the unsprung mass of the car, the inner wall of the barrel connecting seat has a groove side surface, and the groove side surface is a conical surface with a narrow upper and a lower width, and the piston rod is located at the bottom. One end in the connecting seat of the cylinder body is provided with a piston, the piston and the side of the groove form a conical surface structure, and the connecting seat of the cylinder body is also provided with a spring cone hole structure; the device designs the side of the groove in the connecting seat of the cylinder body as a conical surface , buffer the ultimate compression force of the shock absorber, avoid the shock absorber and vehicle suspension components from being greatly impacted, and improve the ride comfort of the vehicle; Realize adaptive hydraulic buffer damping for different models and different working conditions.
Description
技术领域technical field
本发明涉及减震器技术,具体是一种减震器的自适应液压缓冲器。The invention relates to shock absorber technology, in particular to an adaptive hydraulic shock absorber for shock absorbers.
背景技术Background technique
在机械机构中经常需要用到减震器,比如汽车底盘、摩托车、火车、飞机起落架等;汽车减震器作为车辆悬架系统中最为重要的零部件之一,其主要承担着吸收耗散车辆行驶时因路面不平而产生的震动和冲击能量的作用。Shock absorbers are often used in mechanical mechanisms, such as automobile chassis, motorcycles, trains, aircraft landing gear, etc. As one of the most important components in vehicle suspension systems, automobile shock absorbers are mainly responsible for absorbing consumption The vibration and impact energy generated by the uneven road surface when the vehicle is driven.
传统的车辆在行驶中悬架行程压缩到极限时,悬架部件发生机械碰撞,会造成减震器的受力突然增大,进而使得悬架部件承受冲击载荷,大大缩减了相关零部件的使用寿命及可靠性;如减震器使用于乘坐用途的车辆上,则会造成较差的乘坐舒适性;如冲击水平达到一定程度甚至会对于成员的身体健康产生危害。When the suspension stroke of a traditional vehicle is compressed to the limit, the mechanical collision of the suspension components will cause a sudden increase in the force of the shock absorber, which will cause the suspension components to bear the impact load and greatly reduce the use of related components. Longevity and reliability; if the shock absorber is used in a vehicle for riding purposes, it will cause poor riding comfort; if the impact level reaches a certain level, it will even cause harm to the health of the members.
发明内容SUMMARY OF THE INVENTION
本发明的目的在于提供一种减震器的自适应液压缓冲器,以解决上述背景技术中提出的问题。The purpose of the present invention is to provide an adaptive hydraulic shock absorber for a shock absorber to solve the above-mentioned problems in the background art.
为实现上述目的,本发明提供如下技术方案:To achieve the above object, the present invention provides the following technical solutions:
一种减震器的自适应液压缓冲器,包括活塞杆和筒身连接座和筒身,筒身连接座和筒身一体成型,活塞杆插入筒身内部,在筒身前端设有筒身端盖,活塞杆位于筒身外部的一端与汽车的簧下质量相连接,所述筒身连接座内壁具有凹槽侧面,凹槽侧面呈上窄下宽的锥面,活塞杆位于筒身连接座内的一端具有活塞,活塞与凹槽侧面形成锥面结构,在筒身连接座上还设有弹簧锥孔结构,弹簧锥孔结构可沿筒身垂直上下移动,弹簧锥孔结构包括位于筒身连接座底部的锥孔和弹簧,在筒身和锥孔之间设有一组伸张阀片。An adaptive hydraulic shock absorber for shock absorbers, comprising a piston rod, a cylinder body connecting seat and a cylinder body, the cylinder body connecting seat and the cylinder body are integrally formed, the piston rod is inserted into the cylinder body, and a cylinder body end is arranged at the front end of the cylinder body Cover, the end of the piston rod located outside the barrel is connected to the unsprung mass of the car, the inner wall of the barrel connecting seat has a groove side, the groove side is a tapered surface with a narrow upper and a lower width, and the piston rod is located in the barrel connecting seat The inner end has a piston. The piston and the side of the groove form a conical surface structure. There is also a spring cone hole structure on the connecting seat of the cylinder body. The spring cone hole structure can move vertically up and down along the cylinder body. The taper hole and the spring at the bottom of the connection seat are provided with a set of stretch valve plates between the cylinder body and the taper hole.
所述活塞杆顶部还套装有回路非同面活塞阀座,回路非同面活塞阀座顶部为回路可调阀体,回路非同面活塞阀座和回路可调阀体通过回路可调阀体固定螺母固定连接;所述回路非同面活塞阀座设有滑动环,滑动环上套装有O型圈,在所述滑动环通过通过紧定螺钉与活塞杆固定;在滑动环下方还设有压缩阀片,压缩阀片底面具有压缩阀片保护垫片。The top of the piston rod is also sheathed with a circuit non-same-face piston valve seat, the top of the circuit non-same-face piston valve seat is a circuit adjustable valve body, and the circuit non-same-face piston valve seat and the circuit adjustable valve body pass through the circuit adjustable valve body. The fixing nut is fixedly connected; the piston valve seat of the circuit is not on the same plane, and a sliding ring is provided on the sliding ring, and an O-ring is sleeved on the sliding ring, and the sliding ring is fixed with the piston rod through the set screw; The compression valve plate has a compression valve plate protection gasket on the bottom surface of the compression valve plate.
作为本发明的优选方案:所述弹簧包括叠加设置的塔簧和卡簧。As a preferred solution of the present invention: the spring includes a tower spring and a circlip that are superimposed.
与现有技术相比,本发明的有益效果是:本装置将筒身连接座内的凹槽侧面设计成锥面,缓冲了减震器受到的极限压缩力,避免了减震器和车辆悬挂部件等受到较大冲击,提高了车辆乘坐舒适性;同时在锥孔结构中可设置伸张阀片的弹簧刚度,从而实现针对不同车型、不同工况的自适应液压缓冲阻尼。Compared with the prior art, the beneficial effect of the present invention is that: the device designs the side surface of the groove in the connecting seat of the cylinder body into a tapered surface, which buffers the limit compression force received by the shock absorber and avoids the shock absorber and vehicle suspension. The components are greatly impacted, which improves the ride comfort of the vehicle; at the same time, the spring stiffness of the stretch valve plate can be set in the tapered hole structure, so as to realize the adaptive hydraulic buffer damping for different models and different working conditions.
附图说明Description of drawings
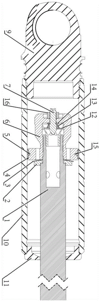
图1为本发明的结构示意图。FIG. 1 is a schematic structural diagram of the present invention.
图2为本发明在拉伸行程状态下内部结构剖面图。FIG. 2 is a cross-sectional view of the internal structure of the present invention in the state of the stretching stroke.
图3为本发明中锥面结构的放大图。FIG. 3 is an enlarged view of the cone structure in the present invention.
图中1-活塞杆,2-压缩阀片保护垫片,3-压缩阀片,4-滑动环,5-O型圈,6-回路非同面活塞阀座,7-回路可调阀体,9-筒身连接座,10-筒身,11-筒身端盖,12-伸张阀片,13-塔簧,14-卡簧,15-紧定螺钉,16-回路可调阀体固定螺母,17-弹簧锥孔结构。In the picture, 1-piston rod, 2-compression valve plate protection gasket, 3-compression valve plate, 4-slip ring, 5-O-ring, 6-circuit non-uniform piston valve seat, 7-circuit adjustable valve body , 9-Cylinder body connection seat, 10-Cylinder body, 11-Cylinder body end cover, 12-Extension valve plate, 13-Tower spring, 14-Clamping spring, 15-Set screw, 16-Circuit adjustable valve body fixed Nut, 17-spring taper hole structure.
具体实施方式Detailed ways
下面将结合本发明实施例中的附图,对本发明实施例中的技术方案进行清楚、完整地描述,显然,所描述的实施例仅仅是本发明一部分实施例,而不是全部的实施例。基于本发明中的实施例,本领域普通技术人员在没有做出创造性劳动前提下所获得的所有其他实施例,都属于本发明保护的范围。The technical solutions in the embodiments of the present invention will be clearly and completely described below with reference to the accompanying drawings in the embodiments of the present invention. Obviously, the described embodiments are only a part of the embodiments of the present invention, but not all of the embodiments. Based on the embodiments of the present invention, all other embodiments obtained by those of ordinary skill in the art without creative efforts shall fall within the protection scope of the present invention.
在本发明的描述中,需要说明的是,术语“中心”、“上”、“下”、“左”、“右”“竖直”、“水平”、“内”、“外”等指示的方位或位置关系为基于附图所示的方位或位置关系,仅是为了便于描述本发明和简化描述,而不是指示或暗示所指的装置或元件必须具有特定的方位、以特定的方位构造和操作,因此不能理解为对本发明的限制。此外,术语“第一”、“第二”、“第三”仅用于描述目的,而不能理解为指示或暗示相对重要性。In the description of the present invention, it should be noted that the terms "center", "upper", "lower", "left", "right", "vertical", "horizontal", "inner", "outer" and the like indicate The orientation or positional relationship is based on the orientation or positional relationship shown in the accompanying drawings, which is only for the convenience of describing the present invention and simplifying the description, rather than indicating or implying that the referred device or element must have a specific orientation or be constructed in a specific orientation. and operation, and therefore should not be construed as limiting the present invention. Furthermore, the terms "first", "second", and "third" are used for descriptive purposes only and should not be construed to indicate or imply relative importance.
在本发明的描述中,需要说明的是,除非另有明确的规定和限定,术语“安装”、“相连”、“连接”应做广义理解,例如,可以是固定连接,也可以是可拆卸连接,或一体地连接;可以是机械连接,也可以是电连接;可以是直接相连,也可以通过中间媒介间接相连,可以是两个元件内部的连通。对于本领域的普通技术人员而言,可以具体情况理解上述术语在本发明中的具体含义。In the description of the present invention, it should be noted that the terms "installed", "connected" and "connected" should be understood in a broad sense, unless otherwise expressly specified and limited, for example, it may be a fixed connection or a detachable connection Connection, or integral connection; can be mechanical connection, can also be electrical connection; can be directly connected, can also be indirectly connected through an intermediate medium, can be internal communication between two elements. For those of ordinary skill in the art, the specific meanings of the above terms in the present invention can be understood in specific situations.
实施例1:Example 1:
请参阅图1-3,一种减震器的自适应液压缓冲器,包括活塞杆1和筒身连接座9和筒身10,筒身连接座9和筒身10一体成型,活塞杆1插入筒身10内部,在筒身10前端设有筒身端盖11,活塞杆1位于筒身10外部的一端与汽车的簧下质量相连接,同时减震器的壳体与汽车车身相连接,所述筒身连接座9内壁具有凹槽侧面,凹槽侧面呈上窄下宽的锥面,活塞杆1位于筒身连接座9内的一端具有活塞,活塞与凹槽侧面形成锥面结构,在筒身连接座9上还设有弹簧锥孔结构17,弹簧锥孔结构17可沿筒身10垂直上下移动,弹簧锥孔结构17包括位于筒身连接座9底部的锥孔和弹簧,在筒身10和锥孔之间设有一组伸张阀片12,伸张阀片12的刚度系数可调,可按照车型进行匹配,从而达到自适应调整的目的,在减震器处于拉伸行程时,筒身10内的液压油由下腔室流入到上腔室,上腔室处于负压,弹簧锥孔结构17的状态如图2所示,弹簧的弹性力将锥孔封闭,没有液压油从该锥孔流过;在减震器处于压缩行程但未到极限时,筒身10内的液压油液由上腔室流入到下腔室,上腔室处于正压,但其压力不足以克服弹簧锥孔结构17中弹簧的预载力,因此锥孔结构封闭,没有液压油从该锥孔流过。Please refer to Figure 1-3, an adaptive hydraulic shock absorber, including a
所述活塞杆1顶部还套装有回路非同面活塞阀座6,回路非同面活塞阀座6顶部为回路可调阀体7,回路非同面活塞阀座6和回路可调阀体7通过回路可调阀体固定螺母16固定连接;所述回路非同面活塞阀座6设有滑动环4,滑动环4上套装有O型圈5,在所述滑动环4通过通过紧定螺钉15与活塞杆1固定,通过滑动环4实现活塞杆1的运动导向功能;在滑动环4下方还设有压缩阀片3,压缩阀片3底面具有压缩阀片保护垫片2。The top of the
当汽车以较快速度驶过较大的路面凸起时,车轮上跳,减震器被压缩至濒临极限,活塞杆1上行带动回路非同面活塞阀座6上行,使筒身10内上腔室中的一部分油打开压缩阀片3进入回路非同面活塞阀座6以下的下腔室部分;上腔室中另一部分油通过筒身连接座9中凹槽底面的孔隙流入油管进入储油罐;当回路非同面活塞阀座6继续上行到筒身连接座9的凹槽时,由于凹槽侧面为锥面,越往上凹槽越窄,回路非同面活塞阀座6与凹槽之间的缝隙也越来越小,压缩油的阻尼则越来越大;当活塞运行到图2所示位置时,缝隙完全封闭,当减震器继续压缩时,B腔室中的液压油的压力逐渐变大,直至其压力足以克服锥孔结构的弹簧预载力时,锥孔结构打开,液压油按照图2所示的流向流动,液压油流经锥孔结构的空隙,从而产生了阻尼力。When the car drives over a large bump on the road at a relatively fast speed, the wheel jumps up, the shock absorber is compressed to the limit, the
实施例2:Example 2:
在实施例1的基础之上,所述弹簧包括叠加设置的塔簧13和卡簧14。On the basis of
对于本领域技术人员而言,显然本发明不限于上述示范性实施例的细节,而且在不背离本发明的精神或基本特征的情况下,能够以其他的具体形式实现本发明。因此,无论从哪一点来看,均应将实施例看作是示范性的,而且是非限制性的,本发明的范围由所附权利要求而不是上述说明限定,因此旨在将落在权利要求的等同要件的含义和范围内的所有变化囊括在本发明内。不应将权利要求中的任何附图标记视为限制所涉及的权利要求。It will be apparent to those skilled in the art that the present invention is not limited to the details of the above-described exemplary embodiments, but that the present invention may be embodied in other specific forms without departing from the spirit or essential characteristics of the invention. Therefore, the embodiments are to be regarded in all respects as illustrative and not restrictive, and the scope of the invention is to be defined by the appended claims rather than the foregoing description, which are therefore intended to fall within the scope of the claims. All changes within the meaning and scope of the equivalents of , are included in the present invention. Any reference signs in the claims shall not be construed as limiting the involved claim.
此外,应当理解,虽然本说明书按照实施方式加以描述,但并非每个实施方式仅包含一个独立的技术方案,说明书的这种叙述方式仅仅是为清楚起见,本领域技术人员应当将说明书作为一个整体,各实施例中的技术方案也可以经适当组合,形成本领域技术人员可以理解的其他实施方式。In addition, it should be understood that although this specification is described in terms of embodiments, not each embodiment only includes an independent technical solution, and this description in the specification is only for the sake of clarity, and those skilled in the art should take the specification as a whole , the technical solutions in each embodiment can also be appropriately combined to form other implementations that can be understood by those skilled in the art.
Claims (6)
Priority Applications (1)
| Application Number | Priority Date | Filing Date | Title |
|---|---|---|---|
| CN202010425432.2A CN111457048A (en) | 2020-05-19 | 2020-05-19 | Self-adaptive hydraulic buffer of shock absorber |
Applications Claiming Priority (1)
| Application Number | Priority Date | Filing Date | Title |
|---|---|---|---|
| CN202010425432.2A CN111457048A (en) | 2020-05-19 | 2020-05-19 | Self-adaptive hydraulic buffer of shock absorber |
Publications (1)
| Publication Number | Publication Date |
|---|---|
| CN111457048A true CN111457048A (en) | 2020-07-28 |
Family
ID=71684829
Family Applications (1)
| Application Number | Title | Priority Date | Filing Date |
|---|---|---|---|
| CN202010425432.2A Pending CN111457048A (en) | 2020-05-19 | 2020-05-19 | Self-adaptive hydraulic buffer of shock absorber |
Country Status (1)
| Country | Link |
|---|---|
| CN (1) | CN111457048A (en) |
Cited By (1)
| Publication number | Priority date | Publication date | Assignee | Title |
|---|---|---|---|---|
| CN115823169A (en) * | 2022-11-04 | 2023-03-21 | 中国第一汽车股份有限公司 | Active shock absorber for reducing unsprung mass |
Citations (7)
| Publication number | Priority date | Publication date | Assignee | Title |
|---|---|---|---|---|
| JP2002089607A (en) * | 2000-09-14 | 2002-03-27 | Kayaba Ind Co Ltd | Hydraulic shock absorber damping force generation structure |
| KR20040014738A (en) * | 2002-08-10 | 2004-02-18 | 대우정밀 주식회사 | Piston valve assembly of shock absober for auto mobile |
| US20160377141A1 (en) * | 2015-06-26 | 2016-12-29 | Fox Factory, Inc. | Dual piston system |
| US20180010666A1 (en) * | 2010-01-20 | 2018-01-11 | Fox Factory, Inc. | Remotely operated bypass for a suspension damper |
| CN110469620A (en) * | 2019-09-17 | 2019-11-19 | 广州多耐减震科技有限公司 | A kind of hydraulic tensioning position-limit mechanism damper with defencive function |
| CN110513427A (en) * | 2019-09-17 | 2019-11-29 | 广州多耐减震科技有限公司 | A damper with an adjustable hydraulic compression stop mechanism |
| CN212177744U (en) * | 2020-05-19 | 2020-12-18 | 广州多耐减振科技有限公司 | Self-adaptive hydraulic buffer of shock absorber |
-
2020
- 2020-05-19 CN CN202010425432.2A patent/CN111457048A/en active Pending
Patent Citations (7)
| Publication number | Priority date | Publication date | Assignee | Title |
|---|---|---|---|---|
| JP2002089607A (en) * | 2000-09-14 | 2002-03-27 | Kayaba Ind Co Ltd | Hydraulic shock absorber damping force generation structure |
| KR20040014738A (en) * | 2002-08-10 | 2004-02-18 | 대우정밀 주식회사 | Piston valve assembly of shock absober for auto mobile |
| US20180010666A1 (en) * | 2010-01-20 | 2018-01-11 | Fox Factory, Inc. | Remotely operated bypass for a suspension damper |
| US20160377141A1 (en) * | 2015-06-26 | 2016-12-29 | Fox Factory, Inc. | Dual piston system |
| CN110469620A (en) * | 2019-09-17 | 2019-11-19 | 广州多耐减震科技有限公司 | A kind of hydraulic tensioning position-limit mechanism damper with defencive function |
| CN110513427A (en) * | 2019-09-17 | 2019-11-29 | 广州多耐减震科技有限公司 | A damper with an adjustable hydraulic compression stop mechanism |
| CN212177744U (en) * | 2020-05-19 | 2020-12-18 | 广州多耐减振科技有限公司 | Self-adaptive hydraulic buffer of shock absorber |
Non-Patent Citations (1)
| Title |
|---|
| 马天飞;崔泽飞;张敏敏;: "基于AMESim双筒叠加阀片式充气减振器建模与仿真", 机械工程学报, no. 12, 20 June 2013 (2013-06-20) * |
Cited By (1)
| Publication number | Priority date | Publication date | Assignee | Title |
|---|---|---|---|---|
| CN115823169A (en) * | 2022-11-04 | 2023-03-21 | 中国第一汽车股份有限公司 | Active shock absorber for reducing unsprung mass |
Similar Documents
| Publication | Publication Date | Title |
|---|---|---|
| CN104613123B (en) | A two-stage pressure oil-gas spring and its working method | |
| CN106763441B (en) | A kind of resistance adjustable automobile absorber automatically | |
| CN201083245Y (en) | Oil gas spring with control valve | |
| CN110067828B (en) | A Quasi-Zero Stiffness Vibration Isolation System and Vehicle | |
| CN206439333U (en) | A kind of automatic adjustable automobile absorber of resistance | |
| CN210882657U (en) | Power equipment with damping function used in unmanned aerial vehicle | |
| CN111457048A (en) | Self-adaptive hydraulic buffer of shock absorber | |
| CN209126463U (en) | A vehicle anti-rollover suspension device | |
| CN209083890U (en) | A kind of ride control shock absorber | |
| CN206983659U (en) | Suspension device for rolling stock | |
| CN108454344A (en) | A kind of vehicle suspension system including negative stiffness device | |
| CN212177744U (en) | Self-adaptive hydraulic buffer of shock absorber | |
| CN210318304U (en) | Electromagnetic control damping adjustable shock absorber | |
| CN217814731U (en) | Light-weight one-system vertical shock absorber for motor car | |
| CN110039994B (en) | A gas-filled hydroelectric energy-feeding suspension | |
| CN107654558B (en) | Automobile shock absorber | |
| CN217108004U (en) | Intelligent automobile vibration reduction and energy recovery power generation device | |
| CN108488297A (en) | A kind of hydro-pneumatic spring | |
| CN117048274A (en) | Active hydraulic interconnecting suspension | |
| CN210510093U (en) | Damper with adjustable hydraulic compression limiting mechanism | |
| CN217481841U (en) | Double-adjustable nitrogen shock absorber | |
| CN210565983U (en) | Hydraulic stretching limiting mechanism damper with protection function | |
| CN221897019U (en) | A buffer device for automobile shock absorber | |
| CN215805946U (en) | Helical spring type stretching limiting device of shock absorber | |
| CN207554680U (en) | A kind of damper compression hydraulic buffer gear |
Legal Events
| Date | Code | Title | Description |
|---|---|---|---|
| PB01 | Publication | ||
| PB01 | Publication | ||
| SE01 | Entry into force of request for substantive examination | ||
| SE01 | Entry into force of request for substantive examination | ||
| CB02 | Change of applicant information |
Address after: No.3, building A14, Huachuang Animation Industrial Park, No.9 Huateng Road, Jinshan Village, Shiji Town, Panyu District, Guangzhou City, Guangdong Province Applicant after: Guangzhou duonai Damping Technology Co.,Ltd. Address before: No.3, building A14, Huachuang Animation Industrial Park, No.9 Huateng Road, Jinshan Village, Shiji Town, Panyu District, Guangzhou City, Guangdong Province Applicant before: Guangzhou Multi-shock Absorption Technology Co.,Ltd. |
|
| CB02 | Change of applicant information | ||
| RJ01 | Rejection of invention patent application after publication |
Application publication date: 20200728 |
|
| RJ01 | Rejection of invention patent application after publication |
