CN111453034A - A fully automatic PVC pipe coating device - Google Patents
A fully automatic PVC pipe coating device Download PDFInfo
- Publication number
- CN111453034A CN111453034A CN202010339082.8A CN202010339082A CN111453034A CN 111453034 A CN111453034 A CN 111453034A CN 202010339082 A CN202010339082 A CN 202010339082A CN 111453034 A CN111453034 A CN 111453034A
- Authority
- CN
- China
- Prior art keywords
- rod
- motor
- fully automatic
- coating device
- turntable
- Prior art date
- Legal status (The legal status is an assumption and is not a legal conclusion. Google has not performed a legal analysis and makes no representation as to the accuracy of the status listed.)
- Pending
Links
- 238000000576 coating method Methods 0.000 title claims description 30
- 239000011248 coating agent Substances 0.000 title claims description 29
- 238000010438 heat treatment Methods 0.000 claims abstract description 21
- 239000004033 plastic Substances 0.000 claims abstract description 7
- 238000006243 chemical reaction Methods 0.000 claims description 7
- 238000004806 packaging method and process Methods 0.000 abstract description 9
- 239000007888 film coating Substances 0.000 abstract description 6
- 238000009501 film coating Methods 0.000 abstract description 6
- 238000003475 lamination Methods 0.000 abstract description 2
- 238000004519 manufacturing process Methods 0.000 description 7
- 238000000034 method Methods 0.000 description 5
- 239000000463 material Substances 0.000 description 4
- 239000012785 packaging film Substances 0.000 description 4
- 229920006280 packaging film Polymers 0.000 description 4
- 238000007789 sealing Methods 0.000 description 3
- 238000004804 winding Methods 0.000 description 3
- 230000003373 anti-fouling effect Effects 0.000 description 2
- 238000002788 crimping Methods 0.000 description 2
- 230000000694 effects Effects 0.000 description 2
- 230000003796 beauty Effects 0.000 description 1
- 230000009286 beneficial effect Effects 0.000 description 1
- 238000005520 cutting process Methods 0.000 description 1
- 239000012467 final product Substances 0.000 description 1
- 230000008676 import Effects 0.000 description 1
- 238000012858 packaging process Methods 0.000 description 1
- 239000002985 plastic film Substances 0.000 description 1
- 229920006255 plastic film Polymers 0.000 description 1
- 230000001360 synchronised effect Effects 0.000 description 1
Images
Classifications
-
- B—PERFORMING OPERATIONS; TRANSPORTING
- B65—CONVEYING; PACKING; STORING; HANDLING THIN OR FILAMENTARY MATERIAL
- B65B—MACHINES, APPARATUS OR DEVICES FOR, OR METHODS OF, PACKAGING ARTICLES OR MATERIALS; UNPACKING
- B65B11/00—Wrapping, e.g. partially or wholly enclosing, articles or quantities of material, in strips, sheets or blanks, of flexible material
- B65B11/06—Wrapping articles, or quantities of material, by conveying wrapper and contents in common defined paths
- B65B11/08—Wrapping articles, or quantities of material, by conveying wrapper and contents in common defined paths in a single straight path
- B65B11/10—Wrapping articles, or quantities of material, by conveying wrapper and contents in common defined paths in a single straight path to fold the wrappers in tubular form about contents
- B65B11/105—Wrapping articles, or quantities of material, by conveying wrapper and contents in common defined paths in a single straight path to fold the wrappers in tubular form about contents the axis of the tube being parallel to the conveying direction
-
- B—PERFORMING OPERATIONS; TRANSPORTING
- B65—CONVEYING; PACKING; STORING; HANDLING THIN OR FILAMENTARY MATERIAL
- B65B—MACHINES, APPARATUS OR DEVICES FOR, OR METHODS OF, PACKAGING ARTICLES OR MATERIALS; UNPACKING
- B65B41/00—Supplying or feeding container-forming sheets or wrapping material
- B65B41/12—Feeding webs from rolls
- B65B41/16—Feeding webs from rolls by rollers
-
- B—PERFORMING OPERATIONS; TRANSPORTING
- B65—CONVEYING; PACKING; STORING; HANDLING THIN OR FILAMENTARY MATERIAL
- B65B—MACHINES, APPARATUS OR DEVICES FOR, OR METHODS OF, PACKAGING ARTICLES OR MATERIALS; UNPACKING
- B65B51/00—Devices for, or methods of, sealing or securing package folds or closures; Devices for gathering or twisting wrappers, or necks of bags
- B65B51/10—Applying or generating heat or pressure or combinations thereof
-
- B—PERFORMING OPERATIONS; TRANSPORTING
- B65—CONVEYING; PACKING; STORING; HANDLING THIN OR FILAMENTARY MATERIAL
- B65H—HANDLING THIN OR FILAMENTARY MATERIAL, e.g. SHEETS, WEBS, CABLES
- B65H23/00—Registering, tensioning, smoothing or guiding webs
- B65H23/04—Registering, tensioning, smoothing or guiding webs longitudinally
- B65H23/26—Registering, tensioning, smoothing or guiding webs longitudinally by transverse stationary or adjustable bars or rollers
-
- B—PERFORMING OPERATIONS; TRANSPORTING
- B65—CONVEYING; PACKING; STORING; HANDLING THIN OR FILAMENTARY MATERIAL
- B65H—HANDLING THIN OR FILAMENTARY MATERIAL, e.g. SHEETS, WEBS, CABLES
- B65H2515/00—Physical entities not provided for in groups B65H2511/00 or B65H2513/00
- B65H2515/30—Forces; Stresses
- B65H2515/31—Tensile forces
-
- B—PERFORMING OPERATIONS; TRANSPORTING
- B65—CONVEYING; PACKING; STORING; HANDLING THIN OR FILAMENTARY MATERIAL
- B65H—HANDLING THIN OR FILAMENTARY MATERIAL, e.g. SHEETS, WEBS, CABLES
- B65H2801/00—Application field
- B65H2801/81—Packaging machines
Landscapes
- Engineering & Computer Science (AREA)
- Mechanical Engineering (AREA)
- Lining Or Joining Of Plastics Or The Like (AREA)
Abstract
本发明公开了一种全自动PVC管材覆膜装置,包括机架,所述机架内设置有转盘、导向机构和第一电机;所述转盘的端面上设置有膜卷张力杆、角度调节杆、加热装置和膜卷支撑杆,所述加热装置位于所述角度调节杆的外侧,所述膜卷支撑杆上设置有塑料卷膜,并且膜卷支撑杆位于所述膜卷张力杆的外侧;PVC管材装夹于所述导向机构内,并且PVC管材的一端伸入膜卷张力杆和角度调节杆之间;所述第一电机与所述转盘连接。该全自动管材覆膜装置,解决了现有人工套膜包装其薄膜叠压部分比较松散、容易脱落以及工作效率低的问题。
The invention discloses a fully automatic PVC pipe film coating device, comprising a frame, a turntable, a guide mechanism and a first motor are arranged in the frame; a film roll tension rod and an angle adjustment rod are arranged on the end surface of the turntable , a heating device and a film roll support rod, the heating device is located on the outside of the angle adjustment rod, the film roll support rod is provided with a plastic roll film, and the film roll support rod is located on the outside of the film roll tension rod; The PVC pipe is clamped in the guide mechanism, and one end of the PVC pipe extends between the film roll tension rod and the angle adjustment rod; the first motor is connected to the turntable. The fully automatic pipe film coating device solves the problems that the film lamination part of the existing artificial film packaging is relatively loose, easy to fall off and low working efficiency.
Description
技术领域technical field
本发明属于管材包装设备技术领域,尤其是涉及一种全自动PVC管材覆膜装置。The invention belongs to the technical field of pipe packaging equipment, in particular to a fully automatic PVC pipe coating device.
背景技术Background technique
在PVC管材生产和流通过程中,为保护管材的外表不受损坏以及确保其美观实用,可对PVC管材实施覆膜加工,使其具备密封、防潮、防污的良好性能。In the process of PVC pipe production and circulation, in order to protect the appearance of the pipe from damage and ensure its beauty and practicality, the PVC pipe can be covered with film to make it have good performance of sealing, moisture-proof and anti-fouling.
PVC管材的传统覆膜方法主要是采用人工套膜方式进行的,即由人工用筒装透明薄膜套在PVC管材上。但是根据发明人的经验,这种覆膜方式存在的问题是:人工套膜包装时,其薄膜叠压部分比较松散、容易脱落,致使最终的产品防污、防潮效果差,难以保证管材在运输和使用过程中的质量,而且整个包装过程既费时费力,工作效率低。The traditional coating method of PVC pipe is mainly carried out by artificial coating, that is, the transparent film is manually wrapped on the PVC pipe. However, according to the inventor's experience, the problem with this method of film coating is: when the film is packaged manually, the laminated part of the film is relatively loose and easy to fall off, resulting in poor anti-fouling and moisture-proof effects of the final product, and it is difficult to ensure that the pipe is transported. And the quality in the process of use, and the whole packaging process is time-consuming and labor-intensive, and the work efficiency is low.
发明内容SUMMARY OF THE INVENTION
本发明的目的在于提供一种全自动PVC管材覆膜装置,以解决现有人工套膜包装其薄膜叠压部分比较松散、容易脱落以及工作效率低的问题。The purpose of the present invention is to provide a fully automatic PVC pipe film coating device to solve the problems of loose, easy to fall off and low working efficiency of the existing artificial film packaging.
为了实现上述目的,本发明所采用的技术方案是:一种全自动PVC管材覆膜装置,包括机架,所述机架内设置有转盘、导向机构和第一电机;所述转盘的端面上设置有膜卷张力杆、角度调节杆、加热装置和膜卷支撑杆,所述加热装置位于所述角度调节杆的外侧,所述膜卷支撑杆上设置有塑料卷膜,并且膜卷支撑杆位于所述膜卷张力杆的外侧;PVC管材装夹于所述导向机构内,并且PVC管材的一端伸入膜卷张力杆和角度调节杆之间;所述第一电机与所述转盘连接。In order to achieve the above purpose, the technical solution adopted in the present invention is: a fully automatic PVC pipe coating device, including a frame, and a turntable, a guide mechanism and a first motor are arranged in the frame; A film roll tension rod, an angle adjustment rod, a heating device and a film roll support rod are provided, the heating device is located outside the angle adjustment rod, the film roll support rod is provided with a plastic roll film, and the film roll support rod It is located on the outside of the film roll tension rod; the PVC pipe is clamped in the guide mechanism, and one end of the PVC pipe extends between the film roll tension rod and the angle adjustment rod; the first motor is connected to the turntable.
本发明的技术方案,还具有以下特点:The technical scheme of the present invention also has the following characteristics:
所述第一电机为变频电机。The first motor is a variable frequency motor.
所述转盘的侧部设置有轴套,所述轴套外部设置有轴承和大齿轮,所述轴承设置在所述机架中,所述第一电机的输出轴上设置有与所述大齿轮啮合的小齿轮。A shaft sleeve is arranged on the side of the turntable, a bearing and a large gear are arranged outside the shaft sleeve, the bearing is arranged in the frame, and the output shaft of the first motor is arranged with the large gear. Meshing pinions.
所述加热装置包含支撑管件,所述支撑管件的端部设置有第二电机,所述第二电机的输出轴上连接有螺杆,所述螺杆上螺纹装配有滑块,所述滑块上设置有加热棒,支撑管件内设置有滑槽,所述滑块可沿所述滑槽滑动。The heating device includes a support pipe, the end of the support pipe is provided with a second motor, the output shaft of the second motor is connected with a screw, the screw is threaded with a slider, and the slider is provided with There is a heating rod, a chute is arranged in the support pipe, and the slider can slide along the chute.
所述第二电机为步进电机。The second motor is a stepping motor.
所述导向机构包含滑轨,所述滑轨中滑动设置有一对滚轮支架,每个所述滚轮支架内设置有滚轮,滑轨的上端和下端分别设置有调节丝杆。The guide mechanism includes a slide rail, and a pair of roller brackets are slidably arranged in the slide rail, each of the roller brackets is provided with a roller, and the upper end and the lower end of the slide rail are respectively provided with adjusting screw rods.
所述调节丝杠的端部设置有手轮。The end of the adjusting screw is provided with a hand wheel.
所述膜卷张力杆固定在所述转盘上,所述角度调节杆可转动地设置在所述转盘上。The film roll tension rod is fixed on the turntable, and the angle adjustment rod is rotatably arranged on the turntable.
所述转盘的端面设置有支座,所述支座内设置有转轴,所述角度调节杆套设在所述转轴上,所述角度调节杆与所述转轴之间设置有锁紧螺栓。The end face of the turntable is provided with a support, a rotating shaft is arranged in the support, the angle adjusting rod is sleeved on the rotating shaft, and a locking bolt is provided between the angle adjusting rod and the rotating shaft.
还包括变频控制器,所述变频控制器与所述第一电机电连接。It also includes a frequency conversion controller that is electrically connected to the first motor.
本发明的有益效果是:本发明的一种全自动PVC管材覆膜装置,通过加热缠绕的方式对PVC管材覆膜包装,可使膜带叠压部分更窄,由此可大幅度降低包装成本;而且用加热棒加热粘合,使膜带压接部位热粘处更加牢固,在外观上胜于传统包装的管材,美观、整洁、密封性强,并能起到防水、防尘、防潮、防散落、方便进出货等作用;该全自动管材覆膜装置,操作简单,工作效率高、包装质量可靠,能使PVC塑料管材生产过程中一步到位,直接缠好符合使用要求的包装膜,可大大节省人力和材料成本。The beneficial effects of the present invention are: the fully automatic PVC pipe film coating device of the present invention coats and wraps the PVC pipe material by heating and winding, which can make the overlapping part of the film tape narrower, thereby greatly reducing the packaging cost ; Moreover, heating and bonding with a heating rod makes the hot-bonding part of the film tape crimping part more firm, which is better than the traditional packaged pipe in appearance, beautiful, clean, strong sealing, and can play the role of waterproof, dustproof, moistureproof, Anti-scattering, convenient import and export, etc. The automatic pipe coating device is simple in operation, high in work efficiency and reliable in packaging quality. It can greatly save labor and material costs.
附图说明Description of drawings
此处所说明的附图用来提供对本发明的进一步理解,构成本发明的一部分,本发明的示意性实施例及其说明用于解释本发明,并不构成对本发明的不当限定。在附图中:The accompanying drawings described herein are used to provide further understanding of the present invention and constitute a part of the present invention. The exemplary embodiments of the present invention and their descriptions are used to explain the present invention and do not constitute an improper limitation of the present invention. In the attached image:
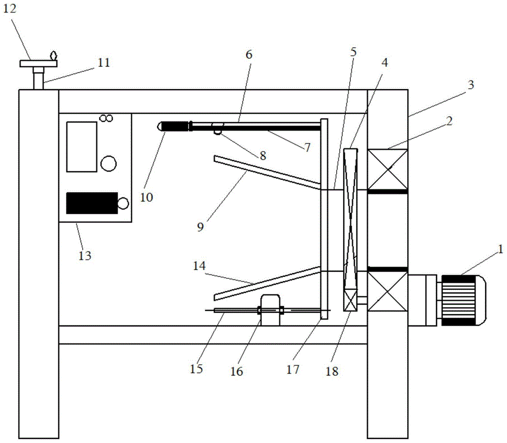
图1为本发明的一种全自动PVC管材覆膜装置的主视图;1 is a front view of a fully automatic PVC pipe coating device of the present invention;
图2为本发明的一种全自动PVC管材覆膜装置的侧视图;Figure 2 is a side view of a fully automatic PVC pipe coating device of the present invention;
图3为本发明的一种全自动PVC管材覆膜装置中角度调节杆的装配示意图。Fig. 3 is a schematic view of the assembly of the angle adjustment rod in a fully automatic PVC pipe coating device of the present invention.
图中:1.第一电机,2.轴承,3.机架,4.大齿轮,5.轴套,6.支撑管件,7.螺杆,8.滑块,9.角度调节杆,10.第二电机,11.调节丝杠,12.手轮,13.变频控制器,14.膜卷张力杆,15.膜卷支撑杆,16.塑料卷膜,17.转盘,18.小齿轮,19.滚轮支架,20.滚轮,21.滑轨,22.PVC管材,23.锁紧螺栓,24.转轴,25.支座。In the picture: 1. The first motor, 2. Bearing, 3. Frame, 4. Large gear, 5. Bushing, 6. Support pipe, 7. Screw, 8. Slider, 9. Angle adjustment rod, 10. Second motor, 11. Adjustment screw, 12. Hand wheel, 13. Frequency conversion controller, 14. Film roll tension rod, 15. Film roll support rod, 16. Plastic roll film, 17. Turntable, 18. Pinion, 19. Roller bracket, 20. Roller, 21. Slide rail, 22. PVC pipe, 23. Locking bolt, 24. Shaft, 25. Support.
具体实施方式Detailed ways
以下将配合实施例来详细说明本发明的实施方式,藉此对本发明如何应用技术手段来解决技术问题并达成技术功效的实现过程能充分理解并据以实施。The embodiments of the present invention will be described in detail with the following examples, so as to fully understand and implement the implementation process of how to apply technical means to solve technical problems and achieve technical effects of the present invention.
如图1所示,本发明的一种全自动PVC管材覆膜装置,包括机架3,机架3内设置有转盘17、导向机构和第一电机1;转盘17的端面上设置有膜卷张力杆14、角度调节杆9、加热装置和膜卷支撑杆15,加热装置位于角度调节杆9的外侧,膜卷支撑杆15上设置有塑料卷膜16,并且膜卷支撑杆15位于膜卷张力杆14的外侧;PVC管材22装夹于导向机构内,并且PVC管材22的一端伸入膜卷张力杆14和角度调节杆9之间;第一电机1与转盘17连接。As shown in FIG. 1, a fully automatic PVC pipe coating device of the present invention includes a
如图2所示,使用本发明的全自动管材覆膜装置工作时,先将PVC管材22装夹于导向机构中,并确保PVC管材22的待加工部分伸入膜卷张力杆14和角度调节杆9之间。之后启动第一电机1,第一电机1带动转盘17旋转,由于塑料卷膜16固定在膜卷支撑杆15上,故而当膜卷支撑杆15随转盘17一起转动时,塑料卷膜16的磨将会以膜卷张力杆14和角度调节杆9为支撑,并配合加热装置的高温作用,使得包装膜紧紧地覆压在PVC管材22的表面。As shown in FIG. 2, when using the fully automatic pipe coating device of the present invention to work, first clamp the
显而易见,本发明的一种全自动PVC管材覆膜装置,通过加热缠绕的方式对PVC管材覆膜包装,可使膜带叠压部分更窄,由此可大幅度降低包装成本;而且用加热棒加热粘合,使膜带压接部位热粘处更加牢固,在外观上胜于传统包装的管材,美观、整洁、密封性强,并能起到防水、防尘、防潮、防散落、方便进出货等作用;该全自动管材覆膜装置,操作简单,工作效率高、包装质量可靠,能使PVC塑料管材生产过程中一步到位,直接缠好符合使用要求的包装膜,可大大节省人力和材料成本。Obviously, a fully automatic PVC pipe film coating device of the present invention coats and wraps the PVC pipe material by heating and winding, so that the overlapping portion of the film tape can be narrower, thereby greatly reducing the packaging cost; Heating bonding makes the hot-bonding part of the film tape crimping part firmer. It is better than the traditional packaging pipe in appearance. It is beautiful, clean, and has strong sealing performance. The automatic pipe coating device has simple operation, high work efficiency and reliable packaging quality. It can make the production process of PVC plastic pipes in one step, and directly wrap the packaging film that meets the requirements of use, which can greatly save manpower and Material costs.
如图1所示,在本发明的一种全自动PVC管材覆膜装置中,第一电机1为变频电机,机架3上还安装有变频控制器13,变频控制器13与第一电机1电连接。As shown in FIG. 1 , in a fully automatic PVC pipe coating device of the present invention, the first motor 1 is a frequency conversion motor, and a
本发明的一种全自动PVC管材覆膜装置,主要适用于PVC管材生产流水线上,安装于管材生产线牵引机后、切割机前,同步跟踪生产线上管材的生产速度。第一电机1采用变频电机,其转速均匀可调,能够保证包装缠绕与PVC管材生产线同步,变频电机固定在机架3侧面,在机架3的顶板处设置有变频控制器13,变频控制器13通过电力线与第一电机1连接,控制和调节变频电机的转速。The fully automatic PVC pipe coating device of the invention is mainly suitable for the production line of the PVC pipe. It is installed after the pulling machine of the pipe production line and before the cutting machine to synchronously track the production speed of the pipe on the production line. The first motor 1 adopts a variable frequency motor, and its speed is evenly adjustable, which can ensure that the packaging winding is synchronized with the PVC pipe production line. 13 is connected to the first motor 1 through a power line, and controls and adjusts the speed of the variable frequency motor.
如图1所示,在本发明的一种全自动PVC管材覆膜装置中,转盘17的侧部设置有轴套5,轴套5外部设置有轴承2和大齿轮4,轴承2设置在机架3中,第一电机1的输出轴上设置有与大齿轮4啮合的小齿轮18。As shown in FIG. 1 , in a fully automatic PVC pipe coating device of the present invention, a shaft sleeve 5 is arranged on the side of the
第一电机1通过大齿轮4和小齿轮18啮合带动转盘17旋转,可形成减速机构,用以控制转盘17的转速,以便进行精确的覆膜。The first motor 1 drives the
如图1所示,在本发明的一种全自动PVC管材覆膜装置中,加热装置包含支撑管件6,支撑管件6的端部设置有第二电机10,第二电机10的输出轴上连接有螺杆7,螺杆7上螺纹装配有滑块8,滑块8上设置有加热棒,支撑管件6内设置有滑槽,滑块8可沿滑槽滑动。As shown in FIG. 1, in a fully automatic PVC pipe coating device of the present invention, the heating device includes a
当第二电机10启动时,滑块8会被滑槽限制无法进行随螺杆7一起旋转,此时只能沿着螺杆7进行移动,以便针对不同PVC管材22的尺寸调节加热棒的位置。When the
如图1所示,在本发明的一种全自动PVC管材覆膜装置中,第二电机10优选为步进电机,便于进行精确控制。As shown in FIG. 1 , in a fully automatic PVC pipe coating device of the present invention, the
如图2所示,在本发明的一种全自动PVC管材覆膜装置中,导向机构包含滑轨21,滑轨21中滑动设置有一对滚轮支架19,每个滚轮支架19内设置有滚轮20,滑轨21的上端和下端分别设置有调节丝杆11。As shown in FIG. 2 , in a fully automatic PVC pipe coating device of the present invention, the guiding mechanism includes a
针对不同尺寸的PVC管材22,可先将PVC管材22装夹在两个滚轮支架19之间,之后调整两个滚轮支架19,并上紧调节丝杆11,即可完成对PVC管材22的固定。For the
如图2所示,在本发明的一种全自动PVC管材覆膜装置中,调节丝杠11的端部设置有手轮12,通过转动手轮12可以快速的拧紧或者松开丝杠11。As shown in FIG. 2 , in a fully automatic PVC pipe coating device of the present invention, the end of the adjusting
如图2所示,在本发明的一种全自动PVC管材覆膜装置中,膜卷张力杆14固定在转盘17上,角度调节杆9可转动地设置在转盘17上。转盘17的端面设置有支座25,支座25内设置有转轴24,角度调节杆9套设在转轴24上,角度调节杆9与转轴24之间设置有锁紧螺栓23。As shown in FIG. 2 , in a fully automatic PVC pipe coating device of the present invention, the film
根据不同尺寸的PVC管材22,需调整角度调节杆9的角度,以便与膜卷张力杆14配合完成包装膜的扩张支撑,确保包装膜能够压紧在PVC管材22的表面。调节时,一转轴24位轴心转动角度调节杆9,调整完毕后通过锁紧螺栓23锁紧角度调节杆9与转轴24即可。According to different sizes of
Claims (10)
Priority Applications (1)
| Application Number | Priority Date | Filing Date | Title |
|---|---|---|---|
| CN202010339082.8A CN111453034A (en) | 2020-04-26 | 2020-04-26 | A fully automatic PVC pipe coating device |
Applications Claiming Priority (1)
| Application Number | Priority Date | Filing Date | Title |
|---|---|---|---|
| CN202010339082.8A CN111453034A (en) | 2020-04-26 | 2020-04-26 | A fully automatic PVC pipe coating device |
Publications (1)
| Publication Number | Publication Date |
|---|---|
| CN111453034A true CN111453034A (en) | 2020-07-28 |
Family
ID=71674664
Family Applications (1)
| Application Number | Title | Priority Date | Filing Date |
|---|---|---|---|
| CN202010339082.8A Pending CN111453034A (en) | 2020-04-26 | 2020-04-26 | A fully automatic PVC pipe coating device |
Country Status (1)
| Country | Link |
|---|---|
| CN (1) | CN111453034A (en) |
Cited By (2)
| Publication number | Priority date | Publication date | Assignee | Title |
|---|---|---|---|---|
| CN112550829A (en) * | 2020-12-18 | 2021-03-26 | 福建永荣锦江股份有限公司 | Packaging film adjusting mechanism for spinning cake packaging |
| CN116374736A (en) * | 2023-03-30 | 2023-07-04 | 江苏星基智能装备有限公司 | A cone-disk take-up machine |
Citations (5)
| Publication number | Priority date | Publication date | Assignee | Title |
|---|---|---|---|---|
| CN202686792U (en) * | 2012-06-27 | 2013-01-23 | 南阳森源塑胶有限公司 | Winding packaging machine for tube films |
| CN203306255U (en) * | 2013-05-24 | 2013-11-27 | 南阳森源塑胶有限公司 | Hot sticking type PVC pipe film winding and packaging machine |
| CN205931366U (en) * | 2016-08-03 | 2017-02-08 | 南阳森源塑胶有限公司 | PVC tubular product winding film -coating packaging machine |
| CN206734689U (en) * | 2017-05-03 | 2017-12-12 | 浙江百力塑业有限公司 | A kind of pipeline wrapping machine |
| CN212654569U (en) * | 2020-04-26 | 2021-03-05 | 陕西科技大学 | A wrapping film packaging machine for PVC pipes |
-
2020
- 2020-04-26 CN CN202010339082.8A patent/CN111453034A/en active Pending
Patent Citations (5)
| Publication number | Priority date | Publication date | Assignee | Title |
|---|---|---|---|---|
| CN202686792U (en) * | 2012-06-27 | 2013-01-23 | 南阳森源塑胶有限公司 | Winding packaging machine for tube films |
| CN203306255U (en) * | 2013-05-24 | 2013-11-27 | 南阳森源塑胶有限公司 | Hot sticking type PVC pipe film winding and packaging machine |
| CN205931366U (en) * | 2016-08-03 | 2017-02-08 | 南阳森源塑胶有限公司 | PVC tubular product winding film -coating packaging machine |
| CN206734689U (en) * | 2017-05-03 | 2017-12-12 | 浙江百力塑业有限公司 | A kind of pipeline wrapping machine |
| CN212654569U (en) * | 2020-04-26 | 2021-03-05 | 陕西科技大学 | A wrapping film packaging machine for PVC pipes |
Cited By (2)
| Publication number | Priority date | Publication date | Assignee | Title |
|---|---|---|---|---|
| CN112550829A (en) * | 2020-12-18 | 2021-03-26 | 福建永荣锦江股份有限公司 | Packaging film adjusting mechanism for spinning cake packaging |
| CN116374736A (en) * | 2023-03-30 | 2023-07-04 | 江苏星基智能装备有限公司 | A cone-disk take-up machine |
Similar Documents
| Publication | Publication Date | Title |
|---|---|---|
| CN111453034A (en) | A fully automatic PVC pipe coating device | |
| CN209411429U (en) | A kind of stretch wrap film surface dust cleaning apparatus | |
| CN208020728U (en) | A kind of film covering device of PE plastic films production | |
| CN212127088U (en) | A winding device for textile processing | |
| CN207933784U (en) | A kind of non-dust cloth cuts the automatic fabric winding machine of pieces of cloth | |
| CN213123963U (en) | Electric wire wrapping machine | |
| CN212654569U (en) | A wrapping film packaging machine for PVC pipes | |
| CN215323429U (en) | Parcel packing platform | |
| CN212124162U (en) | An explosion-proof blanket fence production device | |
| CN212245664U (en) | A junction box for power engineering erection | |
| CN220762850U (en) | Electrician's sticky tape deburring device that both ends were adjusted | |
| CN203529517U (en) | Preservative film rewinding machine | |
| CN2440595Y (en) | Multifunctional heat composite coating device | |
| CN221913262U (en) | Glue pressing machine with anti-offset device | |
| CN222300384U (en) | Mica tape wrapping machine for fire-resistant cable production | |
| CN221796404U (en) | Heat shrink tape winding limit mechanism | |
| CN221876214U (en) | Automatic rope winding machine | |
| CN214114402U (en) | Batching equipment for non-woven fabric production | |
| CN221688261U (en) | Transmission line installation clamp | |
| CN215955063U (en) | An electronic connection transformer automatic encapsulation structure | |
| CN223060322U (en) | Film rolling tension adjusting device | |
| CN219647980U (en) | Rubberizing device that winding membrane production was used | |
| CN219949975U (en) | Quick winding device for rubber strip production and preparation | |
| CN222057920U (en) | Glue spreader for door and window processing | |
| CN223518530U (en) | A cable cutting device |
Legal Events
| Date | Code | Title | Description |
|---|---|---|---|
| PB01 | Publication | ||
| PB01 | Publication | ||
| SE01 | Entry into force of request for substantive examination | ||
| SE01 | Entry into force of request for substantive examination | ||
| RJ01 | Rejection of invention patent application after publication |
Application publication date: 20200728 |
|
| RJ01 | Rejection of invention patent application after publication |
