CN111452147B - Positioning transmission device in wooden furniture processing technology - Google Patents
Positioning transmission device in wooden furniture processing technology Download PDFInfo
- Publication number
- CN111452147B CN111452147B CN202010199232.XA CN202010199232A CN111452147B CN 111452147 B CN111452147 B CN 111452147B CN 202010199232 A CN202010199232 A CN 202010199232A CN 111452147 B CN111452147 B CN 111452147B
- Authority
- CN
- China
- Prior art keywords
- plate
- workbench
- pushing
- processing technology
- gear disc
- Prior art date
- Legal status (The legal status is an assumption and is not a legal conclusion. Google has not performed a legal analysis and makes no representation as to the accuracy of the status listed.)
- Active
Links
- 238000012545 processing Methods 0.000 title claims abstract description 26
- 230000005540 biological transmission Effects 0.000 title claims abstract description 25
- 238000005516 engineering process Methods 0.000 title claims abstract description 14
- 230000007246 mechanism Effects 0.000 claims abstract description 29
- 239000002023 wood Substances 0.000 claims description 22
- 239000000758 substrate Substances 0.000 claims description 12
- 239000000463 material Substances 0.000 claims description 10
- 230000003014 reinforcing effect Effects 0.000 claims description 6
- 229910001220 stainless steel Inorganic materials 0.000 claims description 3
- 239000010935 stainless steel Substances 0.000 claims description 3
- 238000013459 approach Methods 0.000 abstract description 6
- 238000000034 method Methods 0.000 description 9
- 230000008569 process Effects 0.000 description 8
- 241000282414 Homo sapiens Species 0.000 description 1
- 230000009286 beneficial effect Effects 0.000 description 1
- 238000010276 construction Methods 0.000 description 1
- 238000011161 development Methods 0.000 description 1
- 238000010586 diagram Methods 0.000 description 1
- 238000006073 displacement reaction Methods 0.000 description 1
- 230000000694 effects Effects 0.000 description 1
- 238000012986 modification Methods 0.000 description 1
- 230000004048 modification Effects 0.000 description 1
- 230000001737 promoting effect Effects 0.000 description 1
- 230000001105 regulatory effect Effects 0.000 description 1
- 238000006467 substitution reaction Methods 0.000 description 1
Images
Classifications
-
- B—PERFORMING OPERATIONS; TRANSPORTING
- B27—WORKING OR PRESERVING WOOD OR SIMILAR MATERIAL; NAILING OR STAPLING MACHINES IN GENERAL
- B27C—PLANING, DRILLING, MILLING, TURNING OR UNIVERSAL MACHINES FOR WOOD OR SIMILAR MATERIAL
- B27C7/00—Wood-turning machines; Equipment therefor
- B27C7/04—Devices for centering or chucking work
-
- B—PERFORMING OPERATIONS; TRANSPORTING
- B27—WORKING OR PRESERVING WOOD OR SIMILAR MATERIAL; NAILING OR STAPLING MACHINES IN GENERAL
- B27C—PLANING, DRILLING, MILLING, TURNING OR UNIVERSAL MACHINES FOR WOOD OR SIMILAR MATERIAL
- B27C7/00—Wood-turning machines; Equipment therefor
Landscapes
- Life Sciences & Earth Sciences (AREA)
- Engineering & Computer Science (AREA)
- Mechanical Engineering (AREA)
- Wood Science & Technology (AREA)
- Forests & Forestry (AREA)
- Milling, Drilling, And Turning Of Wood (AREA)
Abstract
The invention discloses a positioning transmission device in a wooden furniture processing technology, and particularly relates to the technical field of furniture processing. According to the invention, the motor is started to drive the first gear disc to rotate by arranging the first positioning fixing mechanism and the second positioning fixing mechanism, the first gear disc is meshed with the second gear disc, the second gear disc also drives the adjusting shaft to rotate, so that the threaded shaft at the other end is driven to rotate by the transmission belt, the two moving blocks are driven to mutually approach to clamp the wooden furniture, the first hydraulic cylinder is opened to drive the top clamping plate to move downwards, the top of the wooden furniture is fixed, the wooden furniture can be fixed regardless of the appearance of the wooden furniture, and the efficiency of the device in use is effectively improved.
Description
Technical Field
The invention belongs to the technical field of furniture processing, and particularly relates to a positioning transmission device in a wooden furniture processing technology.
Background
Furniture means a large variety of appliances and facilities which are indispensable for human beings to maintain normal life, engage in production practice and develop social activities, and the furniture is continuously developed and innovated along with the foot steps of the times, so that the furniture is various in door types, different in materials, complete in variety and different in use, is an important basis for establishing working and living spaces, and consists of four factors of materials, structures, appearance forms and functions, wherein the functions are leading factors and are power for promoting the development of the furniture; the structure is a backbone and is the basis for realizing the functions. The four factors are mutually connected and restricted, and the furniture is designed and manufactured for meeting certain material requirements and use purposes of people, so the furniture also has the factors in the aspects of materials and appearance forms, and the wood furniture is one of the most widely used furniture types.
In the furniture processing, often need to process large-scale timber, like whole planing, carving pattern etc. need place timber on the processing machine tool this moment, move to the processing tool bit through transmission, and at this in-process, it is higher to ligneous fixed stability requirement, needs the workman to push timber to the tool bit by hand, if produce the displacement deviation in the course of working, then lead to the work piece unsatisfactory, cause timber extravagant, reduce the operating efficiency.
Disclosure of Invention
The invention provides a positioning transmission device in a wooden furniture processing technology, and aims to solve the problem that the existing wooden furniture is unstable in the process of being conveyed, so that the processing efficiency is low.
The invention is realized in such a way, and provides the following technical scheme: a positioning transmission device in a wooden furniture processing technology comprises a base, wherein a workbench is arranged at the top of the base, a first positioning and fixing mechanism is arranged on the workbench, a second positioning and fixing mechanism is arranged at the top of the workbench, and a pushing mechanism is arranged on one side of the workbench;
the first positioning and fixing mechanism comprises two side clamping plates, the two side clamping plates are respectively arranged on two sides of the top of the workbench, a first chute is arranged on the top of the workbench, a second chute is arranged on two sides of the first chute, a threaded shaft is arranged in the first chute, two ends of the threaded shaft are movably connected with the inner wall of the first chute through bearings, one end of the threaded shaft penetrates through the inner wall of the workbench and extends to the outer side of the workbench, a moving block is fixedly arranged at the bottom of the side clamping plates, the moving block is movably sleeved on the threaded shaft and is in threaded connection with the threaded shaft, sliding blocks are fixedly arranged at two ends of the bottom of the side clamping plates and are matched with the second chute, a working plate is fixedly arranged on one side of the workbench, a motor is arranged at the bottom of the working plate, and a rotating shaft is fixedly arranged at the output end of the motor, the top end of the rotating shaft is movably connected with the working plate through a bearing, a first gear disc is fixedly arranged in the middle of the rotating shaft, a connecting plate is arranged at the bottom of the working plate, two sides of the connecting plate are respectively and fixedly connected with the workbench and the working plate, an adjusting shaft is arranged on one side of the connecting plate, the adjusting shaft is movably connected with the connecting plate through a bearing, a second gear disc is fixedly arranged at one end of the adjusting shaft, the first gear disc is meshed with the second gear disc, a limiting disc is fixedly arranged at one end of the threaded shaft, and a transmission belt is arranged between the threaded shaft and the adjusting shaft;
the second positioning and fixing mechanism comprises a top plate, four corners of the bottom of the top plate are fixedly provided with connecting rods, the bottom of each connecting rod is fixedly connected with the workbench, a top clamping plate is arranged at the bottom of the top plate, a first hydraulic cylinder is arranged at the top of the top plate, the output end of the first hydraulic cylinder penetrates through the top plate and is fixedly connected with the top clamping plate, a plurality of connecting strips are evenly arranged on two sides of the top clamping plate, a plurality of connecting grooves are evenly formed in the tops of the side clamping plates, and the connecting strips are matched with the connecting grooves.
In a preferred embodiment, the pushing mechanism comprises a pushing substrate, the pushing substrate is fixedly arranged on one side of the top of the working plate, a second hydraulic cylinder is fixedly arranged on one side of the pushing substrate, and a pushing plate is fixedly arranged at the output end of the second hydraulic cylinder.
In a preferred embodiment, a plurality of first telescopic rods are uniformly arranged between the pushing plate and the pushing substrate, and two ends of each first telescopic rod are fixedly connected with the pushing plate and the pushing substrate respectively.
In a preferred embodiment, a plurality of connecting columns are uniformly arranged between the workbench and the base, and the connecting columns are made of stainless steel materials.
In a preferred embodiment, the side clamping plates, the top clamping plate and the pushing plate are provided with a buffer pad on one side, and the buffer pad is made of rubber material.
In a preferred embodiment, a reinforcing plate is arranged between the working plate and the base, and two sides of the reinforcing plate are fixedly connected with the working plate and the base through bolts respectively.
In a preferred embodiment, a plurality of second telescopic rods are uniformly arranged between the top of the top clamping plate and the top plate, and two ends of each second telescopic rod are fixedly connected with the top clamping plate and the top plate respectively.
Compared with the prior art, the invention has the beneficial effects that:
1. through the arrangement of the first positioning fixing mechanism and the second positioning fixing mechanism, the motor is started, so that the first gear disc is driven to rotate, the first gear disc is meshed with the second gear disc, the second gear disc also drives the adjusting shaft to rotate, so that the transmission belt on the adjusting shaft is driven, the transmission belt can drive the threaded shaft at the other end to rotate, so that the two moving blocks can be driven to mutually approach or separate, so that wooden furniture is clamped, the stability of the side clamping plate during moving can be improved through the matching of the sliding blocks and the second sliding grooves, the first hydraulic cylinder is then opened to drive the top clamping plate to move downwards, so that the top of the wooden furniture is fixed, when the top clamping plate descends, through the matching of the connecting strips and the connecting grooves, as long as the width of the wooden furniture to be processed is larger than that of the top clamping plate, the top clamping plate can fix the wooden furniture, the connecting strips can improve the contact area of the top clamping plates on the wooden furniture, so that the firmness of the wooden furniture is improved, the four sides of the wooden furniture can be fixed through the matching of the side clamping plates and the top clamping plates, the wooden furniture can be fixed no matter the appearance of the wooden furniture, and the use efficiency of the device is effectively improved;
2. through being provided with push mechanism, move through second hydraulic cylinder area push plate, thereby promote wooden furniture forward movement through push plate, thereby be close to the processing department on the lathe, then process, and when the process that push plate removed, a plurality of second telescopic links can improve push plate stability when the removal process, and when wooden furniture is by fixed removal, because side position splint, top position splint and push plate one side all are provided with the blotter, through the blotter, can prevent because side position splint, top position splint and push plate excessively step up and cause the damage to wooden furniture.
Drawings
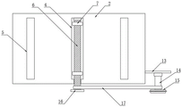
Fig. 1 is a schematic view of the overall structure of the present invention.
Fig. 2 is a schematic view of a portion of the structure shown in fig. 1.
FIG. 3 is a top view of the table structure of the present invention.
FIG. 4 is a side view of the table and top plate construction of the present invention.
Fig. 5 is a schematic view of the lateral splint structure of the present invention.
Fig. 6 is a schematic view of the top splint structure of the present invention.
Fig. 7 is a schematic structural diagram of the pushing mechanism of the present invention.
In the figure: 1 base, 2 workstations, 3 side position splint, 4 first spouts, 5 second spouts, 6 threaded shaft, 7 movable blocks, 8 sliders, 9 work boards, 10 motors, 11 pivot, 12 first toothed disc, 13 connecting plates, 14 regulating shafts, 15 second toothed disc, 16 spacing dishes, 17 transmission bands, 18 roofs, 19 connecting rods, 20 top position splint, 21 first pneumatic cylinders, 22 connecting strips, 23 connecting grooves, 24 promotion base plates, 25 second pneumatic cylinders, 26 push plates, 27 first telescopic links, 28 connecting columns, 29 blotters, 30 gusset plates, 31 second telescopic links.
Detailed Description
In order to make the objects, technical solutions and advantages of the present invention more apparent, the present invention is described in further detail below with reference to the accompanying drawings and embodiments. It should be understood that the specific embodiments described herein are merely illustrative of the invention and are not intended to limit the invention.
In the description of the present invention, it is to be understood that the terms "length", "width", "upper", "lower", "front", "rear", "left", "right", "vertical", "horizontal", "top", "bottom", "inner", "outer", and the like, indicate orientations or positional relationships based on the orientations or positional relationships illustrated in the drawings, and are used merely for convenience in describing the present invention and for simplicity in description, and do not indicate or imply that the devices or elements referred to must have a particular orientation, be constructed in a particular orientation, and be operated, and thus, are not to be construed as limiting the present invention. Further, in the description of the present invention, "a plurality" means two or more unless specifically defined otherwise.
Referring to fig. 1-6, the present invention provides a technical solution: a positioning transmission device in a wooden furniture processing technology comprises a base 1, wherein a workbench 2 is arranged at the top of the base 1, a first positioning and fixing mechanism is arranged on the workbench 2, a second positioning and fixing mechanism is arranged at the top of the workbench 2, and a pushing mechanism is arranged on one side of the workbench 2;
the first positioning and fixing mechanism comprises two side clamping plates 3, the two side clamping plates 3 are respectively arranged at two sides of the top of the workbench 2, a first chute 4 is arranged at the top of the workbench 2, second chutes 5 are respectively arranged at two sides of the first chute 4, a threaded shaft 6 is arranged in the first chute 4, two ends of the threaded shaft 6 are movably connected with the inner wall of the first chute 4 through bearings, one end of the threaded shaft 6 penetrates through the inner wall of the workbench 2 and extends to the outer side of the workbench 2, a moving block 7 is fixedly arranged at the bottom of the side clamping plates 3, the moving block 7 is movably sleeved on the threaded shaft 6, the moving block 7 is in threaded connection with the threaded shaft 6, sliding blocks 8 are fixedly arranged at two ends of the bottom of the side clamping plates 3, the sliding blocks 8 are matched with the second chutes 5, a working plate 9 is fixedly arranged at one side of the workbench 2, and a motor 10 is arranged at the bottom of the working plate 9, the output end of the motor 10 is fixedly provided with a rotating shaft 11, the top end of the rotating shaft 11 is movably connected with a working plate 9 through a bearing, the middle part of the rotating shaft 11 is fixedly provided with a first gear disc 12, the bottom of the working plate 9 is provided with a connecting plate 13, two sides of the connecting plate 13 are respectively fixedly connected with a workbench 2 and the working plate 9, one side of the connecting plate 13 is provided with an adjusting shaft 14, the adjusting shaft 14 is movably connected with the connecting plate 13 through a bearing, one end of the adjusting shaft 14 is fixedly provided with a second gear disc 15, the first gear disc 12 is meshed with the second gear disc 15, one end of the threaded shaft 6 is fixedly provided with a limiting disc 16, and a conveying belt 17 is arranged between the threaded shaft 6 and the adjusting shaft 14;
second location fixed establishment includes roof 18, 18 bottom four corners positions of roof all fix and are provided with connecting rod 19, 19 bottom and 2 fixed connection of workstation of connecting rod, 18 bottoms of roof are provided with top position splint 20, 18 tops of roof are provided with first pneumatic cylinder 21, 21 outputs of first pneumatic cylinder run through roof 18 and with top position splint 20 fixed connection, top position splint 20 both sides evenly are provided with a plurality of connecting strips 22, 3 tops of side position splint evenly are provided with a plurality of connecting grooves 23, connecting strip 22 and connecting groove 23 phase-match.
The implementation mode is specifically as follows: when the wood furniture processing device is used, the wood furniture processing device is arranged at a proper position of a mounting lathe, then wood furniture needing to be processed is placed on a workbench 2 and is positioned between two side clamping plates 3, then a motor 10 is turned on, the motor 10 can drive a rotating shaft 11 to rotate so as to drive a first gear disc 12 to rotate, the first gear disc 12 is meshed with a second gear disc 15, therefore, the second gear disc 15 rotates along with the first gear disc 15, the second gear disc 15 also drives an adjusting shaft 14 to rotate so as to drive a transmission belt 17 on the adjusting shaft 14, a threaded shaft 6 at the other end can be driven to rotate through the transmission belt 17, when the threaded shaft 6 rotates, two moving blocks 7 can be driven to approach or depart from each other, the side clamping plates 3 approach each other under the driving of the moving blocks 7 so as to clamp the wood furniture, and a sliding block 8 at the bottoms of the side clamping plates 3 also slides in a second sliding groove 5 on the workbench 2 along with the side clamping plates, through the matching of the sliding block 8 and the second sliding groove 5, the stability of the side position clamping plates 3 during moving can be improved, after the two side position clamping plates 3 fix the wooden furniture, the first hydraulic cylinder 21 is opened again to drive the top position clamping plate 20 to move downwards, so as to fix the top of the wooden furniture, when the top position clamping plate 20 descends, the connecting strips 22 at the two sides of the top position clamping plate 20 can enter the connecting grooves 23 on the side position clamping plates 3, through the matching of the connecting strips 22 and the connecting grooves 23, as long as the width of the wooden furniture to be processed is larger than that of the top position clamping plate 20, the top position clamping plate 20 can fix the wooden furniture, and the connecting strips 22 can improve the contact area of the top position clamping plate 20 between the wooden furniture, so as to improve the firmness when the wooden furniture is fixed, through the matching of the side position clamping plates 3 and the top position clamping plate 20, the four sides of the wooden furniture can be fixed, thereby can all can fix wooden furniture no matter the appearance of wooden furniture, effectively improve the efficiency of device when using, this embodiment has specifically solved the difficult fixed problem to the wooden furniture of different shapes that exists among the prior art.
Referring to fig. 1 and 7, the pushing mechanism includes a pushing substrate 24, the pushing substrate is fixedly disposed on one side of the top of the working plate 9, a second hydraulic cylinder 25 is fixedly disposed on one side of the pushing substrate, and a pushing plate 26 is fixedly disposed at an output end of the second hydraulic cylinder 25.
A plurality of first telescopic rods 27 are uniformly arranged between the pushing plate 26 and the pushing substrate 24, and two ends of each first telescopic rod 27 are fixedly connected with the pushing plate 26 and the pushing substrate 24 respectively.
A plurality of connecting columns 28 are uniformly arranged between the workbench 2 and the base 1, and the connecting columns 28 are made of stainless steel materials.
A reinforcing plate 30 is arranged between the working plate 9 and the base 1, and two sides of the reinforcing plate 30 are fixedly connected with the working plate 9 and the base 1 through bolts respectively.
Evenly set up to a plurality of second telescopic links 31 between top position splint 20 top and the roof 18, second telescopic link 31 both ends respectively with top position splint 20 and roof 18 fixed connection.
The implementation mode is specifically as follows: when the wood furniture is used, after the wood furniture is fixed by the first positioning mechanism and the second positioning mechanism, the second hydraulic cylinder 25 in the pushing mechanism is opened, the pushing plate 26 is driven to move by the second hydraulic cylinder 25, so that the wood furniture is pushed by the pushing plate 26 to move forwards, the wood furniture is close to a processing position on a lathe and is processed, in the moving process of the pushing plate 26, the stability of the pushing plate 26 in the moving process can be improved by the plurality of second telescopic rods 31, and when the wood furniture is fixed and moved, because the side clamping plates 3, the top clamping plates 20 and one sides of the pushing plate 26 are provided with the buffer cushions 29, the damage to the wood furniture caused by the over-tightening of the side clamping plates 3, the top clamping plates 20 and the pushing plate 26 can be prevented by the buffer cushions 29.
The working principle of the invention is as follows:
referring to the attached drawings 1-6 of the specification, when the wood furniture processing device is used, the wood furniture to be processed is placed on a proper position of a mounting lathe, the wood furniture to be processed is placed on a workbench 2 and is positioned between two side clamping plates 3, then a motor 10 is turned on, the motor 10 can drive a rotating shaft 11 to rotate so as to drive a first gear disc 12 to rotate, the first gear disc 12 is meshed with a second gear disc 15, the second gear disc 15 rotates along with the first gear disc 15, the second gear disc 15 also drives an adjusting shaft 14 to rotate so as to drive a transmission belt 17 on the adjusting shaft 14, a threaded shaft 6 at the other end can be driven to rotate through the transmission belt 17, when the threaded shaft 6 rotates, two moving blocks 7 can be driven to approach or depart from each other, the side clamping plates 3 approach each other under the driving of the moving blocks 7 so as to clamp the wood furniture, a sliding block 8 at the bottoms of the side clamping plates 3 also slides in a second sliding groove 5 on the workbench 2 along with the side clamping plate, through the matching of the sliding block 8 and the second sliding groove 5, the stability of the side position clamping plates 3 during moving can be improved, after the two side position clamping plates 3 fix wooden furniture, the first hydraulic cylinder 21 is opened again to drive the top position clamping plate 20 to move downwards, so that the tops of the wooden furniture are fixed, when the top position clamping plate 20 descends, the connecting strips 22 on the two sides of the top position clamping plate 20 can enter the connecting grooves 23 on the side position clamping plates 3, and through the matching of the connecting strips 22 and the connecting grooves 23, as long as the width of the wooden furniture to be processed is greater than that of the top position clamping plate 20, the top position clamping plate 20 can fix the wooden furniture;
referring to the attached drawings 1 and 7 in the specification, when the wooden furniture is used, after the wooden furniture is fixed by the first positioning mechanism and the second positioning mechanism, the second hydraulic cylinder 25 in the pushing mechanism is opened, the second hydraulic cylinder 25 drives the pushing plate 26 to move, so that the wooden furniture is pushed by the pushing plate 26 to move forwards, the wooden furniture is close to a processing position on a lathe and is further processed, and when the pushing plate 26 moves, the stability of the pushing plate 26 during the moving process can be improved by the plurality of second telescopic rods 31.
The present invention is not limited to the above preferred embodiments, and any modifications, equivalent substitutions and improvements made within the spirit and principle of the present invention should be included in the protection scope of the present invention.
Claims (7)
1. The utility model provides a location transmission among wood system furniture processing technology, includes the base, its characterized in that: a workbench is arranged at the top of the base, a first positioning and fixing mechanism is arranged on the workbench, a second positioning and fixing mechanism is arranged at the top of the workbench, and a pushing mechanism is arranged on one side of the workbench;
the first positioning and fixing mechanism comprises two side clamping plates, the two side clamping plates are respectively arranged on two sides of the top of the workbench, a first chute is arranged on the top of the workbench, a second chute is arranged on two sides of the first chute, a threaded shaft is arranged in the first chute, two ends of the threaded shaft are movably connected with the inner wall of the first chute through bearings, one end of the threaded shaft penetrates through the inner wall of the workbench and extends to the outer side of the workbench, a moving block is fixedly arranged at the bottom of the side clamping plates, the moving block is movably sleeved on the threaded shaft and is in threaded connection with the threaded shaft, sliding blocks are fixedly arranged at two ends of the bottom of the side clamping plates and are matched with the second chute, a working plate is fixedly arranged on one side of the workbench, a motor is arranged at the bottom of the working plate, and a rotating shaft is fixedly arranged at the output end of the motor, the top end of the rotating shaft is movably connected with the working plate through a bearing, a first gear disc is fixedly arranged in the middle of the rotating shaft, a connecting plate is arranged at the bottom of the working plate, two sides of the connecting plate are respectively and fixedly connected with the workbench and the working plate, an adjusting shaft is arranged on one side of the connecting plate, the adjusting shaft is movably connected with the connecting plate through a bearing, a second gear disc is fixedly arranged at one end of the adjusting shaft, the first gear disc is meshed with the second gear disc, a limiting disc is fixedly arranged at one end of the threaded shaft, and a transmission belt is arranged between the threaded shaft and the adjusting shaft;
the second positioning and fixing mechanism comprises a top plate, four corners of the bottom of the top plate are fixedly provided with connecting rods, the bottom of each connecting rod is fixedly connected with the workbench, a top clamping plate is arranged at the bottom of the top plate, a first hydraulic cylinder is arranged at the top of the top plate, the output end of the first hydraulic cylinder penetrates through the top plate and is fixedly connected with the top clamping plate, a plurality of connecting strips are evenly arranged on two sides of the top clamping plate, a plurality of connecting grooves are evenly formed in the tops of the side clamping plates, and the connecting strips are matched with the connecting grooves.
2. The wood furniture processing technology positioning transmission device as claimed in claim 1, wherein: the pushing mechanism comprises a pushing base plate, the pushing base plate is fixedly arranged on one side of the top of the working plate, a second hydraulic cylinder is fixedly arranged on one side of the pushing base plate, and a pushing plate is fixedly arranged at the output end of the second hydraulic cylinder.
3. The wood furniture processing technology positioning transmission device as claimed in claim 2, wherein: a plurality of first telescopic links are evenly arranged between the pushing plate and the pushing substrate, and two ends of each first telescopic link are fixedly connected with the pushing plate and the pushing substrate respectively.
4. The wood furniture processing technology positioning transmission device as claimed in claim 1, wherein: a plurality of connecting columns are uniformly arranged between the workbench and the base and are made of stainless steel materials.
5. The wood furniture processing technology positioning transmission device as claimed in claim 2, wherein: lateral position splint, top position splint and push pedal one side all are provided with the blotter, the blotter is made by rubber materials.
6. The wood furniture processing technology positioning transmission device as claimed in claim 1, wherein: and a reinforcing plate is arranged between the working plate and the base, and two sides of the reinforcing plate are fixedly connected with the working plate and the base through bolts respectively.
7. The wood furniture processing technology positioning transmission device as claimed in claim 1, wherein: evenly set up to a plurality of second telescopic links between top position splint top and the roof, second telescopic link both ends respectively with top position splint and roof fixed connection.
Priority Applications (1)
| Application Number | Priority Date | Filing Date | Title |
|---|---|---|---|
| CN202010199232.XA CN111452147B (en) | 2020-03-20 | 2020-03-20 | Positioning transmission device in wooden furniture processing technology |
Applications Claiming Priority (1)
| Application Number | Priority Date | Filing Date | Title |
|---|---|---|---|
| CN202010199232.XA CN111452147B (en) | 2020-03-20 | 2020-03-20 | Positioning transmission device in wooden furniture processing technology |
Publications (2)
| Publication Number | Publication Date |
|---|---|
| CN111452147A CN111452147A (en) | 2020-07-28 |
| CN111452147B true CN111452147B (en) | 2021-10-08 |
Family
ID=71672952
Family Applications (1)
| Application Number | Title | Priority Date | Filing Date |
|---|---|---|---|
| CN202010199232.XA Active CN111452147B (en) | 2020-03-20 | 2020-03-20 | Positioning transmission device in wooden furniture processing technology |
Country Status (1)
| Country | Link |
|---|---|
| CN (1) | CN111452147B (en) |
Families Citing this family (1)
| Publication number | Priority date | Publication date | Assignee | Title |
|---|---|---|---|---|
| CN115751858A (en) * | 2022-11-15 | 2023-03-07 | 南通澳金家具有限公司 | Vacuum microwave oven is used in mahogany furniture production |
Family Cites Families (7)
| Publication number | Priority date | Publication date | Assignee | Title |
|---|---|---|---|---|
| RU2516781C1 (en) * | 2012-11-12 | 2014-05-20 | Владимир Владимирович Опарин | Method of processing of wood products across grain in two or more planes of different cross-sectional shapes |
| CN206253930U (en) * | 2016-12-19 | 2017-06-16 | 珠海东方重工有限公司 | A kind of steel plate milling fixing device |
| CN206913310U (en) * | 2017-04-28 | 2018-01-23 | 中源家居股份有限公司 | A kind of timber automatic gas cutting machine |
| CN209491843U (en) * | 2017-12-29 | 2019-10-15 | 佛山市和腾机械科技有限公司 | Positioning gear is used in a kind of processing of furniture |
| CN208556749U (en) * | 2018-06-25 | 2019-03-01 | 盐城市金发机械厂 | A kind of upper cover of speed changing box processing unit (plant) of good positioning effect |
| CN208628944U (en) * | 2018-08-16 | 2019-03-22 | 张巍巍 | A kind of mechanical production devices fast compressing device |
| CN209811788U (en) * | 2019-04-26 | 2019-12-20 | 青岛骏科精密模具有限公司 | Workpiece positioning device of three-axis machining center |
-
2020
- 2020-03-20 CN CN202010199232.XA patent/CN111452147B/en active Active
Also Published As
| Publication number | Publication date |
|---|---|
| CN111452147A (en) | 2020-07-28 |
Similar Documents
| Publication | Publication Date | Title |
|---|---|---|
| CN202367813U (en) | Rear loading high speed computerized panel saw | |
| CN205342633U (en) | Automatic loading and unloading processing center production line | |
| CN105479241A (en) | Automatic loading and unloading processing center production line | |
| CN105415460A (en) | Combined production line for furniture wood processing | |
| CN208543565U (en) | A kind of Double-faced wood planer | |
| CN111452147B (en) | Positioning transmission device in wooden furniture processing technology | |
| CN205415878U (en) | Adjustable four sides planing wood machine about cutter | |
| CN202367811U (en) | Propelling Mechanism of High-speed Computerized Panel Saw with Rear Feeding | |
| CN220744554U (en) | Woodworking flexible production line | |
| CN218694223U (en) | A special milling machine for curtain wall thin-walled aluminum material | |
| CN212765435U (en) | Automatic engraver workstation of business turn over material | |
| CN211840299U (en) | Full-automatic cutting machining device for handle base | |
| CN209257740U (en) | A double gantry engraving machine | |
| CN211333628U (en) | Cutting machine for green building decorative board | |
| CN210615243U (en) | A high-efficient double-end milling machine for large-scale work piece processing | |
| CN223812343U (en) | Double-station embedded nail jig | |
| CN223084036U (en) | Device for engraving plate surface | |
| CN221582864U (en) | Auxiliary feeding mechanism for numerical control machine tool | |
| CN221436426U (en) | Multipurpose aluminum profile processing guard board device | |
| CN222471674U (en) | A material rack structure on a pipe sawing machine | |
| CN206882899U (en) | Tubular workpiece groover fluting flour milling mechanism | |
| CN206419995U (en) | Micro-wave oven anode assembling checks equipment | |
| CN214871148U (en) | A terminal dust-proof mesh plate die-cutting device | |
| CN220387752U (en) | A steel bar cutting device for building construction | |
| CN222003813U (en) | Wave tenon device |
Legal Events
| Date | Code | Title | Description |
|---|---|---|---|
| PB01 | Publication | ||
| PB01 | Publication | ||
| SE01 | Entry into force of request for substantive examination | ||
| SE01 | Entry into force of request for substantive examination | ||
| GR01 | Patent grant | ||
| GR01 | Patent grant | ||
| PE01 | Entry into force of the registration of the contract for pledge of patent right | ||
| PE01 | Entry into force of the registration of the contract for pledge of patent right |
Denomination of invention: A positioning transmission device in wooden furniture processing technology Effective date of registration: 20211225 Granted publication date: 20211008 Pledgee: Zhejiang Tailong Commercial Bank Co.,Ltd. Huzhou Branch Pledgor: ZHEJIANG WANCHANG FURNITURE CO.,LTD. Registration number: Y2021330002646 |