CN111451143B - An integrated device for removing impurities and screening nut food - Google Patents
An integrated device for removing impurities and screening nut food Download PDFInfo
- Publication number
- CN111451143B CN111451143B CN202010268322.XA CN202010268322A CN111451143B CN 111451143 B CN111451143 B CN 111451143B CN 202010268322 A CN202010268322 A CN 202010268322A CN 111451143 B CN111451143 B CN 111451143B
- Authority
- CN
- China
- Prior art keywords
- fixedly connected
- box
- plate
- screening
- wall
- Prior art date
- Legal status (The legal status is an assumption and is not a legal conclusion. Google has not performed a legal analysis and makes no representation as to the accuracy of the status listed.)
- Active
Links
Images
Classifications
-
- B—PERFORMING OPERATIONS; TRANSPORTING
- B07—SEPARATING SOLIDS FROM SOLIDS; SORTING
- B07B—SEPARATING SOLIDS FROM SOLIDS BY SIEVING, SCREENING, SIFTING OR BY USING GAS CURRENTS; SEPARATING BY OTHER DRY METHODS APPLICABLE TO BULK MATERIAL, e.g. LOOSE ARTICLES FIT TO BE HANDLED LIKE BULK MATERIAL
- B07B9/00—Combinations of apparatus for screening or sifting or for separating solids from solids using gas currents; General arrangement of plant, e.g. flow sheets
-
- B—PERFORMING OPERATIONS; TRANSPORTING
- B03—SEPARATION OF SOLID MATERIALS USING LIQUIDS OR USING PNEUMATIC TABLES OR JIGS; MAGNETIC OR ELECTROSTATIC SEPARATION OF SOLID MATERIALS FROM SOLID MATERIALS OR FLUIDS; SEPARATION BY HIGH-VOLTAGE ELECTRIC FIELDS
- B03C—MAGNETIC OR ELECTROSTATIC SEPARATION OF SOLID MATERIALS FROM SOLID MATERIALS OR FLUIDS; SEPARATION BY HIGH-VOLTAGE ELECTRIC FIELDS
- B03C3/00—Separating dispersed particles from gases or vapour, e.g. air, by electrostatic effect
- B03C3/28—Plant or installations without electricity supply, e.g. using electrets
-
- B—PERFORMING OPERATIONS; TRANSPORTING
- B07—SEPARATING SOLIDS FROM SOLIDS; SORTING
- B07B—SEPARATING SOLIDS FROM SOLIDS BY SIEVING, SCREENING, SIFTING OR BY USING GAS CURRENTS; SEPARATING BY OTHER DRY METHODS APPLICABLE TO BULK MATERIAL, e.g. LOOSE ARTICLES FIT TO BE HANDLED LIKE BULK MATERIAL
- B07B1/00—Sieving, screening, sifting, or sorting solid materials using networks, gratings, grids, or the like
- B07B1/04—Stationary flat screens
-
- B—PERFORMING OPERATIONS; TRANSPORTING
- B07—SEPARATING SOLIDS FROM SOLIDS; SORTING
- B07B—SEPARATING SOLIDS FROM SOLIDS BY SIEVING, SCREENING, SIFTING OR BY USING GAS CURRENTS; SEPARATING BY OTHER DRY METHODS APPLICABLE TO BULK MATERIAL, e.g. LOOSE ARTICLES FIT TO BE HANDLED LIKE BULK MATERIAL
- B07B1/00—Sieving, screening, sifting, or sorting solid materials using networks, gratings, grids, or the like
- B07B1/28—Moving screens not otherwise provided for, e.g. swinging, reciprocating, rocking, tilting or wobbling screens
-
- B—PERFORMING OPERATIONS; TRANSPORTING
- B07—SEPARATING SOLIDS FROM SOLIDS; SORTING
- B07B—SEPARATING SOLIDS FROM SOLIDS BY SIEVING, SCREENING, SIFTING OR BY USING GAS CURRENTS; SEPARATING BY OTHER DRY METHODS APPLICABLE TO BULK MATERIAL, e.g. LOOSE ARTICLES FIT TO BE HANDLED LIKE BULK MATERIAL
- B07B1/00—Sieving, screening, sifting, or sorting solid materials using networks, gratings, grids, or the like
- B07B1/42—Drive mechanisms, regulating or controlling devices, or balancing devices, specially adapted for screens
-
- B—PERFORMING OPERATIONS; TRANSPORTING
- B07—SEPARATING SOLIDS FROM SOLIDS; SORTING
- B07B—SEPARATING SOLIDS FROM SOLIDS BY SIEVING, SCREENING, SIFTING OR BY USING GAS CURRENTS; SEPARATING BY OTHER DRY METHODS APPLICABLE TO BULK MATERIAL, e.g. LOOSE ARTICLES FIT TO BE HANDLED LIKE BULK MATERIAL
- B07B1/00—Sieving, screening, sifting, or sorting solid materials using networks, gratings, grids, or the like
- B07B1/46—Constructional details of screens in general; Cleaning or heating of screens
Landscapes
- Food-Manufacturing Devices (AREA)
- Combined Means For Separation Of Solids (AREA)
Abstract
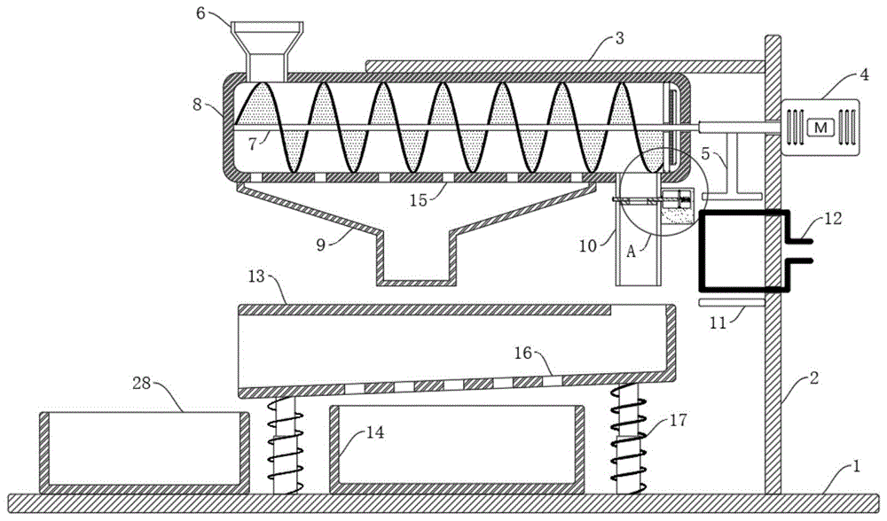
本发明公开了一种坚果类食品除杂筛选一体化装置,包括支撑机构,所述支撑机构上设有除杂机构,所述除杂机构包括除杂箱,所述除杂箱上壁连通设有进料斗,所述支撑机构上设有电机,所述电机的输出轴固定连接有转轴,所述转轴远离电机一端固定连接有阿基米德螺杆,且阿基米德螺杆位于除杂箱内,所述除杂箱下壁设有多个除杂孔,所述除杂箱下壁固定连接有收集斗,所述阿基米德螺杆靠近转轴一端侧壁固定连接有转盘,所述转盘侧壁固定连接有毛皮层,所述除杂箱内壁固定连接有橡胶板,所述除杂箱靠近右端的下壁连通设有出料管。本发明既能够节约大量的时间和精力,提高工作效率,又能够节约经济成本,适合普及使用。
The invention discloses an integrated device for removing impurities and screening nut food, which comprises a support mechanism, the support mechanism is provided with a removing mechanism, and the removing mechanism comprises a removing box, the upper wall of the removing box is connected with a There is a feeding hopper, a motor is arranged on the support mechanism, the output shaft of the motor is fixedly connected with a rotating shaft, and one end of the rotating shaft away from the motor is fixedly connected with an Archimedes screw, and the Archimedes screw is located in the trash removal box. Inside, the lower wall of the trash removal box is provided with a plurality of trash removal holes, a collection bucket is fixedly connected to the lower wall of the trash removal box, a turntable is fixedly connected to the side wall of one end of the Archimedes screw close to the rotating shaft, and the turntable is fixedly connected. A fur layer is fixedly connected to the side wall, a rubber plate is fixedly connected to the inner wall of the trash removal box, and a discharge pipe is communicated with the lower wall of the trash removal box near the right end. The invention can not only save a lot of time and energy, improve work efficiency, but also save economic cost, and is suitable for popular use.
Description
Claims (3)
Priority Applications (1)
| Application Number | Priority Date | Filing Date | Title |
|---|---|---|---|
| CN202010268322.XA CN111451143B (en) | 2020-04-08 | 2020-04-08 | An integrated device for removing impurities and screening nut food |
Applications Claiming Priority (1)
| Application Number | Priority Date | Filing Date | Title |
|---|---|---|---|
| CN202010268322.XA CN111451143B (en) | 2020-04-08 | 2020-04-08 | An integrated device for removing impurities and screening nut food |
Publications (2)
| Publication Number | Publication Date |
|---|---|
| CN111451143A CN111451143A (en) | 2020-07-28 |
| CN111451143B true CN111451143B (en) | 2021-07-13 |
Family
ID=71673042
Family Applications (1)
| Application Number | Title | Priority Date | Filing Date |
|---|---|---|---|
| CN202010268322.XA Active CN111451143B (en) | 2020-04-08 | 2020-04-08 | An integrated device for removing impurities and screening nut food |
Country Status (1)
| Country | Link |
|---|---|
| CN (1) | CN111451143B (en) |
Citations (7)
| Publication number | Priority date | Publication date | Assignee | Title |
|---|---|---|---|---|
| DE2355135A1 (en) * | 1973-11-05 | 1975-07-17 | Hoechst Ag | METHOD AND DEVICE FOR SEPARATING ASPHAERIC PARTICLES FROM SPHERICAL PARTICLES |
| SU1711987A1 (en) * | 1989-11-20 | 1992-02-15 | Всесоюзный государственный научно-исследовательский и проектный институт асбестовой промышленности | Screen |
| CN2204658Y (en) * | 1994-06-20 | 1995-08-09 | 朱宏岩 | Horizental rotary sieve with dust discharging hole on terminal face of shaft |
| CN206481910U (en) * | 2017-01-05 | 2017-09-12 | 凤庆县蒲门茶业有限责任公司 | A kind of static impurity-removing device for tea processing |
| CN107348542A (en) * | 2017-08-23 | 2017-11-17 | 郑州诚合信息技术有限公司 | The Blendling-device of feedstuffs of novel environment friendly |
| CN206763333U (en) * | 2017-05-20 | 2017-12-19 | 高伟 | A kind of efficient Sand screen in construction site |
| CN108499868A (en) * | 2018-06-11 | 2018-09-07 | 田园 | A kind of nut fruits removal of impurities classified screening device |
-
2020
- 2020-04-08 CN CN202010268322.XA patent/CN111451143B/en active Active
Patent Citations (7)
| Publication number | Priority date | Publication date | Assignee | Title |
|---|---|---|---|---|
| DE2355135A1 (en) * | 1973-11-05 | 1975-07-17 | Hoechst Ag | METHOD AND DEVICE FOR SEPARATING ASPHAERIC PARTICLES FROM SPHERICAL PARTICLES |
| SU1711987A1 (en) * | 1989-11-20 | 1992-02-15 | Всесоюзный государственный научно-исследовательский и проектный институт асбестовой промышленности | Screen |
| CN2204658Y (en) * | 1994-06-20 | 1995-08-09 | 朱宏岩 | Horizental rotary sieve with dust discharging hole on terminal face of shaft |
| CN206481910U (en) * | 2017-01-05 | 2017-09-12 | 凤庆县蒲门茶业有限责任公司 | A kind of static impurity-removing device for tea processing |
| CN206763333U (en) * | 2017-05-20 | 2017-12-19 | 高伟 | A kind of efficient Sand screen in construction site |
| CN107348542A (en) * | 2017-08-23 | 2017-11-17 | 郑州诚合信息技术有限公司 | The Blendling-device of feedstuffs of novel environment friendly |
| CN108499868A (en) * | 2018-06-11 | 2018-09-07 | 田园 | A kind of nut fruits removal of impurities classified screening device |
Also Published As
| Publication number | Publication date |
|---|---|
| CN111451143A (en) | 2020-07-28 |
Similar Documents
| Publication | Publication Date | Title |
|---|---|---|
| CN112958192A (en) | Broken and magnetism deironing device of building rubbish | |
| CN113171973A (en) | Mining coal screening plant | |
| CN214555264U (en) | Stabilizer residual raw material pretreatment device | |
| CN107352283A (en) | A kind of raw coal conveying device | |
| CN206243935U (en) | A kind of vibration type batcher | |
| CN111451143B (en) | An integrated device for removing impurities and screening nut food | |
| CN108147014A (en) | A kind of vibration type batcher | |
| CN205341268U (en) | Electronic mesh screen separator of multilayer | |
| CN106824759B (en) | A kind of efficient raw material screening equipment for brickmaking | |
| CN111994562B (en) | Multifunctional belt conveyor | |
| CN112387406B (en) | Environment-friendly ore crusher | |
| CN219681882U (en) | Coal-water separator | |
| CN210358064U (en) | A kind of plastic particle screening device for plastic processing | |
| CN219560504U (en) | Magnetic separation device for producing starch | |
| CN206997063U (en) | One kind processing feed spin vibration sieve | |
| CN112474270B (en) | Vibrating screen classifier is used in refractory material production | |
| CN215140896U (en) | Mechanism for separating iron particles from slag micro powder | |
| CN213468642U (en) | Combined movable grain cleaning device | |
| CN223788940U (en) | A vibrating screening device for chrysanthemum processing | |
| CN110575960A (en) | A waste wire recycling device | |
| CN206793892U (en) | Silica sand concentration equipment is used in a kind of solar energy photovoltaic glass production | |
| CN218618671U (en) | Ore dressing vibrating feeder | |
| CN2625057Y (en) | Combination machine with screening and de-stone | |
| CN202942754U (en) | Vibrating and striking deduster with flow guiding structure | |
| CN216420483U (en) | Vibration adsorption dust removal device |
Legal Events
| Date | Code | Title | Description |
|---|---|---|---|
| PB01 | Publication | ||
| PB01 | Publication | ||
| SE01 | Entry into force of request for substantive examination | ||
| SE01 | Entry into force of request for substantive examination | ||
| TA01 | Transfer of patent application right | ||
| TA01 | Transfer of patent application right |
Effective date of registration: 20210625 Address after: 232000 opposite to Fenghua middle school, North Street, Anfeng street, Anfeng Town, Shouxian County, Huainan City, Anhui Province Applicant after: ANHUI LIANG ZHONG LIANG FOOD Co.,Ltd. Address before: 244000 Jinghu Yaju community, Binhu Road, Tongguan District, Tongling City, Anhui Province Applicant before: Li Zhenxiao |
|
| GR01 | Patent grant | ||
| GR01 | Patent grant | ||
| PE01 | Entry into force of the registration of the contract for pledge of patent right | ||
| PE01 | Entry into force of the registration of the contract for pledge of patent right |
Denomination of invention: An integrated device for impurity removal and screening of nut foods Effective date of registration: 20230825 Granted publication date: 20210713 Pledgee: Bank of Communications Limited Huainan Branch Pledgor: ANHUI LIANG ZHONG LIANG FOOD CO.,LTD. Registration number: Y2023980053665 |
|
| PC01 | Cancellation of the registration of the contract for pledge of patent right | ||
| PC01 | Cancellation of the registration of the contract for pledge of patent right |
Granted publication date: 20210713 Pledgee: Bank of Communications Limited Huainan Branch Pledgor: ANHUI LIANG ZHONG LIANG FOOD CO.,LTD. Registration number: Y2023980053665 |
