CN111439664A - Hoisting platform safety device for construction - Google Patents
Hoisting platform safety device for construction Download PDFInfo
- Publication number
- CN111439664A CN111439664A CN202010210831.7A CN202010210831A CN111439664A CN 111439664 A CN111439664 A CN 111439664A CN 202010210831 A CN202010210831 A CN 202010210831A CN 111439664 A CN111439664 A CN 111439664A
- Authority
- CN
- China
- Prior art keywords
- hoisting platform
- fixedly connected
- circular
- hole
- hoisting
- Prior art date
- Legal status (The legal status is an assumption and is not a legal conclusion. Google has not performed a legal analysis and makes no representation as to the accuracy of the status listed.)
- Pending
Links
- 238000010276 construction Methods 0.000 title claims description 5
- 230000001681 protective effect Effects 0.000 claims abstract description 24
- 238000009435 building construction Methods 0.000 claims abstract description 18
- 235000017166 Bambusa arundinacea Nutrition 0.000 claims 4
- 235000017491 Bambusa tulda Nutrition 0.000 claims 4
- 241001330002 Bambuseae Species 0.000 claims 4
- 235000015334 Phyllostachys viridis Nutrition 0.000 claims 4
- 239000011425 bamboo Substances 0.000 claims 4
- 230000008878 coupling Effects 0.000 claims 2
- 238000010168 coupling process Methods 0.000 claims 2
- 238000005859 coupling reaction Methods 0.000 claims 2
- 238000003756 stirring Methods 0.000 claims 2
- 230000000149 penetrating effect Effects 0.000 claims 1
- 230000009286 beneficial effect Effects 0.000 abstract description 11
- 238000010586 diagram Methods 0.000 description 3
- 238000000034 method Methods 0.000 description 2
- 230000004048 modification Effects 0.000 description 2
- 238000012986 modification Methods 0.000 description 2
- 229910000831 Steel Inorganic materials 0.000 description 1
- 230000003139 buffering effect Effects 0.000 description 1
- 230000008094 contradictory effect Effects 0.000 description 1
- 230000007812 deficiency Effects 0.000 description 1
- 239000010959 steel Substances 0.000 description 1
Images
Classifications
-
- B—PERFORMING OPERATIONS; TRANSPORTING
- B66—HOISTING; LIFTING; HAULING
- B66C—CRANES; LOAD-ENGAGING ELEMENTS OR DEVICES FOR CRANES, CAPSTANS, WINCHES, OR TACKLES
- B66C1/00—Load-engaging elements or devices attached to lifting or lowering gear of cranes or adapted for connection therewith for transmitting lifting forces to articles or groups of articles
- B66C1/10—Load-engaging elements or devices attached to lifting or lowering gear of cranes or adapted for connection therewith for transmitting lifting forces to articles or groups of articles by mechanical means
- B66C1/12—Slings comprising chains, wires, ropes, or bands; Nets
- B66C1/16—Slings with load-engaging platforms or frameworks
-
- B—PERFORMING OPERATIONS; TRANSPORTING
- B66—HOISTING; LIFTING; HAULING
- B66C—CRANES; LOAD-ENGAGING ELEMENTS OR DEVICES FOR CRANES, CAPSTANS, WINCHES, OR TACKLES
- B66C13/00—Other constructional features or details
- B66C13/04—Auxiliary devices for controlling movements of suspended loads, or preventing cable slack
- B66C13/06—Auxiliary devices for controlling movements of suspended loads, or preventing cable slack for minimising or preventing longitudinal or transverse swinging of loads
-
- B—PERFORMING OPERATIONS; TRANSPORTING
- B66—HOISTING; LIFTING; HAULING
- B66C—CRANES; LOAD-ENGAGING ELEMENTS OR DEVICES FOR CRANES, CAPSTANS, WINCHES, OR TACKLES
- B66C15/00—Safety gear
-
- F—MECHANICAL ENGINEERING; LIGHTING; HEATING; WEAPONS; BLASTING
- F16—ENGINEERING ELEMENTS AND UNITS; GENERAL MEASURES FOR PRODUCING AND MAINTAINING EFFECTIVE FUNCTIONING OF MACHINES OR INSTALLATIONS; THERMAL INSULATION IN GENERAL
- F16F—SPRINGS; SHOCK-ABSORBERS; MEANS FOR DAMPING VIBRATION
- F16F15/00—Suppression of vibrations in systems; Means or arrangements for avoiding or reducing out-of-balance forces, e.g. due to motion
- F16F15/02—Suppression of vibrations of non-rotating, e.g. reciprocating systems; Suppression of vibrations of rotating systems by use of members not moving with the rotating systems
- F16F15/04—Suppression of vibrations of non-rotating, e.g. reciprocating systems; Suppression of vibrations of rotating systems by use of members not moving with the rotating systems using elastic means
- F16F15/08—Suppression of vibrations of non-rotating, e.g. reciprocating systems; Suppression of vibrations of rotating systems by use of members not moving with the rotating systems using elastic means with rubber springs ; with springs made of rubber and metal
Landscapes
- Engineering & Computer Science (AREA)
- Mechanical Engineering (AREA)
- General Engineering & Computer Science (AREA)
- Chemical & Material Sciences (AREA)
- Combustion & Propulsion (AREA)
- Physics & Mathematics (AREA)
- Acoustics & Sound (AREA)
- Aviation & Aerospace Engineering (AREA)
- Types And Forms Of Lifts (AREA)
Abstract
本发明涉及建筑施工技术领域,具体揭示了一种建筑施工用吊装平台安全防护装置,包括吊装平台,所述吊装平台的外侧等距离开设有若干组圆形通孔,所述吊装平台的圆形通孔处插接有固定插销,所述固定插销的外侧螺纹连接有防护框,所述防护框的顶部固定连接有支撑杆;本发明通过设置的支撑杆与防护框,能够为货物的运输提供一定的防护,可以避免货物出现掉落的风险,而设置的一号固定底座与二号固定底座均能够有利于吊装平台的吊装使用,通过设置的一号连接绳与二号连接绳的组合,能够配合一号固定底座与二号固定底座,能够更加方便的使得吊装平台更好的进行使用,能够避免吊装平台出现晃动的现象。
The invention relates to the technical field of building construction, and specifically discloses a safety protection device for a hoisting platform for building construction. A fixed pin is inserted at the through hole, the outer side of the fixed pin is threadedly connected with a protective frame, and the top of the protective frame is fixedly connected with a support rod; the present invention can provide the transportation of goods through the provided support rod and the protective frame. Certain protection can avoid the risk of falling of goods, and the set No. 1 fixed base and No. 2 fixed base are both beneficial to the hoisting use of the hoisting platform. It can cooperate with the No. 1 fixed base and the No. 2 fixed base, which can make the hoisting platform more convenient to use, and can avoid the phenomenon of shaking of the hoisting platform.
Description
技术领域technical field
本发明涉及建筑施工技术领域,具体为一种建筑施工用吊装平台安全防护装置。The invention relates to the technical field of building construction, in particular to a safety protection device for a hoisting platform for building construction.
背景技术Background technique
吊装平台的使用,在一些大型的施工现场已经属于较为常见的一种拼装手段,主要是用来将施工人员需要的货物或者运输的物品在不方便运输时采用的一种大型施工手段,对于吊装的司机来说,危险系数较大,虽然有完善的操作说明,但是由于吊装平台的自重与连接钢绳的稳定性,导致在上升一定高度时,吊装平台极易受到横向空气流动的影响,导致平台出现晃动,而一旦出现晃动,就会导致在吊装平台上的货物出现倾斜的状况,极易出现侧翻的现象。The use of hoisting platforms has become a relatively common assembly method in some large-scale construction sites. It is mainly a large-scale construction method used when the goods or transported items required by construction workers are inconvenient to transport. For hoisting For the driver, the risk factor is relatively large. Although there are perfect operation instructions, due to the self-weight of the hoisting platform and the stability of the connecting steel rope, the hoisting platform is easily affected by the lateral air flow when it rises to a certain height, resulting in The platform shakes, and once the shaking occurs, the goods on the hoisting platform will be inclined, and it is very easy to roll over.
而现有的吊装平台在进行使用时,不能够较好的避免上述的问题,因此,我们提出一种建筑施工用吊装平台安全防护装置。However, when the existing hoisting platform is used, the above-mentioned problems cannot be avoided well. Therefore, we propose a safety protection device for a hoisting platform for building construction.
发明内容SUMMARY OF THE INVENTION
针对现有技术的不足,本发明提供一种建筑施工用吊装平台安全防护装置,具备能够在吊装平台使用时,能够保持平台的稳定性,同时能够尽可能避免出现侧翻现象等优点,解决了现有装置在进行使用时,会出现平台晃动,以及侧翻不稳定的问题。Aiming at the deficiencies of the prior art, the present invention provides a safety protection device for a hoisting platform for building construction, which has the advantages of being able to maintain the stability of the platform when the hoisting platform is in use, and at the same time avoiding the rollover phenomenon as much as possible. When the existing device is in use, there will be problems of platform shaking and unstable rollover.
本发明的建筑施工用吊装平台安全防护装置,包括吊装平台,所述吊装平台的外侧等距离开设有若干组圆形通孔,所述吊装平台的圆形通孔处插接有固定插销,所述固定插销的外侧螺纹连接有防护框,所述防护框的顶部固定连接有支撑杆,所述吊装平台的正面开设有两组圆形凹槽,所述吊装平台的圆形凹槽处固定连接有一号固定底座,且两组所述一号固定底座靠近吊装平台外边框的中部,所述吊装平台的正面开设有两组圆形凹槽,所述吊装平台的圆形凹槽处固定连接有二号固定底座,且所述二号固定底座位于吊装平台的四角中部,所述吊装平台的正面中部开设有方形通孔,所述吊装平台的方形通孔处固定连接有防护板,所述防护板的正面固定连接有法兰,所述法兰的正面开设有若干个螺纹通孔,所述法兰的螺纹通孔处螺纹连接有连接螺栓,且与防护板贯穿相连,通过设置的支撑杆与防护框,能够为货物的运输提供一定的防护,可以避免货物出现掉落的风险,而设置的一号固定底座与二号固定底座均能够有利于吊装平台的吊装使用。The safety protection device for a hoisting platform for building construction of the present invention includes a hoisting platform, a plurality of groups of circular through holes are opened at equal distances on the outside of the hoisting platform, and fixed pins are inserted into the circular through holes of the hoisting platform. A protective frame is threadedly connected to the outer side of the fixing bolt, and a support rod is fixedly connected to the top of the protective frame. The front of the hoisting platform is provided with two sets of circular grooves, and the circular grooves of the hoisting platform are fixedly connected. No. 1 fixed base, and two sets of No. 1 fixed bases are close to the middle of the outer frame of the hoisting platform, two sets of circular grooves are opened on the front of the hoisting platform, and the circular grooves of the hoisting platform are fixedly connected with No. 2 fixed base, and the No. 2 fixed base is located in the middle of the four corners of the hoisting platform, a square through hole is opened in the middle of the front of the hoisting platform, and a protective plate is fixedly connected to the square through hole of the hoisting platform. The front of the plate is fixedly connected with a flange, the front of the flange is provided with a number of threaded through holes, the threaded through holes of the flange are threadedly connected with connecting bolts, and are connected to the protective plate through the support rods provided. With the protective frame, it can provide certain protection for the transportation of goods and avoid the risk of falling of the goods. The set No. 1 fixed base and No. 2 fixed base are both beneficial to the hoisting and use of the hoisting platform.
本发明的建筑施工用吊装平台安全防护装置,其中一号固定底座的顶部固定连接有半圆凸起,所述半圆凸起的顶部开设有圆形通孔,所述半圆凸起的圆形通孔处固定连接有一号连接绳,所述二号固定底座的顶部固定连接有连接凸起,所述连接凸起的顶部开设有圆形通孔,所述连接凸起的圆形通孔处固定连接有二号连接绳,通过设置的一号连接绳与二号连接绳的组合,能够配合一号固定底座与二号固定底座,能够更加方便的使得吊装平台更好的进行使用,能够避免吊装平台出现晃动的现象。In the safety protection device for a hoisting platform for building construction of the present invention, the top of the No. 1 fixed base is fixedly connected with a semicircular protrusion, the top of the semicircular protrusion is provided with a circular through hole, and the semicircular protrusion has a circular through hole. A No. 1 connecting rope is fixedly connected to the No. 2 fixed base, a connecting protrusion is fixedly connected to the top of the No. 2 fixed base, and a circular through hole is formed on the top of the connecting protrusion, and the circular through hole of the connecting protrusion is fixedly connected There is a No. 2 connecting rope. Through the combination of No. 1 connecting rope and No. 2 connecting rope, it can cooperate with No. 1 fixed base and No. 2 fixed base, which can make the lifting platform more convenient to use and avoid lifting the platform. Shaking occurs.
本发明的建筑施工用吊装平台安全防护装置,其中法兰的顶部固定连接有空心筒,所述空心筒的顶部开设有螺纹通孔,所述空心筒的螺纹通孔处螺纹连接有固定杆,所述固定杆的顶部螺纹连接有连接板,通过设置的空心筒,能够与设置的连接板进行组合,可以更稳定的保证装置的使用稳定性。In the safety protection device for a hoisting platform for building construction of the present invention, a hollow cylinder is fixedly connected to the top of the flange, a threaded through hole is formed on the top of the hollow cylinder, and a fixing rod is threadedly connected to the threaded through hole of the hollow cylinder, The top of the fixing rod is screwed with a connecting plate, and the hollow cylinder can be combined with the connecting plate, which can more stably ensure the stability of the device.
本发明的建筑施工用吊装平台安全防护装置,其中连接板的顶部固定连接有吊装杆,所述连接板的底部固定连接有两组固定块,所述固定块的正面开设有圆形通孔,所述固定块的圆形通孔处与二号连接绳固定相连,通过设置的固定块,可以配合二号连接绳,使得吊装平台可以得到更稳定的连接使用。In the safety protection device for a hoisting platform for building construction of the present invention, a hoisting rod is fixedly connected to the top of the connecting plate, two sets of fixing blocks are fixedly connected to the bottom of the connecting plate, and a circular through hole is opened on the front of the fixing block. The circular through hole of the fixing block is fixedly connected with the No. 2 connecting rope, and the set fixing block can cooperate with the No. 2 connecting rope, so that the hoisting platform can be connected and used more stably.
本发明的建筑施工用吊装平台安全防护装置,其中空心筒的内侧转动连接有拨动盘,所述拨动盘的顶部固定连接有螺纹杆,所述螺纹杆的外侧套设有转动块,所述转动块的外侧套设有连接框,所述连接框的外侧固定连接有固定卡块,所述固定卡块的中部与一号连接绳贯穿相连,通过设置的固定卡块与一号连接绳的组合,能够对二号连接绳上的拉力进行分担,有利于吊装平台的稳定性。In the safety protection device for a hoisting platform for building construction of the present invention, a toggle plate is rotatably connected to the inner side of the hollow cylinder, a threaded rod is fixedly connected to the top of the toggle plate, and the outer side of the threaded rod is sleeved with a rotating block, so The outer side of the rotating block is sleeved with a connection frame, the outer side of the connection frame is fixedly connected with a fixed block, the middle part of the fixed block is connected with the No. The combination can share the tension on the No. 2 connecting rope, which is beneficial to the stability of the hoisting platform.
本发明的建筑施工用吊装平台安全防护装置,其中吊装平台的底部开设有两组条形凹槽,所述吊装平台的条形凹槽处固定连接有支撑条,所述吊装平台的底部固定连接有若干根橡胶条,所述橡胶条的底部固定连接有防护圆垫,所述吊装平台的底部固定连接有底板,所述底板与连接螺栓螺纹相连,通过设置的支撑条与橡胶条,均能够在吊装平台下降时,提供一定的缓冲,有利于延长吊装平台的使用寿命。The safety protection device for a hoisting platform for building construction of the present invention, wherein the bottom of the hoisting platform is provided with two sets of strip grooves, the strip grooves of the hoisting platform are fixedly connected with support bars, and the bottom of the hoisting platform is fixedly connected There are several rubber strips, the bottom of the rubber strip is fixedly connected with a protective round pad, the bottom of the hoisting platform is fixedly connected with a bottom plate, and the bottom plate is threadedly connected with the connecting bolts. When the hoisting platform descends, a certain buffer is provided, which is beneficial to prolong the service life of the hoisting platform.
与现有技术相比,本发明的有益效果如下:Compared with the prior art, the beneficial effects of the present invention are as follows:
1、本发明通过设置的支撑杆与防护框,能够为货物的运输提供一定的防护,可以避免货物出现掉落的风险,而设置的一号固定底座与二号固定底座均能够有利于吊装平台的吊装使用,通过设置的一号连接绳与二号连接绳的组合,能够配合一号固定底座与二号固定底座,能够更加方便的使得吊装平台更好的进行使用,能够避免吊装平台出现晃动的现象,通过设置的空心筒,能够与设置的连接板进行组合,可以更稳定的保证装置的使用稳定性。1. The present invention can provide certain protection for the transportation of goods through the provided support rod and protective frame, and can avoid the risk of falling of the goods, and the set No. 1 fixed base and No. 2 fixed base can be beneficial to the hoisting platform. It can be used with the No. 1 fixed base and No. 2 fixed base through the combination of No. 1 connecting rope and No. 2 connecting rope, which can make the hoisting platform more convenient to use and avoid shaking of the hoisting platform. The phenomenon that the set hollow cylinder can be combined with the set connecting plate can more stably ensure the use stability of the device.
2、本发明通过设置的固定块,可以配合二号连接绳,使得吊装平台可以得到更稳定的连接使用,通过设置的固定卡块与一号连接绳的组合,能够对二号连接绳上的拉力进行分担,有利于吊装平台的稳定性,通过设置的支撑条与橡胶条,均能够在吊装平台下降时,提供一定的缓冲,有利于延长吊装平台的使用寿命。2. The present invention can cooperate with the No. 2 connecting rope through the set fixing block, so that the hoisting platform can be connected and used more stably. The tension is shared, which is beneficial to the stability of the hoisting platform. The support bars and rubber strips provided can provide a certain buffer when the hoisting platform descends, which is beneficial to prolong the service life of the hoisting platform.
附图说明Description of drawings
此处所说明的附图用来提供对本申请的进一步理解,构成本申请的一部分,本申请的示意性实施例及其说明用于解释本申请,并不构成对本申请的不当限定。在附图中:The drawings described herein are used to provide further understanding of the present application and constitute a part of the present application. The schematic embodiments and descriptions of the present application are used to explain the present application and do not constitute an improper limitation of the present application. In the attached image:
图1为本发明吊装平台俯视结构示意图;Fig. 1 is the top view structure schematic diagram of the hoisting platform of the present invention;
图2为本发明吊装平台侧视结构示意图;Fig. 2 is the side view structure schematic diagram of the hoisting platform of the present invention;
图3为本发明空心筒侧视结构示意图;Fig. 3 is the side view structure schematic diagram of the hollow cylinder of the present invention;
图4为本发明吊装平台仰视结构示意图。FIG. 4 is a schematic view of the bottom view structure of the hoisting platform of the present invention.
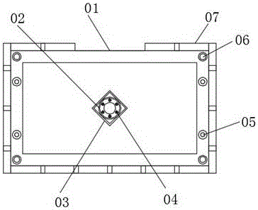
图中:01、吊装平台;02、法兰;03、防护板;04、连接螺栓;05、一号固定底座;06、二号固定底座;07、防护框;08、支撑杆;09、固定插销;10、拨动盘;11、一号连接绳;12、二号连接绳;13、连接框;14、固定杆;15、连接板;16、吊装杆;17、固定块;18、转动块;19、固定卡块;20、空心筒;21、连接凸起;22、防护圆垫;23、底板;24、橡胶条;25、支撑条。In the picture: 01, hoisting platform; 02, flange; 03, protective plate; 04, connecting bolt; 05, No. 1 fixed base; 06, No. 2 fixed base; 07, protective frame; 08, support rod; 09, fixed Bolt; 10, toggle plate; 11, No. 1 connecting rope; 12, No. 2 connecting rope; 13, connecting frame; 14, fixing rod; 15, connecting plate; 16, hoisting rod; 17, fixing block; 18, rotating block; 19, fixed block; 20, hollow cylinder; 21, connecting protrusion; 22, protective round pad; 23, bottom plate; 24, rubber strip; 25, support strip.
具体实施方式Detailed ways
以下将以图式揭露本发明的多个实施方式,为明确说明起见,许多实务上的细节将在以下叙述中一并说明。然而,应了解到,这些实务上的细节不应用以限制本发明。也就是说,在本发明的部分实施方式中,这些实务上的细节是非必要的。此外,为简化图式起见,一些习知惯用的结构与组件在图式中将以简单的示意的方式绘示之。Various embodiments of the present invention will be disclosed in the drawings below, and for the sake of clarity, many practical details will be described together in the following description. It should be understood, however, that these practical details should not be used to limit the invention. That is, in some embodiments of the invention, these practical details are unnecessary. In addition, for the purpose of simplifying the drawings, some well-known structures and components will be shown in a simple schematic manner in the drawings.
另外,在本发明中如涉及“第一”、“第二”等的描述仅用于描述目的,并非特别指称次序或顺位的意思,亦非用以限定本发明,其仅仅是为了区别以相同技术用语描述的组件或操作而已,而不能理解为指示或暗示其相对重要性或者隐含指明所指示的技术特征的数量。由此,限定有“第一”、“第二”的特征可以明示或者隐含地包括至少一个该特征。另外,各个实施例之间的技术方案可以相互结合,但是必须是以本领域普通技术人员能够实现为基础,当技术方案的结合出现相互矛盾或无法实现时应当认为这种技术方案的结合不存在,也不在本发明要求的保护范围之内。In addition, descriptions such as “first”, “second”, etc. in the present invention are only for the purpose of description, and do not refer to the meaning of order or sequence, nor are they used to limit the present invention. The components or operations are described by the same technical terms, and should not be construed as indicating or implying their relative importance or implying the quantity of the indicated technical features. Thus, a feature delimited with "first", "second" may expressly or implicitly include at least one of that feature. In addition, the technical solutions between the various embodiments can be combined with each other, but must be based on the realization by those of ordinary skill in the art. When the combination of technical solutions is contradictory or cannot be realized, it should be considered that the combination of such technical solutions does not exist. , is not within the scope of protection required by the present invention.
请参阅图1-4,本发明的建筑施工用吊装平台安全防护装置,包括吊装平台01,吊装平台01的外侧等距离开设有若干组圆形通孔,吊装平台01的圆形通孔处插接有固定插销09,固定插销09的外侧螺纹连接有防护框07,防护框07的顶部固定连接有支撑杆08,吊装平台01的正面开设有两组圆形凹槽,吊装平台01的圆形凹槽处固定连接有一号固定底座05,且两组一号固定底座05靠近吊装平台01外边框的中部,吊装平台01的正面开设有两组圆形凹槽,吊装平台01的圆形凹槽处固定连接有二号固定底座06,且二号固定底座06位于吊装平台01的四角中部,吊装平台01的正面中部开设有方形通孔,吊装平台01的方形通孔处固定连接有防护板03,防护板03的正面固定连接有法兰02,法兰02的正面开设有若干个螺纹通孔,法兰02的螺纹通孔处螺纹连接有连接螺栓04,且与防护板03贯穿相连,通过设置的支撑杆08与防护框07,能够为货物的运输提供一定的防护,可以避免货物出现掉落的风险,而设置的一号固定底座05与二号固定底座06均能够有利于吊装平台01的吊装使用。Please refer to FIGS. 1-4. The safety protection device for a hoisting platform for building construction of the present invention includes a hoisting
一号固定底座05的顶部固定连接有半圆凸起,半圆凸起的顶部开设有圆形通孔,半圆凸起的圆形通孔处固定连接有一号连接绳11,二号固定底座06的顶部固定连接有连接凸起21,连接凸起21的顶部开设有圆形通孔,连接凸起21的圆形通孔处固定连接有二号连接绳12,通过设置的一号连接绳11与二号连接绳12的组合,能够配合一号固定底座05与二号固定底座06,能够更加方便的使得吊装平台01更好的进行使用,能够避免吊装平台01出现晃动的现象。The top of the No. 1 fixed
法兰02的顶部固定连接有空心筒20,空心筒20的顶部开设有螺纹通孔,空心筒20的螺纹通孔处螺纹连接有固定杆14,固定杆14的顶部螺纹连接有连接板15,通过设置的空心筒20,能够与设置的连接板15进行组合,可以更稳定的保证装置的使用稳定性。The top of the
连接板15的顶部固定连接有吊装杆16,连接板15的底部固定连接有两组固定块17,固定块17的正面开设有圆形通孔,固定块17的圆形通孔处与二号连接绳12固定相连,通过设置的固定块17,可以配合二号连接绳12,使得吊装平台01可以得到更稳定的连接使用。The top of the connecting
空心筒20的内侧转动连接有拨动盘10,拨动盘10的顶部固定连接有螺纹杆,螺纹杆的外侧套设有转动块18,转动块18的外侧套设有连接框13,连接框13的外侧固定连接有固定卡块19,固定卡块19的中部与一号连接绳11贯穿相连,通过设置的固定卡块19与一号连接绳11的组合,能够对二号连接绳12上的拉力进行分担,有利于吊装平台01的稳定性。The inner side of the
吊装平台01的底部开设有两组条形凹槽,吊装平台01的条形凹槽处固定连接有支撑条25,吊装平台01的底部固定连接有若干根橡胶条24,橡胶条24的底部固定连接有防护圆垫22,吊装平台01的底部固定连接有底板23,底板23与连接螺栓04螺纹相连,通过设置的支撑条25与橡胶条24,均能够在吊装平台01下降时,提供一定的缓冲,有利于延长吊装平台01的使用寿命。The bottom of the
在使用本发明时:When using the present invention:
首先将需要进行使用的吊装平台01放置在地面上,此时将设置的防护框07通过固定插销09的使用,能够将设置的防护框07稳定的与吊装平台01进行适配;First, place the
此时再将进行使用的两组连接凸起21与二号固定底座06进行连接,再将二号连接绳12与连接凸起21进行连接,再将二号连接绳12的另一端与连接板15底部的固定块17相连接,然后再通过吊装杆16的使用,能够配合吊装的车辆将吊装平台01暂时的抬起一定的距离;At this time, connect the two sets of connecting
然后再通过设置的法兰02与连接螺栓04的使用,能够将空心筒20与防护板03进行连接,此时可以拨动设置的拨动盘10,通过拨动盘10的转动,能够带动螺纹杆进行转动,此时设置的转动块18可以在空心筒20中移动,因此使得连接框13能够进行移动,此时再将一号连接绳11的一端与固定卡块19连接,再将一号连接绳11的另一端与一号固定底座05的上部进行连接,由此能够对二号连接绳12分担一部分的连接拉力,使得吊装平台01能够得到平衡;Then, through the use of the
最后再通过设置的固定杆14,将合适高度的固定杆14安装到连接板15以及空心筒20互相靠近的一端,此时将需要运输的货物放置到吊装平台01上,通过绑带将货物与空心筒20的外侧连接,然后启动吊装车辆,即可对需要运输的货物进行抬升。Finally, through the
若运输的是较为庞大的货物时,能够与吊装平台01进行适配,此时可以不需要使用空心筒20的连接使用,在较大货物的自重与二号连接绳12的使用,能够抵消横向空气带来的影响,因此能够方便的进行使用。If a relatively large cargo is transported, it can be adapted to the
以上所述仅为本发明的实施方式而已,并不用于限制本发明。对于本领域技术人员来说,本发明可以有各种更改和变化。凡在本发明的精神和原理的内所作的任何修改、等同替换、改进等,均应包括在本发明的权利要求范围之内。The above descriptions are merely embodiments of the present invention, and are not intended to limit the present invention. Various modifications and variations of the present invention are possible for those skilled in the art. Any modification, equivalent replacement, improvement, etc. made within the spirit and principle of the present invention shall be included within the scope of the claims of the present invention.
Claims (6)
Priority Applications (1)
| Application Number | Priority Date | Filing Date | Title |
|---|---|---|---|
| CN202010210831.7A CN111439664A (en) | 2020-03-24 | 2020-03-24 | Hoisting platform safety device for construction |
Applications Claiming Priority (1)
| Application Number | Priority Date | Filing Date | Title |
|---|---|---|---|
| CN202010210831.7A CN111439664A (en) | 2020-03-24 | 2020-03-24 | Hoisting platform safety device for construction |
Publications (1)
| Publication Number | Publication Date |
|---|---|
| CN111439664A true CN111439664A (en) | 2020-07-24 |
Family
ID=71649014
Family Applications (1)
| Application Number | Title | Priority Date | Filing Date |
|---|---|---|---|
| CN202010210831.7A Pending CN111439664A (en) | 2020-03-24 | 2020-03-24 | Hoisting platform safety device for construction |
Country Status (1)
| Country | Link |
|---|---|
| CN (1) | CN111439664A (en) |
Cited By (1)
| Publication number | Priority date | Publication date | Assignee | Title |
|---|---|---|---|---|
| CN112982992A (en) * | 2021-04-25 | 2021-06-18 | 武汉梓翰装饰工程有限公司 | Steel structure engineering installation construction method |
Citations (12)
| Publication number | Priority date | Publication date | Assignee | Title |
|---|---|---|---|---|
| CH667864A5 (en) * | 1984-09-06 | 1988-11-15 | Rudolf Heimboeck | Transport frame for hay, straw etc. |
| US20050023853A1 (en) * | 2003-05-02 | 2005-02-03 | Pugh Acquisition Company Dba-Billy Pugh Co. Inc. | System and method for personnel transfer |
| CN103204244A (en) * | 2013-04-24 | 2013-07-17 | 哈尔滨飞机工业集团有限责任公司 | Vibration reduction and hoisting structure for helicopter |
| CN203959758U (en) * | 2014-07-23 | 2014-11-26 | 中建三局第三建设工程有限责任公司 | Reservoir walls derusting anti-corrosive lift rotating equipment |
| RU2563291C1 (en) * | 2014-05-14 | 2015-09-20 | Общество с ограниченной ответственностью "Научно-производственное предприятие "МИКРОМОНТАЖ" (ООО "НПП "МИКРОМОНТАЖ") | Rescue system with external suspension bracket of aircraft |
| CN206476653U (en) * | 2017-02-22 | 2017-09-08 | 黄一宏 | Use steel carrier to a kind of construction |
| WO2019091669A1 (en) * | 2017-11-10 | 2019-05-16 | Escape International | Pod for transporting people onto an oil platform |
| CN209468697U (en) * | 2019-01-08 | 2019-10-08 | 云南省建设投资控股集团有限公司 | High-altitude construction auxiliary device |
| CN209509455U (en) * | 2018-11-23 | 2019-10-18 | 新昌县新诚工业产品设计有限公司 | A kind of hanging basket of the architectural engineering with safeguard function |
| CN209799412U (en) * | 2019-03-11 | 2019-12-17 | 青岛青房建安集团有限公司 | Building site steel transport vechicle |
| CN110683057A (en) * | 2019-11-20 | 2020-01-14 | 韩国方 | A multipurpose hoisting platform for emergency rescue |
| CN212893461U (en) * | 2020-03-24 | 2021-04-06 | 苏州江南建设项目管理有限公司 | Hoisting platform safety device for construction |
-
2020
- 2020-03-24 CN CN202010210831.7A patent/CN111439664A/en active Pending
Patent Citations (12)
| Publication number | Priority date | Publication date | Assignee | Title |
|---|---|---|---|---|
| CH667864A5 (en) * | 1984-09-06 | 1988-11-15 | Rudolf Heimboeck | Transport frame for hay, straw etc. |
| US20050023853A1 (en) * | 2003-05-02 | 2005-02-03 | Pugh Acquisition Company Dba-Billy Pugh Co. Inc. | System and method for personnel transfer |
| CN103204244A (en) * | 2013-04-24 | 2013-07-17 | 哈尔滨飞机工业集团有限责任公司 | Vibration reduction and hoisting structure for helicopter |
| RU2563291C1 (en) * | 2014-05-14 | 2015-09-20 | Общество с ограниченной ответственностью "Научно-производственное предприятие "МИКРОМОНТАЖ" (ООО "НПП "МИКРОМОНТАЖ") | Rescue system with external suspension bracket of aircraft |
| CN203959758U (en) * | 2014-07-23 | 2014-11-26 | 中建三局第三建设工程有限责任公司 | Reservoir walls derusting anti-corrosive lift rotating equipment |
| CN206476653U (en) * | 2017-02-22 | 2017-09-08 | 黄一宏 | Use steel carrier to a kind of construction |
| WO2019091669A1 (en) * | 2017-11-10 | 2019-05-16 | Escape International | Pod for transporting people onto an oil platform |
| CN209509455U (en) * | 2018-11-23 | 2019-10-18 | 新昌县新诚工业产品设计有限公司 | A kind of hanging basket of the architectural engineering with safeguard function |
| CN209468697U (en) * | 2019-01-08 | 2019-10-08 | 云南省建设投资控股集团有限公司 | High-altitude construction auxiliary device |
| CN209799412U (en) * | 2019-03-11 | 2019-12-17 | 青岛青房建安集团有限公司 | Building site steel transport vechicle |
| CN110683057A (en) * | 2019-11-20 | 2020-01-14 | 韩国方 | A multipurpose hoisting platform for emergency rescue |
| CN212893461U (en) * | 2020-03-24 | 2021-04-06 | 苏州江南建设项目管理有限公司 | Hoisting platform safety device for construction |
Cited By (1)
| Publication number | Priority date | Publication date | Assignee | Title |
|---|---|---|---|---|
| CN112982992A (en) * | 2021-04-25 | 2021-06-18 | 武汉梓翰装饰工程有限公司 | Steel structure engineering installation construction method |
Similar Documents
| Publication | Publication Date | Title |
|---|---|---|
| CN216766719U (en) | Climb frame platform of unloading | |
| CN104291223B (en) | Mechanical and electric equipment installation mechanism of supporting leg adjustable hook type lifting Dual-locking electric substation | |
| CN111439664A (en) | Hoisting platform safety device for construction | |
| CN211198471U (en) | A kind of material lifting equipment for construction engineering | |
| CN211198344U (en) | A rail vehicle lifter | |
| CN201686934U (en) | Bridge supporting frame | |
| CN212893461U (en) | Hoisting platform safety device for construction | |
| CN115872288A (en) | Mechanical overturning device and method for nuclear fuel assembly container | |
| CN221939865U (en) | Balance type lifting appliance for disassembling and assembling T-beam template | |
| CN219636736U (en) | Detachable movable portal frame | |
| CN207292821U (en) | A kind of Large centrifugal compressors pallet for transporting | |
| CN219730389U (en) | Electric chain block supporting structure | |
| CN207618915U (en) | Vehicular transformer handler | |
| CN204643670U (en) | Split type arm tower crane Shears structure | |
| CN207684709U (en) | Hanger under a kind of electric block that can automatically adjust balance | |
| CN105883048B (en) | A kind of electrostatic precipitator anode arranges packing device | |
| CN219753262U (en) | Balance adjusting device for steel truss | |
| CN218950792U (en) | Crane with turnover structure | |
| CN205734792U (en) | A kind of rotary wheel of water turbine maintenance framed bent | |
| CN222293347U (en) | Hoisting device convenient for conveying aluminum castings | |
| CN210973634U (en) | Novel anti-wind gantry crane | |
| CN217048991U (en) | Marine hoist and mount formula scaffold frame | |
| CN219620708U (en) | A lifting device for high-rise material transportation | |
| CN220549920U (en) | Steel construction box turning device | |
| CN222081355U (en) | A ship segment transfer bracket |
Legal Events
| Date | Code | Title | Description |
|---|---|---|---|
| PB01 | Publication | ||
| PB01 | Publication | ||
| SE01 | Entry into force of request for substantive examination | ||
| SE01 | Entry into force of request for substantive examination | ||
| CB03 | Change of inventor or designer information |
Inventor after: Shen Kongjian Inventor after: Yin Jiahong Inventor after: Huang Chaohai Inventor after: Liu Chengzhen Inventor after: Liu Xukun Inventor after: Chou Hanmei Inventor after: Zhuang Jiayu Inventor before: Yin Jiahong Inventor before: Huang Chaohai Inventor before: Liu Chengzhen Inventor before: Liu Xukun Inventor before: Chou Hanmei Inventor before: Zhuang Jiayu |
|
| CB03 | Change of inventor or designer information |
